Next Issue
Volume 9, November
Previous Issue
Volume 9, September
 
 

J. Manuf. Mater. Process., Volume 9, Issue 10 (October 2025) – 22 articles

Cover Story (view full-size image): This study explores a new powder binning method for producing multi-material metal parts using a standard Laser Powder Bed Fusion system. Creating complex structures from different metals poses challenges, especially at the interfaces where materials meet. The research examines how scan strategies affect the strength and quality of these interfaces when combining stainless steel and various Inconel alloys. Results show that this method creates strong, reliable bonds comparable to traditional techniques like welding. The approach enables the fabrication of intricate multi-material components and offers potential for enhanced performance in demanding sectors such as aerospace, automotive, and energy. View this paper
  • Issues are regarded as officially published after their release is announced to the table of contents alert mailing list.
  • You may sign up for e-mail alerts to receive table of contents of newly released issues.
  • PDF is the official format for papers published in both, html and pdf forms. To view the papers in pdf format, click on the "PDF Full-text" link, and use the free Adobe Reader to open them.
Order results
Result details
Select all
Export citation of selected articles as:
12 pages, 4679 KB  
Article
Introduction of Functional Elements with Double-Sided Self-Pierce Riveting
by Rafael M. Afonso and Luís M. Alves
J. Manuf. Mater. Process. 2025, 9(10), 344; https://doi.org/10.3390/jmmp9100344 - 20 Oct 2025
Viewed by 315
Abstract
The introduction of functional elements is essential for many industrial components which rely on elements such as bolts, screws, nuts, or clips that are integrated into the workpieces. In the field of cold joining technologies, double-sided self-pierce riveting (DS-SPR) presents itself as a [...] Read more.
The introduction of functional elements is essential for many industrial components which rely on elements such as bolts, screws, nuts, or clips that are integrated into the workpieces. In the field of cold joining technologies, double-sided self-pierce riveting (DS-SPR) presents itself as a proper alternative to produce the mechanical connection of those elements into sheet panels. For the purpose of this investigation, a tubular rivet with a machined thread to replicate a hollow bolt was joined to a sheet panel. Since this application will be subjected to torsion loads when a nut or other elements are fastened, tubular rivets with different numbers of semi-longitudinal rectangular openings at their ends (0, 2, 4, and 8) were investigated to identify the optimal design that ensures proper performance during its service life. The results show that rivets with four openings achieved a torsional resistance of more than 40 N·m, which is over double that of the original rivet without openings, while maintaining comparable shear strength (~10 kN). A functional hollow bolt with an outer thread was successfully produced, achieving a torque capacity of 35 N·m, equivalent to an M8 solid bolt, but with reduced weight. These findings highlight DS-SPR as a viable technology for manufacturing functional riveted elements that combine the permanent joints between sheets and removable connections with secondary components, offering both structural performance and lightweight advantages. Full article
(This article belongs to the Special Issue Advances in Material Forming: 2nd Edition)
Show Figures

Figure 1

43 pages, 2436 KB  
Review
Fabricating Three-Dimensional Metamaterials Using Additive Manufacturing: An Overview
by Balakrishnan Subeshan, Abdulhammed K. Hamzat and Eylem Asmatulu
J. Manuf. Mater. Process. 2025, 9(10), 343; https://doi.org/10.3390/jmmp9100343 - 19 Oct 2025
Viewed by 1066
Abstract
Metamaterials are artificial materials composed of special microstructures that have properties with unusual and useful features and can be applied to many fields. With their unique properties and sensitivity to external stimuli, metamaterials offer design flexibility to users. Traditional manufacturing is often not [...] Read more.
Metamaterials are artificial materials composed of special microstructures that have properties with unusual and useful features and can be applied to many fields. With their unique properties and sensitivity to external stimuli, metamaterials offer design flexibility to users. Traditional manufacturing is often not up to the task of creating metamaterials, which are now more accurately and more effectively analyzed than they were in the past. Recent advances in additive manufacturing (AM) have achieved remarkable success, with ensemble machine learning models demonstrating R2 values exceeding 0.97 and accuracy improvements of 9.6% over individual approaches. State-of-the-art multiphoton polymerization (MPP) techniques now reach submicron resolution (<1 μm), while selective laser melting (SLM) processes provide 20–100 μm precision for metallic metamaterials. This work offers a comprehensive review of additively manufactured 3D metamaterials, focusing on three categories of their fabrication: electromagnetic (achieving bandgaps up to 470 GHz), acoustic (providing 90% sound suppression at targeted frequencies), and mechanical (demonstrating Poisson’s ratios from −0.8 to +0.8). The relationship between different types of AM processes used in creating 3D objects and the properties of the resulting materials has been systematically reviewed. This research aims to address gaps and develop new applications to meet the modern demand for the broader use of metamaterials in advanced devices and systems that require high efficiency for sophisticated, high-performance applications. Full article
Show Figures

Figure 1

18 pages, 2771 KB  
Article
Investigation of the Influence of Sensorized Tool Holders on Dynamic Properties and Manufacturing Results During Milling
by Markus Friedrich, Benjamin Thorenz and Frank Doepper
J. Manuf. Mater. Process. 2025, 9(10), 342; https://doi.org/10.3390/jmmp9100342 - 19 Oct 2025
Viewed by 355
Abstract
Monitoring process stability and tool condition is essential for ensuring machining quality and efficiency. This study investigates the influence of sensorized tool holders on dynamic properties and machining results. Three clamping conditions, one conventional and two different sensor-integrated tool holders (equipped with strain [...] Read more.
Monitoring process stability and tool condition is essential for ensuring machining quality and efficiency. This study investigates the influence of sensorized tool holders on dynamic properties and machining results. Three clamping conditions, one conventional and two different sensor-integrated tool holders (equipped with strain gauges or piezoelectric force sensors), are compared. Experimental modal analyses are carried out to determine the frequency-dependent dynamic compliance of the systems. Machining tests using a developed reference workpiece enable the investigation of process forces, wear development, and the surface quality achieved under real conditions. The results show that the dynamic behavior of the tools varies significantly depending on the respective excitation frequency, whereby the different structural properties of the tool holders have a clearly measurable influence on their dynamic properties, particularly near process-relevant excitation frequencies. However, no clear deterioration in terms of process stability or machining performance can be determined. In some cases, the sensorized tool holders can contribute to reduced tool wear and improved process stability. These findings emphasize that sensorized tool holders do not necessarily worsen the machining results and can be applied without negative effects when aligned with the system’s modal characteristics. Full article
Show Figures

Figure 1

21 pages, 9525 KB  
Article
Experimental and Finite Element Analysis of Refill Friction Stir Spot Welding in Dissimilar 6061-T6 and 5052-H321 Aluminum Alloys
by Dan Cătălin Bîrsan and Vasile Bașliu
J. Manuf. Mater. Process. 2025, 9(10), 341; https://doi.org/10.3390/jmmp9100341 - 19 Oct 2025
Viewed by 349
Abstract
This study presents an integrated experimental and numerical investigation of the Refill Friction Stir Spot Welding (RFSSW) process applied to dissimilar aluminum alloys. The primary objective is to evaluate the mechanical and thermal behavior of the joints and to identify key process parameters [...] Read more.
This study presents an integrated experimental and numerical investigation of the Refill Friction Stir Spot Welding (RFSSW) process applied to dissimilar aluminum alloys. The primary objective is to evaluate the mechanical and thermal behavior of the joints and to identify key process parameters influencing weld quality. Experimental welding trials were performed on aluminum alloy sheets using RFSSW, followed by shear testing and metallographic analysis to assess joint integrity, microstructure evolution, and fracture behavior. Infrared thermography and temperature sensors were employed to monitor heat distribution during welding. In parallel, a finite element model was developed to simulate the thermal cycle and stress distribution within the welded region. The numerical results showed good agreement with the experimental data, particularly regarding peak temperature and cooling trends at specific distances from the tool center. The findings demonstrate that RFSSW can successfully join dissimilar aluminum alloys with minimal defects when optimized parameters are applied. The combination of experimental observations and FEM simulation provides valuable insights into the underlying thermomechanical phenomena and offers a foundation for further process optimization. Full article
Show Figures

Figure 1

18 pages, 3666 KB  
Article
Reinforcement Learning Enabled Intelligent Process Monitoring and Control of Wire Arc Additive Manufacturing
by Allen Love, Saeed Behseresht and Young Ho Park
J. Manuf. Mater. Process. 2025, 9(10), 340; https://doi.org/10.3390/jmmp9100340 - 18 Oct 2025
Viewed by 570
Abstract
Wire Arc Additive Manufacturing (WAAM) has been recognized as an efficient and cost-effective metal additive manufacturing technique due to its high deposition rate and scalability for large components. However, the quality and repeatability of WAAM parts are highly sensitive to process parameters such [...] Read more.
Wire Arc Additive Manufacturing (WAAM) has been recognized as an efficient and cost-effective metal additive manufacturing technique due to its high deposition rate and scalability for large components. However, the quality and repeatability of WAAM parts are highly sensitive to process parameters such as arc voltage, current, wire feed rate, and torch travel speed, requiring advanced monitoring and adaptive control strategies. In this study, a vision-based monitoring system integrated with a reinforcement learning framework was developed to enable intelligent in situ control of WAAM. A custom optical assembly employing mirrors and a bandpass filter allowed simultaneous top and side views of the melt pool, enabling real-time measurement of layer height and width. These geometric features provide feedback to a tabular Q-learning algorithm, which adaptively adjusts voltage and wire feed rate through direct hardware-level control of stepper motors. Experimental validation across multiple builds with varying initial conditions demonstrated that the RL controller stabilized layer geometry, autonomously recovered from process disturbances, and maintained bounded oscillations around target values. While systematic offsets between digital measurements and physical dimensions highlight calibration challenges inherent to vision-based systems, the controller consistently prevented uncontrolled drift and corrected large deviations in deposition quality. The computational efficiency of tabular Q-learning enabled real-time operation on standard hardware without specialized equipment, demonstrating an accessible approach to intelligent process control. These results establish the feasibility of reinforcement learning as a robust, data-efficient control technique for WAAM, capable of real-time adaptation with minimal prior process knowledge. With improved calibration methods and expanded multi-physics sensing, this framework can advance toward precise geometric accuracy and support broader adoption of machine learning-based process monitoring and control in metal additive manufacturing. Full article
Show Figures

Figure 1

14 pages, 4515 KB  
Article
Fracture Characteristics of 3D-Printed Polymer Parts: Role of Manufacturing Process
by Mohammad Reza Khosravani, Payam Soltani, Majid R. Ayatollahi and Tamara Reinicke
J. Manuf. Mater. Process. 2025, 9(10), 339; https://doi.org/10.3390/jmmp9100339 - 16 Oct 2025
Viewed by 435
Abstract
Using traditional methods to fabricate geometrically complicated items was challenging, but Additive Manufacturing (AM) has made it possible. Although AM (3D printing) was first developed to produce prototypes, in recent years it has also been utilized for the fabrication of end-use products. As [...] Read more.
Using traditional methods to fabricate geometrically complicated items was challenging, but Additive Manufacturing (AM) has made it possible. Although AM (3D printing) was first developed to produce prototypes, in recent years it has also been utilized for the fabrication of end-use products. As a result, the mechanical strength of AMed parts has gained considerable significance. Three-dimensional printing has proved its capabilities in the fabrication of customizable parts with complex geometries. In the current study, the effects of manufacturing parameters on the mechanical strength and the fracture behavior of 3D-printed components have been investigated. To this aim, we fabricated specimens using Polyethylene Terephthalate Glycol (PETG) and the Fused Deposition Modeling (FDM) process. Particularly, the dumbbell-shaped and Single Edge Notched Bend (SENB) specimens were fabricated and examined to determine their tensile and fracture behaviors. Particularly, the notches in SENB specimens were introduced by two different techniques to investigate the influence of the manufacturing process on the mechanical performance of 3D-printed PETG parts. Moreover, finite element simulations were conducted to investigate the fracture behavior of the parts. The results indicate that the fracture loads of 3D-printed and milled parts are 599.1 N and 417.2 N, respectively. In addition, experiments confirm brittle fracture with no plastic deformation in all specimens with 3D-printed and milled notches. The outcomes of this study can be used for the future designs of FDM 3D-printed parts with a better structural performance. Full article
Show Figures

Figure 1

22 pages, 9522 KB  
Article
Advancing FDM 3D Printing Simulations: From G-Code Conversion to Precision Modelling in Abaqus
by Taoufik Hachimi, Fouad Ait Hmazi, Fatima Ezzahra Arhouni, Hajar Rejdali, Yahya Riyad and Fatima Majid
J. Manuf. Mater. Process. 2025, 9(10), 338; https://doi.org/10.3390/jmmp9100338 - 16 Oct 2025
Viewed by 661
Abstract
This study presents a newly developed program that seamlessly converts G-code into formats compatible with Abaqus, enabling precise finite element simulations for FDM 3D printing. The tool operates on a two-pronged framework: a mathematical model incorporating key print parameters (layer thickness, extrusion temperature, [...] Read more.
This study presents a newly developed program that seamlessly converts G-code into formats compatible with Abaqus, enabling precise finite element simulations for FDM 3D printing. The tool operates on a two-pronged framework: a mathematical model incorporating key print parameters (layer thickness, extrusion temperature, print speed, and raster width) and a shape generator managing geometric parameters (fill density, pattern, and raster orientation). Initially, a predefined virtual section, based on predetermined dimensions, enhanced the correlation between experimental results and simulations. Subsequently, a corrected virtual section, derived from the mathematical model using the Box–Behnken methodology, improves accuracy, achieving a virtual thickness error of 1.06% and a width error of 8%. The model is validated through tensile testing of ASTM D638 specimens at 0°, 45°, and 90° orientations, using adaptive C3D4 mesh elements (0.35–0.6 mm). Results demonstrate that the corrected cross-section significantly improved simulation accuracy, reaching correlations above 95% in the elastic zone and 90% in the elastoplastic zone across all orientations. By optimizing the workflow from design to manufacturing, this program offers substantial benefits for the aerospace, medical, and automotive sectors, enhancing both the efficiency of the printing process and the reliability of simulations. Full article
Show Figures

Figure 1

20 pages, 11158 KB  
Article
Effect of Roller Angle on Formability in Rotary Forming of Spiral Corrugated Tubes
by Shiliang Zhang, Hikaru Eda, Kazuyori Okabe and Yoshihiko Mizuta
J. Manuf. Mater. Process. 2025, 9(10), 337; https://doi.org/10.3390/jmmp9100337 - 15 Oct 2025
Viewed by 343
Abstract
Spiral corrugated tubes are widely utilized to enhance the performance of heat exchangers. However, they are typically formed via hydroforming, which renders efficient manufacturing challenging. Therefore, this study presents a rotary forming method using multiple rollers for the continuous production of spiral corrugated [...] Read more.
Spiral corrugated tubes are widely utilized to enhance the performance of heat exchangers. However, they are typically formed via hydroforming, which renders efficient manufacturing challenging. Therefore, this study presents a rotary forming method using multiple rollers for the continuous production of spiral corrugated tubes. During the forming process, the rollers rotate around the tube, pressing against its outer surface, and the tube moves axially, forming spiral grooves. This study experimentally evaluated the effects of varying roller angles on formability by analyzing maximum rotation speed, outside diameter, thickness distribution, groove depth, and peak pitch. The experiments were performed thrice under each condition to ensure reproducibility. The results indicate that the formable rotation speed increases by 40% when the roller angle is adjusted from 32° to 40°. For the same rotational speed, a larger roller angle prevents stress concentration. As the roller angle decreases, the outside diameter also decreases, and the groove depth and peak pitch tend to increase. Under a roller angle of 40° and a rotational speed of 150 rpm, the thickness deviation ratio of the formed product is only 0.13, demonstrating improved uniformity. Full article
(This article belongs to the Special Issue Advances in Material Forming: 2nd Edition)
Show Figures

Figure 1

21 pages, 4612 KB  
Article
Hot Cladding of Al–Cu–Mn-Based Secondary Alloy Sheets: A Computational–Experimental Investigation
by Alexander Koshmin, Alexander Zinoviev, Anna Khakimova, Konstantin Lukashevich, Ruslan Barkov and Dmitriy Demin
J. Manuf. Mater. Process. 2025, 9(10), 336; https://doi.org/10.3390/jmmp9100336 - 14 Oct 2025
Viewed by 469
Abstract
This study investigates the double-sided hot cladding of an experimental Al–2%Cu–1.5%Mn–1%Zn–0.7%Mg–0.4%Fe–0.4%Si alloy with commercially pure aluminum A1050 under combined hot deformation. Finite element modeling was employed to analyze the evolution of shear strains, normal stresses, and flow stresses in the deformation zone during [...] Read more.
This study investigates the double-sided hot cladding of an experimental Al–2%Cu–1.5%Mn–1%Zn–0.7%Mg–0.4%Fe–0.4%Si alloy with commercially pure aluminum A1050 under combined hot deformation. Finite element modeling was employed to analyze the evolution of shear strains, normal stresses, and flow stresses in the deformation zone during cladding. The results indicate that increasing the degree of reduction significantly alters the distribution and direction of shear strains: at low reductions (20–30%), shear directions in the base and cladding layers coincide, while reductions above 40% induce opposing shear directions. Temperature was identified as the dominant factor affecting normal stress and flow stress differences between layers, whereas deformation magnitude primarily influenced peak stresses at the neutral section of the deformation zone. Experimental validation was conducted over a temperature range of 300–450 °C and relative reductions of 20–60%, demonstrating successful layer bonding in all cases except at low temperatures and reductions (300–375 °C, 20–30%). Based on combined modeling and experimental data, a predictive model for estimating peel strength during hot rolling cladding was developed, offering a robust tool for optimizing process parameters and ensuring reliable interlayer bonding in investigated aluminum alloys. Full article
Show Figures

Figure 1

15 pages, 2985 KB  
Article
A New Cutting Strategy to Reduce Plasticity Errors in Measuring Welding Residual Stress via the Contour Method
by Sanjooram Paddea, Ruiyao Zhang, Xiaodong Hou, Fan Yang, Wenchao Dong, Shanping Lu, Peter John Bouchard and Shuyan Zhang
J. Manuf. Mater. Process. 2025, 9(10), 335; https://doi.org/10.3390/jmmp9100335 - 14 Oct 2025
Viewed by 520
Abstract
The Contour Method is a well-established destructive technique for determining cross-sectional maps of residual stress in manufactured metallic components. The validity of the technique is dependent on linear elastic relaxation of residual strains across the plane of interest as the component is progressively [...] Read more.
The Contour Method is a well-established destructive technique for determining cross-sectional maps of residual stress in manufactured metallic components. The validity of the technique is dependent on linear elastic relaxation of residual strains across the plane of interest as the component is progressively cut into two parts across the plane of interest. However, for some welded components, redistribution of the residual stress field during the contour cutting step can result in local plastic deformation of the cut faces, giving errors in the measured residual stress map. This article describes a novel implementation of the Contour Method for welded components that can mitigate the risk of introducing such strain relief errors in the measured residual stress field. An orthogonal cutting sequence is applied where the component is first cut along the weld centreline (in the longitudinal direction) into two mirror-symmetric halves. Each one-half component is then cut transversely towards the weld line at mid-length. The out-of-plane deformation contours of the four cut faces are then measured, and the original residual stresses present on each cut section are determined using the multiple cut contour method. The efficacy of implementing the new contour measurement approach to fusion-line weldments is demonstrated both numerically and experimentally. Full article
Show Figures

Graphical abstract

56 pages, 3273 KB  
Systematic Review
Artificial Intelligence and Machine Learning in Cold Spray Additive Manufacturing: A Systematic Literature Review
by Habib Afsharnia and Javaid Butt
J. Manuf. Mater. Process. 2025, 9(10), 334; https://doi.org/10.3390/jmmp9100334 - 13 Oct 2025
Viewed by 747
Abstract
Due to its unique benefits over conventional subtractive manufacturing, additive manufacturing methods continue to attract interest in both academia and industry. One such method is called Cold Spray Additive Manufacturing (CSAM), a solid-state coating deposition technology to manufacture repair metallic components using a [...] Read more.
Due to its unique benefits over conventional subtractive manufacturing, additive manufacturing methods continue to attract interest in both academia and industry. One such method is called Cold Spray Additive Manufacturing (CSAM), a solid-state coating deposition technology to manufacture repair metallic components using a gas jet and powder particles. CSAM offers low heat input, stable phases, suitability for heat-sensitive substrates, and high deposition rates. However, persistent challenges include porosity control, geometric accuracy near edges and concavities, anisotropy, and cost sensitivities linked to gas selection and nozzle wear. Interdisciplinary research across manufacturing science, materials characterisation, robotics, control, artificial intelligence (AI), and machine learning (ML) is deployed to overcome these issues. ML supports quality prediction, inverse parameter design, in situ monitoring, and surrogate models that couple process physics with data. To demonstrate the impact of AI and ML on CSAM, this study presents a systematic literature review to identify, evaluate, and analyse published studies in this domain. The most relevant studies in the literature are analysed using keyword co-occurrence and clustering. Four themes were identified: design for CSAM, material analytics, real-time monitoring and defect analytics, and deposition and AI-enabled optimisation. Based on this synthesis, core challenges are identified as small and varied datasets, transfer and identifiability limits, and fragmented sensing. Main opportunities are outlined as physics-based surrogates, active learning, uncertainty-aware inversion, and cloud-edge control for reliable and adaptable ML use in CSAM. By systematically mapping the current landscape, this work provides a critical roadmap for researchers to target the most significant challenges and opportunities in applying AI/ML to industrialise CSAM. Full article
Show Figures

Figure 1

16 pages, 3146 KB  
Article
Predictive Control and Manufacturing of Rotation Accuracy of Angular Contact Ball Bearings (ACBBs)
by Chaojun Wang, Dongfeng Wang, Xiaofei Li, Huqiang Wang, Dengke Li, Gang Chen and Lai Hu
J. Manuf. Mater. Process. 2025, 9(10), 333; https://doi.org/10.3390/jmmp9100333 - 13 Oct 2025
Viewed by 383
Abstract
High-precision angular contact ball bearings (ACBBs) are critical components in advanced manufacturing equipment, where rotation accuracy directly determines system performance and stability. Considering error superposition and equipment processing capability comprehensively, this study establishes an error analysis and control model of the ACBBs, studies [...] Read more.
High-precision angular contact ball bearings (ACBBs) are critical components in advanced manufacturing equipment, where rotation accuracy directly determines system performance and stability. Considering error superposition and equipment processing capability comprehensively, this study establishes an error analysis and control model of the ACBBs, studies the error transmission law, and puts forward a rotation accuracy control strategy for batch manufacturing of precision ACBBs. The ACBBs 7020C/P4, 7020AC/P4, 7020A/P4, and 7020B/P4 (four conventional contact angles of 15°, 25°, 30°, 40°) were taken as examples to verify the experiment. The error of the calculation compared with actual test results was not more than 7.5%, which had good accuracy and practicability. The research shows that the roundness error of bearing raceway, the thickness difference in bearing ring wall, and the parallelism error of raceway to end face were the main influencing factors of bearing rotation accuracy Kia, Sia, Kea, and Sea. The influence coefficient of raceway roundness error on the axial runout of bearing (Sia, Sea) decreased rapidly with the increase in contact angle, while the influence coefficient on radial runout (Kia, Kea) remained constant. The rotation accuracy error of the outer ring was always greater than that of the inner ring, and this law was not affected by the contact angle. Moreover, with the increase in contact angle, the radial runout of the inner and outer rings of the bearing increased. During actual machining, bearings with larger contact angle place lower demands on the equipment process capability index (Cp), particularly on the parameter Cer. This reduction in required capability is equivalent to an effective Cp improvement of about 30%. Full article
Show Figures

Figure 1

22 pages, 3491 KB  
Article
Evaluation of Bond Strength in Multi-Material Specimens Using a Consumer-Grade LCD 3D Printer
by Shunpei Shimizu, Masaya Inada, Tomoya Aoba, Haruka Tamagawa, Yuichiro Aoki, Masashi Sekine and Sumihisa Orita
J. Manuf. Mater. Process. 2025, 9(10), 332; https://doi.org/10.3390/jmmp9100332 - 11 Oct 2025
Viewed by 613
Abstract
Additive Manufacturing (AM) is currently widely used as a means of production and processing. Among the techniques, stereolithography 3D printers (3DP) are highly accurate and versatile, making them popular for personal use. While many personal 3D printers with multi-material printing capabilities have appeared [...] Read more.
Additive Manufacturing (AM) is currently widely used as a means of production and processing. Among the techniques, stereolithography 3D printers (3DP) are highly accurate and versatile, making them popular for personal use. While many personal 3D printers with multi-material printing capabilities have appeared on the market, stereolithography printers for personal use have yet to appear. Therefore, assuming the realization of a low-cost, versatile 3D printer with this functionality, we verified whether the resins currently available for personal use are suitable for this functionality by conducting printing, secondary curing, and tensile tests. The printing results showed that all test specimens were printed with an exposure time of 8 s or more. The tensile test results indicated that the test specimens produced by multi-material printing exhibited tensile strength comparable to that of single-material specimens (90% to 114% of the weak material standard). Additionally, it was confirmed that strength manipulation and post-processing are possible with multi-material printing using the same printing parameters. These findings demonstrate that multi-material printing using conventional commercially available resins is sufficiently practical in terms of strength. The use of existing resins and low-cost photopolymerization-based 3D printers contributes to the realization of low-cost yet high-precision AM technology. Full article
Show Figures

Graphical abstract

20 pages, 5813 KB  
Article
Effect of Surface Treatments on Interlaminar Strength of an FML Formed by Basalt Fiber/Polyester Composite and Al 3003-H14 Sheets Manufactured via Combined VARTM and Vacuum Bagging Processes
by Cesar Alfonso Cortes-Tejada, Honorio Ortíz-Hernández, Marco Antonio García-Bernal, Gabriela Lourdes Rueda-Morales, Hilario Hernández-Moreno, Víctor Manuel Sauce-Rangel and Alexander Morales-Gómez
J. Manuf. Mater. Process. 2025, 9(10), 331; https://doi.org/10.3390/jmmp9100331 - 9 Oct 2025
Viewed by 630
Abstract
Metal/composite interfacial interactions are critical to the mechanical performance of Fiber Metal Laminates (FMLs). In this study, the feasibility of successively combining Vacuum-Assisted Resin Transfer Molding (VARTM) and Vacuum Bagging (VB) was investigated, a strategy that has not been reported in the literature [...] Read more.
Metal/composite interfacial interactions are critical to the mechanical performance of Fiber Metal Laminates (FMLs). In this study, the feasibility of successively combining Vacuum-Assisted Resin Transfer Molding (VARTM) and Vacuum Bagging (VB) was investigated, a strategy that has not been reported in the literature for the fabrication of FMLs with 2/1 stacking configuration, using low-cost 3003-H14 aluminum alloy. The substrate was surface modified through mechanical abrasion and chemical etching in an ultrasonic bath with a 0.1 M NaOH solution, varying the exposure time (20, 40, and 60 min). These surfaces were characterized by optical microscopy and atomic force microscopy (AFM), conducting both qualitative and quantitative analyses of the two- and three-dimensional surface features associated with pore morphology. Additionally, their effects on interlaminar strength and Mode I failure modes of the adhesive joint at the metal/composite interface were evaluated. Micrographs of the surface variants revealed a systematic evolution of the metallic microstructure. The T-peel tests demonstrated that the microstructural features influenced the interlaminar behavior. The 40 min treatment exhibited the highest initial peak force (26.4 N) and the highest average peel force (12.4 N), with a predominantly cohesive mixed-mode failure, representing the most favorable configuration for maximizing adhesion at the metal/composite interface. Full article
Show Figures

Figure 1

23 pages, 8480 KB  
Article
Novel Pneumatic Soft Gripper Integrated with Mechanical Metamaterials for Enhanced Shape Matching Performance
by Zhengtong Han, Boqing Zhang, Wentao Sun, Ze Xu, Xiang Chen, Shayuan Weng and Xinjie Zhang
J. Manuf. Mater. Process. 2025, 9(10), 330; https://doi.org/10.3390/jmmp9100330 - 8 Oct 2025
Viewed by 545
Abstract
Traditional pneumatic soft grippers often suffer from a limited contact area and poor shape-matching performance, restricting their effectiveness in handling objects with complex or delicate surfaces. To address this problem, this study proposed an integrated soft gripper that combines pneumatic actuators with specially [...] Read more.
Traditional pneumatic soft grippers often suffer from a limited contact area and poor shape-matching performance, restricting their effectiveness in handling objects with complex or delicate surfaces. To address this problem, this study proposed an integrated soft gripper that combines pneumatic actuators with specially designed mechanical metamaterials, aiming to optimize deformation characteristics and enhance gripping surface conformity to target objects. The key contributions are as follows: (1) A novel integrated structure is designed, incorporating pneumatic actuators and mechanical metamaterials. (2) A highly efficient design framework based on deep learning is developed, incorporating forward and inverse neural networks to enable efficient performance prediction and inverse design. (3) The novel gripper is fabricated using stereolithography (SLA) and silicone casting, with experimental validation conducted via machine vision and multi-shape object tests. FEA simulations and experiments demonstrate significant improvements in shape matching: average deviations of gripping surfaces from targets are greatly reduced after optimization. This work validates that integrating mechanical metamaterials with data-driven design enhances the gripper’s adaptability, providing a feasible solution for high-performance soft gripping systems. Full article
Show Figures

Figure 1

32 pages, 3888 KB  
Review
AI-Driven Innovations in 3D Printing: Optimization, Automation, and Intelligent Control
by Fatih Altun, Abdulcelil Bayar, Abdulhammed K. Hamzat, Ramazan Asmatulu, Zaara Ali and Eylem Asmatulu
J. Manuf. Mater. Process. 2025, 9(10), 329; https://doi.org/10.3390/jmmp9100329 - 7 Oct 2025
Cited by 1 | Viewed by 2216
Abstract
By greatly increasing automation, accuracy, and flexibility at every step of the additive manufacturing process, from design and production to quality assurance, artificial intelligence (AI) is revolutionizing the 3D printing industry. The integration of AI algorithms into 3D printing systems enables real-time optimization [...] Read more.
By greatly increasing automation, accuracy, and flexibility at every step of the additive manufacturing process, from design and production to quality assurance, artificial intelligence (AI) is revolutionizing the 3D printing industry. The integration of AI algorithms into 3D printing systems enables real-time optimization of print parameters, accurate prediction of material behavior, and early defect detection using computer vision and sensor data. Machine learning (ML) techniques further streamline the design-to-production pipeline by generating complex geometries, automating slicing processes, and enabling adaptive, self-correcting control during printing—functions that align directly with the principles of Industry 4.0/5.0, where cyber-physical integration, autonomous decision-making, and human–machine collaboration drive intelligent manufacturing systems. Along with improving operational effectiveness and product uniformity, this potent combination of AI and 3D printing also propels the creation of intelligent manufacturing systems that are capable of self-learning. This confluence has the potential to completely transform sectors including consumer products, healthcare, construction, and aerospace as it develops. This comprehensive review explores how AI enhances the capabilities of 3D printing, with a focus on process optimization, defect detection, and intelligent control mechanisms. Moreover, unresolved challenges are highlighted—including data scarcity, limited generalizability across printers and materials, certification barriers in safety-critical domains, computational costs, and the need for explainable AI. Full article
Show Figures

Figure 1

19 pages, 7131 KB  
Article
Evaluation of Machining Parameters in Turning Al7075-T6 Aluminum Alloy Using Dry, Flooded, and Cryogenic Cutting Fluid Conditions
by Santiago Medina, Marcela Acuña-Rivera, Santiago Castellanos and Kleber Castro
J. Manuf. Mater. Process. 2025, 9(10), 328; https://doi.org/10.3390/jmmp9100328 - 7 Oct 2025
Viewed by 776
Abstract
Production industries create high-quality products through effective machining precision, lead times, productivity, cost benefits, and implementing sustainable manufacturing practices. This study compares the effect of cryogenic CO2 as a cutting fluid with a flooded conventional system and dry turning on the surface [...] Read more.
Production industries create high-quality products through effective machining precision, lead times, productivity, cost benefits, and implementing sustainable manufacturing practices. This study compares the effect of cryogenic CO2 as a cutting fluid with a flooded conventional system and dry turning on the surface roughness, early-stage tool phenomena (including adhesion, material transfer, and built-up edge (BUE) formation), and the chip morphology of aluminum 7075-T6. Taguchi’s L9 orthogonal array is applied to identify the optimal cutting parameters that minimize surface roughness (Ra). Cutting speed (Vc), feed rate (f), depth of cut (ap), and the type of cutting fluid condition were defined at three levels. The surface roughness (Ra) was determined, and the built-up edge (BUE) and chip morphology were evaluated. Moreover, SEM and energy-dispersive X-ray spectroscopy (EDX) were employed to characterize the machined surface and the cutting tools. The optimal values for the cryogenic cooling and cutting parameters are as follows: 220 m/min (Vc), 0.05 mm/rev (f), and 0.5 mm (ap). These conditions yield a surface roughness mean (Ra) of 0.736 µm, improving the surface roughness by 10.57% compared with the lowest Ra value from all of the tests. In addition, ANOVA showed the feed rate to be the most significant cutting parameter over surface roughness under the given conditions. Regarding chip morphology, snarled chip shapes are associated with low surface roughness values. The results indicate that cryogenic cutting fluid enhances the machined surface quality and reduces the built-up edge compared with dry and flooded conditions. Full article
Show Figures

Graphical abstract

23 pages, 6532 KB  
Article
Interfacial Strength Testing of Laser Powder Bed Fusion Metal Samples Produced Using the Multi-Material Binning Method
by Suyash Niraula, Brendon S. Dodge, Justin D. Gillham and Thomas A. Berfield
J. Manuf. Mater. Process. 2025, 9(10), 327; https://doi.org/10.3390/jmmp9100327 - 3 Oct 2025
Viewed by 870
Abstract
Creating complex structures using multiple materials in additive manufacturing comes with a unique set of challenges, particularly when it comes to how the materials transition and bond together. This research looks at a new powder binning method for combining metal powders to create [...] Read more.
Creating complex structures using multiple materials in additive manufacturing comes with a unique set of challenges, particularly when it comes to how the materials transition and bond together. This research looks at a new powder binning method for combining metal powders to create multi-material components in a single build, all produced on a standard Laser Powder Bed Fusion EOS M 290 machine. The study focuses on the size and quality of the resulting multi-material interfaces and how different scan strategies used affect the interface strength. The strength of the interface between different material pairings is evaluated for combinations of 316 stainless steel bonded to Inconel 718, Inconel 718 bonded to Inconel 625, and Inconel 625 bonded to 316 stainless steel. The Ultimate Tensile Strength (UTS) and interface region lengths were calculated to be 675 MPa and 1250 µm for 316L–IN718, 1004 MPa and 2500 µm for IN718–IN625, and 687 MPa and 2000 µm for IN625–316L, respectively. The findings show that the laser powder bed fusion material binning method is comparable to traditional methods, such as welding or directed energy deposition. This suggests that the new material binning method offers clear advantages when it comes to enabling complex geometry multi-material components while maintaining the strength and durability of the bonds between different metal materials found in traditional means. Further, optimization of scan strategies in the interface zones could play a significant role in improving the overall performance of these multi-material components, which is particularly important for industries such as aerospace, automotive, and energy production. Full article
Show Figures

Figure 1

15 pages, 1820 KB  
Article
Design of a Pneumatic Muscle-Actuated Compliant Gripper System with a Single Mobile Jaw
by Andrea Deaconescu and Tudor Deaconescu
J. Manuf. Mater. Process. 2025, 9(10), 326; https://doi.org/10.3390/jmmp9100326 - 2 Oct 2025
Viewed by 632
Abstract
The paper presents an innovative theoretical concept of a bio-inspired soft gripper system with two parallel jaws, a fixed and a mobile one. It is conceived for gripping fragile or soft objects with complex, irregular shapes that are easily deformable. This novel gripper [...] Read more.
The paper presents an innovative theoretical concept of a bio-inspired soft gripper system with two parallel jaws, a fixed and a mobile one. It is conceived for gripping fragile or soft objects with complex, irregular shapes that are easily deformable. This novel gripper is designed for handling small objects of masses up to 0.5 kg. The maximum gripping stroke of the mobile jaw is 13.5 mm. The driving motor is a pneumatic muscle, an actuator with inherently compliant, spring-like behavior. Compliance is the feature responsible for the soft character of the gripper system, ensuring its passive adaptability to the nature of the object to be gripped. The paper presents the structural, kinematic, static, and dynamic models of the novel gripper system and describes the compliant behavior of the entire assembly. The results of the dynamic simulation of the gripper have confirmed the attaining of the imposed motion-related performance. Full article
Show Figures

Figure 1

25 pages, 6338 KB  
Article
Multi-Scale Model of Mid-Frequency Errors in Semi-Rigid Tool Polishing of Diamond-Turned Electroless Nickel Mirror
by Pengfeng Sheng, Jingjing Xia, Jun Yu, Kun Wang and Zhanshan Wang
J. Manuf. Mater. Process. 2025, 9(10), 325; https://doi.org/10.3390/jmmp9100325 - 30 Sep 2025
Viewed by 476
Abstract
Semi-rigid tool polishing is widely used in the high-precision manufacturing of electroless nickel surface due to its stable material removal and high efficiency in correcting mid- and high-frequency profile errors. However, predicting mid-frequency errors remains challenging due to the complexity of their underlying [...] Read more.
Semi-rigid tool polishing is widely used in the high-precision manufacturing of electroless nickel surface due to its stable material removal and high efficiency in correcting mid- and high-frequency profile errors. However, predicting mid-frequency errors remains challenging due to the complexity of their underlying sources. In this study, a theoretical model for semi-rigid tool polishing was developed based on multi-scale contact theory, incorporating a bridging model, rough surface contact, and Hertzian contact mechanics. The model accounts for the effects of tool surface roughness, polishing force, and path spacing. A series of experiments on diamond-turned electroless nickel mirrors was conducted to quantitatively evaluate the model’s feasibility and accuracy. The results demonstrate that the model can effectively predict mid-frequency errors, reveal the material removal mechanisms in semi-rigid polishing, and guide the optimization of process parameters. Ultimately, a surface with mid-frequency errors of 0.59 nm Rms (measured over a 1.26 mm × 0.94 mm window) was achieved, closely matching the predicted value of 0.64 nm. Full article
Show Figures

Figure 1

11 pages, 1905 KB  
Article
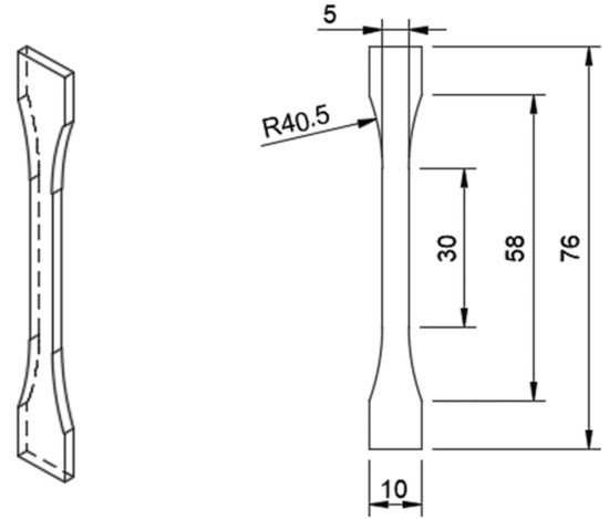
A Psychophysical Methodology for Determining Manufacturing Tolerance of Feature Lines on Automotive Outer Panels
by Yunchan Chung and Mi-Sun Bang
J. Manuf. Mater. Process. 2025, 9(10), 324; https://doi.org/10.3390/jmmp9100324 - 29 Sep 2025
Viewed by 473
Abstract
This paper presents a methodology for determining manufacturing tolerances of feature lines on automotive outer panels using visual sensory tests. Feature lines—narrow and long curved surfaces on automotive panels—play a critical role in the visual appeal of vehicles. However, achieving precise feature lines [...] Read more.
This paper presents a methodology for determining manufacturing tolerances of feature lines on automotive outer panels using visual sensory tests. Feature lines—narrow and long curved surfaces on automotive panels—play a critical role in the visual appeal of vehicles. However, achieving precise feature lines in mass production is challenging due to material spring-back during the stamping process. Conventional tolerance determination methods are unsuitable for these esthetic elements. To address this, we employed psychophysical sensory tests to find the visual difference thresholds for feature lines. By creating geometric models and conducting controlled sensory tests, we identified the minimum radius variations perceptible to the human eye. Thirty-four participants were tested using the method of constant stimuli, resulting in psychometric functions for feature lines with radii of 8, 10, and 12 mm. The findings suggest manufacturing tolerances of ±1.2 mm, ±1.3 mm, and ±1.5 mm, respectively. This approach provides a quantitative foundation for setting tolerances that balance visual quality with production feasibility. Full article
Show Figures

Figure 1

21 pages, 10551 KB  
Article
Bayesian Model Updating for Chatter in Milling
by Ali Ebrahimi-Tirtashi and Keivan Ahmadi
J. Manuf. Mater. Process. 2025, 9(10), 323; https://doi.org/10.3390/jmmp9100323 - 26 Sep 2025
Viewed by 579
Abstract
The modal parameters of tooltip vibrations are crucial for determining chatter-free machining conditions. However, conventional methods often depend on measurements taken when the machine is not operating under real cutting conditions or require multiple experiments under chatter conditions, which is time-consuming and impractical [...] Read more.
The modal parameters of tooltip vibrations are crucial for determining chatter-free machining conditions. However, conventional methods often depend on measurements taken when the machine is not operating under real cutting conditions or require multiple experiments under chatter conditions, which is time-consuming and impractical for real-world manufacturing. This paper proposes a Bayesian Model Updating (BMU) approach to improve the chatter model parameters using experimental observations collected during normal, stable milling operations. Operational Modal Analysis (OMA) is adopted to extract the system dynamics from the in-process signals. These results are subsequently integrated into the BMU framework, updating the initial model parameters to reflect actual cutting conditions. The effectiveness of this approach is demonstrated through an experimental case study, highlighting its feasibility and potential for industrial applications. Full article
(This article belongs to the Special Issue New Trends in Precision Machining Processes)
Show Figures

Figure 1

Previous Issue
Next Issue
Back to TopTop