The Impact of the Direct Participation of Workers on the Rates of Absenteeism in the Spanish Labor Environment
Abstract
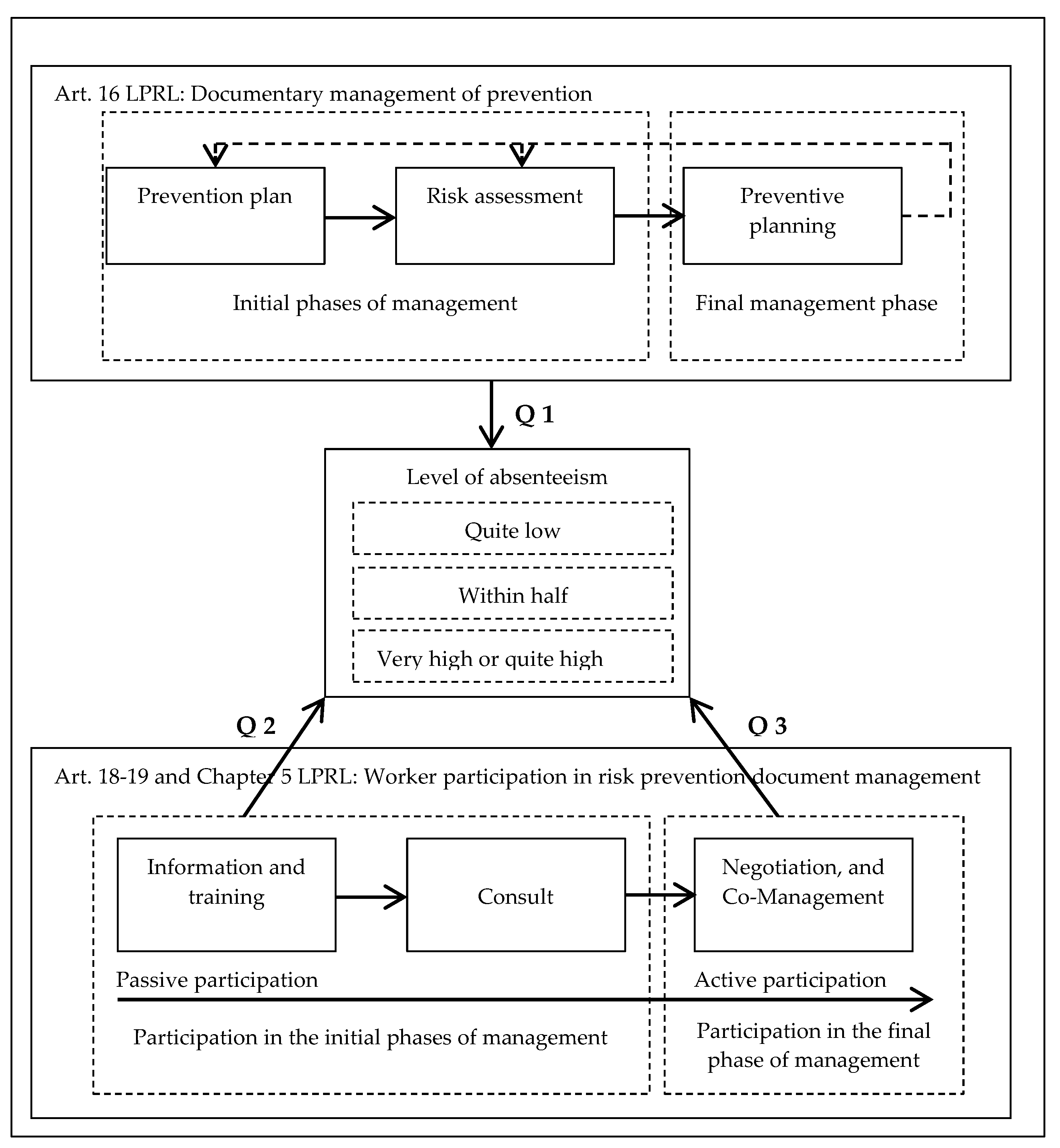
1. Introduction
2. Materials and Methods
2.1. Source and Sample
2.2. Dependent Variable
2.3. Independent Variables and Adjustment Covariates
2.4. Statistical Analysis
3. Results
4. Discussion
Limitations
5. Conclusions
Funding
Acknowledgments
Conflicts of Interest
Appendix A
| Number (%) | Test of the Likelihood Ratio | ||
|---|---|---|---|
| Chi Squared | p-Value | ||
| Level of absenteeism | |||
| very low | 1663 (54.0) | ||
| quite low | 650 (21.1) | ||
| Within half | 614 (19.9) | ||
| Very high or quite high | 151 (4.9) | ||
| Participation | |||
| Passive participation | |||
| Q256_5: Information | 21.970 | 0. 000 | |
| Do not | 1417 (46.0) | ||
| Yes | 1661 (54.4) | ||
| Q166_3: Training | 7.080 | 0. 069 | |
| Do not | 1605 (52.2) | ||
| Yes | 1473 (47.8) | ||
| consultative participation | |||
| Q358: Debates | 23.963 | 0. 000 | |
| Do not | 1631 (53.0) | ||
| Yes | 1447 47.0) | ||
| Q350: Speak | 2.492 | 477 | |
| Do not | 2215 (72.0) | ||
| Yes | 863 (28.0) | ||
| Active participation | |||
| Q258b: general risks | 7.916 | 0. 048 | |
| Do not | 863 (28.0) | ||
| Yes | 2215 (72.0) | ||
| Q305: psychosocial risks | 18.878 | 0. 000 | |
| Do not | 2023 (65.7) | ||
| Yes | 1054 (34.3) | ||
| Management | |||
| Prevention plans | |||
| Q156: budget | 2.152 | 542 | |
| Do not | 1256 (40.8) | ||
| Yes | 1821 (59.2) | ||
| Q300: Stress | 1.680 | 0. 641 | |
| Do not | 272 (8.9) | ||
| Yes | 2805 (91.1) | ||
| Q301: Harassment | 7.893 | 0. 048 | |
| Do not | 2730 (88.7) | ||
| Yes | 348 (11.3) | ||
| Q302: Threats | 2.175 | 0. 537 | |
| Do not | 2873 (93.4) | ||
| Yes | 205 (6.6) | ||
| Risks evaluation | |||
| Q250: Overall assessment | 7.986 | 0. 046 | |
| Do not | 2735 (88.9) | ||
| Yes | 343 (11.1) | ||
| Q252_5: Relationships | 5.403 | 145 | |
| Do not | 1595 (51.8) | ||
| Yes | 1483 (48.2) | ||
| Q252_6 Organization | 1.719 | 633 | |
| Do not | 1441 (46.8) | ||
| Yes | 1636 (53.2) | ||
| preventive planning | |||
| Q303_1: work pressure | 2.774 | 428 | |
| Do not | 1846 (60.0) | ||
| Yes | 1232 (40.0) | ||
| Q303_2: Consulting | 8.651 | 0.034 | |
| Do not | 2119 (68.8) | ||
| Yes | 959 (31.2) | ||
| Q303_3: Conflicts | 6.489 | 0.090 | |
| Do not | 2242 (72.8) | ||
| Yes | 836 (27.2) | ||
| Q303_4: Schedules | 261 | 967 | |
| Do not | 2515 (81.7) | ||
| Yes | 563 (18.3) | ||
| Control variables | |||
| collective representation | |||
| Q166_1: Personal Delegate | 11.108 | 0. 0011 | |
| Do not | 2030 (66.0) | ||
| Yes | 1048 (34.0) | ||
| Q166_2: Delegate union | 5.103 | 0. 164 | |
| Do not | 2299 (74.7) | ||
| Yes | 779 (25.3) | ||
| Q166_3: D. Prevention | 932 | 818 | |
| Do not | 1542 (50.1) | ||
| Yes | 1535 (49.9) | ||
| Q166_4: Safety Committee | 4.551 | 208 | |
| Do not | 2491 (80.9) | ||
| Yes | 586 (19.1) | ||
| Q165: Inspection Visits | 58.820 | 0. 000 | |
| Do not | 1700 (55.2) | ||
| Yes | 1378 (44.8) | ||
| Economic sector | 16.416 | 0. 564 | |
| Health | 345 (11.2) | ||
| farming | 167 (5.4) | ||
| Building | 285 (9.3) | ||
| Industry | 344 (11.2) | ||
| Commerce | 1188 (38.6) | ||
| Administration | 638 (20.7) | ||
| Public | 111 (3.6) | ||
| Size workplace | 48.745 | 0. 000 | |
| 250 or more | 29 (0.9) | ||
| 50–249 | 220 (7.1) | ||
| 10–49 | 1195 (38.8) | ||
| 09.06 | 1635 (53.1) | ||
References
- Leka, S.; Jain, A.; Iavicoli, S.; Di Tecco, C. An evaluation of the policy contexton psychosocial risks and mental health in the workplace in the European Union: Achievements, challenges and the future. Biomed. Res. Int. 2015. [Google Scholar] [CrossRef] [PubMed]
- Leka, S.; Van Wassenhove, W.; Jain, A. Is psychosocial risk prevention possible? Deconstructing common presumptions. Saf. Sci. 2015, 71, 61–67. [Google Scholar] [CrossRef]
- Todolí, A. En cumplimiento de la primera Ley de la robótica: Análisis de los riesgos laborales asociados a un algoritmo/inteligencia artificial dirigiendo el trabajo. Labour Law Issues 2019, 5, 1–38. [Google Scholar]
- ILO. Riesgos psicosociales, estrés y violencia en el mundo del trabajo. Available online: https://www.ilo.org/wcmsp5/groups/public/---ed_dialogue/actrav/documents/publication/wcms_553931.pdf (accessed on 16 March 2020).
- INSHT. Estrategia Española de Seguridad y Salud en el Trabajo 2015–2020; Instituto Nacional de Seguridad e Higiene en el Trabajo; Available online: https://www.insst.es/-/estrategia-espanola-de-seguridad-y-salud-en-el-trabajo-2015-20-1 (accessed on 16 March 2020).
- Harvey, S.B.; Modini, M.; Joyce, S.; Milligan-Saville, J.S.; Tan, L.; Mykletun, A.; Bryant, R.A.; Christensen, H.; Mitchell, P.B. Can work make you mentally ill? A systematic meta-review of work-related risk factors for common mental health problems. Occup. Environ. Med. 2017, 74, 301–310. [Google Scholar] [CrossRef] [PubMed]
- Theorell, T.; Hammarström, A.; Aronsson, G.; Träskman-Bendz, L.; Grape, T.; Hogstedt, C.; Marteinsdottir, I.; Skoog, I.; Hall, C. A systematic review including meta-analysis of work environment and depressive symptoms. Bmc Public Health 2015, 15, 738. [Google Scholar] [CrossRef]
- Kivimäki, M.; Kawachi, I. Work stress as a risk factor for cardiovascular disease. Curr. Cardiol. Rep. 2015, 17, 630. [Google Scholar] [CrossRef]
- Theorell, T.; Jood, K.; Järvholm, L.S.; Vingård, E.; Perk, J.; Östergren, P.O.; Hall, C. A systematic review of studies in the contributions of the work environment to ischaemic heart disease development. Eur. J. Public Health 2016, 26, 470–477. [Google Scholar] [CrossRef]
- Ráfols, F. La ansiedad y la depresión serán la primera causa de baja laboral en España en 2020, según la OMS. Catalunyaplural.cat. Available online: http://catalunyaplural.cat/es/la-ansiedad-y-la-depresion-seran-la-primera-causa-de-baja-laboral-en-espana-en-2020-segun-la-oms/ (accessed on 16 March 2020).
- Payá, R.; Beneyto, P. Desigualdades de género en términos de condiciones de trabajo, empleo y salud laboral. Sociol. Y Tecnociencia 2019, 9, 23–49. [Google Scholar]
- Sánchez, C.; Conde, P. La protección social y los riesgos psicosociales. An. Derecho 2008, 26, 275–297. [Google Scholar]
- Sánchez, C.; Kahale, D.T. Las enfermedades psicosociales y su consideración como enfermedad del trabajo. An. Derecho 2016, 34, 1–27. [Google Scholar]
- Steers, R.M.; Rhodes, S.R. Knowledge and speculation about absenteeism. In Absenteeism: New approaches to understanding, measuring, and managin employee absence; Goodman, P.S., Atkins, R.S., Eds.; Jossey-Bass: San Francisco, CA, USA, 1984; pp. 229–275. [Google Scholar]
- Rhodes, S.R.; Steers, R.M. Managing Employee Absenteeism; Addison-Wesley: Reading, MA, USA, 1990. [Google Scholar]
- Nichols, T.; Walters, D. Representation and consultation on health and safety in chemicals: An exploration of limits to the preferred model. Employee Relations. 2006, 28, 230–254. [Google Scholar]
- Coutrot, T. Le rôle des comités d’hygiène, de sécurité et des conditios de travail en France: Une analyse empirique. Trav. Et Empl. 2009, 17, 25–38. [Google Scholar]
- Ollé-Espluga, L.; Vergara-Duarte, M.; Belvis, F.; Menéndez-Fuster, M.; Jódar, P.; Benach, J. What is the impact on occupational health and safety when workers knowthey have safety representatives? Safety Sci. 2015, 74, 55–58. [Google Scholar] [CrossRef]
- Nichols, T.; Walters, D.; Tasiran, A.C. Trade unions, institutional mediation and industrial safety- evidence from the UK. J. Industr. Relat. 2007, 49, 211–226. [Google Scholar] [CrossRef]
- Reilly, B.; Paci, P.; Holl, P. Unions, safety committees and workplace injuries. Br. J. Industr. Relat. 1995, 33, 275–288. [Google Scholar] [CrossRef]
- Robinson, A.M.; Smallman, C. Workplace injury and voice: A comparison of management and union perceptions. Work Employ. Society. 2013, 27, 674–693. [Google Scholar] [CrossRef]
- Payá, R.; Beneyto, P. Intervención sindical y salud laboral en la Unión Europea: Dimensiones, cobertura e impacto. methaodos. revista de ciencias sociales 2018, 6, 210–226. [Google Scholar]
- Rueda, S. Siniestralidad laboral y fortaleza sindical en la OCDE. Archivos de Prevención de Riesgos Laborales 2004, 7, 146–152. [Google Scholar]
- Walters, D.; Wadsworth, E.J.K. Contexts and determinants of the management of occupational safety and health in European workplaces. Policy Pract. Health Saf. 2014, 12, 109–130. [Google Scholar] [CrossRef]
- Menéndez, M.; Benach, J.; Vogel, L. The impact of safety representatives on occupational health. A European perspective (The EPSARE PROJECT); ETUI: Brussels, Belgium, 2009. [Google Scholar]
- Masso, M. The determinants of employee participation in occupational health and safety management. Int. J. Occup. Saf. Ergon. 2015, 21, 62–70. [Google Scholar] [CrossRef]
- Walters, D.; Wadsworth, E. Participation in safety and health in European workplaces: Framing the capture of representation. Eur. J. Industr. Relat. 2020, 26, 75–90. [Google Scholar] [CrossRef]
- Andersen, J.H.; Malmros, P.; Ebbehoej, N.E.; Flachs, E.M.; Bengtsen, E.; Bonde, J.P. Systematic literature review on the effects of occupational safety and health (OSH) interventions at the workplace. Scand. J. Work Environ. Health 2019, 45, 103–113. [Google Scholar] [CrossRef] [PubMed]
- Walters, D.; Wadsworth, E. Arrangements for workers’ safety and health in container terminals: Corporate core values and concrete practice. Econ. Industr. Democr. 2020. [Google Scholar] [CrossRef]
- Coulson, N.P.; Stewart, P.F.; Saeed, S. South African mineworkers’ perspectives on the right to refuse dangerous work and the constraints to worker self-regulation. J. S. Afr. Inst. Min. Metall. 2019, 119, 21–30. [Google Scholar] [CrossRef]
- Payá, R.; Beneyto, P. Integración de la salud laboral con medios propios como mecanismo de participación y activación cultural. Arch. Prev. Riesgos Labor 2019, 76–80. [Google Scholar] [CrossRef]
- Walters, D.; Quinlan, M. Voice and resistance: Coalminers’ struggles to represent their health and safety interests in Australia and New Zealand 1871–1925. Econ. Labour Relat. Rev. 2019, 30, 513–531. [Google Scholar] [CrossRef]
- Coulson, N. The role of workplace health and safety representatives and the creeping responsibilisation of occupational health and safety on South African mines. Res. Policy 2018, 56, 38–48. [Google Scholar] [CrossRef]
- Heery, E. Framing Work: Unitary, Pluralist and Critical Perspectives in the Twenty-first Century; Oxford University Press: Oxford, UK, 2016. [Google Scholar]
- Peters, S.E.; Nielsen, K.M.; Nagler, E.M.; Revette, A.C.; Madden, J.; Sorensen, G. Ensuring. organization-intervention fit for a participatory organizational intervention to improve food service workers’ health and wellbeing: Workplace organizational health study. J. Occup. Environ. Med. 2020, 62, 33–45. [Google Scholar] [CrossRef]
- Johnston, D.; Pagell, M.; Veltri, A.; Klassen, R. Values-in-action that support safe production. J. Safety Res. 2020, 72, 75–91. [Google Scholar] [CrossRef]
- Yassi, A.; Lockhart, K.; Sykes, M.; Buck, B.; Stime, B.; Spiegel, J.M. Effectiveness of joint health and safety committees: A realist review. Am. J. Ind. Med. 2013, 56, 424–438. [Google Scholar] [CrossRef]
- Hasle, P.; Seim, R.; Refslund, B. From employee representation to problem-solving: Mainstreaming OHS management. Econ. Industr. Democr. 2019, 40, 662–681. [Google Scholar] [CrossRef]
- Castillo, A.P.D. Training for workers and safety representatives on manufactured nanomaterials. New Solut. J. Environ. Occup. Health Policy 2019, 29, 36–52. [Google Scholar] [CrossRef] [PubMed]
- Yoshikawa, E.; Kogi, K. Outcomes for facilitators of workplace environment improvement applying a participatory approach. J. Occup. Health 2019, 61, 415–425. [Google Scholar] [CrossRef] [PubMed]
- Ollé-Espluga, L.; Menéndez-Fuster, M.; Muntaner, C.; Benach, J.; Vergara-Duarte, M.; Vázquez, M.L. Safety representatives’ views on their interaction with workers in a context of unequal power relations: An exploratory qualitative study in Barcelona (Spain). Am. J. Ind. Med. 2014, 57, 338–350. [Google Scholar] [CrossRef]
- Frick, K. Resilience within a weaker work environment system: The position and influence of Swedish safety representatives. In Safety or Profit? International Studies in Governance, Change and the Work Environment; Nichols, T., Walters, D., Eds.; Baywood Publishing: Amityville, EEUU, 2013; pp. 51–70. [Google Scholar]
- Walters, D.; Johnstone, R.; Quinlan, M.; Wadsworth, E.; Jane, K. Safeguarding workers: A study of health and safety representatives in the Queensland coal mining industry, 1990–2013. Relat. Industr. 2016, 71, 418–441. [Google Scholar] [CrossRef]
- Walters, D.; Quinlan, M.; Johnstone, R.; Wadsworth, E. Cooperation or resistance? Representing workers’ health and safety in a hazardous industry. Industr. Relat. J. 2016, 47, 379–395. [Google Scholar] [CrossRef]
- Håkansson, M.; Holden, R.J.; Eriksson, A.; Dellve, L. Managerial practices that support lean and socially sustainable working conditions. Nordic. J. Work. Life Stud. 2017, 7, 63–84. [Google Scholar]
- Hasle, P.; Bojesen, A.; Jensen, P.; Brammning, P. Lean and the working environment: A review of the literature. Int. J. Operat. Product. Manag. 2012, 32, 829–849. [Google Scholar] [CrossRef]
- Hasle, P. Lean production–an evaluation of the possibilities for an employee supportive lean practice. Human Fact. Ergon. Manufact. Ser. Industr. 2014, 24, 40–53. [Google Scholar] [CrossRef]
- Llorens, C.; Navarro, A.; Salas, S.; Utzet, M.; Moncada, S. For better or for worse? Psychosocial work environment and direct participation practices. Safety Sci. 2019, 116, 78–85. [Google Scholar] [CrossRef]
- Ulhassan, W.; Schwarz, U.V.T.; Thor, J.; Westerlund, H. Interactions between lean management and the psychosocial work environment in a hospital setting - a multimethod study. BMC Health Serv. Res. 2014, 22, 480–489. [Google Scholar]
- Westgaard, R.H.; Winkel, J. Occupational musculoskeletal and mental health: Significance of rationalization and opportunities to create sustainable production systems—A systematic review. Appl. Ergon. 2011, 42, 261–296. [Google Scholar] [PubMed]
- Carter, B.; Danford, A.; Howcroft, D.; Richardson, H.; Smith, A.; Taylor, P. Stressed out of my box: Employee experience of lean working and occupational ill health in clerical work in the UK public sector. Workemploy. Soc. 2013, 27, 747–767. [Google Scholar]
- Jensen, J.; Patel, P.C.; Messersmith, J. High performance work systems and job control: Consequences for anxiety, role overload and turnover intentions. J. Manag. 2013, 39, 1699–1724. [Google Scholar]
- Hvid, H.; Lund, H.; Pejtersen, J. Control, flexibility and rhythms. Scand. J. Workenviron. Health 2008, 6, 83–90. [Google Scholar]
- Linhart, D. La comédie humaine du travail. De la déhumanisation taylorienne à la sur-humanisation managériale; Éditions érès: Toulouse, France, 2015. [Google Scholar]
- Schnall, P.L.; Dobson, M.; Landsbergis, P. Globalization, work, and cardiovascular disease. Int. J. Health Serv. 2016, 46, 656–692. [Google Scholar]
- Laville, J. Pour une typologie des formes de participation. Travail 1991, 24, 29–42. [Google Scholar]
- Busck, O.; Knudsen, H.; Lind, J. The transformation of employee participation: Consequences for the work environment. Econ. Industr. Democr. 2010, 31, 285–305. [Google Scholar]
- Boix, P.; Vogel, L. Participación de los trabajadores. In Salud laboral: Conceptos y técnicas para la prevención de riesgos laborales; Ruiz-Frutos, C., Delclòs, J.E., Ronda, E., Eds.; Elsevier Espana: Barcelona, Spain, 2013; pp. 151–160. [Google Scholar]
- Kalleberg, A.L.; Nesheim, T.; Olsen, K.M. Is participation good or bad for workers? Effects of autonomy, consultation and teamwork on stress among workers in Norway. Acta Sociol. 2009, 52, 99–116. [Google Scholar]
- Sisson, K. Direct Participation and the Modernisation of Work Organisation. Available online: https://www.eurofound.europa.eu/publications/report/2000/direct-participation-and-the-modernisation-of-work-organisation (accessed on 16 March 2020).
- Law 31/1995 on the Prevention of Occupational Risks. Available online: https://www.boe.es/buscar/act.php?id=BOE-A-1995-24292 (accessed on 16 March 2020).
- Lahera, A. La participación de los trabajadores en la democracia industrial; Los Libros de la Catarata: Madrid, Spain, 2004. [Google Scholar]
- Agras, B. Participación y representación de los trabajadores en materia de prevención de riesgos laborales. Especial referencia a las previsiones al respecto contenidas en los convenios colectivos de Castilla y León. Rev. Investig. Económica Y Soc. Castilla Y León 2005, 8, 15–109. [Google Scholar]
- Sala, T. La consulta y participación de los trabajadores y sus representantes. In Derecho de la Prevención Riesgos Laborales; Sala, T., Ed.; Tirant lo Blanch: Valencia, Spain, 2014; pp. 197–221. [Google Scholar]
- Narocki, C. La prevención de riesgos laborales en las pequeñas y medianas empresas españolas. Cuad. Relac. Labor. 1997, 10, 157–181. [Google Scholar]
- Gracía, A.M.; López-Jacob, M.J.; Díaz-Gómez, J.R. La protección de la salud de los trabajadores en España: Una oportunidad para la participación, la negociación y el consenso en el marco de las relaciones laborales. Trab.: Rev. Iberoam. Relac. Labor. 2013, 28, 39–53. [Google Scholar]
- Santos, A.; Gabaldon, D.; Grau, A.; Ingellis, A.; Muñoz, D. Country report - SPAIN: Worker participation in the management of occupational safety and health — qualitative evidence from ESENER-2. Available online: https://osha.europa.eu/en/publications/country-report-spain-worker-participation-management-occupational-safety-and-health/view (accessed on 1 April 2020).
- García, A.M.; Boix, P.; Benavides, F.G.; Gadea, R.; Rodrigo, F.; Serra, C. Participación para mejorar las condiciones de trabajo: Evidencias y experiencias. Gac Sanit. 2016, 30, 87–92. [Google Scholar] [CrossRef] [PubMed]
- Walters, D.; Frick, K.; Wadsworth, E. Trade union initiatives to support improved safety and health in micro and small firms: Trade Union Prevention Agents (TUPAs) in four EU Member State. October 2018. Available online: https://www.etui.org/content/download/35792/355944/file/TUPAS-englishFINAL.pdf (accessed on 1 April 2020).
- Payá, R. Seguridad y salud laboral en el área mediterránea de relaciones laborales: Factores determinantes y análisis comparado. Aposta. Rev. Cienc. Sociale. 2020, 84, 25–44. [Google Scholar]
- Payá, R.; Beneyto, P.J. Representación sindical y prevención de riesgos laborales durante la crisis: Impacto y límites. Sociol. Trab. 2019, 94, 29–62. [Google Scholar]
- Camas, F. La normativa internacional y comunitaria de seguridad y salud en el trabajo; Tirant lo Blanch: Valencia, Spain, 2003. [Google Scholar]
- Swuste, P.; van Gulijk, C.; Zwaard, W. Safety metaphors and theories, a review of the occupational safety literature of the US, UK and The Netherlands, till the first part of the 20th century. Saf. Sci. 2010, 48, 1000–1018. [Google Scholar] [CrossRef]
- INSHT. Segunda Encuesta Europea de Empresas sobre Riesgos Nuevos y Emergentes (ESENER 2 – España, 2014). Available online: https://www.insst.es/-/encuesta-nacional-de-gestion-de-rrll-en-las-empresas-esener-2-espa-1 (accessed on 16 March 2020).
- Beck, D.; Lenhardt, U. Consideration of psychosocial factors in workplace risk assessments: Findings from a company survey in Germany. Int. Arch. Occup. Environ. Health. 2019, 92, 435–451. [Google Scholar] [CrossRef]
- Janetzke, H.; Ertel, M. Psychosocial risk management in more and less favourable workplace conditions. Int. J. Workp. Health Manag. 2017, 10, 300–317. [Google Scholar] [CrossRef]
- Utzet, M.; Moncada, S.; Molinero, E.; Llorens, C.; Moreno, N.; Navarro, A. The changing patterns of psychosocial exposures at work in the south of Europe: Spain as a labor market laboratory. Am. J. Ind. Med. 2014, 57, 1032–1042. [Google Scholar] [CrossRef]
- Walters, D.; Nichols, T. Worker Representation and Workplace Health and Safety; Palgrave Macmillan: Basingstoke, UK, 2007. [Google Scholar]
- Davies, R.; Elias, P. An Analysis of Temporal and national Variations in reported Workplace Injury Rates. Available online: https://warwick.ac.uk/fac/soc/ier/publications/2000/davies_and_elias_2000_hse.pdf (accessed on 16 March 2020).
- Eaton, A.; Nocerino, T. The Effectiveness of Health and Safety Committees: Results of a Survey of Public Sector Workplaces. Ind. Relat. 2000, 39, 265–290. [Google Scholar] [CrossRef]
- Nichols, T. The Sociology of Industrial Injury; Mansell: London, UK, 1997. [Google Scholar]
- Eurofound. European Quality of Life Survey 2016: Quality of life, quality of public services, and quality of society. Available online: https://www.eurofound.europa.eu/surveys/european-quality-of-life-surveys/european-quality-of-life-survey-2016 (accessed on 16 March 2020).


| Study Dimension | Questionnaire Questions |
|---|---|
| Dependent variable | Q450.- How would you describe the level of absenteeism at your workplace compared toother workplaces in the sector? Is it very high, quite high, within the average, quite low or very low? |
| Independent variables | |
| Participation | |
| Passive participation | Q256_5- Who has received the results of the workplace risk assessment? The workers themselves. |
| Q163_3- On which of the following topics does your workplace provide training to workers? How to prevent psychosocial risks, such as stress or harassment | |
| Consultative participation | Q358.- Are occupational risk prevention issues routinely discussed at meetings of personnel or equipment? |
| Q350.- How often do representatives, workers and management talk about prevention of occupational risks? | |
| Active participation | |
| Q258b.- In case it is necessary to take action after a risk assessment. Are workers normally involved in its design and implementation? | |
| Q305.- Did workers participate in the design and adoption of measures to prevent psychosocial risks? | |
| Management | |
| Prevention plans | Q156.- Is there a specific budget allocated each year to measures and equipment for the prevention of occupational hazards in your workplace? |
| Q300.- Does your workplace have an action plan to prevent work-related stress? | |
| Q301.- Do you have a procedure for dealing with possible cases of harassment or bullying? | |
| Q302.- Do you have a procedure for dealing with possible cases of threats, insults or aggressions by clients, patients, students or other outsiders? | |
| Risks evaluation | Q250.- Does your workplace routinely perform risk assessments in the workplace? |
| Q252_5.- Which of the following aspects are normally included in these evaluations of risk in the workplace? Relationship between worker and supervisor | |
| Q252_6.- Which of the following aspects are normally included in these evaluations of risk in the workplace? Organizational aspects such as work schedules, breaks or work shifts | |
| Preventive planning | Q303_1. In the last 3 years, has your workplace applied any of the following measures to prevent psychosocial risks? Reorganisation of work in order to reduce the demands and work pressure |
| Q303_2.- In the last 3 years, has your workplace applied any of the following measures to prevent psychosocial risks? Confidential counselling for workers | |
| Q303_3.- In the last 3 years, has your workplace applied any of the following measures to prevent psychosocial risks? Implementation of a conflict resolution procedure | |
| Q303_4.- In the last 3 years, has your workplace applied any of the following measures to prevent psychosocial risks? Intervention in case of too many working hours or irregular schedule | |
| Control variables | |
| Collective representation | Q166_1.- Which of the following forms of worker representation do you have in your workplace? Personnel delegate, works council or staff meeting |
| Q166_2.- Which of the following forms of worker representation do you have in your workplace? Shop steward | |
| Q166_3.- Which of the following forms of worker representation do you have in your workplace? Prevention Delegate | |
| Q166_4.- Which of the following forms of worker representation do you have in your workplace? Occupational Safety and Health Committee | |
| Inspection Visits | Q165.- Has your workplace received any visits from the Labour Inspectorate in the last 3 years to check compliance with risk prevention regulations? work? |
| Economic sector | [Sector]. sector of the workplace |
| Workplace size | [Size]. company size |
| Quite Low 1 | Within Half 1 | Very High Or Quite High 1 | ||||
|---|---|---|---|---|---|---|
| aOR(95%IC) 2 | p-Value | aOR(95%IC) 2 | p-Value | aOR(95%IC) 2 | p-Value | |
| Participation | ||||||
| Passive participation | ||||||
| Q256_5: Information | ||||||
| Do not | 13 | 13 | 13 | |||
| Yes | 0.71 (0.57–0.87) | 0.001 | 0.64 (0.51–0.79) | 0.000 | 0.97 (0.65–1.44) | 0.869 |
| Q166_3: Training | ||||||
| Do not | 13 | 13 | 13 | |||
| Yes | 0.76 (0.61–0.94) | 0.011 | 0.88 (0.70–1.10) | 0.258 | 1.04 (0.70–1.53) | 0.863 |
| Consultative participation | ||||||
| Q358: Debates | ||||||
| Do not | 13 | 13 | 13 | |||
| Yes | 1.24 (1.01–1.54) | 0.049 | 1.71 (1.36–2.14) | 0.000 | 1.54 (1.04–2.29) | 0.033 |
| Q350: Speak | ||||||
| Do not | 13 | 13 | 13 | |||
| Yes | 0.91 (0.71–1.18) | 0.483 | 0.82 (0.64–1.07) | 0.145 | 0.82 (0.52–1.29) | 0.396 |
| Active participation | ||||||
| Q258b: general risks | ||||||
| Do not | 13 | 13 | 13 | |||
| Yes | 0.87 (0.67–1.13) | 0.295 | 0.68 (0.52–0.89) | 0.005 | 0.90 (0.55–1.48) | 0.690 |
| Q305: psychosocial risks | ||||||
| Do not | 13 | 13 | 13 | |||
| Yes | 0.66 (0.51–0.87) | 0.003 | 0.76 (0.58–0.99) | 0.049 | 0.43 (0.27–0.69) | 0.000 |
| Management | ||||||
| Prevention plans | ||||||
| Q156: budget | ||||||
| Do not | 13 | 13 | 13 | |||
| Yes | 1.13 (0.93–1.38) | 0.225 | 1.12 (0.91–1.38) | 0.295 | 0.99 (0.68–1.43) | 0.936 |
| Q300: Stress | ||||||
| Do not | 13 | 13 | 13 | |||
| Yes | 0.87 (0.58–1.30) | 0.505 | 1.04 (0.69–1.56) | 0.862 | 0.70 (0.35–1.41) | 0.314 |
| Q301: Harassment | ||||||
| Do not | 13 | 13 | 13 | |||
| Yes | 1.69 (1.14–2.49) | 0.008 | 1.05 (0.69–1.60) | 0.823 | 1.03 (0.52–2.06) | 0.926 |
| Q302: Threats | ||||||
| Do not | 13 | 13 | 13 | |||
| Yes | 1.24 (0.79–1.92) | 0.348 | 1.37 (0.86–2.19) | 0.191 | 1.44 (0.68–3.06) | 0.339 |
| Risks evaluation | ||||||
| Q250: Overall assessment | ||||||
| Do not | 13 | 13 | 13 | |||
| Yes | 1.42 (0.96–2.11) | 0.082 | 1.49 (0.99–2.24) | 0.058 | 0.65 (0.32–1.34) | 0.246 |
| Q252_5: Relationships | ||||||
| Do not | 13 | 13 | 13 | |||
| Yes | 1.24 (0.98–1.58) | 0.076 | 1.29 (1.00–1.65) | 0.054 | 1.09 (0.70–1.70) | 0.695 |
| Q252_6 Organization | ||||||
| Do not | 13 | 13 | 13 | |||
| Yes | 0.97 (0.76–1.23) | 0.795 | 0.95 (0.74–1.22) | 0.665 | 1.29 (0.82–2.05) | 0.271 |
| Preventive planning | ||||||
| Q303_1: work pressure | ||||||
| Do not | 13 | 13 | 13 | |||
| Yes | 1.09 (0.86–1.38) | 0.344 | 0.95 (0.74–1.22) | 0.695 | 1.34 (0.88–2.06) | 0.173 |
| Q303_2: Consulting | ||||||
| Do not | 13 | 13 | 13 | |||
| Yes | 1.41 (1.10–1.81) | 0.007 | 1.30 (1.01–1.68) | 0.050 | 1.17 (0.75–1.85) | 0.488 |
| Q303_3: Conflicts | ||||||
| Do not | 13 | 13 | 13 | |||
| Yes | 1.06 (0.81–1.39) | 0.651 | 1.40 (1.07–1.83) | 0.015 | 1.31 (0.81–2.10) | 0.231 |
| Q303_4: Schedules | ||||||
| Do not | 13 | 13 | 13 | |||
| Yes | 0.96 (0.72–1.26) | 0.746 | 0.96 (0.72–1.27) | 0.757 | 1.06 (0.65–1.72) | 0.819 |
| Control variables | ||||||
| Collective representation | ||||||
| Q166_1: Personal Delegate | ||||||
| Do not | 13 | 13 | 13 | |||
| Yes | 1.13 (0.86–1.47) | 0.384 | 1.34 (1.02–1.77) | 0.036 | 2.01 (1.27–3.19) | 0.003 |
| Q166_2: Delegate union | ||||||
| Do not | 13 | 13 | 13 | |||
| Yes | 0.94 (0.71–1.25) | 0.661 | 1.24 (0.93–1.65) | 0.136 | 0.75 (0.46–1.22) | 0.246 |
| Q166_3: D. Prevention | ||||||
| Do not | 13 | 13 | 13 | |||
| Yes | 0.97 (0.77–1.21) | 0.791 | 0.94 (0.75–1.19) | 0.605 | 0.83 (0.54–1.26) | 0.376 |
| Q166_4: Safety Committee | ||||||
| Do not | 13 | 13 | 13 | |||
| Yes | 1.08 (0.81–1.44) | 0.609 | 1.24 (0.93–1.66) | 0.142 | 1.57 (0.97–2.54) | 0.067 |
| Q165: Inspection Visits | ||||||
| Do not | 13 | 13 | 13 | |||
| Yes | 1.01 (0.83–1.23) | 0.900 | 1.91 (1.56–2.33) | 0.000 | 2.02 (1.41–2.90) | 0.000 |
| Economic sector | ||||||
| Health | 13 | 13 | 13 | |||
| farming | 1.08 (0.66–1.77) | 0.754 | 1.21 (0.72–2.05) | 0.469 | 1.06 (0.36–3.10) | 0.913 |
| Building | 1.43 (0.94–2.17) | 0.092 | 1.27 (0.81–2.00) | 0.298 | 2.03 (0.92–4.47) | 0.078 |
| Industry | 1.26 (0.85–1.87) | 0.256 | 1.35 (0.88–2.07) | 0.165 | 1.55 (0.71–3.37) | 0.270 |
| Commerce | 0.90 (0.65–1.25) | 0.540 | 1.14 (0.80–1.62) | 0.477 | 1.36 (0.70–2.62) | 0.361 |
| Administration | 1.03 (0.73–1.45) | 0.889 | 1.06 (0.72–1.55) | 0.787 | 1.73 (0.87–3.43) | 0.118 |
| Public | 1.34 (0.77–2.33) | 0.296 | 1.42 (0.79–2.56) | 0.237 | 1.72 (0.63–4.74) | 0.292 |
| Workplace size | ||||||
| 250 or more | 13 | 13 | 13 | |||
| 50–249 | 0.64 (0.18–2.30) | 0.498 | 0.57 (0.17–1.88) | 0.355 | 0.43 (0.09–2.04) | 0.289 |
| 10–49 | 0.39 (0.11–1.36) | 0.138 | 0.22 (0.07–0.71) | 0.012 | 0.19 (0.04–0.89) | 0.035 |
| 09.06 | 0.25 (0.07–0.88) | 0.031 | 0.34 (0.07–0.79) | 0.019 | 0.15 (0.03–0.71) | 0.017 |
| Chi squared | 389.705 | 0.000 | ||||
| Cox and Snell R2 | 0.119 | |||||
| R2 Nagelkerke | 0.133 | |||||
| Population | 3.162 | |||||
| Number of valid cases and percentage | 2916 (92.2%) | |||||
© 2020 by the author. Licensee MDPI, Basel, Switzerland. This article is an open access article distributed under the terms and conditions of the Creative Commons Attribution (CC BY) license (http://creativecommons.org/licenses/by/4.0/).
Share and Cite
Payá Castiblanque, R. The Impact of the Direct Participation of Workers on the Rates of Absenteeism in the Spanish Labor Environment. Int. J. Environ. Res. Public Health 2020, 17, 2477. https://doi.org/10.3390/ijerph17072477
Payá Castiblanque R. The Impact of the Direct Participation of Workers on the Rates of Absenteeism in the Spanish Labor Environment. International Journal of Environmental Research and Public Health. 2020; 17(7):2477. https://doi.org/10.3390/ijerph17072477
Chicago/Turabian StylePayá Castiblanque, Raúl. 2020. "The Impact of the Direct Participation of Workers on the Rates of Absenteeism in the Spanish Labor Environment" International Journal of Environmental Research and Public Health 17, no. 7: 2477. https://doi.org/10.3390/ijerph17072477
APA StylePayá Castiblanque, R. (2020). The Impact of the Direct Participation of Workers on the Rates of Absenteeism in the Spanish Labor Environment. International Journal of Environmental Research and Public Health, 17(7), 2477. https://doi.org/10.3390/ijerph17072477

