A Method to Measure Positron Beam Polarization Using Optically Polarized Atoms
Abstract
1. Introduction
2. Method
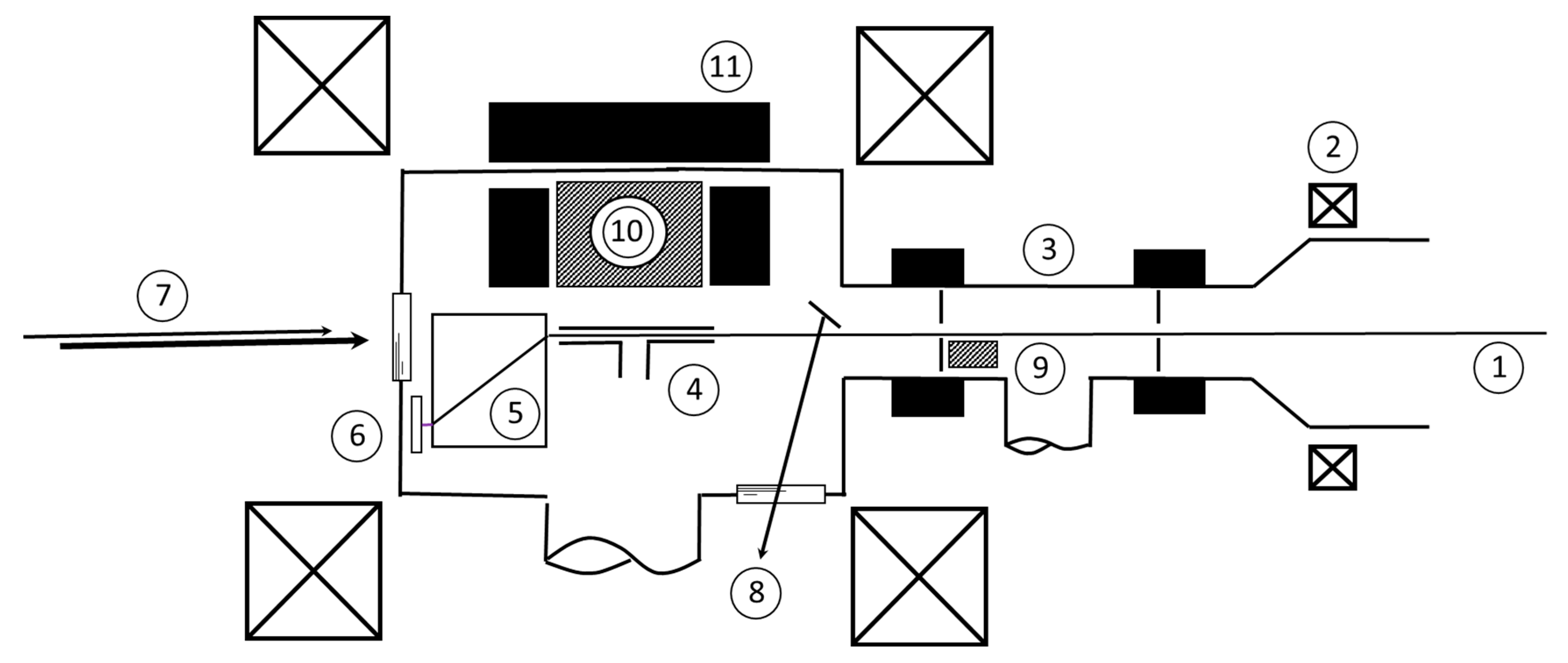
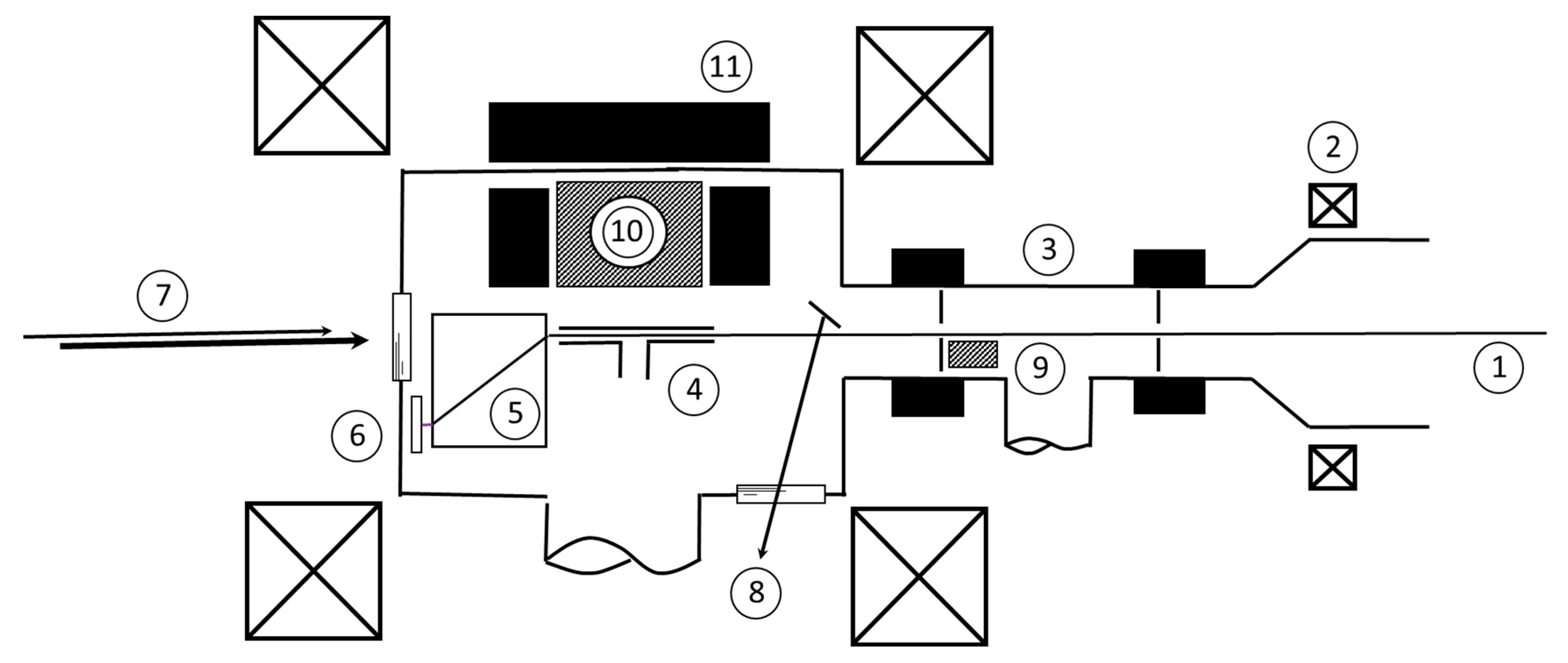
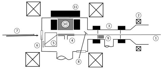
3. Proposed Apparatus
4. Collisional Considerations
5. Timing and Polarimetric Efficiency
6. Discussion
7. Conclusions
Author Contributions
Funding
Institutional Review Board Statement
Informed Consent Statement
Data Availability Statement
Conflicts of Interest
References
- Maekawa, M.; Fukaya, Y.; Yabuuchi, A.; Mochizuki, I.; Kawasuso, A. Development of Spin Polarized Slow Positron Beam Using a 68Ge—68Ga Positron Source. Nucl. Instrum. Methods Phys. Res. Sect. B Beam Interact. Mater. At. 2013, 308, 9–14. [Google Scholar] [CrossRef]
- Wada, K.; Miyashita, A.; Maekawa, M.; Sakai, S.; Kawasuso, A. Spin Polarized Positron Beams with 22Na and 68Ge and Their Applications to Materials Research. AIP Conf. Proc. 2018, 1970, 040001. [Google Scholar]
- Maekawa, M.; Miyashita, A.; Sakai, S.; Li, S.; Entani, S.; Kawasuso, A. Spin-Polarized Positronium Time-of-Flight Spectroscopy for Probing Spin-Polarized Surface Electronic States. Phys. Rev. Lett. 2021, 126, 186401. [Google Scholar] [CrossRef] [PubMed]
- Mills, A.P. Proposal for a Slow Positron Facility at Jefferson Laboratory. AIP Conf. Proc. 2018, 1970, 040002. [Google Scholar]
- Cortese, E.; Cassidy, D.B.; de Liberato, S. Positronium Density Measurements Using Polaritonic Effects. arXiv 2022, arXiv:2210.09875v1. [Google Scholar] [CrossRef]
- Cassidy, D.B.; Mills, A.P. Enhanced Ps-Ps Interactions due to Quantum Confinement. Phys. Rev. Lett. 2011, 107, 213401. [Google Scholar] [CrossRef]
- Mills, A.P. Possible Experiments with High Density Positronium. AIP Conf. Proc. 2019, 2182, 030001. [Google Scholar]
- Rich, A. Recent Experimental Advances in Positronium Research. Rev. Mod. Phys. 1981, 53, 127–165. [Google Scholar] [CrossRef]
- Perkins, D.H. Introduction to High Energy Physics, 3rd ed.; Addison Wesley: Menlo Park, CA, USA, 1987; Section 7.5. [Google Scholar]
- Major, J. Positron Beams and Their Applications; Coleman, P.G., Ed.; World Scientific: Singapore, 2000; Chapter 9. [Google Scholar]
- Charlton, M.; Humberston, J.W. Positron Physics; Cambridge University Press: Cambridge, UK, 2001. [Google Scholar]
- Massey, H.S.W. The Elastic Scattering of Fast Positrons by Heavy Nuclei. Proc. Roy. Soc. A 1942, 181, 14–19. [Google Scholar]
- Van Klinken, J.; Venema, W.Z.; Wichers, V.A. A Fourfold Bhabha/Moller Polarimeter for Positrons/Electrons. Nucl. Instrum. Methods Phys. Res. Sect. A Accel. Spectrometers Detect. Assoc. Equip. 1990, 286, 202–213. [Google Scholar] [CrossRef]
- Charlton, M. Experimental Studies of Positrons Scattering in Gases. Rep. Prog. Phys. 1985, 48, 737–793. [Google Scholar] [CrossRef]
- Hanna, S.S.; Preston, R.S. Positron Polarization Demonstrated by Annihilation in Magnetized Iron. Phys. Rev. 1957, 106, 1363–1364. [Google Scholar] [CrossRef]
- Nagashima, Y.; Hyodo, T. Effects of Positron Spin Polarization on Orthopositronium and Parapositronium formation in a magnetic field. Phys. Rev. B 1990, 7, 3937–3942. [Google Scholar] [CrossRef] [PubMed]
- Page, L.A.; Heinberg, M. Measurement of the Longitudinal Polarization of Positrons Emitted by Sodium-22. Phys. Rev. 1957, 106, 1220–1224. [Google Scholar] [CrossRef]
- Telegdi, V.; Grodzins, L. Measurement of Helicity. Prog. Nucl. Phys. 1959, 7, 165–241. [Google Scholar]
- Lundby, A. Weak interactions: Experiments on parity, charge conjugation and time reversal symmetries. Prog. Elem. Part. Cosm. Ray Phys. 1960, 5, 1–96. [Google Scholar]
- Dick, L.; Feuvrais, L.; Madansky, L.; Telegdi, V.L. A Novel Efficient Method for Measuring the Polarization of Positrons. Phys. Lett. 1963, 3, 326–329. [Google Scholar] [CrossRef]
- Bisi, A.; Fiorentini, A.; Gatti, E.; Zappa, L. Magnetic Quenching of Positronium in Solids and Positron Helicity. Phys. Rev. 1962, 128, 2195–2199. [Google Scholar] [CrossRef]
- Gerber, G.; Newman, D.; Rich, A.; Sweetman, E. Precision Measurement of Positron Polarization in 68Ga Decay based on the Use of a New Positron Polarimeter. Phys. Rev. D 1977, 15, 1189–1193. [Google Scholar] [CrossRef]
- Zitzewitz, P.W.; Van House, J.C.; Rich, A.; Gidley, D.W. Spin Polarization of Low Energy Positron Beams. Phys. Rev. Lett. 1979, 43, 1281–1284. [Google Scholar] [CrossRef]
- Skalsey, M.; Girard, T.A.; Newman, D.; Rich, A. New Method for Precision Polarimtry: First Results and Future Applications. Phys. Rev. Lett. 1982, 49, 708–711. [Google Scholar] [CrossRef]
- Kumita, T.; Chiba, M.; Hamatsu, R.; Hirose, M.; Hirose, T.; Irako, M.; Kawasaki, N.; Yang, J. Design of a Polarimter for Slow e+ Beams. Nucl. Instrum. Methods Phys. Res. Sect. A Accel. Spectrometers Detect. Assoc. Equip. 2000, 440, 172–180. [Google Scholar] [CrossRef]
- Cassidy, D.B.; Meligne, V.E.; Mills, A.P. Production of a Fully Spin-Polarized Ensemble of Positronium Atoms. Phys. Rev. Lett. 2010, 104, 173401. [Google Scholar] [CrossRef] [PubMed]
- Murphy, T.; Surko, C.M. Positron Trapping in an Electrostatic Well by Inelastic Collisions with Nitrogen Molecules. Phys. Rev. A 1992, 46, 5696–5705. [Google Scholar] [CrossRef] [PubMed]
- Happer, W. Optical Pumping. Rev. Mod. Phys. 1972, 44, 169–249. [Google Scholar] [CrossRef]
- Pirbhai, M.; Knepper, J.; Litaker, E.T.; Tupa, D.; Gay, T.J. Optically Pumped Spin-Exchange Polarized Electron Source. Phys. Rev. A 2013, 88, 60701. [Google Scholar] [CrossRef]
- Tupa, D.; Anderson, L.W.; Huber, D.L.; Lawler, J.E. Effect of Radiation Trapping on the Polarization of an Optically Pumped Alkali-Metal Vapor. Phys. Rev. 1986, A33, 1045–1051. [Google Scholar] [CrossRef]
- Tupa, D.; Anderson, L.W. Effect of Radiation Trapping on the Polarization of an Optically Pumped Alkali-Metal Vapor in a Weak Magnetic Field. Phys. Rev. A 1987, 36, 2142–2147. [Google Scholar] [CrossRef]
- Wu, W.; Kitano, M.; Happer, W.; Hou, M.; Daniels, J. Optical Determination of Alkali Metal Vapor Number Density Using Faraday Rotation. Appl. Opt. 1986, 25, 4483–4492. [Google Scholar] [CrossRef]
- Young, J.A.; Surko, C.M. Charged Particle Motion in Spatially Varying Electric and Magnetic Fields. Nucl. Instrum. Methods Phys. Res. Sect. B Beam Interact. Mater. At. 2006, 247, 147–154. [Google Scholar] [CrossRef]
- Greaves, R.G.; Moxom, J.M. Compression of Trapped Positrons in a Single Particle Regime by a Rotating Electric Field. Phys. Plasmas 2008, 15, 072304. [Google Scholar] [CrossRef]
- Deller, A.; Mortensen, T.; Isaac, C.A.; van der Werf, D.P.; Charlton, M. Radially Selective Inward Transport of Positrons in a Penning-Malmberg Trap. New J. Phys. 2014, 16, 073028. [Google Scholar] [CrossRef]
- Rosenberry, M.A.; Reyes, J.P.; Tupa, D.; Gay, T.J. Radiation Trapping in Rubidium Optical Pumping at Low Buffer-Gas Pressures. Phys. Rev. A 2007, 75, 023401. [Google Scholar] [CrossRef]
- Oro, D.M.; Lin, Q.; Soletsky, P.A.; Zhang, X.; Dunning, F.B.; Walters, G.K. Absolute Calibration of a Mott Polarimeter Using Surface Penning Ionization. Rev. Sci. Instrum. 1992, 63, 3519–3520. [Google Scholar] [CrossRef]
- Roy, D. Characteristics of the Trochoidal Monochromator by Calculation of Electron Energy Distribution. Rev. Sci. Instrum. 1972, 43, 535–541. [Google Scholar] [CrossRef]
- El-Gamal, H.; Negm, H.; Hasabelnaby, M.J. Detection Efficiency of NaI(Tl) Detector Based on the Fabricated Calibration of HPGe Detector. Rad. Res. Appl. Sci. 2019, 12, 360–366. [Google Scholar] [CrossRef]
- Machacek, J.R.; McTaggart, S.; Burggraf, L.W. Single-shot positron annihilation lifetime spectroscopy using a liquid scintillator. AIP Adv. 2021, 11, 055223. [Google Scholar] [CrossRef]
- Alonso, A.M.; Cooper, B.S.; Deller, A.; Cassidy, D.B. Single-shot positron annihilation lifetime spectroscopy with LYSO scintillators. Nucl. Instrum. Methods Phys. Res. Sect. A Accel. Spectrometers Detect. Assoc. Equip. 2016, 828, 163–169. [Google Scholar] [CrossRef]
- Ratnavelu, K.; Brunger, M.J.; Buckman, S.J. Recommended Positron Scattering Cross Sections for Atomic Systems. J. Phys. Chem. Ref. Data 2019, 48, 023102. [Google Scholar] [CrossRef]
- Cassidy, D.B. Experimental Progress in Positronium Laser Physics. Eur. Phys. J. D 2018, 72, 53. [Google Scholar] [CrossRef]
- Kernoghan, A.A.; McAlinden, M.T.; Walters, H.R.J. Positron Scattering by Rubidium and Caesium. J. Phys. B 1996, 29, 3971–3988. [Google Scholar] [CrossRef]
- Surdutovich, A.; Jiang, J.; Kauppila, W.E.; Kwan, C.K.; Stein, T.S.; Zhou, S. Measurement of Positronium Formation Cross Sections for Positrons Scattered by Rb Atoms. Phys. Rev. A 1996, 53, 2861–2864. [Google Scholar] [CrossRef]
- Kessler, J. Polarized Electrons, 2nd ed.; Springer: Berlin/Heidelberg, Germany, 1986. [Google Scholar]
- Ahrendsen, K.J.; Brunner, W.J.; Gay, T.J. Studies of Collision Dynamics in Rb Spin-Exchange Cells. Bull. Am. Phys. Soc. 2019, 64, E01.00020. [Google Scholar]
- Radwell, N.; Walker, G.; Franke-Arnold, S. Cold Atom Densities of More Than 1012 cm-3 in a Holographically Shaped Dark Spontaneous-Force Optical Trap. Phys. Rev. A 2013, 88, 043409. [Google Scholar] [CrossRef]
- Dedman, C.J.; Baldwin, K.G.H.; Colla, M. Fast Switching of Magnetic Fields in a Magneto Optic Trap. Rev. Sci. Instrum. 2001, 72, 4055–4058. [Google Scholar] [CrossRef]


| Target Spin | Beam Spin | Configuration Probability | Relative o-Ps Production | Relative p-Ps Production |
|---|---|---|---|---|
| + | + | ) | 1 | 0 |
| + | − | ) | 1/2 | 1/2 |
| − | + | ) | 1/2 | 1/2 |
| − | − | ) | 1 | 0 |
Disclaimer/Publisher’s Note: The statements, opinions and data contained in all publications are solely those of the individual author(s) and contributor(s) and not of MDPI and/or the editor(s). MDPI and/or the editor(s) disclaim responsibility for any injury to people or property resulting from any ideas, methods, instructions or products referred to in the content. |
© 2023 by the authors. Licensee MDPI, Basel, Switzerland. This article is an open access article distributed under the terms and conditions of the Creative Commons Attribution (CC BY) license (https://creativecommons.org/licenses/by/4.0/).
Share and Cite
Machacek, J.R.; Hodgman, S.; Buckman, S.; Gay, T.J. A Method to Measure Positron Beam Polarization Using Optically Polarized Atoms. Atoms 2023, 11, 65. https://doi.org/10.3390/atoms11040065
Machacek JR, Hodgman S, Buckman S, Gay TJ. A Method to Measure Positron Beam Polarization Using Optically Polarized Atoms. Atoms. 2023; 11(4):65. https://doi.org/10.3390/atoms11040065
Chicago/Turabian StyleMachacek, Joshua R., Sean Hodgman, Stephen Buckman, and T. J. Gay. 2023. "A Method to Measure Positron Beam Polarization Using Optically Polarized Atoms" Atoms 11, no. 4: 65. https://doi.org/10.3390/atoms11040065
APA StyleMachacek, J. R., Hodgman, S., Buckman, S., & Gay, T. J. (2023). A Method to Measure Positron Beam Polarization Using Optically Polarized Atoms. Atoms, 11(4), 65. https://doi.org/10.3390/atoms11040065

