Next Article in Journal
Initial Deformation Behaviors in Lean Duplex Stainless Steel
Next Article in Special Issue
The Effect of Al-Mg-Si Wire Rod Heat Treatment on Its Electrical Conductivity and Strength
Previous Article in Journal
Recent Progress in Transient Liquid Phase and Wire Bonding Technologies for Power Electronics
Previous Article in Special Issue
Recycling of Titanium Alloy Powders and Swarf through Continuous Extrusion (ConformTM) into Affordable Wire for Additive Manufacturing
 
 
Font Type:
Arial Georgia Verdana
Font Size:
Aa Aa Aa
Line Spacing:
Column Width:
Background:
Article

The Influence of Quench Interruption and Direct Artificial Aging on the Hardening Response in AA6082 during Hot Deformation and In-Die Quenching

SINTEF Manufacturing AS, Enggata 40, 2830 Raufoss, Norway
*
Author to whom correspondence should be addressed.
Metals 2020, 10(7), 935; https://doi.org/10.3390/met10070935
Submission received: 19 June 2020 / Revised: 6 July 2020 / Accepted: 8 July 2020 / Published: 11 July 2020
(This article belongs to the Special Issue Selected Papers from LightMat 2019)

Abstract

The automotive industry is searching for lightweight solutions to meet emission regulations. Development of an integrated hot forming and in-die quenching process will leverage use of age-hardenable aluminum alloys with high specific strength for applications in volume car manufacturing. Quench interruption and direct artificial aging may reduce the cycle time in a die-quenching process. However, this alters the temperature exposure of the part and results in an altered precipitation and clustering sequence during hardening. To investigate the effect of modified precipitation and clustering on mechanical properties, the process has been simulated by application of a water-cooled compression tool to control the combination of a temperature drop and simultaneous deformation prior to aging. Extruded 4.6 mm thick AA6082 profiles were deformed during different quenching rates and directly transferred to subsequent artificial aging from various temperatures between room temperature and 200 °C. The results indicate insignificant changes of strength and elongation after direct aging from 200 °C compared to specimens cooled to room temperature before aging.

1. Introduction

By replacing steel parts in cars with aluminum components, the total weight of a vehicle can be significantly reduced. Conventional production of car parts by forging results in large volume products; however, the same performance and strength can be obtained by sheet forming resulting in smaller volume of the part. The current method for sheet forming involves unfortunate phenomena such as spring-back, reduced geometrical tolerances, and limited formability. Additionally, many production steps and several operations are required, making this an expensive method. A new method for hot forming and in-die quenching (HFQ) has been developed, eliminating the unwanted effects of cold sheet forming [1,2,3,4,5]. The method provides a more efficient and cost-effective solution for production of aluminum components for automotive applications. The method is initially applied on high-strength steel to produce lightweight components for the automotive industry [6].
The sheet is solution heat treated and brought directly to the press for simultaneous deformation and quenching. A well-established hardening procedure includes natural aging by room temperature storage for several hours, or even days, before artificial aging for a few hours at an elevated temperature. It has been found that for alloys containing more than 1% solute and a Si/Mg ratio larger than 1, the clusters formed during the storage period have a negative effect on the subsequent precipitation during natural aging due to formation of clusters that do not provide any strength [7,8,9]. Additionally, it has been suggested that step quenching, or reduced quenching rate from intermediate temperatures, might provide nucleation sites for strengthening precipitates, which can result in improved final properties of the product [10].
Step quenching, or interrupted quenching at elevated temperatures, is suggested as the cooling rate slows down in the lower temperature range, 100–25 °C, during in-die quenching. The closed-die time can be reduced by several seconds if the quenching can be interrupted at a temperature below 200 °C. The quench sensitivity is, therefore, investigated in this work.
At temperatures above 250 °C, precipitation of β and β’ occurs, while GP-zones and β’’ phase are formed at lower temperatures, below 250 °C [11]. The Mg2Si precipitates formed at high temperatures are coarse and rod-shaped, i.e., the β and β’ phases are typically much larger in size than the β’’ phase [11,12]. As the amount of precipitation is increased during cooling, the hardening potential is reduced as precipitated solute will be unavailable for further precipitation reactions. The precipitates formed during slow cooling in the high-temperature region are coarse and do not provide any strength contribution [13]. Gao, M., et al. [14] and Shang, B.C., et al. [15] investigated the quench sensitivity and obtained time-temperature-property (TTP) curves of AA6082. Both found that the alloy has a critical temperature (nose) between 320–400 °C after 10 s. The results indicate that a quenching rate where the nose is reached within 10 s will have small effects on the mechanical properties of the material. Hence, slow cooling from 200 °C might not cause precipitation of unfavorable precipitates.
In this work, the new method has been simulated by small-scale laboratory experiments, where the theories and findings presented in the above section were implemented. Samples were solution heat treated in an air circulation furnace before being brought directly to a flat pressing tool for quenching and deformation. The quenching was interrupted at selected temperatures, where some samples were brought directly to an oil bath for natural aging, and some were air cooled to room temperature and naturally aged before artificial aging.

2. Materials and Methods

The experiments were performed on a 4.6 mm flat extruded profile of AA6082 with the composition given in Table 1. The test set-up included solution heat treatment (SHT) in an air circulation furnace, deformation in a flat pressing tool attached to an MTS 311–1000 kN hydraulic-driven press, and artificial aging in an oil bath. The pressing tool was designed and built by AP&T. A thermocouple was attached to the center of the sample during solution heat treatment and quenching for temperature surveillance and control. During initial screening experiments, thermocouples were attached as close to the surface as possible to check for any inhomogeneities in temperature through the sample cross-section during cooling. The difference in the center and surface was considered insignificant in this context, as the cooling rate was equal, and the temperature at quench interruption was separated by less than 1 °C. Lubrication was sprayed on to the tool surfaces in a thin layer, and the tool was water cooled through built-in water channels shortly before starting the press. The sample was placed on spikes standing on springs with the purpose of holding the sample a certain distance above the tool surface to avoid cooling from the tool before and after deformation. The sample dimensions and tool are shown in Figure 1.
The sample was solution heat treated in an air circulation furnace for 30 min at 540 °C before it was brought out of the oven and placed on top of the spikes. The press was started, and simultaneous deformation and quenching of the samples was conducted. For the samples being directly brought to artificial aging, the press was opened automatically as the sample reached the predetermined temperature. Finally, the sample was removed from the spikes and lowered into the pre-heated oil bath for artificial aging for 3 h at 190 °C. This part of the procedure is illustrated in Figure 2. For the samples stored at room temperature (RT) for 30 min, the press was automatically opened as the sample reached the predetermined temperature. It was left on the spikes allowing further cooling in air exposure. After 30 min, the sample was lowered into the oil bath for artificial aging for 3 h at 190 °C. This part of the procedure is illustrated in Figure 3. For the samples cooled to room temperature, the press was opened manually as the sample reached a temperature of 30–40 °C and was either stored at room temperature for 30 min or brought directly to the oil bath for artificial aging. After artificial aging, the samples were brought out of the oil bath and quenched in water before being washed and cleaned to remove any remains of oil and lubricant.
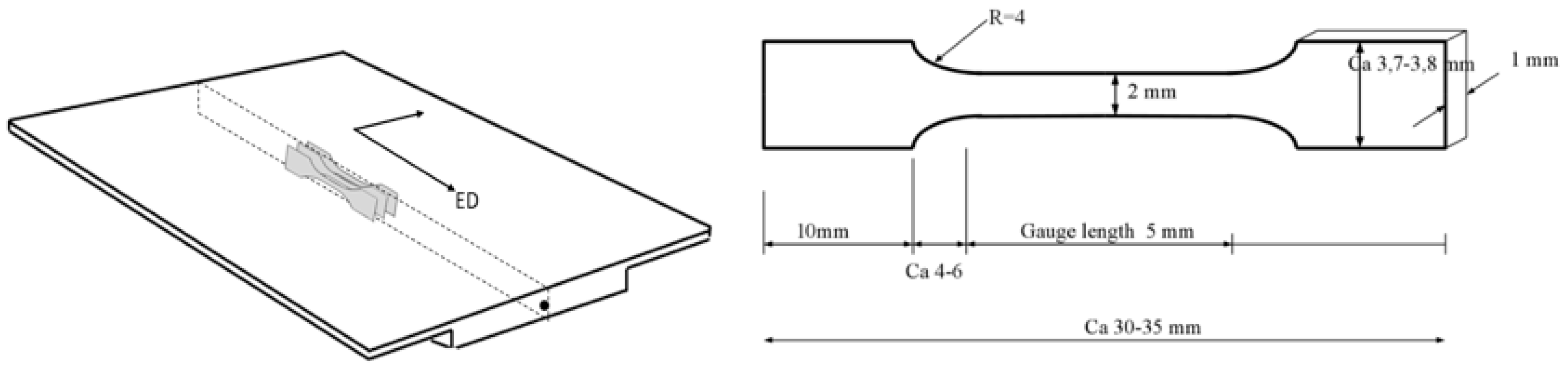
Three parallel samples were tested per condition. After the deformation trials, Vickers hardness (HV5) was measured, and micro tensile specimens were obtained for tensile testing. Ten indentations per sample were measured for Vickers hardness, and three tensile specimens were obtained per sample. Thus, 30 hardness measurements and 9 tensile tests were performed per case. The tensile specimens were obtained, as illustrated in Figure 4, together with tensile specimen dimensions.

3. Results

The results from the hardness measurements are plotted as average Vickers hardness in Figure 5 with standard deviations as error bars. HV5 in the T6 condition for the alloy and heat treatment used in these experiments without deformation was measured to 113. The reference samples quenched to room temperature had the highest average hardness of the samples being directly artificially aged. From the error bars, one can observe that there was an overlap of the direct artificial aging samples and the samples stored at room temperature for 30 min. As for the quench interruption experiments, the samples being quenched to 70 and 100 °C and stored at room temperature had the highest hardness. There was some overlap between these and the samples being directly artificially aged. The differences in these cases were the most significant. For the samples being quenched to 150 and 200 °C, direct artificial aging samples had the highest hardness. However, there was a significant overlap with the samples stored at room temperature, and the differences in average hardness were small.
Overall, the effect of direct artificial aging does not seem to be significantly beneficial regarding these results. The samples being deformed and quenched to room temperature obtained higher hardness than the samples being quench interrupted.
Figure 6 shows representative stress–strain curves for the quench interruption experiments in the cases of both direct artificial aging and room temperature storage. The yield strength in the T6 condition for this alloy without deformation was measured to 320 MPa. In contrast to the hardness results, the reference samples being quenched to room temperature showed intermediate to low strength in relation to the others. The samples being quenched to 70 °C before storage at room temperature had the highest strength, followed by the samples being quenched to 100 °C before direct artificial aging or room temperature storage. The samples with the lowest strength were those quenched to 70 °C before direct artificial aging. Figure 7 shows the average yield strength with standard deviations for the quench interruption experiments. The samples quenched to 70 °C and stored at room temperature had the highest yield strength, while the samples quenched to the same temperature before direct artificial aging had the lowest yield strength. The difference in average yield strength between the directly artificially aged samples and the room temperature stored samples was small for those quenched to 25, 100, and 150 °C. There was a large standard deviation of the samples quenched to 200 °C and directly artificially aged.
Figure 8 shows the fracture elongation from the tensile tests. The highest fracture elongation was achieved by quench interruption at 150 °C and room temperature storage before artificial aging. For the samples being directly artificially aged, the fracture elongation was the highest for the samples quench interrupted at 70 °C. Large scattering was observed in several cases: 70 °C RTS, 100 °C DAA, and 200 °C RTS and DAA.
The results from the quench interruption experiments indicated that there were no detrimental effects on either hardness or strength after quench interruption at elevated temperatures. The hardness was highest for the samples quenched to room temperature before direct artificial aging or room temperature storage. The yield and tensile strengths were highest for the samples being quench interrupted at 70 °C before room temperature storage and artificial aging. As for the aging sequence, there were no significant differences between direct artificial aging and room temperature storage. However, for the samples quench interrupted at 70 °C, there was a severe strength difference between the samples being directly artificially aged and those being stored at room temperature.

4. Discussion

Figure 9 shows the average hardness and yield strength with standard deviations for the samples being quench interrupted at different temperatures before direct artificial aging or room temperature storage. An HFQ process would commonly be carried out by deformation and quenching to room temperature from solution heat treatment before natural aging and artificial aging. The yield strength results propose that introducing direct artificial aging and quench interruption at temperatures lower than 200 °C should not be disadvantageous to the final strength of the material. However, there is one exception to this statement. The samples quench interrupted at 70 °C before direct artificial aging show a significantly lower strength than the others—a difference in average yield strength of approximately 35 MPa compared to those being stored at room temperature. The results are quite unambiguous as the deviations are low, and there is no overlap.
The reason why the difference in strength between direct artificial aging and room temperature storage after quench interruption at 70 °C is so prominent in this case compared to the others is difficult to explain without more comprehensive investigations. One possible theory concerning the high strength of the room temperature storage sample might be formation of clusters occurring during air cooling to room temperature. The slow cooling rate from 70 °C can possibly be compared to the study done by Yamada, K. et al. [10] where step quenching, i.e., interrupted quenching and holding time at an elevated temperature, promoted the formation of Mg-Si-vacancy clusters that act as nucleation sites for β” precipitates. These experiments also included natural aging before artificial aging. The slow cooling from quench interruption at 70 °C might have been sufficient for formation of these clusters. As for the samples being artificially aged directly after quench interruption at 70 °C, the significantly low strength differs from the other cases of direct artificial aging after quench interruption. This makes it difficult to find a reasonable explanation, as it would be arguable that the same effect should have been seen for the samples being quench interrupted at, for example, 100 °C before direct artificial aging. For the samples being quench interrupted at 70 °C and directly artificially aged, the distinct parameter is the temperature at which the quenching was interrupted in combination with direct artificial aging. The clusters that possibly form during air cooling did not form when the sample was directly heated to artificial aging temperature; i.e., the clustering must have been suppressed as the time was not sufficient for these to form. Thus, the vacancies will not be occupied by these clusters, and neither are they quenched at room temperature. A possible reason for the strength reduction may, therefore, be a significant reduction in number of vacancies for subsequent clustering of nucleation sites. The vacancies might have been lost during the exposure to elevated temperatures, i.e., 70 °C at quench interruption and direct heating to 190 °C. However, Transmission Electron Microscopy (TEM) investigations are necessary to investigate these hypotheses.
No significant change in mechanical properties can be deduced from the results after slow cooling from quench interruption at higher temperatures. This may indicate that little precipitation occurs during slow cooling from temperatures below 200 °C, as was previously addressed in Section 1. Considering the compressed scale in the result plots and the inherent uncertainties in mechanical testing, the small differences that can be observed should not be severe in an industrial context.
The hardness results and the tensile test results conflict with each other for the quench interruption temperatures of 70 °C and 200 °C and direct artificial aging. This deviation cannot possibly be explained by the material properties or fundamentals, as the tensile tests and hardness measurements have been done on the exact same samples. Instead, one might have to evaluate the mechanical test conditions of the tensile testing and the hardness measurements. Due to the dimensions of the deformation samples and the thickness of the profile, the tensile specimens were so small that minor defects on the sample surface or mounting of the samples might cause consequences for the test results. Any conclusions of the material response in these cases cannot be drawn, as the hardness results do not support the tensile results. Additionally, the spread in fracture elongation is large in these two cases, which also supports the unreliability of the results. New tests for these conditions should be performed to confirm or disprove the deviating results.
In summary, quench interruption temperatures below 200 °C after deformation are, according to the tensile test results, beneficial to the final strength of the product. Direct artificial aging may also be introduced to the process, as it would not be detrimental to the properties, except in the case of quench interruption at 70 °C. The results suggest that an increase in efficiency in the industrial HFQ process is possible by reducing the closed-die time and skipping room temperature storage without inflicting negative effects on the final product properties.
The experiments are intended to be of relevance for the industrial production of aluminum components produced by press form hardening of sheets in 6000-series alloy for car applications. The most obvious differences between the experiments conducted in a laboratory and industrial production are the increased material volume and more extensive tooling resulting in different cooling rates and temperature distributions through the material and the tool, in addition to time consumption and limitations. However, the results should provide a sufficient indication of the material behavior under similar conditions and show the essence of the effects of the different treatments on the material properties as would be seen on an increased scale.
The quench interruption experiments are intended to give an indication of the possibilities and limitations of reduced closed-die time. Even if the time required to quench larger parts is longer in an industrial context, the effect of temperature to which the parts are quenched before air cooling or direct artificial aging should be quite similar to these experiments. A reduction of closed-die time may spare a few seconds in the production for each component and result in reduced cycle time.
The effect of direct artificial aging investigated in this project should also be of relevance to the industry. The storage period in the industry is a bottleneck in the production line of car components. If the room temperature storage period can be avoided without sacrificing strength and hardness, significant time can be spared, that is, several minutes or hours per part produced. This may provide large reductions in production costs and increased production efficiency. Additionally, storage space would not be necessary for natural aging.

5. Conclusions

Quench interruption at 70 °C and 200 °C and direct artificial aging showed deviating hardness and tensile test results and cannot support any arguments of the hardening response. Therefore, these cases are not evaluated in the following conclusions as further investigations must be performed.
Quench interruption: Quench interruption at temperatures above 70 °C did not affect the material properties in a negative manner. The resulting mechanical properties were comparable to those achieved by quenching to room temperature.
Direct artificial aging: Skipping room temperature storage did not have detrimental effects on the mechanical properties of the product.
The precipitation sequence may have been altered; however, for the test parameters used in this research, the precipitation sequence provided satisfying strength and ductility in the final state of the material.
The combination of quench interruption and direct artificial aging resulted in satisfying mechanical properties.
By implementing quench interruption and direct artificial aging in the production process, the cycle time can be significantly reduced. Therefore, production of high-strength aluminum car components can be made more efficient without compromising the product properties.

Author Contributions

Conceptualization, O.J. and K.E.S.; Investigation, B.M.; Methodology, B.M.; Project administration, K.E.S.; Supervision, O.J. and K.E.S.; Writing—original draft, B.M. All authors have read and agreed to the published version of the manuscript.

Funding

This research has been carried out as a part of the Norwegian Research Council (NRC) funded BIA-IPN projects iPAl and SUFICCS. The projects include the following partners: Raufoss Technology AS, Hydro Aluminium AS, TDG AS, AP&T, SINTEF Manufacturing, and SINTEF Industry.

Acknowledgments

The experiments were carried out at the Institute of Materials and Engineering at NTNU Trondheim.

Conflicts of Interest

The authors declare no conflicts of interest.

References

  1. Jensrud, O.; Snilsberg, K.E.; Kolbu, A. Conceptual Testing of Press Form Hardening of High-Strength Aluminium Alloys; Aluminium Extrusions and Finishing—The International Magazine of the Aluminium Extrusion and Finishing Industry: Florence, Italy, 2016; pp. 16–20. [Google Scholar]
  2. Snilsberg, K.E.; Myrold, B.; Holmedal, B.; Jensrud, O. Direct artificial aging after integrated hot forming and die quenching of AA6082 extrusions. In Proceedings of the ICAA 16 International Conference of Aluminium Alloys, Montreal, QC, Canada, 17–21 June 2018. [Google Scholar]
  3. Neugebauer, R.; Schieck, F.; Polster, S.; Mosel, A.; Rautenstrauch, A.; Schönherr, J.; Pierschel, N. Press hardening—An innovative and challenging technology. Arch. Civ. Mech. Eng. 2012, 12, 113–118. [Google Scholar] [CrossRef]
  4. Tisza, M.; Lukács, Z.; Kovács, P.; Budai, D. Some recent development in sheet metal forming for production of lightweight automotive parts. J. Phys. Conf. Ser. 2017, 896, 012087. [Google Scholar] [CrossRef]
  5. Garrett, R.P.; Lin, J.; Dean, T.A. An investigation of the effects of solution heat treatment on mechanical properties for AA 6XXX alloys; experiments and modelling. Int. J. Plast. 2005, 21, 1640–1657. [Google Scholar] [CrossRef]
  6. Garrett, R.P.; Lin, J.; Dean, T.A. Solution Heat Treatment and Cold Die Quenching in Forming AA 6XXX Sheet Components: Feasibility Study. Adv. Mater. Res. 2005, 6–8, 673–680. [Google Scholar] [CrossRef]
  7. Torsæter, M.; Hasting, H.S.; Lefebvre, W.; Marioara, C.D.; Walmsley, J.C.; Andersen, S.J.; Holmestad, R. The influence of composition and natural aging on clustering during preaging in Al-Mg-Si alloys. J. Appl. Phys. 2010, 108, 073527. [Google Scholar] [CrossRef]
  8. Zhen, L.; Kang, S.B. DSC analyses of the precipitation behaviour of two Al-Mg-Si alloys naturally aged for different times. Mater. Lett. 1998, 37, 349–353. [Google Scholar] [CrossRef]
  9. Marioara, C.D.; Andersen, S.J.; Zandbergen, H.W.; Holmestad, R. The influence of alloy composition on precipitates of the Al-Mg-Si system. Metall. Mater. Trans. A 2005, 36, 691–702. [Google Scholar]
  10. Yamada, K.; Sato, T.; Kamio, A. Effects of quenching conditions on two-step aging behaviour of Al-Mg-Si alloys. Alum. Alloys: Their Phys. Mech. Prop. 2000, 331, 669–674. [Google Scholar]
  11. Li, N.; Zheng, J.; Zhang, C.; Zheng, K.; Lin, J.; Dean, T.A. Investigation on fast and energy-efficient heat treatments of AA6082 in HFQ processes for automotive applications. In Proceedings of the MATEC Web of Conferences, Singapore, 15–16 September 2015. [Google Scholar]
  12. Milkereit, B.; Wanderka, N.; Schick, C.; Kessler, O. Continuous Cooling Precipitation Diagrams of Al-Mg-Si alloys. Mater. Sci. Eng. A 2012, 550, 87–96. [Google Scholar] [CrossRef]
  13. Howard, R.; Bogh, N.; Scott Mackenzie, D. Heat Treating Processes and Equipment, Handbook of Aluminum; CRC Press: Boca Raton, FL, USA, 2003. [Google Scholar]
  14. Gao, M.; Wang, M.; Wen, L.; Li, G. TTP Curves and Microstructural Evolution Mechanisms after Quenching in Aluminum Alloy 6082. Appl. Innov. Met. Alloy. Eng. Mater. 2012, 1, 165–169. [Google Scholar] [CrossRef]
  15. Shang, B.C.; Yin, Z.M.; Wang, G.; Liu, B.; Huang, Z.Q. Investigation of Quench Sensitivity and Transformation Kinetics During Isothermal Treatment in 6082 Aluminum Alloy. Mater. Des. 2011, 32, 3818–3822. [Google Scholar] [CrossRef]
Figure 1. Sample dimensions and tool for deformation experiments.
Figure 1. Sample dimensions and tool for deformation experiments.
Metals 10 00935 g001
Figure 2. Illustration of the integrated hot forming and in-die quenching (HFQ) heat treatment sequence for samples being directly artificially aged.
Figure 2. Illustration of the integrated hot forming and in-die quenching (HFQ) heat treatment sequence for samples being directly artificially aged.
Metals 10 00935 g002
Figure 3. Illustration of the integrated HFQ heat treatment sequence for samples being stored at room temperature before artificial aging.
Figure 3. Illustration of the integrated HFQ heat treatment sequence for samples being stored at room temperature before artificial aging.
Metals 10 00935 g003
Figure 4. Position in the sample from which tensile specimens were obtained (left) and tensile specimen dimensions (right).
Figure 4. Position in the sample from which tensile specimens were obtained (left) and tensile specimen dimensions (right).
Metals 10 00935 g004
Figure 5. The average Vickers hardness for samples being quench interrupted and directly artificially aged (DAA) or stored at room temperature (RTS). The standard deviations are represented by error bars.
Figure 5. The average Vickers hardness for samples being quench interrupted and directly artificially aged (DAA) or stored at room temperature (RTS). The standard deviations are represented by error bars.
Metals 10 00935 g005
Figure 6. Stress–strain curves for samples being quench interrupted at different temperatures before room temperature storage (RTS) and direct artificial aging (DAA).
Figure 6. Stress–strain curves for samples being quench interrupted at different temperatures before room temperature storage (RTS) and direct artificial aging (DAA).
Metals 10 00935 g006
Figure 7. The average yield strength as a function of quench interruption temperature for samples being stored at room temperature or directly artificially aged. Standard deviations are presented by error bars.
Figure 7. The average yield strength as a function of quench interruption temperature for samples being stored at room temperature or directly artificially aged. Standard deviations are presented by error bars.
Metals 10 00935 g007
Figure 8. The fracture elongation as a function of quench interruption temperature for samples being stored at room temperature or directly artificially aged. Standard deviations are presented by error bars.
Figure 8. The fracture elongation as a function of quench interruption temperature for samples being stored at room temperature or directly artificially aged. Standard deviations are presented by error bars.
Metals 10 00935 g008
Figure 9. Average yield strength and average hardness with standard deviations for the samples being quench interrupted at quench interruption temperature before direct artificial aging (DAA) or room temperature storage (RTS).
Figure 9. Average yield strength and average hardness with standard deviations for the samples being quench interrupted at quench interruption temperature before direct artificial aging (DAA) or room temperature storage (RTS).
Metals 10 00935 g009
Table 1. Chemical composition of the extruded profile of AA6082.
Table 1. Chemical composition of the extruded profile of AA6082.
AA6082SiFeCuMnCrMgZn
Wt%0.920.170.010.550.150.640.02

Share and Cite

MDPI and ACS Style

Myrold, B.; Jensrud, O.; Snilsberg, K.E. The Influence of Quench Interruption and Direct Artificial Aging on the Hardening Response in AA6082 during Hot Deformation and In-Die Quenching. Metals 2020, 10, 935. https://doi.org/10.3390/met10070935

AMA Style

Myrold B, Jensrud O, Snilsberg KE. The Influence of Quench Interruption and Direct Artificial Aging on the Hardening Response in AA6082 during Hot Deformation and In-Die Quenching. Metals. 2020; 10(7):935. https://doi.org/10.3390/met10070935

Chicago/Turabian Style

Myrold, Benedikte, Ola Jensrud, and Knut Erik Snilsberg. 2020. "The Influence of Quench Interruption and Direct Artificial Aging on the Hardening Response in AA6082 during Hot Deformation and In-Die Quenching" Metals 10, no. 7: 935. https://doi.org/10.3390/met10070935

APA Style

Myrold, B., Jensrud, O., & Snilsberg, K. E. (2020). The Influence of Quench Interruption and Direct Artificial Aging on the Hardening Response in AA6082 during Hot Deformation and In-Die Quenching. Metals, 10(7), 935. https://doi.org/10.3390/met10070935

Note that from the first issue of 2016, this journal uses article numbers instead of page numbers. See further details here.

Article Metrics

Back to TopTop