-
CO2 Conversion at Reduced Pressure in a Novel Stabilized Arc Discharge for In Situ Oxygen Production on Mars -
Role of CF4 Addition in Gas-Phase Variations in HF Plasma for Cryogenic Etching: Insights from Plasma Simulation and Experimental Correlation -
Low-Current High-Voltage Pulsed Atmospheric Arc Plasma Jet: Nanoparticle Emission from the Cathodic Spot
Journal Description
Plasma
Plasma
is an international, open access, peer-reviewed journal covering all aspects of plasma science, published quarterly online by MDPI.
- Open Access— free for readers, with article processing charges (APC) paid by authors or their institutions.
- High Visibility: indexed within ESCI (Web of Science), Scopus, Inspec, CAPlus / SciFinder, and other databases.
- Rapid Publication: manuscripts are peer-reviewed and a first decision is provided to authors approximately 19.8 days after submission; acceptance to publication is undertaken in 3.4 days (median values for papers published in this journal in the second half of 2025).
- Recognition of Reviewers: reviewers who provide timely, thorough peer-review reports receive vouchers entitling them to a discount on the APC of their next publication in any MDPI journal, in appreciation of the work done.
Impact Factor:
1.7 (2024)
Latest Articles
Underwater Electrical Explosions of Different Metal Wires on the Microsecond Timescale
Plasma 2026, 9(1), 7; https://doi.org/10.3390/plasma9010007 - 11 Feb 2026
Abstract
►
Show Figures
Underwater electrical explosions of single metallic wires driven by microsecond current pulses are investigated and compared with previously reported sub-microsecond experiments. Current and voltage waveforms, streak camera shadow imaging, and one-dimensional hydrodynamic simulations are employed to characterize how the energy density, energy density
[...] Read more.
Underwater electrical explosions of single metallic wires driven by microsecond current pulses are investigated and compared with previously reported sub-microsecond experiments. Current and voltage waveforms, streak camera shadow imaging, and one-dimensional hydrodynamic simulations are employed to characterize how the energy density, energy density deposition rate, and the generated shock waves in water depend on the wire parameters. It was found that, similar to the sub-microsecond timescale, the solid–liquid phase transition occurs later than thermodynamic calculations predicted, while the liquid–vapor phase transition happens sooner than expected, leading to a two-phase coexistence. Additionally, most materials show a notable resistance peak (Ti, Fe, Ni, Zn, Ag, Sn, Ta, Au) compared to a quasi-plateau for Cu and Mo or a continuous increase for Al and Pt. Moreover, the specific action integral values are significantly smaller than those observed in wire explosion experiments in vacuum. Finally, the plasma formed at peak resistive voltage is non-ideal but exhibits lower electron density, ionization degree, and temperature compared to the sub-microsecond case.
Full article
Open AccessArticle
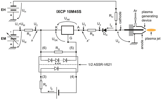
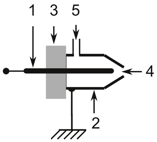
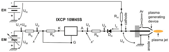
An Atmospheric Plasma Jet Generator Driven by a Current Source
by
Ovidiu S. Stoican
Plasma 2026, 9(1), 6; https://doi.org/10.3390/plasma9010006 - 10 Feb 2026
Abstract
A novel system aiming to electrically supply various cold plasma generators is proposed. It operates as a programmable linear current source which is able to maintain a dc constant discharge current at various discharge voltages required to sustain the plasma jet. Its design
[...] Read more.
A novel system aiming to electrically supply various cold plasma generators is proposed. It operates as a programmable linear current source which is able to maintain a dc constant discharge current at various discharge voltages required to sustain the plasma jet. Its design is based on a specific electronic device called a switchable current regulator, which considerably simplifies the circuit topology. Experimental results carried out in real operating conditions confirm the practical purpose of the proposed solution.
Full article
(This article belongs to the Special Issue Feature Papers in Plasma Sciences 2025)
►▼
Show Figures

Figure 1
Open AccessArticle
Pin-Plane Electrical Discharge Driven by a MOSFET DC Current Source
by
Myles Perry, Sidmar Holoman, Daniel Wozniak and Shirshak Kumar Dhali
Plasma 2026, 9(1), 5; https://doi.org/10.3390/plasma9010005 - 3 Feb 2026
Abstract
The generation of atmospheric pressure nonequilibrium plasma using electrical discharges is an active area of research due to its significance in a wide spectrum of applications including medicine, combustion, and manufacturing. In our attempt to create a helium plasma jet in a pin-plane
[...] Read more.
The generation of atmospheric pressure nonequilibrium plasma using electrical discharges is an active area of research due to its significance in a wide spectrum of applications including medicine, combustion, and manufacturing. In our attempt to create a helium plasma jet in a pin-plane discharge with a constant current source, we observed self-pulsating behavior. We present the results of the electrical, optical, and spectroscopic measurements carried out to characterize the discharge. The duration of the discharge is a few tens of nanoseconds, and the repetition rate is in the few tens of kHz. The effect of the gap distance and gas flow is discussed. The effective capacitance formed by the space charge in the discharge region plays an important role in determining the pulsing frequency. The results of voltage swing, current pulse, and light emission are also discussed. Such self-pulsating discharges can be used to produce helium plasmas under ambient conditions in applications such as plasma medicine.
Full article
(This article belongs to the Special Issue New Insights into Plasma Theory, Modeling and Predictive Simulations)
►▼
Show Figures

Figure 1
Open AccessArticle
Effect of Dielectric Thickness on Filamentary Mode Nanosecond-Pulse Dielectric Barrier Discharge at Low Pressure
by
Anbang Sun, Yulin Guo, Yanru Li and Yifei Zhu
Plasma 2026, 9(1), 4; https://doi.org/10.3390/plasma9010004 - 27 Jan 2026
Abstract
Filamentary mode, as a common phenomenon that appears in dielectric barrier discharge (DBD), is realized by rod-to-rod electrodes in N2-O2 mixtures at 80 mbar. The effects of the dielectric thickness on the characteristics of filamentary DBD are investigated through experiments
[...] Read more.
Filamentary mode, as a common phenomenon that appears in dielectric barrier discharge (DBD), is realized by rod-to-rod electrodes in N2-O2 mixtures at 80 mbar. The effects of the dielectric thickness on the characteristics of filamentary DBD are investigated through experiments and simulations. The discharges are driven by a positive unipolar nanosecond pulse voltage with 15.8 kV amplitude, 9 ns rise time (Tr10–90%), and 14 ns pulse width. The characteristics of filamentary DBD are recorded with an intensified charge-coupled device and a Pearson current probe in the experiment, and a 2D axisymmetric fluid mode is established to analyze the discharge. Surface discharges occur on the anode and cathode dielectric after the breakdown, and the discharge is gradually extinguished as the applied voltage decreases. A thinner total dielectric thickness (Da + Dc) leads to larger currents, stronger discharges, and wider discharge channels. These characteristics are consistent when the total dielectric thickness is the same but anode dielectric thickness and cathode dielectric thickness are different (Da ≠ Dc ≠ 0). If the anode is a metal electrode (Da = 0), the current will be substantially large, and two discharge modes are observed: stable mono-filament discharge mode and random multi-filament discharge mode. It is found in simulations that the dielectric thickness changes the electric field configuration. The electric field is stronger with the decrease in dielectric thickness and leads to a more intense ionization which is responsible for most of the observed effects.
Full article
(This article belongs to the Special Issue Recent Advances of Dielectric Barrier Discharges)
►▼
Show Figures

Figure 1
Open AccessArticle
Plasma-Polymerized Polystyrene Coatings for Hydrophobic and Thermally Stable Cotton Textiles
by
Lian Farhadian, Samira Amiri Khoshkar Vandani and Hai-Feng Ji
Plasma 2026, 9(1), 3; https://doi.org/10.3390/plasma9010003 - 31 Dec 2025
Abstract
Dielectric barrier discharge (DBD) plasma provides a solvent-free and energy-efficient approach for the in situ polymerization of styrene on cotton textiles. Traditional methods for polystyrene (PS) coating often require elevated temperatures, chemical initiators, or organic solvents, conditions that are incompatible with porous, heat-sensitive
[...] Read more.
Dielectric barrier discharge (DBD) plasma provides a solvent-free and energy-efficient approach for the in situ polymerization of styrene on cotton textiles. Traditional methods for polystyrene (PS) coating often require elevated temperatures, chemical initiators, or organic solvents, conditions that are incompatible with porous, heat-sensitive substrates such as cotton. In this work, we demonstrate that DBD plasma can initiate and sustain styrene polymerization directly on cotton fibers under ambient conditions. FT-IR spectroscopy confirms the consumption of the vinyl C=C bond and the formation of atactic, amorphous polystyrene. Thermogravimetric analysis indicates that the cotton coated with DBD polymerized PS exhibits enhanced thermal stability compared to cotton coated with commercial PS. Additionally, UV aging tests confirm that the plasma-deposited coating maintains its hydrophobicity after exposure to light. Together, these findings highlight DBD plasma as a sustainable and effective approach for producing hydrophobic, thermally robust, and UV-stable textile coatings without the need for solvents, initiators, or harsh processing conditions.
Full article
(This article belongs to the Special Issue Recent Advances of Dielectric Barrier Discharges)
►▼
Show Figures

Figure 1
Open AccessArticle
Empirical Atomic Data for Plasma Simulations
by
Stephan Fritzsche, Houke Huang and Aloka Kumar Sahoo
Plasma 2026, 9(1), 2; https://doi.org/10.3390/plasma9010002 - 29 Dec 2025
Abstract
Recent advances in non-local thermodynamic equilibrium (non-LTE) plasma simulations, for example in modeling kilonova ejecta, have emphasized the need for consistent and reliable atomic data. Unlike LTE modeling, non-LTE calculations must include a consistent treatment of various photon-induced and collisional processes in order
[...] Read more.
Recent advances in non-local thermodynamic equilibrium (non-LTE) plasma simulations, for example in modeling kilonova ejecta, have emphasized the need for consistent and reliable atomic data. Unlike LTE modeling, non-LTE calculations must include a consistent treatment of various photon-induced and collisional processes in order to describe realistic electron and photon distributions in the plasma. However, the available atomic data are often incomplete, inconsistently formatted, or even fail to indicate the main dependencies on the level structure and plasma parameters, thus limiting their practical use. To address these issues, we have extended Jac, the Jena Atomic Calculator (version v0.3.0), to provide direct access to relevant cross sections, plasma rates, and rate coefficients. Emphasis is placed on photoexcitation and ionization processes as well as their time-reversed counterparts—photo-de-excitation and photorecombination. Whereas most of these data are still based on empirical expressions, their dependence on the ionic level structure and plasma temperature is made explicit here. Moreover, the electron and photon distributions can be readily controlled and adjusted by the user. This transparent representation of atomic data for photon-mediated processes, together with a straightforward use, facilitates their integration into existing plasma codes and improves the interpretation of high-energy astrophysical phenomena. It may support also more accurate and flexible non-LTE plasma simulations.
Full article
(This article belongs to the Special Issue Feature Papers in Plasma Sciences 2025)
►▼
Show Figures

Figure 1
Open AccessArticle
Enhanced Quantum Dot Emission in Fibonacci Photonic Crystal Cavities Optimized for PECVD-Compatible Porous Silicon: A Computational Study
by
J. E. Mastache-Mastache, M. C. González, H. Martínez and B. Reyes-Ramírez
Plasma 2026, 9(1), 1; https://doi.org/10.3390/plasma9010001 - 26 Dec 2025
Abstract
►▼
Show Figures
This computational study investigates the optical properties of a sixth-order Fibonacci quasi-periodic photonic crystal cavity designed for the infiltration of near-infrared colloidal quantum dots (QDs, e.g., InAs/ZnSe or PbS) and fully compatible with plasma-enhanced chemical vapor deposition (PECVD) using porous silicon layers. Using
[...] Read more.
This computational study investigates the optical properties of a sixth-order Fibonacci quasi-periodic photonic crystal cavity designed for the infiltration of near-infrared colloidal quantum dots (QDs, e.g., InAs/ZnSe or PbS) and fully compatible with plasma-enhanced chemical vapor deposition (PECVD) using porous silicon layers. Using the transfer matrix method (TMM), we simulate transmission (T), reflection, absorption, electric field distributions and Purcell factors (F) for both TE and TM polarizations, incorporating the wavelength-dependent absorption of porous silicon. A multi-objective figure-of-merit is defined to simultaneously maximize transmission ( at 800 nm) and the one-dimensional Purcell factor. The optimized structure ( ) yields a quality factor , a 1D Purcell factor and a realistic 3D Purcell enhancement estimated between 4 and 8 (under lateral confinement assumptions). This conservative estimate, derived via the effective index method to account for 3D effects, aligns with the detailed discussion within the article and is lower than the ideal upper bound of the 1D model. The integrated emission enhancement is approximately 3.0-fold. Monte Carlo simulations demonstrate remarkable robustness to fabrication tolerances ( nm thickness variations result in a <5% reduction in transmission), highlighting the structure’s scalability for PECVD-based processing. Comparison with periodic Bragg structures reveals superior angular stability and disorder tolerance in the Fibonacci design, positioning it as a promising platform for robust QD-based light sources and integrated refractive index sensors.
Full article

Figure 1
Open AccessReview
A Tutorial on the Mechanism of Beam-Field Interactions in Virtual Cathode Oscillators
by
Weihua Jiang
Plasma 2025, 8(4), 51; https://doi.org/10.3390/plasma8040051 - 13 Dec 2025
Abstract
This review article is the third of a three-article introductory series on virtual cathode oscillators. The first article has laid the theoretical ground for understanding the physical properties of the virtual cathode, and the second article has provided a numerical tool for studying
[...] Read more.
This review article is the third of a three-article introductory series on virtual cathode oscillators. The first article has laid the theoretical ground for understanding the physical properties of the virtual cathode, and the second article has provided a numerical tool for studying virtual cathode oscillation. This third article focuses on the interaction between the electron beam and electromagnetic field. The virtual cathode oscillator has been studied for decades with the aim of developing it as high-power microwave source. The beam-field interaction has been one of the core issues that always perplexes both experimentalists and theorists. Using the physical model established in the first article and the numerical method described in the second article, this article is an attempt to answer some of the key questions based on a more comprehensive description of the device and its interaction process. This article is expected to serve as a reference for young researchers and students working on high-power microwaves and pulsed particle beams.
Full article
(This article belongs to the Special Issue Feature Papers in Plasma Sciences 2025)
►▼
Show Figures

Figure 1
Open AccessArticle
CO2 Conversion at Reduced Pressure in a Novel Stabilized Arc Discharge for In Situ Oxygen Production on Mars
by
Veselin Vasilev, Nikola Lazarov, Svetlana Lazarova, Tsvetelina Paunska and Stanimir Kolev
Plasma 2025, 8(4), 50; https://doi.org/10.3390/plasma8040050 - 10 Dec 2025
Abstract
The aim of this work is to provide an extensive experimental study of the performance of a novel magnetically and gas-flow-stabilized arc discharge for carbon dioxide (CO2) conversion and oxygen (O2) production on Mars. The proposed discharge provides an
[...] Read more.
The aim of this work is to provide an extensive experimental study of the performance of a novel magnetically and gas-flow-stabilized arc discharge for carbon dioxide (CO2) conversion and oxygen (O2) production on Mars. The proposed discharge provides an additional degree of freedom for easy scalability by adjusting its length. The discharge is examined at a pressure range of 200–612 mbar in order to optimize it for oxygen production on Mars, where low-pressure operation is preferable due to energy costs. Additionally, two quenching configurations with an actively cooled region are evaluated. They are compared to a benchmark configuration without additional cooling. Two high-voltage power supplies (PSs) are used, and the results are compared—a constant direct current (DC) and a pulsed unipolar current. The pulsed power supply offers better CO2 conversion performance at lower pressure due to stable operation in an arc regime. The energy cost for oxygen production on Mars is also presented, including a conservative estimation of the energy needed for compressing the Martian atmosphere at ambient pressure to the discharge operational pressure. It is discussed how this affects the energy cost of oxygen production.
Full article
(This article belongs to the Special Issue Feature Papers in Plasma Sciences 2025)
►▼
Show Figures

Figure 1
Open AccessArticle
The Effect of the Axial Plasma Electron Density Distribution on the Effective Length and Radiation Pattern of a Plasma Antenna
by
Nikolai N. Bogachev, Vyacheslav P. Stepin, Vsevolod I. Zhukov, Sergey E. Andreev, Dmitry M. Karfidov, Maksim S. Usachonak, Evgeny M. Konchekov and Namik G. Gusein-zade
Plasma 2025, 8(4), 49; https://doi.org/10.3390/plasma8040049 - 28 Nov 2025
Abstract
►▼
Show Figures
This study investigates the axial electron density distribution in two plasma antenna configurations excited by a surface wave microwave discharge and its influence on the radiation pattern of antennas. The axial plasma electron density profiles were characterized using two non-invasive diagnostic techniques: the
[...] Read more.
This study investigates the axial electron density distribution in two plasma antenna configurations excited by a surface wave microwave discharge and its influence on the radiation pattern of antennas. The axial plasma electron density profiles were characterized using two non-invasive diagnostic techniques: the resonant cavity measurements in the TM110 mode and the waveguide transmission analysis. A linear decrease in the plasma electron density along the antenna was observed. The effective electrical length of the plasma antennas, accounting for this density distribution, is found to be approximately half the physical plasma column length. Numerical simulations employing COMSOL Multiphysics based on the Drude model revealed that a realistic nonuniform axial plasma electron density distribution markedly modifies the antenna radiation characteristics. For the wave-type plasma monopole antenna, this results in a shift in the emission maximum, a reduction in the main lobe amplitude, a nearly twofold broadening of the main lobe, and the disappearance of the side lobe. For the quarter-wave-type plasma asymmetric dipole antenna, there is a reduction in the main lobe amplitude without a shift in the maximum and a broadening of the main lobe due to an increase in the side-lobe level and its merging with the main lobe.
Full article

Figure 1
Open AccessArticle
Role of CF4 Addition in Gas-Phase Variations in HF Plasma for Cryogenic Etching: Insights from Plasma Simulation and Experimental Correlation
by
Shigeyuki Takagi, Shih-Nan Hsiao, Yusuke Imai, Makoto Sekine and Fumihiko Matsunaga
Plasma 2025, 8(4), 48; https://doi.org/10.3390/plasma8040048 - 24 Nov 2025
Abstract
The fabrication of semiconductor devices with three-dimensional architectures imposes unprecedented demands on advanced plasma dry etching processes. These include the simultaneous requirements of high throughput, high material selectivity, and precise profile control. In conventional reactive ion etching (RIE), fluorocarbon plasma provides both accelerated
[...] Read more.
The fabrication of semiconductor devices with three-dimensional architectures imposes unprecedented demands on advanced plasma dry etching processes. These include the simultaneous requirements of high throughput, high material selectivity, and precise profile control. In conventional reactive ion etching (RIE), fluorocarbon plasma provides both accelerated ion species and reactive neutrals that etch the feature front, while the CFx radicals promote polymerization that protects sidewalls and enhance selectivity to the amorphous carbon layer (ACL) mask. In this work, we present computational results on the role of CF4 addition to hydrogen fluoride (HF) plasma for next-generation RIE, specifically cryogenic etching. Simulations were performed by varying the CF4 concentration in the HF plasma to evaluate its influence on ion densities, neutral species concentration, and electron density. The results show that the densities of CFx (x = 1–3) ions and radicals increase significantly with CF4 addition (up to 20%), while the overall plasma density and the excited HF species remain nearly unchanged. The results of plasma density and atomic fluorine density are consistent with the experimental observations of the HF/CF4 plasma using an absorption probe and the actimetry method. It was verified that the gas-phase reaction model proposed in this study can accurately reproduce the plasma characteristics of the HF/CF4 system. The coupling of HF-based etchants with CFx radicals enables polymerization that preserves SiO2 etching throughput while significantly enhancing etch selectivity against the ACL mask from 1.86 to 5.07, with only a small fraction (~10%) of fluorocarbon gas added. The plasma simulation provides new insights into enhancing the etching performance of HF-based cryogenic plasma etching by controlling the CF2 radicals and HF reactants through the addition of fluorocarbon gases.
Full article
(This article belongs to the Special Issue Feature Papers in Plasma Sciences 2025)
►▼
Show Figures

Figure 1
Open AccessArticle
Processing the Inner Surfaces of Hollow Ceramic Samples with the Use of Fast Argon Atom Beams
by
Alexander S. Metel, Marina A. Volosova, Enver S. Mustafaev, Yury A. Melnik and Sergey N. Grigoriev
Plasma 2025, 8(4), 47; https://doi.org/10.3390/plasma8040047 - 21 Nov 2025
Abstract
►▼
Show Figures
To increase the wear resistance of a hollow ceramic product, it is necessary to apply wear-resistant coatings to all its surfaces, including the internal surfaces. Before the coating deposition, the surface must be processed with a beam of energetic particles to ensure its
[...] Read more.
To increase the wear resistance of a hollow ceramic product, it is necessary to apply wear-resistant coatings to all its surfaces, including the internal surfaces. Before the coating deposition, the surface must be processed with a beam of energetic particles to ensure its adhesion. In this study, a scheme for processing internal surfaces of hollow cylinders with fast argon atoms is proposed and tested. Simultaneous treatment of all surfaces of the rotating ceramic cylinder allowed for deposition of a uniform TiB2 coating on both sides of the cylinder and a decrease in the abrasion wear by several times.
Full article

Figure 1
Open AccessArticle
Inactivation Effect and Influencing Factors of Cold Atmospheric Plasma Treatment with Bacteria on Food Contact Materials
by
Mingyan Chen, Chenhong Wang, Tian Xie, Zheng Chen and Guimin Xu
Plasma 2025, 8(4), 46; https://doi.org/10.3390/plasma8040046 - 10 Nov 2025
Abstract
This study investigated the inactivation effect and influencing factors of cold atmospheric plasma (CAP) treatment with Salmonella typhimurium and Staphylococcus aureus populations on three food contact materials (FCMs)—kraft paper, 304 stainless steel, and glass. The CAP was generated as an atmospheric helium plasma
[...] Read more.
This study investigated the inactivation effect and influencing factors of cold atmospheric plasma (CAP) treatment with Salmonella typhimurium and Staphylococcus aureus populations on three food contact materials (FCMs)—kraft paper, 304 stainless steel, and glass. The CAP was generated as an atmospheric helium plasma jet (15 kV, 10.24 kHz, He 4 L/m), and the experimental results indicated that its inactivation effects on two bacterial species gradually increased as the plasma treatment duration increased (0, 1, 2, 3, 4, and 5 min). Three classical sterilization kinetic models (Log-linear, Weibull, and Log-linear + Shoulder + Tail) were employed to evaluate the inactivation efficiency of plasma against bacteria FCMs. Combined with the coefficient of determination (R2), accuracy factor (Af), and bias factor (Bf), together with the root mean square error (RMSE), it can be concluded that the Log-linear + Shoulder + Tail model had the highest fitting degree among the three sterilization kinetics models. Salmonella typhimurium exhibited weaker resistance than Staphylococcus aureus to the same CAP treatment. Under the same conditions, CAP had the strongest bactericidal effect on the bacteria on the glass surface, followed by those on the 304 stainless steel, and had the weakest bactericidal effect on the bacteria on the kraft paper surface, which might be related to the surface hydrophilicity and roughness of the FCMs. The above results indicated that CAP’s inactivation effect may be influenced by the microbial species as well as the surface characteristics of FCMs. This study provides useful information for future applications of CAP in enhancing food safety.
Full article
(This article belongs to the Special Issue Feature Papers in Plasma Sciences 2025)
►▼
Show Figures

Figure 1
Open AccessArticle
Obtaining Iron Chelates and Iron Oxide Nanoparticles via Multispark Discharge Treatment of EDTA Solutions in Argon Atmosphere
by
Viktoriia V. Gudkova, Valentin D. Borzosekov, Maria A. Zimina, Igor V. Moryakov, Dmitry V. Malakhov, Namik Gusein-zade and Evgeny M. Konchekov
Plasma 2025, 8(4), 45; https://doi.org/10.3390/plasma8040045 - 3 Nov 2025
Abstract
►▼
Show Figures
This study investigates the physicochemical processes in aqueous solutions treated with a high-current (up to 300 A) pulsed multispark discharge. Pulse length was 2 μs at a 50 Hz repetition rate. The discharge occurred within bubbles of argon injected between the stainless-steel electrodes
[...] Read more.
This study investigates the physicochemical processes in aqueous solutions treated with a high-current (up to 300 A) pulsed multispark discharge. Pulse length was 2 μs at a 50 Hz repetition rate. The discharge occurred within bubbles of argon injected between the stainless-steel electrodes at the constant flow rate. The erosion of electrode material during the discharge led to iron and other alloy components entering the liquid. Optical emission spectra confirmed the erosion of electrode material (Fe, Cr, Ni atoms and ions). EDTA and its disodium salt were used in order to study their effect on the metal particle formation process. Treatment with deionized water led to an increase in conductivity and the generation of hydrogen peroxide (up to 1200 µM). In contrast, the presence of EDTA and its disodium salt drastically altered the reaction pathways: the H2O2 yield decreased, and the solution conductivity dropped substantially for the acidic form of EDTA, while the decrease was minor for EDTA-Na2. This effect is attributed to the buffered chelation of eroded metal ions, forming stable Fe-EDTA complexes, as confirmed by a characteristic absorption band at 260 nm. The results demonstrate the critical role of complex-forming agents in modulating plasma–liquid interactions, shifting the process from direct erosion products to the formation of stable coordination compounds.
Full article

Figure 1
Open AccessArticle
Low-Current High-Voltage Pulsed Atmospheric Arc Plasma Jet: Nanoparticle Emission from the Cathodic Spot
by
Dariusz Korzec, Florian Freund, Isabelle Doelfs, Florian Zacherl, Lucas Kudala and Hans-Peter Rabl
Plasma 2025, 8(4), 44; https://doi.org/10.3390/plasma8040044 - 28 Oct 2025
Abstract
The atmospheric pressure plasma jet (APPJ) is a popular type of cold atmospheric plasma (CAP). APPJs based on a pulsed atmospheric arc (PAA) are widely spread in industrial processing. A plasma jet of this type, PlasmaBrush PB3 (PB3), is a subject of diverse
[...] Read more.
The atmospheric pressure plasma jet (APPJ) is a popular type of cold atmospheric plasma (CAP). APPJs based on a pulsed atmospheric arc (PAA) are widely spread in industrial processing. A plasma jet of this type, PlasmaBrush PB3 (PB3), is a subject of diverse research activities. The characteristic feature of PB3 is the generation of a low-current (300 mA), high-voltage (1500 V) pulsed (54 kHz) atmospheric arc. A gas flow vortex is used to stabilize the arc and to sustain the circular motion of the cathodic arc foot. During long periods of operation, nozzles acting as arc discharge cathodes erode. Part of the eroded material is emitted as nanoparticles (NPs). These NPs are not wanted in many processing applications. Knowledge of the number, type, and size distribution of emitted NPs is essential to minimize their emissions. In this study, NPs in the size range of 6 to 220 nm, emitted from four different nozzles operated with PB3, are investigated. The differences between the nozzles are in the eroded surface material (copper, tungsten, and nickel), the diameter of the nozzle orifice, the length of the discharge channel, and the position of the cathodic arc foot. Significant differences in the particle size distribution (PSD) and particle mass distribution (PMD) of emitted NPs are observed depending on the type and condition of the nozzle and their operating time. Monomodal and bimodal PMD models are used to approximate emissions from the nozzles with tungsten and copper cores, respectively. The skew-normal distribution function is deemed suitable. The results of this study can be used to control NP emissions, both to avoid them and to utilize them intentionally.
Full article
(This article belongs to the Special Issue Feature Papers in Plasma Sciences 2025)
►▼
Show Figures

Graphical abstract
Open AccessArticle
Effects of Plasma and Activated Water on Biological Characteristics of Bromus inermis Seeds Under Different Power Supply Excitation
by
Jiawen Xie, Fubao Jin, Shangang Ma, Jinqiang Shi and Yanming Qi
Plasma 2025, 8(4), 43; https://doi.org/10.3390/plasma8040043 - 24 Oct 2025
Abstract
►▼
Show Figures
To explore the potential of plasma technology in regulating seed germination, this study compared the effects of direct treatment with needle-plate electrodes using DC and pulse power supplies, and indirect treatment with plasma-activated water on the growth characteristics of Bromus inermis seeds. By
[...] Read more.
To explore the potential of plasma technology in regulating seed germination, this study compared the effects of direct treatment with needle-plate electrodes using DC and pulse power supplies, and indirect treatment with plasma-activated water on the growth characteristics of Bromus inermis seeds. By comparing different pulse power parameters, including voltage, pulse width, frequency, and duration, it was found that treatments at 15 kV, 2500 ns, 6 kHz, and 10 min significantly increased the surface hydrophilicity and germination performance of the seeds. The best conditions for DC power supply were 15 kV and 10 min. Indirect treatment with plasma-activated water (15 kV, 10 min) effectively broke the seed dormancy by regulating active nitrogen oxygen particle components, increasing the germination percentage by 50%. Analysis of antioxidant enzyme activity showed that in seedlings the activities of superoxide dismutase (SOD) and peroxidase (POD) increased by 75% and 21%, respectively, after treatment, revealing the mechanism of oxidative stress response induced by plasma. This study provides theoretical and technical references for the application of plasma technology in enhancing seed vitality and agricultural practices.
Full article

Figure 1
Open AccessArticle
The Effect of Electrode Geometry on Excited Species Production in Atmospheric Pressure Air–Hydrogen Streamer Discharge
by
Shirshak Kumar Dhali and Stuart Reyes
Plasma 2025, 8(4), 42; https://doi.org/10.3390/plasma8040042 - 15 Oct 2025
Cited by 1
Abstract
When a gas is overvolted at or near atmospheric pressure, it results in a streamer discharge formation. Electrode geometries exert significant impact on the electrical breakdown of gases by altering the spatial profile of the electric field. In many applications the efficient generation
[...] Read more.
When a gas is overvolted at or near atmospheric pressure, it results in a streamer discharge formation. Electrode geometries exert significant impact on the electrical breakdown of gases by altering the spatial profile of the electric field. In many applications the efficient generation of radicals is critical and is determined by the characteristics of the streamer discharge. We examine the effect of electrode geometry on the streamer characteristics and the production of radicals. This is performed for three different electrode geometries: plane–plane, pin–plane, and pin–pin. A two-dimensional rotationally symmetric fluid model is used for the streamer discharge simulation in the hydrogen/air gas mixture. The spatial profile of electron density and the electric field for point electrodes show significant differences when compared to plane electrodes. However, the efficiency of radical generation shows similar trends for the electrode configurations studied. We also present the results of spatial electrical energy density distribution which in turn determines spatial excited species distribution. These results can inform the design of specific applications.
Full article
(This article belongs to the Special Issue Processes in Atmospheric-Pressure Plasmas—2nd Edition)
►▼
Show Figures

Figure 1
Open AccessArticle
Study on Development of Hydrogen Peroxide Generation Reactor with Pin-to-Water Atmospheric Discharges
by
Sung-Young Yoon, Eun Jeong Hong, Junghyun Lim, Seungil Park, Sangheum Eom, Seong Bong Kim and Seungmin Ryu
Plasma 2025, 8(4), 41; https://doi.org/10.3390/plasma8040041 - 14 Oct 2025
Cited by 1
Abstract
We present an experimentally validated, engineering-oriented framework for the design and operation of pin-to-water (PTW) atmospheric discharges to produce hydrogen peroxide (H2O2) on demand. Motivated by industrial needs for safe, point-of-use oxidant supply, we combine time-resolved diagnostics (FTIR, OES),
[...] Read more.
We present an experimentally validated, engineering-oriented framework for the design and operation of pin-to-water (PTW) atmospheric discharges to produce hydrogen peroxide (H2O2) on demand. Motivated by industrial needs for safe, point-of-use oxidant supply, we combine time-resolved diagnostics (FTIR, OES), liquid-phase analysis (ion chromatography, pH, conductivity), and coupled plasma-chemistry/fluid simulations to link plasma state to aqueous H2O2 yield. Under the tested conditions (14.3 kHz, 0.2 kW; electrode to quartz wall distance 12–14 mm; coolant setpoints 0–40 °C), H2O2 concentration follows a reproducible non-monotonic trajectory: rapid accumulation during the early treatment (typical peak at ~15–25 min), followed by decline with continued operation. The decline coincides with a robust vibrational-temperature (Tvib) threshold near ~4900 K measured from N2 emission, and with concurrent NOX accumulation and bulk acidification. Global chemistry modeling and Fluent flow fields reproduce the observed trend and show that both vibrational excitation (kinetics) and convective transport (mass/heat transfer) determine the productive time window. Based on these results, we formulate practical design rules—electrode gap (power density), discharge current control, thermal/flow management, water quality, and OES-based Tvib monitoring with an automated stop rule—that maximize H2O2 yield while avoiding NOX-dominated suppression. The study provides a clear path for transforming mechanistic plasma insights into deployable, industrial H2O2 generator designs.
Full article
(This article belongs to the Special Issue Feature Papers in Plasma Sciences 2025)
►▼
Show Figures

Figure 1
Open AccessArticle
Non-Thermal Plasma Treatment of Dye-Contaminated Wastewater: A Sustainable Approach for Pollutant Degradation and Enhanced Plant Growth
by
Subash Mohandoss, Harshini Mohan, Natarajan Balasubramaniyan and Sivachandiran Loganathan
Plasma 2025, 8(4), 40; https://doi.org/10.3390/plasma8040040 - 11 Oct 2025
Abstract
The win–win situation of dye degradation and nitrogen fixation in wastewater using non-thermal plasma (NTP) were investigated in this study. Specifically, the feasibility of utilizing plasma-treated dye-contaminated wastewater for seed germination and plant growth was explored. Crystal Violet (CV) and Rhodamine B (RhB)
[...] Read more.
The win–win situation of dye degradation and nitrogen fixation in wastewater using non-thermal plasma (NTP) were investigated in this study. Specifically, the feasibility of utilizing plasma-treated dye-contaminated wastewater for seed germination and plant growth was explored. Crystal Violet (CV) and Rhodamine B (RhB) dyes were used as model pollutants, while Sorghum bicolor (great millet) seeds were used to assess germination rates and plant growth responses. In untreated wastewater containing CV and RhB, approximately 45% of seeds germinated after three days, but no significant stem or root growth was observed after 11 days. Plasma treatment significantly enhanced dye degradation, with efficiency improving as treatment time and input power increased. After 16 min of plasma treatment at 1.3 ± 0.2 W input power, about 99% degradation efficiency was achieved for both CV (0.0122 mM) and RhB (0.0104 mM). This degradation was primarily driven by reactive oxygen and nitrogen species (RONS) generated by plasma discharge. When sorghum seeds were germinated using plasma-treated wastewater, the germination rate increased to 65% after three days—20% higher than with untreated wastewater. Furthermore, after 11 days, the average stem length reached 9 cm, while the average root length extended to 7 cm. These findings highlight NTP as a promising and sustainable method for degrading textile industry pollutants while simultaneously enhancing crop productivity through the reuse of treated wastewater.
Full article
(This article belongs to the Special Issue Feature Papers in Plasma Sciences 2025)
►▼
Show Figures

Graphical abstract
Open AccessArticle
PIC Modeling of Ionospheric Plasma Diagnostics by Hemispherical Probes: Study of the LAP-CSES at Magnetic Conjugates
by
Nadia Imtiaz, Saeed Ur Rehman, Liu Chao, Rui Yan and Richard Marchand
Plasma 2025, 8(4), 39; https://doi.org/10.3390/plasma8040039 - 30 Sep 2025
Abstract
►▼
Show Figures
We present three dimensional particle-in-cell simulations of current-voltage characteristics of the hemispherical Langmuir probe (LAP), onboard the China Seismo-Electromagnetic Satellite (CSES). Using realistic plasma parameters and background magnetic fields obtained from the International Reference Ionosphere (IRI) and International Geomagnetic Reference Field (IGRF) models,
[...] Read more.
We present three dimensional particle-in-cell simulations of current-voltage characteristics of the hemispherical Langmuir probe (LAP), onboard the China Seismo-Electromagnetic Satellite (CSES). Using realistic plasma parameters and background magnetic fields obtained from the International Reference Ionosphere (IRI) and International Geomagnetic Reference Field (IGRF) models, we simulate probe–plasma interactions at three locations: the equatorial region and two magnetically conjugate mid-latitude sites: Millstone Hill (Northern Hemisphere) and Rothera (Southern Hemisphere). The simulations, performed using the PTetra PIC code, incorporate realistic LAP geometry and spacecraft motion in the ionospheric plasma. Simulated current voltage characteristics or I–V curves are compared against in-situ LAP measurements from CSES Orbit-026610, with Pearson’s correlation coefficients used to assess agreement. Our findings indicate how plasma temperature, density, and magnetization affect sheath structure and probe floating potential. The study highlights the significance of kinetic modeling in enhancing diagnostic accuracy, particularly in variable sheath regimes where classic analytical models such as the Orbital-Motion-Limited (OML) theory may be inadequate.
Full article

Figure 1
Highly Accessed Articles
Latest Books
E-Mail Alert
News
Topics
Topic in
Electronics, Magnetism, Physics, Plasma, Symmetry, Energies, Sensors
Advanced Electromagnetic Modeling and Simulation for Multidisciplinary Engineering Systems
Topic Editors: Jinru Sun, Ya'nan Wang, Lujia WangDeadline: 31 December 2026
Conferences
Special Issues
Special Issue in
Plasma
Recent Advances of Dielectric Barrier Discharges
Guest Editor: Bruno CaillierDeadline: 28 February 2026
Special Issue in
Plasma
Processes in Atmospheric-Pressure Plasmas—2nd Edition
Guest Editor: Dariusz Z. KorzecDeadline: 31 March 2026
Special Issue in
Plasma
New Insights into Plasma Theory, Modeling and Predictive Simulations
Guest Editor: Tariq RafiqDeadline: 30 June 2026
Special Issue in
Plasma
Electrostatic Coherent Structures in Planetary Magnetospheres: Observations, Theory and Simulations
Guest Editors: Gurbax Lakhina, Satyavir SinghDeadline: 30 June 2026




