-
Assessment of Volatile Radionuclide Release in the ALFRED Lead-Cooled Fast Reactor -
Preliminary Experimental Validation of Single-Phase Natural Circulation Loop Based on RELAP5-3D Code: Part I -
Using CFD Modeling to Investigate the Non-Uniform Circumferential Distribution of Heat Transfer Characteristics in a Single-Phase Helical Coiled Tube -
Simulation of NuScale-Like SMR Benchmark with OpenMC Code
Journal Description
Journal of Nuclear Engineering
Journal of Nuclear Engineering
is an international, peer-reviewed, open access journal on nuclear and radiation sciences and applications, published quarterly online by MDPI.
- Open Access— free for readers, with article processing charges (APC) paid by authors or their institutions.
- High Visibility: indexed within ESCI (Web of Science), Scopus, EBSCO and other databases.
- Journal Rank: CiteScore - Q2 (Engineering (miscellaneous))
- Rapid Publication: manuscripts are peer-reviewed and a first decision is provided to authors approximately 36.2 days after submission; acceptance to publication is undertaken in 7.3 days (median values for papers published in this journal in the first half of 2025).
- Recognition of Reviewers: APC discount vouchers, optional signed peer review, and reviewer names published annually in the journal.
Impact Factor:
1.2 (2024);
5-Year Impact Factor:
1.3 (2024)
Latest Articles
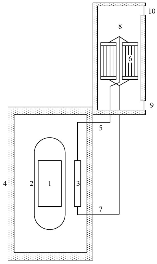
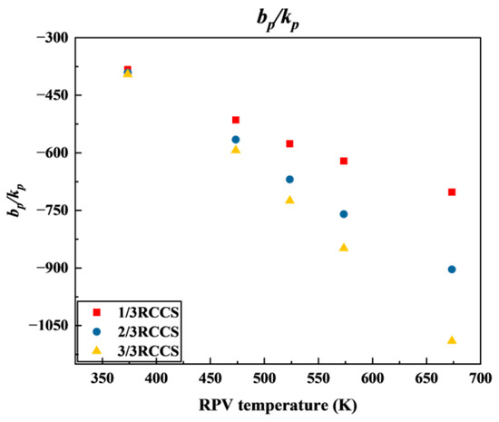
Study on the Influence of Ambient Temperature and RPV Temperature on Operation Performance of HTR-PM Reactor Cavity Cooling System
J. Nucl. Eng. 2025, 6(4), 48; https://doi.org/10.3390/jne6040048 - 21 Nov 2025
Abstract
The High Temperature Gas-cooled Reactor (HTGR) is a Generation IV advanced nuclear reactor, which can realize inherent safety and prevent core melt. The Institute of Nuclear and New Energy Technology (INET) of Tsinghua University developed a commercial-scale 200 MWe High Temperature gas-cooled Reactor
[...] Read more.
The High Temperature Gas-cooled Reactor (HTGR) is a Generation IV advanced nuclear reactor, which can realize inherent safety and prevent core melt. The Institute of Nuclear and New Energy Technology (INET) of Tsinghua University developed a commercial-scale 200 MWe High Temperature gas-cooled Reactor Pebble bed Module project (HTR-PM), which entered commercial operation on 6 December 2023. A passive Reactor Cavity Cooling System (RCCS) was designed for HTR-PM to export heat from the reactor cavity during normal operation and also in accident conditions, keeping the safety of the reactor pressure vessel (RPV) and reactor cavity. The RCCS of HTR-PM has been designed as three independent sets; the normal operation of two sets of RCCS can guarantee the safety of the PRV and reactor activity. The heat can be transferred from the RPV to the final heat sink atmosphere through thermal radiation and natural convection in the reactor cavity, and the natural circulation of water and air in the RCCS. The CAVCO code was developed by the INET to simulate the behavior of an RCCS. In this paper, assuming different RPV temperatures and different ambient temperatures, as well as assuming all or parts of the RCCS sets work, the performances of RCCS are studied by CAVCO to evaluate its operational reliability, so as to provide a reference for further optimization. The analysis results indicate that even under hypothetically extremely RPV temperatures, two sets of RCCS could effectively remove heat without causing water boiling or system failure. However, during the winter when ambient temperatures are low, particularly when the reactor operates at a lower RPV temperature, additional attention must be given to the operational safety of the system. It is crucial to prevent system failure caused by the freezing of circulating water and the potential cracking of water-cooling pipes due to freezing. Depending on the reactor status and ambient conditions, one or all three sets of RCCS may need to be taken offline. In addition, the maximum heat removal capacity of the RCCS with only two sets operational exceeds the design requirement of 1.2 MW. When the ambient temperature fluctuates significantly, it may be advisable to increase the number of available RCCS sets to mitigate the effect of abrupt changes in cooling water temperature on pipeline thermal stress.
Full article
(This article belongs to the Special Issue Probabilistic Safety Assessment and Management of Nuclear Facilities)
►
Show Figures
Open AccessArticle
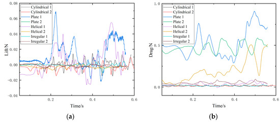
Numerical Investigation of Fluid–Structure Interaction of Foreign Objects in Steam Generator Tube Bundles
by
Yuhua Hang, Heng Wang, Yuanqing Liu, Zhen Cai, Bin Zhu, Jinna Mei and Guoru Zhu
J. Nucl. Eng. 2025, 6(4), 47; https://doi.org/10.3390/jne6040047 - 19 Nov 2025
Abstract
As a critical component of nuclear and thermal energy conversion systems, the long-term safe operation of a steam generator depends on the structural integrity of its tube bundles. Foreign objects introduced into the secondary side can induce flow-induced vibrations and wear, potentially causing
[...] Read more.
As a critical component of nuclear and thermal energy conversion systems, the long-term safe operation of a steam generator depends on the structural integrity of its tube bundles. Foreign objects introduced into the secondary side can induce flow-induced vibrations and wear, potentially causing tube wall damage and unplanned outages, thereby affecting overall system reliability. This study systematically investigates the flow-induced vibration behavior of foreign objects within steam generator tube bundles and explores the influence of object geometry through three-dimensional fluid–structure interaction (FSI) simulations. The foreign objects are modeled as single-degree-of-freedom rigid bodies, and their dynamic responses are captured using a coupled flow–motion framework. Results reveal that object geometry significantly influences flow separation, variations in lift and drag forces, and displacement characteristics. Cylindrical and irregular objects exhibit stable, low-amplitude vibrations; plate-shaped objects experience restricted motion due to large drag areas and symmetric contact constraints; whereas helical objects show the largest displacements arising from coupled axial–radial vibrations and complex vortical structures. These findings demonstrate that the interplay between aerodynamic forces and geometric complexity strongly governs the flow-induced vibration of foreign objects, offering insights into their motion behavior and potential impact on steam generator tube bundle integrity.
Full article
(This article belongs to the Special Issue Advances in Thermal Hydraulics of Nuclear Power Plants)
►▼
Show Figures

Figure 1
Open AccessArticle
Application of Dynamic PRA to Nuclear Power Plant Operation Support—Evaluation of Plant Operation Support Using a Simple Plant Model
by
Nami Yamamoto, Mami Kagimoto, Yohei Ueno, Takafumi Narukawa and Takashi Takata
J. Nucl. Eng. 2025, 6(4), 46; https://doi.org/10.3390/jne6040046 - 4 Nov 2025
Abstract
Following the Great East Japan Earthquake in 2011, there has been an increased focus on risk assessment and the practical application of its findings to safety enhancement. In particular, dynamic probabilistic risk assessment (PRA) used in conjunction with plant dynamics analysis is being
[...] Read more.
Following the Great East Japan Earthquake in 2011, there has been an increased focus on risk assessment and the practical application of its findings to safety enhancement. In particular, dynamic probabilistic risk assessment (PRA) used in conjunction with plant dynamics analysis is being considered for accident management (AM) and operational support. Determining countermeasure priorities in AM can be challenging due to the diversity of accident scenarios. In multi-unit operations, the complexity of scenarios increases in cases of simultaneous disasters, which makes establishing response operations priorities more difficult. Dynamic PRA methods can efficiently generate and assess complex scenarios by incorporating changes in plant state. This paper introduces the continuous Markov chain Monte Carlo (CMMC) method, a dynamic PRA approach, as a tool for prioritizing countermeasures to support nuclear power plant operations. The proposed method involves three steps: (1) generating exhaustive scenarios that include events, operator actions, and system responses; (2) classifying scenarios according to countermeasure patterns; and (3) assigning priority based on risk data for each pattern. An evaluation was conducted using a simple plant model to analyze event countermeasure patterns for addressing steam generator tube rupture during single-unit operation. The generated scenario patterns included depressurization by opening a pressurizer relief valve (DP), depressurization via heat removal through the steam generator (DSG), and both operations combined (DP + DSG). The timing of the response operations varied randomly, resulting in multiple scenarios. The assessment, based on reactor pressure vessel water level and the potential for core damage, showed that the time margin to core damage depended on the countermeasure pattern. The findings indicate that the effectiveness of each countermeasure can be evaluated and that it is feasible to identify which countermeasure should be prioritized.
Full article
(This article belongs to the Special Issue Probabilistic Safety Assessment and Management of Nuclear Facilities)
►▼
Show Figures

Figure 1
Open AccessReview
Frictional Pressure Drops Modeling for Helical Pipes: Comparative Evaluation of Recent Predictive Approaches over Various Geometries and Operating Conditions
by
Mariarosa Giardina and Calogera Lombardo
J. Nucl. Eng. 2025, 6(4), 45; https://doi.org/10.3390/jne6040045 - 30 Oct 2025
Abstract
►▼
Show Figures
Helically coiled tube heat exchangers (HCT) are recognized as promising solutions for steam generator applications in Small Modular Reactors (SMRs), where compactness and high thermal performance are crucial. The complex geometry of HCTs, however, substantially increases the difficulty of accurately estimating pressure drops,
[...] Read more.
Helically coiled tube heat exchangers (HCT) are recognized as promising solutions for steam generator applications in Small Modular Reactors (SMRs), where compactness and high thermal performance are crucial. The complex geometry of HCTs, however, substantially increases the difficulty of accurately estimating pressure drops, particularly under two-phase flow conditions. Over the last decade, several predictive correlations have been suggested, and their applicability is often limited to specific ranges of geometry and operating pressure. The present study examines correlations proposed during the previous decade, aiming to clarify their applicability limits. Validation is carried out using experimental datasets from the literature, enabling a rigorous evaluation of predictive accuracy, robustness, and generality.
Full article

Graphical abstract
Open AccessArticle
Simulation of NuScale-Like SMR Benchmark with OpenMC Code
by
Abdo Ez Aldeen, Dzianis Litskevich, Christopher Grove, Seddon Atkinson, Anna Detkina and Hasnain Gulzar
J. Nucl. Eng. 2025, 6(4), 44; https://doi.org/10.3390/jne6040044 - 27 Oct 2025
Abstract
►▼
Show Figures
Compared to traditional large-scale reactors, the more heterogeneous, boron-free SMR cores create additional challenges for accurate multiphysics simulations. Therefore, advanced modelling and simulation tools should be used to create high-fidelity, high-accuracy, and computationally efficient multiphysics and multiscale solvers. These solvers can evaluate the
[...] Read more.
Compared to traditional large-scale reactors, the more heterogeneous, boron-free SMR cores create additional challenges for accurate multiphysics simulations. Therefore, advanced modelling and simulation tools should be used to create high-fidelity, high-accuracy, and computationally efficient multiphysics and multiscale solvers. These solvers can evaluate the safety and performance of SMRs and could be attractive for industrial applications if the computational power requirements were reasonably low. The first crucial step in building a computationally efficient simulation model is to define an SMR benchmark model. This model is a reference for validating the simulation results. In this paper, the benchmark model is a NuScale-like SMR, where the Serpent code has been utilized to run the neutronic simulation. The neutronic simulation was then performed again in the benchmark model, this time utilizing OpenMC code. The results of the Serpent and OpenMC codes were compared in terms of the reactivity coefficient, control rod worth and radial and axial power distribution. By comparing two different codes to validate the simulation of the NuScale-like benchmark, OpenMC will be utilized for future work, such as generating the nuclear material cross-section data for core simulators.
Full article

Graphical abstract
Open AccessArticle
Evaporation Behavior of Water in Confined Nanochannels Using Molecular Dynamics Simulation
by
Sumith Yesudasan, Mamshad Mohammed, Joseph Marcello and Mark Taylor
J. Nucl. Eng. 2025, 6(4), 43; https://doi.org/10.3390/jne6040043 - 23 Oct 2025
Abstract
►▼
Show Figures
This study presents a molecular dynamics (MD) investigation of water evaporation in copper nanochannels, with a focus on accurately modeling copper–water interactions through forcefield calibration. The TIP4P/2005 water model was coupled with the Modified Embedded Atom Method (MEAM) for copper, and the oxygen–copper
[...] Read more.
This study presents a molecular dynamics (MD) investigation of water evaporation in copper nanochannels, with a focus on accurately modeling copper–water interactions through forcefield calibration. The TIP4P/2005 water model was coupled with the Modified Embedded Atom Method (MEAM) for copper, and the oxygen–copper Lennard–Jones (LJ) parameters were systematically tuned to match experimentally reported water contact angles (WCAs) on Cu (111) surfaces. Contact angles were extracted from simulation trajectories using a robust five-step protocol involving 2D kernel density estimation, adaptive thresholding, circle fitting, and mean squared error (MSE) validation. The optimized forcefield demonstrated strong agreement with experimental WCA values (50.2°–82.3°), enabling predictive control of wetting behavior by varying ε in the range 0.20–0.28 kcal/mol. Using this validated parameterization, we explored nanoscale evaporation in copper channels under varying thermal loads (300–600 K). The results reveal a clear temperature-dependent transition from interfacial-layer evaporation to bulk-phase vaporization, with evaporation onset and rate governed by the interplay between copper–water adhesion and thermal disruption of hydrogen bonding. These findings provide atomistically resolved insights into wetting and evaporation in metallic nanochannels, offering a calibrated framework for simulating phase-change heat transfer in advanced thermal management systems.
Full article

Graphical abstract
Open AccessArticle
Two-Phase Flow Studies in Steam Separators Using Interface Capturing Simulations
by
Taylor E. Grubbs and Igor A. Bolotnov
J. Nucl. Eng. 2025, 6(4), 42; https://doi.org/10.3390/jne6040042 - 15 Oct 2025
Abstract
The two-phase flow within a Boiling Water Reactor steam separator is investigated using an interface capturing method. The simulations are focused on resolving the flow around the first pickoff ring which is the highest contributor to steam carryunder phenomenon. Multiple simulations are conducted
[...] Read more.
The two-phase flow within a Boiling Water Reactor steam separator is investigated using an interface capturing method. The simulations are focused on resolving the flow around the first pickoff ring which is the highest contributor to steam carryunder phenomenon. Multiple simulations are conducted of varying levels of resolution to evaluate the capabilities of interface capturing technique for this challenging problem. First, high-resolution simulations of the flow using a simplified wedge are conducted without a swirling velocity field present in the actual system. In order to understand the flow field generated by the separator swirler, secondary simulations of single-phase flow passing through a swirler model are conducted. Using this information, a coarse simulation of the full model was performed, which incorporated the effect of the swirler using a custom inflow boundary condition. Instantaneous carryunder/carryover along with void fraction and film thickness are evaluated at the pickoff ring entrance. Overall, these simulations demonstrate that interface capturing simulations can be an accurate tool for studying full-scale components within nuclear power plants.
Full article
(This article belongs to the Special Issue Advances in Thermal Hydraulics of Nuclear Power Plants)
►▼
Show Figures

Figure 1
Open AccessArticle
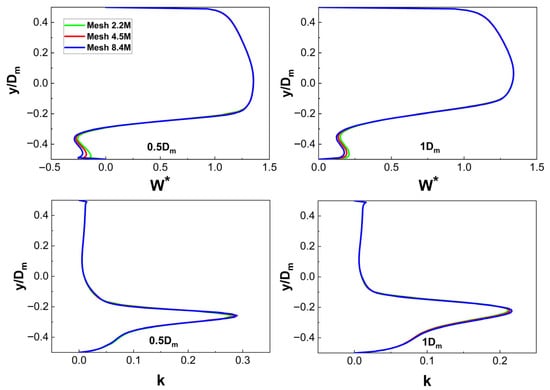
Using CFD Modeling to Investigate the Non-Uniform Circumferential Distribution of Heat Transfer Characteristics in a Single-Phase Helical Coiled Tube
by
Hung-Tsung Tsai, Bo-Jun Lu, Yuh-Ming Ferng and Yu Sun
J. Nucl. Eng. 2025, 6(4), 41; https://doi.org/10.3390/jne6040041 - 14 Oct 2025
Abstract
►▼
Show Figures
Helical coiled tube (HCT) heat exchangers (HXs) are used in the nuclear industry, particularly in the residual heat removal systems of nuclear power plants (NPPs) and steam generators for small modular reactors. In this study, a single-phase CFD model was developed to investigate
[...] Read more.
Helical coiled tube (HCT) heat exchangers (HXs) are used in the nuclear industry, particularly in the residual heat removal systems of nuclear power plants (NPPs) and steam generators for small modular reactors. In this study, a single-phase CFD model was developed to investigate non-uniform circumferential distributions in the local wall heat transfer characteristics of a vertical HCT to obtain localized information critical for the safety of NPPs. In a comparison, the predicted circumferential heat transfer characteristics agreed well with the measured data. Governed by centrifugal/gravitational forces, these non-uniform distributions are clearly visible in the results, explaining the test data. We performed additional simulations of the conjugated heat transfer from the hot fluid of the shell side to the cold fluid of the tube side, confirming that the inhomogeneity of circumferential distributions in HCTs is due to the assumption of a constant heat flux boundary condition.
Full article

Figure 1
Open AccessReview
Isotopic Engineering—Potentials in “Nonproliferating” Nuclear Fuel
by
Marat Margulis and Mustafa J. Bolukbasi
J. Nucl. Eng. 2025, 6(4), 40; https://doi.org/10.3390/jne6040040 - 13 Oct 2025
Abstract
►▼
Show Figures
Nuclear energy plays a critical role in global decarbonisation, but its expansion raises concerns about the proliferation risks associated with conventional fuel cycles. This study addresses this challenge by evaluating Am-241 doping as a method to enhance the intrinsic proliferation resistance of nuclear
[...] Read more.
Nuclear energy plays a critical role in global decarbonisation, but its expansion raises concerns about the proliferation risks associated with conventional fuel cycles. This study addresses this challenge by evaluating Am-241 doping as a method to enhance the intrinsic proliferation resistance of nuclear fuel. Using full-core simulations across Pressurised Water Reactors (PWRs), Boiling Water Reactors (BWRs), and Molten Salt Reactors (MSRs), the research assesses the impact of Am-241 on isotopic composition, reactor performance, and safety. The results show that Am-241 reliably increases the Pu-238 fraction in spent fuel above the 6% threshold, which significantly complicates its use in nuclear weapons. Additionally, Am-241 serves as a burnable poison, reducing the need for conventional absorbers without compromising operational margins. Economic modelling indicates that the levelised cost of electricity (LCOE) increases modestly, with the most notable impact observed in MSRs due to continuous doping requirements. The project concludes that Am-241 doping offers a passive, fuel-intrinsic safeguard that complements existing verification regimes. Adoption of this approach may require adjustments to regulatory frameworks, particularly in fuel licencing and fabrication standards, but could ultimately support the secure expansion of nuclear energy in regions with heightened proliferation concerns.
Full article

Figure 1
Open AccessArticle
AHP-Based Methodological Proposal for Identifying Suitable Sites for the Italian Near-Surface Repository
by
Giambattista Guidi, Anna Carmela Violante and Francesca Romana Macioce
J. Nucl. Eng. 2025, 6(4), 39; https://doi.org/10.3390/jne6040039 - 26 Sep 2025
Abstract
►▼
Show Figures
The selection of suitable sites for the disposal of radioactive waste constitutes a critical component of nuclear waste management. This study presents an original methodological proposal based on the Analytic Hierarchy Process (AHP), designed to support early-stage site screening for a near-surface repository
[...] Read more.
The selection of suitable sites for the disposal of radioactive waste constitutes a critical component of nuclear waste management. This study presents an original methodological proposal based on the Analytic Hierarchy Process (AHP), designed to support early-stage site screening for a near-surface repository in Italy. AHP could be used to identify appropriate locations, focusing on 51 areas that have already undergone a preliminary screening phase. These areas, included in the National Map of Suitable Areas (CNAI), were selected as they fulfill all the technical requirements (geological, geomorphological, and hydraulic stability) necessary to ensure the safety performance of the engineering structures to be implemented through multiple artificial barriers, as specified in Technical Guide N. 29. The proposed methodology is applicable in cases where multiple sites listed in the CNAI have been identified as potential candidates for hosting the repository. A panel of 20 multidisciplinary experts, including engineers, environmental scientists, sociologists, and economists, evaluated two environmental, two economic, and two social criteria not included among the criteria outlined in Technical Guide N. 29. Pairwise comparisons were aggregated using the geometric mean, and consistency ratios (CRs) were calculated to ensure the coherence of expert judgements. Results show that social criteria received the highest overall weight (0.53), in particular the “degree of site acceptability”, followed by environmental (0.28) and economic (0.19) criteria. While the method does not replace detailed site investigations (which will nevertheless be carried out once the site has been chosen), it can facilitate the early identification of promising areas and guide future engagement with local communities. The approach is reproducible, adaptable to additional criteria or national requirements, and may be extended to other countries facing similar nuclear waste management challenges.
Full article

Graphical abstract
Open AccessArticle
Preliminary Experimental Validation of Single-Phase Natural Circulation Loop Based on RELAP5-3D Code: Part I
by
Hossam H. Abdellatif, Joshua Young, David Arcilesi and Richard Christensen
J. Nucl. Eng. 2025, 6(3), 38; https://doi.org/10.3390/jne6030038 - 19 Sep 2025
Abstract
The molten salt reactor (MSR) is a prominent Generation IV nuclear reactor concept that offers substantial advantages over conventional solid-fueled systems, including enhanced fuel utilization, inherent passive safety features, and significant reductions in long-lived radioactive waste. Central to its safety strategy is a
[...] Read more.
The molten salt reactor (MSR) is a prominent Generation IV nuclear reactor concept that offers substantial advantages over conventional solid-fueled systems, including enhanced fuel utilization, inherent passive safety features, and significant reductions in long-lived radioactive waste. Central to its safety strategy is a reliance on natural circulation (NC) mechanisms, which eliminate the need for active pumping systems and enhance system reliability during normal and off-normal conditions. However, the challenges associated with molten salts, such as their high melting points, corrosivity, and material compatibility issues, render experimental investigations inherently complex and demanding. Therefore, the use of high-Pr-number surrogate fluids represents a practical alternative for studying molten salt behavior under safer and more accessible experimental conditions. In this study, a single-phase natural circulation loop setup at the University of Idaho’s Thermal–Hydraulics Laboratory was employed to investigate NC behavior under various operating conditions. The RELAP5-3D code was initially validated against water-based experiments before employing Therminol-66, a high-Prandtl-number surrogate for molten salts, in the natural circulation loop for the first time. The RELAP5-3D results demonstrated good agreement with both steady-state and transient experimental results, thereby confirming the code’s ability to model NC behavior in a single-phase flow regime. The results also highlighted certain experimental limitations that should be addressed to enhance the NC loop’s performance. These include increasing the insulation thickness to reduce heat losses, incorporating a dedicated mass flow measurement device for improved accuracy, and replacing the current heater with a higher-capacity unit to enable testing at elevated power levels. By identifying and addressing the main causes of these limitations and uncertainties during water-based experiments, targeted improvements can be implemented in both the RELAP5 model and the experimental setup, thereby ensuring that tests using a surrogate fluid for MSR analyses are conducted with higher accuracy and minimal uncertainty.
Full article
(This article belongs to the Special Issue Advances in Thermal Hydraulics of Nuclear Power Plants)
►▼
Show Figures

Figure 1
Open AccessArticle
Initiating Event Frequencies for Internal Flooding and High-Energy Line Break PRAs
by
Karl N. Fleming, Bengt O. Y. Lydell, Mary Presley, Ali Mosleh and Wadie Chalgham
J. Nucl. Eng. 2025, 6(3), 37; https://doi.org/10.3390/jne6030037 - 16 Sep 2025
Abstract
Utilities that operate nuclear power plants are increasingly using probabilistic risk assessments (PRAs) to make day-to-day decisions on design, operations, and maintenance and to support risk-informed applications. These applications require high-quality and complete PRAs to ensure that the decisions and proposed changes are
[...] Read more.
Utilities that operate nuclear power plants are increasingly using probabilistic risk assessments (PRAs) to make day-to-day decisions on design, operations, and maintenance and to support risk-informed applications. These applications require high-quality and complete PRAs to ensure that the decisions and proposed changes are technically well-founded. Such PRAs include the modeling and quantification of PRA models for accident sequences initiated by internal floods and high-energy line breaks. To support PRA updates and upgrades for such sequences, the Electric Power Research Institute (EPRI) has sponsored ongoing research to develop and refine guidance and generic data that can be used to estimate initiating event frequencies for internal flood- and high-energy line break-induced accident sequences. In 2023, EPRI published the fifth revision of a generic database for these initiating event frequencies. This revision produced advancements in the methodology for passive component reliability, including the quantification of aging effects on pipe rupture frequencies and the capability to adjust these frequencies to account for enhancements to integrity management strategies associated with leak inspections and non-destructive examinations. The purpose of this paper is to present these enhancements and illustrate their application with selected examples.
Full article
(This article belongs to the Special Issue Probabilistic Safety Assessment and Management of Nuclear Facilities)
►▼
Show Figures

Figure 1
Open AccessReview
Assessment of Volatile Radionuclide Release in the ALFRED Lead-Cooled Fast Reactor
by
Ana Ivan, Mariano Tarantino, Mărioara Abrudeanu, Daniela Diaconu and Daniela Gugiu
J. Nucl. Eng. 2025, 6(3), 36; https://doi.org/10.3390/jne6030036 - 13 Sep 2025
Abstract
►▼
Show Figures
This study reviews the release potential of volatile radionuclides in the ALFRED reactor, providing data for source-term evaluations under both normal and postulated accident conditions. Using empirical Henry’s law relations and radionuclide inventories, the equilibrium partial pressures and maximum gas phase concentrations of
[...] Read more.
This study reviews the release potential of volatile radionuclides in the ALFRED reactor, providing data for source-term evaluations under both normal and postulated accident conditions. Using empirical Henry’s law relations and radionuclide inventories, the equilibrium partial pressures and maximum gas phase concentrations of activation and fission products were estimated. Results indicate that mercury, cadmium, and tellurium exhibit the highest volatility under normal operation, with more than 99.995% of radionuclides retained in the liquid lead. Polonium, despite its lower volatility, remains a critical safety concern due to its high radiotoxicity. Under elevated temperatures, such as those in an unprotected loss-of-flow (ULOF) scenario, increased release rates for volatile species are expected. In accident conditions involving a defective fuel assembly, fission products, including iodine, caesium, and noble gases, significantly contribute to the gas-phase radiological source term. These findings confirm the essential role of continuous cover gas monitoring and efficient purification systems in maintaining reactor safety.
Full article

Figure 1
Open AccessArticle
A Bayesian Approach for Designing Experiments Based on Information Criteria to Reduce Epistemic Uncertainty of Fuel Fracture During Loss-of-Coolant Accidents
by
Shusuke Hamaguchi, Takafumi Narukawa and Takashi Takata
J. Nucl. Eng. 2025, 6(3), 35; https://doi.org/10.3390/jne6030035 - 1 Sep 2025
Abstract
In probabilistic risk assessment (PRA), the fracture limit of fuel cladding tubes under loss-of-coolant accident conditions plays a critical role in determining the core damage, highlighting the need for accurate modeling of cladding tube fracture behavior. However, for high-burnup cladding tubes, it is
[...] Read more.
In probabilistic risk assessment (PRA), the fracture limit of fuel cladding tubes under loss-of-coolant accident conditions plays a critical role in determining the core damage, highlighting the need for accurate modeling of cladding tube fracture behavior. However, for high-burnup cladding tubes, it is often infeasible to conduct extensive experiments due to limited material availability, high costs, and technical constraints. These limitations make it difficult to acquire sufficient data, leading to substantial epistemic uncertainty in fracture modeling. To enhance the realism of PRA results under such constraints, it is essential to develop methods that can effectively reduce epistemic uncertainty using limited experimental data. In this study, we propose a Bayesian approach for designing experimental conditions based on a widely applicable information criterion (WAIC) in order to effectively reduce the uncertainty in the prediction of fuel cladding tube fracture with limited data. We conduct numerical experiments to evaluate the effectiveness of the proposed method in comparison with conventional approaches based on empirical loss and functional variance. Two cases are considered: one where the true and predictive models share the same mathematical structure (Case 1) and one where they differ (Case 2). In Case 1, the empirical loss-based design performs best when the number of added data points is fewer than approximately 10. In Case 2, the WAIC-based design consistently achieves the lowest Bayes generalization loss, demonstrating superior robustness in situations where the true model is unknown. These results indicate that the proposed method enables more informative experimental designs on average and contributes to the effective reduction in epistemic uncertainty in practical applications.
Full article
(This article belongs to the Special Issue Probabilistic Safety Assessment and Management of Nuclear Facilities)
►▼
Show Figures

Figure 1
Open AccessArticle
Characterization and Selection of Metakaolin for Reproducible Geopolymer Matrices: A Thermal Evolution Approach
by
Marino Corrado, Francesca Crivelli, Silvio Cao and Laura Savoldi
J. Nucl. Eng. 2025, 6(3), 34; https://doi.org/10.3390/jne6030034 - 20 Aug 2025
Abstract
►▼
Show Figures
The HYPEX® process is a novel method for conditioning spent ion exchange resins from nuclear power plants, aiming to reduce final waste volume and carbon emissions by stabilizing the resins in metakaolin-based geopolymers. This study addresses the challenge posed by the natural
[...] Read more.
The HYPEX® process is a novel method for conditioning spent ion exchange resins from nuclear power plants, aiming to reduce final waste volume and carbon emissions by stabilizing the resins in metakaolin-based geopolymers. This study addresses the challenge posed by the natural variability of commercial metakaolin and defines a testing strategy to ensure consistent performance of the final matrix. The reactivity of two batches of metakaolin, characterized by comparable chemical composition and BET surface area, was evaluated by monitoring temperature evolution during geopolymerization at varying water-to-solid ratios. The resulting geopolymers were tested for compressive strength, water permeability, and strontium leachability to assess correlations between precursor properties and final matrix performance. Despite similar compositions, the two batches showed marked differences in compressive strength that could be linked to early thermal behavior. These findings demonstrate that conventional precursor characterization is insufficient to guarantee reproducibility and that thermal profiling is useful to predict mechanical performance. The results suggest the implementation of thermal response monitoring as a quality control tool to ensure the reliability of geopolymer wasteforms in nuclear applications. A simplified analytical model for the thermal evolution during geopolymerization was also developed, matching qualitatively the measured evolution, to suggest scale-up rules from laboratory specimens to full-scale drums, which should be achieved while preserving the thermal evolution.
Full article

Figure 1
Open AccessArticle
Feasibility of an Active Interrogation System to Classify Waste with He-4 Neutron Spectroscopy
by
Andrew Politz, Paolo Tancioni, Oskar Searfus, Eric Aboud, Kelly Jordan and Daniel Siefman
J. Nucl. Eng. 2025, 6(3), 33; https://doi.org/10.3390/jne6030033 - 18 Aug 2025
Abstract
This work investigates a 4He-detector active interrogation system that leverages neutron spectroscopy to classify nuclear waste streams. MCNP models tested the concept through the simulation of a D-D neutron generator, an array of 4He detectors, and various waste compositions. The fast-neutron
[...] Read more.
This work investigates a 4He-detector active interrogation system that leverages neutron spectroscopy to classify nuclear waste streams. MCNP models tested the concept through the simulation of a D-D neutron generator, an array of 4He detectors, and various waste compositions. The fast-neutron Differential Die-Away signature was augmented with a neutron-energy discrimination signature. This signature isolates induced fission neutrons, the energy of which is greater than that of the D-D monoenergetic spectrum. With the incorporation of this spectroscopic technique, the measurement time decreased by 3–9% (depending on the degree of neutron moderation and absorption presented by the sample), demonstrating how neutron spectroscopy can enhance active interrogation methods. The reduced measurement times would have significant financial and logistical benefits for facilities with large footprints of low-level waste production.
Full article
(This article belongs to the Topic Nondestructive Testing and Evaluation)
►▼
Show Figures

Graphical abstract
Open AccessArticle
Validation of the New TLANESY Thermal–Hydraulic Code with Data from the QUENCH-01 Experiment
by
Nahum Contreras-Pérez, Heriberto Sánchez-Mora, Sergio Quezada-García, Armando Miguel Gómez Torres and Ricardo Isaac Cázares Ramírez
J. Nucl. Eng. 2025, 6(3), 32; https://doi.org/10.3390/jne6030032 - 12 Aug 2025
Abstract
Hydrogen generation and the correct simulation of severe accidents have been of utmost importance since the Fukushima Dai-ichi accident. QUENCH experiments are quite useful for validating mathematical models implemented in system codes for early-phase severe accidents, where hydrogen generation, fuel rod temperature, and
[...] Read more.
Hydrogen generation and the correct simulation of severe accidents have been of utmost importance since the Fukushima Dai-ichi accident. QUENCH experiments are quite useful for validating mathematical models implemented in system codes for early-phase severe accidents, where hydrogen generation, fuel rod temperature, and their deterioration during these conditions are of vital importance. This paper presents a new system code, TLANESY, designed for the simulation of thermal–hydraulic systems with two-phase flow (mainly water) and with application in the analysis of severe accidents during the early phase. The computational implementation consists of fast-running numerical methods and their validation with experimental data from the QUENCH-01 experiment. The results showed an error with respect to the total hydrogen generation of approximately 0.6%. A stand-alone sensitivity analysis was also performed with some parameters related to the cladding, where it was shown that variation in the thermal conductivity by 15% can alter the total hydrogen generation by up to 5%, indicating that impurities in this material can have a significant impact on this Figure of Merit.
Full article
(This article belongs to the Special Issue Validation of Code Packages for Light Water Reactor Physics Analysis)
►▼
Show Figures

Figure 1
Open AccessArticle
Applying Machine Learning Algorithms to Classify Digitized Special Nuclear Material Obtained from Scintillation Detectors
by
Sai Kiran Kokkiligadda, Cathleen Barker, Emily Gunger, Jalen Johnson, Brice Turner and Andreas Enqvist
J. Nucl. Eng. 2025, 6(3), 31; https://doi.org/10.3390/jne6030031 - 11 Aug 2025
Abstract
►▼
Show Figures
The capability to discriminate among nuclear fuel properties is essential for a successful nuclear safeguard and security program. Accurate nuclear material identification is hindered due to challenges such as differing levels of enrichments, weak radiation signals in the case of fresh nuclear fuel,
[...] Read more.
The capability to discriminate among nuclear fuel properties is essential for a successful nuclear safeguard and security program. Accurate nuclear material identification is hindered due to challenges such as differing levels of enrichments, weak radiation signals in the case of fresh nuclear fuel, and complex self-shielding effects. This study explores the application of supervised machine learning algorithms to digitized radiation detector data for classifying signatures of special nuclear materials. Three scintillation detectors, an EJ-309 liquid scintillator, a CLYC crystal scintillator, and an EJ-276 plastic scintillator, were used to measure gamma-ray and neutron data from special nuclear material at the National Criticality Experiments Research Center (NCERC) at the National Nuclear Security Site (NNSS), at Nevada, USA. Radiation detector pulse data was extracted from the collected digitized data and applied to three separate supervised learning models: Random Forest, XGBoost, and a feedforward Deep Neural Network, chosen for their wide-spread use and distinct data ingest and processing analytics. Through model refinement, such as adding an additional parameter feature, an accuracy of greater than 95% was achieved. Analysis on model parameter feature importance revealed Countrate, which is the overall gamma-ray and neutron incidents for each detector, was the most influential parameter and essential to include for improved classification. Initial model versions not including the Countrate parameter feature failed to classify. Supervised learning models allow for measured gamma-ray and neutron pulse data to be used to develop effective identification and discrimination between material compositions of different fuel assemblies. The study demonstrated that traditional pulse shape parameters alone were insufficient for discriminating between special nuclear materials; the addition of Countrate markedly improved model accuracy but all models were heavily dependent on this specific feature, thus illustrating the need for alternative, more distinct parameter features. The machine learning development framework captured in this study will be beneficial for future applications in discriminating between different fuel enrichments and additives such as burnable poisons.
Full article

Figure 1
Open AccessArticle
Benchmark Comparison of the Oregon State TRIGA® Reactor Between MCNP® and Serpent 2
by
Tyler Law, Tracey Spoerer and Steven Reese
J. Nucl. Eng. 2025, 6(3), 30; https://doi.org/10.3390/jne6030030 - 7 Aug 2025
Abstract
►▼
Show Figures
The results of a recently developed Serpent 2 model of the Oregon State TRIGA® Reactor (OSTR) are compared to the results from the OSTR MCNP® model and measured values for reactor steady state behavior. This benchmark comparison is performed using fresh
[...] Read more.
The results of a recently developed Serpent 2 model of the Oregon State TRIGA® Reactor (OSTR) are compared to the results from the OSTR MCNP® model and measured values for reactor steady state behavior. This benchmark comparison is performed using fresh fuel isotopic data and measured reactivity values at the beginning of the current core life in 2008 to negate burnup uncertainties in calculated values. Reactivity bias, integral control rod reactivity worths, core excess reactivity, shutdown margin, the fuel temperature coefficient of reactivity, and kinetic parameters calculated by Serpent 2 and MCNP® are compared to the measured values. The results from the Serpent 2 model strongly agree with both MCNP® results and measured values and are within one standard deviation of each other in all cases, with the exception of the Serpent 2 calculated total control rod reactivity worth, which slightly under-predicts the total rod worth when compared to the measured value despite the MCNP® and Serpent 2 calculated total rod worth values being within each other’s 1 standard deviations.
Full article

Figure 1
Open AccessArticle
Spent Nuclear Fuel—Waste to Resource, Part 1: Effects of Post-Reactor Cooling Time and Novel Partitioning Strategies in Advanced Reprocessing on Highly Active Waste Volumes in Gen III(+) UOx Fuel Systems
by
Alistair F. Holdsworth, Edmund Ireland and Harry Eccles
J. Nucl. Eng. 2025, 6(3), 29; https://doi.org/10.3390/jne6030029 - 5 Aug 2025
Abstract
►▼
Show Figures
Some of nuclear power’s primary detractors are the unique environmental challenges and impacts of radioactive wastes generated during fuel cycle operations. Key benefits of spent fuel reprocessing (SFR) are reductions in primary high active waste (HAW) masses, volumes, and lengths of radiotoxicity at
[...] Read more.
Some of nuclear power’s primary detractors are the unique environmental challenges and impacts of radioactive wastes generated during fuel cycle operations. Key benefits of spent fuel reprocessing (SFR) are reductions in primary high active waste (HAW) masses, volumes, and lengths of radiotoxicity at the expense of secondary waste generation and high capital and operational costs. By employing advanced waste management and resource recovery concepts in SFR beyond the existing standard PUREX process, such as minor actinide and fission product partitioning, these challenges could be mitigated, alongside further reductions in HAW volumes, masses, and duration of radiotoxicity. This work assesses various current and proposed SFR and fuel cycle options as base cases, with further options for fission product partitioning of the high heat radionuclides (HHRs), rare earths, and platinum group metals investigated. A focus on primary waste outputs and the additional energy that could be generated by the reprocessing of high-burnup PWR fuel from Gen III(+) reactors using a simple fuel cycle model is used; the effects of 5- and 10-year spent fuel cooling times before reprocessing are explored. We demonstrate that longer cooling times are preferable in all cases except where short-lived isotope recovery may be desired, and that the partitioning of high-heat fission products (Cs and Sr) could allow for the reclassification of traditional raffinates to intermediate level waste. Highly active waste volume reductions approaching 50% vs. PUREX raffinate could be achieved in single-target partitioning of the inactive and low-activity rare earth elements, and the need for geological disposal could potentially be mitigated completely if HHRs are separated and utilised.
Full article

Figure 1
Highly Accessed Articles
Latest Books
E-Mail Alert
News
Topics
Topic in
J. Imaging, JNE, NDT, Radiation, Buildings, Applied Sciences
Nondestructive Testing and Evaluation
Topic Editors: Youngseok Lee, Ho Kyung Kim, Zheng TongDeadline: 31 May 2026
Special Issues
Special Issue in
JNE
Advances in Thermal Hydraulics of Nuclear Power Plants
Guest Editors: Milica Ilic, Piyush SabharwallDeadline: 31 December 2025
Special Issue in
JNE
Artificial Intelligence, Meta-Modelling, Digital Twins and Advanced Simulation for the Safety Analysis of Nuclear Systems
Guest Editors: Enrico Zio, Ibrahim AhmedDeadline: 28 February 2026
Special Issue in
JNE
Progress on Fusion Science and Technology
Guest Editor: Doo-Hee ChangDeadline: 31 March 2026


