A Network Attack Surface Evaluation Method Based on Optimal Attack Strategy
Abstract
1. Introduction
2. Related Work
2.1. Network Attack Surface
2.2. Intelligent Optimization Algorithms
3. Methodology
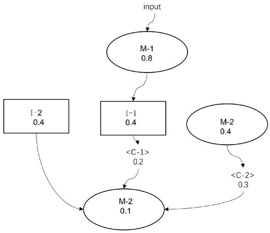
3.1. Information System Network Attack Surface
3.2. Evaluate Network Attack Surface
3.2.1. The Network Security Evaluation Framework for Information Systems
Filter Network Resources
| Algorithm 1 Optimization algorithm based on AOA framework. |
|
Network Attack Surface Calculation
4. Experiment and Discussion
4.1. Experiment Setup
4.1.1. Dataset Description
4.1.2. Baseline Algorithms
4.1.3. Evaluation Measure
4.2. Results and Discussion
4.2.1. Comparison Between Methods
4.2.2. Performance of Different Optimization Modules
4.2.3. Parameter Analysis
5. Conclusions
Author Contributions
Funding
Institutional Review Board Statement
Informed Consent Statement
Data Availability Statement
Conflicts of Interest
References
- Zuo, J.; Guo, Z.; An, T.; Xu, Z.; Lu, Y. A Security Resilience Metric Framework Based on the Evolution of Attack and Defense Scenarios. IEEE Internet Things J. 2023, 10, 17007–17021. [Google Scholar] [CrossRef]
- Zhaojun, G.; Rui, Y.; He, S. System Attack Surface Modeling Method in Network. Netinfo Secur. 2022, 22, 29–38. [Google Scholar]
- Xuan, Z.; Hongzhi, L.; Tong, L.; Jing, X.; Qianru, Z.; Ye, Q. Software security measurement based on information entropy and attack surface. J. Comput. Appl. 2013, 33, 19–22, 44. [Google Scholar]
- Lian Xinke, Y.Q. Security Evaluation System based on Attack Surface. Commun. Technol. 2020, 53, 2567–2572. [Google Scholar]
- Howard, M.; Pincus, J.; Wing, J.M. Measuring Relative Attack Surfaces; Springer: Boston, MA, USA, 2005; pp. 109–137. [Google Scholar]
- Theisen, C.; Herzig, K.; Murphy, B.; Williams, L. Risk-based attack surface approximation: How much data is enough? In Proceedings of the 2017 IEEE/ACM 39th International Conference on Software Engineering: Software Engineering in Practice Track (ICSE-SEIP), Buenos Aires, Argentina, 20–28 May 2017. [Google Scholar]
- Manadhata, P.K.; Tan, K.M.C.; Maxion, R.A. An Approach to Measuring A System’s Attack Surface; US Army Research Office (ARO): Durham, NC, USA, 2007. [Google Scholar]
- Kurmus, A.; Tartler, R.; Dorneanu, D.; Heinloth, B.; Rothberg, V.; Ruprecht, A.; Schroder-Preikschat, W.; Lohmann, D.; Kapitza, R. Attack Surface Metrics and Automated Compile-Time OS Kernel Tailoring; NDSS: San Diego, CA, USA, 2013. [Google Scholar]
- Peng, W.; Li, F.; Huang, C.T.; Zou, X. A moving-target defense strategy for Cloud-based services with heterogeneous and dynamic attack surfaces. In Proceedings of the 2014 IEEE International Conference on Communications (ICC), Sydney, NSW, Australia, 10–14 June 2014. [Google Scholar]
- Chris Foreman, J.; Gurugubelli, D. Identifying the Cyber Attack Surface of the Advanced Metering Infrastructure. Electr. J. 2015, 28, 94–103. [Google Scholar] [CrossRef]
- Sun, K.; Jajodia, S. Protecting Enterprise Networks through Attack Surface Expansion. In Proceedings of the 2014 Workshop on Cyber Security Analytics, Intelligence and Automation, Scottsdale, AZ, USA, 3 November 2014. [Google Scholar]
- Cybenko, G.; Jajodia, S.; Wellman, M.P.; Liu, P. Adversarial and Uncertain Reasoning for Adaptive Cyber Defense: Building the Scientific Foundation. In Proceedings of the International Conference on Information Systems Security, Hyderabad, India, 16–20 December 2014. [Google Scholar]
- Bopche, G.S.; Mehtre, B.M. Graph similarity metrics for assessing temporal changes in attack surface of dynamic networks. Comput. Secur. 2017, 64, 16–43. [Google Scholar] [CrossRef]
- Zhuang, R.; Zhang, S.; Deloach, S.A.; Ou, X.; Singhal, A. Simulation-based Approaches to Studying Effectiveness of Moving-Target Network Defense. In Proceedings of the National Symposium on Moving Target Research, Annapolis, MD, USA, 11 June 2013. [Google Scholar]
- Li, P.; Ye, D. Vulnerability Analysis of Distributed State Estimator Under False Data Injection Attacks. IEEE Trans. Inf. Forensics Secur. 2024, 19, 5235–5244. [Google Scholar] [CrossRef]
- Li, J.; Zhou, H.; Wu, S.; Luo, X.; Wang, T.; Zhan, X.; Ma, X. FOAP: Fine-Grained Open-World Android App Fingerprinting. In Proceedings of the 31st USENIX Security Symposium, USENIX Security 2022, Boston, MA, USA, 10–12 August 2022; Butler, K.R.B., Thomas, K., Eds.; USENIX Association: Berkeley, CA, USA, 2022; pp. 1579–1596. [Google Scholar]
- Ni, T.; Lan, G.; Wang, J.; Zhao, Q.; Xu, W. Eavesdropping Mobile App Activity via Radio-Frequency Energy Harvesting. In Proceedings of the 32nd USENIX Security Symposium, USENIX Security 2023, Anaheim, CA, USA, 9–11 August 2023; Calandrino, J.A., Troncoso, C., Eds.; USENIX Association: Berkeley, CA, USA, 2023; pp. 3511–3528. [Google Scholar]
- Younis, A.A.; Malaiya, Y.K. Relationship between attack surface and vulnerability density: A case study on apache http server. In Proceedings of the ICOMP’12, The 2012 International Conference on Internet Computing, Las Vegas, NV, USA, 12–15 July 2012. [Google Scholar]
- Tran, A.D.; Yskout, K.; Joosen, W. AndrAS: Automated Attack Surface Extraction for Android Applications. In Proceedings of the 2023 IEEE 23rd International Conference on Software Quality, Reliability, and Security (QRS), Chiang Mai, Thailand, 22–26 October 2023. [Google Scholar]
- Dovgalyuk, P.; Klimushenkova, M.; Fursova, N.; Vasiliev, I.; Stepanov, V. Natch: Detecting Attack Surface for Multi-Service Systems with Hybrid Introspection. In Proceedings of the 2023 IEEE 23rd International Conference on Software Quality, Reliability, and Security Companion (QRS-C), Chiang Mai, Thailand, 22–26 October 2023; pp. 176–185. [Google Scholar]
- Sunkavilli, S.; Zhang, Z.; Yu, Q. Analysis of Attack Surfaces and Practical Attack Examples in Open Source FPGA CAD Tools. In Proceedings of the 2021 22nd International Symposium on Quality Electronic Design (ISQED), Santa Clara, CA, USA, 7–9 April 2021. [Google Scholar]
- Fursova, N.; Dovgalyuk, P.; Vasiliev, I.; Klimushenkova, M.; Egorov, D. Detecting Attack Surface With Full-System Taint Analysis. In Proceedings of the 2021 IEEE 21st International Conference on Software Quality, Reliability and Security Companion (QRS-C), Hainan, China, 6–10 December 2021; pp. 1161–1162. [Google Scholar]
- Zhang, Q.; Wu, B.; Zheng, M.; Ni, L.; Xue, B. IoT Device Attack Surface Feature Identification using Differentiated Dynamic Monitoring. In Proceedings of the 2022 IEEE 5th International Conference on Automation, Electronics and Electrical Engineering (AUTEEE), Shenyang, China, 18–20 November 2022; pp. 435–440. [Google Scholar]
- Bopche, G.S.; Tiwari, D.; Rai, G.N. Boolean Similarity Measure for Assessing Temporal Variation in the Network Attack Surface. In Proceedings of the 2023 15th International Conference on COMmunication Systems & NETworkS (COMSNETS), Bangalore, India, 3–8 January 2023; pp. 31–36. [Google Scholar]
- Wang, W.; Lin, X.; Wang, J.; Gao, W.; Gu, D.; Lv, W.; Wang, J. HODOR: Shrinking Attack Surface on Node.js via System Call Limitation. In Proceedings of the 2023 ACM SIGSAC Conference on Computer and Communications Security, Copenhagen, Denmark, 26–30 November 2023; pp. 2800–2814. [Google Scholar]
- Everson, D.; Cheng, L. A Survey on Network Attack Surface Mapping. Digit. Threat. 2024, 5, 1–25. [Google Scholar] [CrossRef]
- Huang, F.; Guo, W.; Zhao, H. AGV Path Planning Based on Improved Genetic Algorithm. In Proceedings of the 2022 International Conference on Artificial Intelligence and Computer Information Technology (AICIT), Yichang, China, 16–18 September 2023; pp. 327–332. [Google Scholar]
- Jiao, F.; Tao, L.; Nanjiang, D.; Rui, W. Multi-objective UAV Path Planning Based on an Improved NGSA-II Algorithm. Fire Control Command. Control 2022, 47, 43–48, 55. [Google Scholar]
- Chai, X.; Zheng, Z.; Xiao, J.; Yan, L.; Qu, B.; Wen, P.; Wang, H.; Zhou, Y.; Sun, H. Multi-strategy fusion differential evolution algorithm for UAV path planning in complex environment. Aerosp. Sci. Technol. 2022, 121, 107287. [Google Scholar] [CrossRef]
- Krell, E.; King, S.A.; Garcia, C.L.R. Autonomous Surface Vehicle energy-efficient and reward-based path planning using Particle Swarm Optimization and Visibility Graphs. Appl. Ocean. Res. 2022, 122, 103125. [Google Scholar] [CrossRef]
- Pierezan, J.; Coelho, L.D.S. Coyote Optimization Algorithm: A New Metaheuristic for Global Optimization Problems. In Proceedings of the 2018 IEEE Congress on Evolutionary Computation (CEC), Rio de Janeiro, Brazil, 8–13 July 2018. [Google Scholar]
- Chen, D.; Meng, X. UAV offline path planning based on self-adaptive coyote optimization algorithm. Xi Tong Gong Cheng Yu Dian Zi Ji Shu/Syst. Eng. Electron. 2022, 44, 603–611. [Google Scholar]
- Abualigah, L.; Diabat, A.; Mirjalili, S.; Abd Elaziz, M.; Gandomi, A.H. The Arithmetic Optimization Algorithm. In Computer Methods in Applied Mechanics and Engineering; Elsevier: Amsterdam, The Netherlands, 2021; Volume 376. [Google Scholar]
- Zhang, Y.; Jin, Z. Group teaching optimization algorithm: A novel metaheuristic method for solving global optimization problems. Expert Syst. Appl. 2020, 148, 113246. [Google Scholar] [CrossRef]
- Nobahari, H.; Eqra, N.; Bighashdel, A. Real Estate Market-Based Optimization Algorithm (REMARK): A market-inspired metaheuristic optimization algorithm based on the law of supply and demand. J. Ambient. Intell. Humaniz. Comput. 2023, 14, 12387–12405. [Google Scholar] [CrossRef]
- Yuan, Y.; Ren, J.; Wang, S.; Wang, Z.; Mu, X.; Zhao, W. Alpine skiing optimization: A new bio-inspired optimization algorithm. Adv. Eng. Softw. 2022, 170, 103158. [Google Scholar] [CrossRef]
- Yuan, Y.; Shen, Q.; Wang, S.; Ren, J.; Yang, D.; Yang, Q.; Fan, J.; Mu, X. Coronavirus Mask Protection Algorithm: A New Bio-inspired Optimization Algorithm and Its Applications. J. Bionic Eng. 2023, 20, 1747–1765. [Google Scholar] [CrossRef]
- Seyyedabbasi, A.; Kiani, F. Sand Cat swarm optimization: A nature-inspired algorithm to solve global optimization problems. Eng. Comput. 2023, 39, 2627–2651. [Google Scholar] [CrossRef]
- Jia, H.; Zhang, J.; Rao, H.; Abualigah, L. Improved sandcat swarm optimization algorithm for solving global optimum problems. Artif. Intell. Rev. 2025, 58, 5. [Google Scholar] [CrossRef]
- Pan, J.S.; Nguyen, T.T.; Nguyen, T.D.; Nguyen, T.X.H.; Dao, T.K. An Optimal Power System Operation Planning Based on Enhanced Cuckoo Search Algorithm. In Proceedings of the International Conference on Genetic and Evolutionary Computing, Kaohsiung, Taiwan, 6–8 October 2024; Volume 1145 LNEE, pp. 533–544. [Google Scholar]
- Liang, H.; Pang, A.; Lin, C.; Zhong, J. A Novel Hybrid Binary Bat Algorithm for Global Optimization. Int. J. Swarm Intell. Res. 2024, 15, 1–29. [Google Scholar] [CrossRef]
- Li, H.; Yuan, H.; Zeng, D.; Wu, T.; Wang, Y.; Su, Y.; Zhang, B. Kalman Filter Based Improved Beluga Whale Optimization Algorithm. In Proceedings of the 2023 13th International Conference on Information Science and Technology (ICIST), Cairo, Egypt, 8–14 December 2023; pp. 222–231. [Google Scholar] [CrossRef]
- Xiao-Jing, W.; Lei, X.; Ran, Z.; Xue-Li, W. Global and Local Moth-flame Optimization Algorithm for UAV Formation Path Planning Under Multi-constraints. Int. J. Control Autom. Syst. 2023, 21, 1032–1047. [Google Scholar]
- Khalil, S.M.; Bahsi, H.; Korõtko, T. Threat modeling of industrial control systems: A systematic literature review. Comput. Secur. 2024, 136, 103543. [Google Scholar] [CrossRef]












| Sample Type | E1 | E2 | E3 |
|---|---|---|---|
| Normal | 734 | 711 | 715 |
| DoS | 927 | 858 | 742 |
| R2L | 995 | 754 | 1063 |
| U2R | 152 | 200 | 213 |
| PAT | 1656 | 2421 | 2402 |
| Total Attack Count | 3730 | 4233 | 4420 |
| M | C | I | |
|---|---|---|---|
| Network 1 | 80 | 20 | 600 |
| Network 2 | 200 | 80 | 800 |
| Network 3 | 500 | 200 | 1000 |
| Network 1 | Network 2 | Network 3 | |
|---|---|---|---|
| Genetic algorithm | 0.39 | 0.49 | 0.28 |
| Differential optimization algorithm | 0.34 | 0.47 | 0.53 |
| Particle swarm optimization algorithm | 0.51 | 0.52 | 0.49 |
| Coyote optimization algorithm | 0.68 | 0.35 | 0.37 |
| Arithmetic optimization algorithm | 0.26 | 0.41 | 0.21 |
Disclaimer/Publisher’s Note: The statements, opinions and data contained in all publications are solely those of the individual author(s) and contributor(s) and not of MDPI and/or the editor(s). MDPI and/or the editor(s) disclaim responsibility for any injury to people or property resulting from any ideas, methods, instructions or products referred to in the content. |
© 2025 by the authors. Licensee MDPI, Basel, Switzerland. This article is an open access article distributed under the terms and conditions of the Creative Commons Attribution (CC BY) license (https://creativecommons.org/licenses/by/4.0/).
Share and Cite
Xie, P.; Zhang, L.; Lian, Z.; Yang, J. A Network Attack Surface Evaluation Method Based on Optimal Attack Strategy. Electronics 2025, 14, 274. https://doi.org/10.3390/electronics14020274
Xie P, Zhang L, Lian Z, Yang J. A Network Attack Surface Evaluation Method Based on Optimal Attack Strategy. Electronics. 2025; 14(2):274. https://doi.org/10.3390/electronics14020274
Chicago/Turabian StyleXie, Peng, Lin Zhang, Zhichao Lian, and Jianxin Yang. 2025. "A Network Attack Surface Evaluation Method Based on Optimal Attack Strategy" Electronics 14, no. 2: 274. https://doi.org/10.3390/electronics14020274
APA StyleXie, P., Zhang, L., Lian, Z., & Yang, J. (2025). A Network Attack Surface Evaluation Method Based on Optimal Attack Strategy. Electronics, 14(2), 274. https://doi.org/10.3390/electronics14020274
