A Simple Single-Ended Post-Fault Location Technique for DC Lines Based on Controlled Re-Energizations
Abstract
1. Introduction
- They have shorter lines than HVDC (between 1 and 100 km) systems, which jeopardizes the use of traveling-wave-based methods as wave propagation times are reduced.
- They have higher fault resistances than in LVDC (generally up to 50 Ω), which hinders the use of passive and active impedance-based methods.
- Seamless integration: The fault location method does not require modifications to the DC circuit breaker topology, ensuring integration into any type of breaker technology (mechanical, solid-state, or hybrid). The method does not need any additional electronic component or voltage source for active injection, as the reclosings are fed from the DC bus.
- Novel and simple configuration: The system only requires a single-ended switched grounding resistor and bypass connection through the limiting inductor. The grounding resistor allows us to limit the injected current, avoiding further spikes affecting the system. The bypass connection allows us to leverage the transient response of the faulty equivalent circuit.
- Single-ended and offline: The method eliminates the need for inter-terminal communication. Furthermore, it does not introduce any delays for sampling before disconnecting the line, ensuring rapid fault clearance.
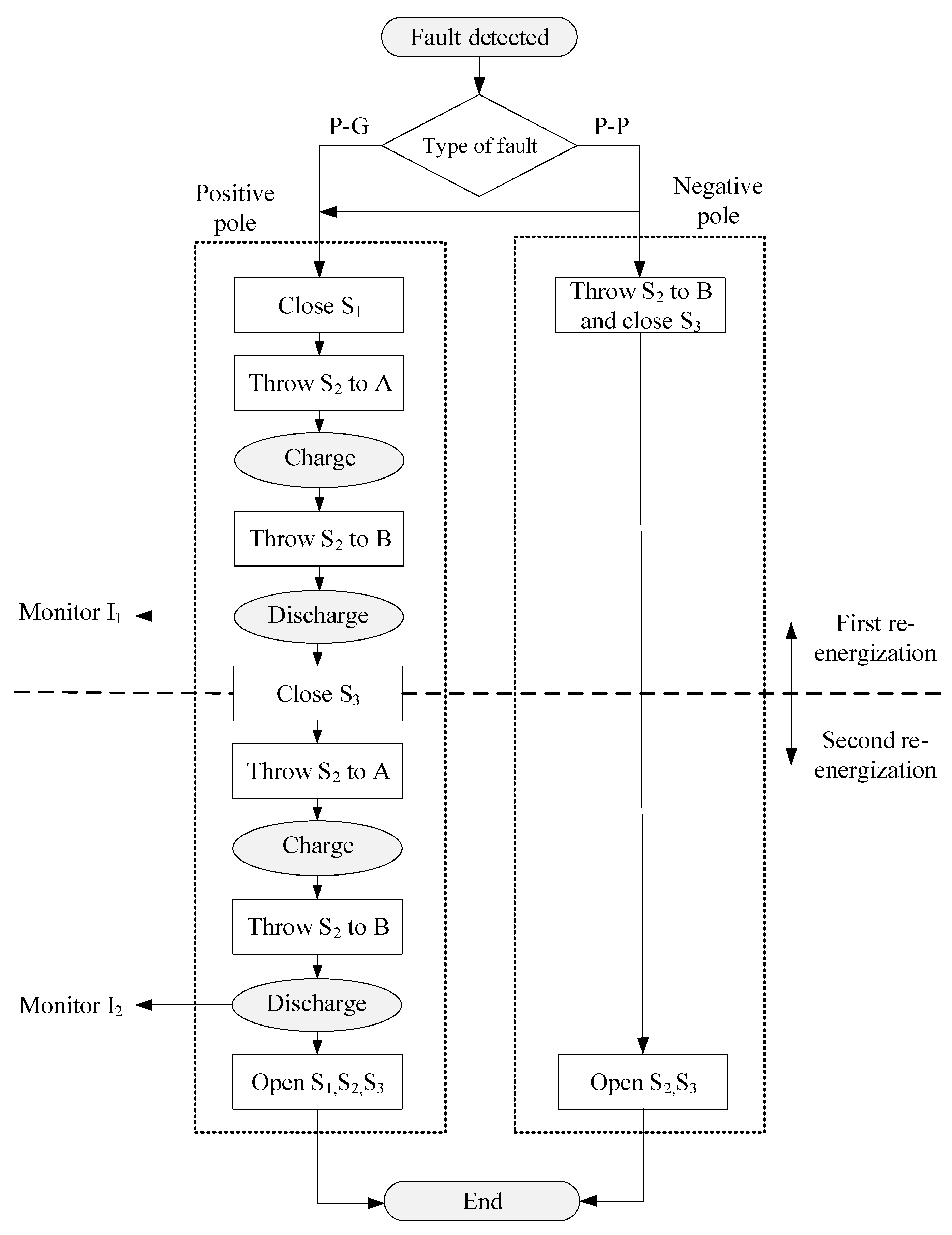
2. Operational Principles of the Proposed Method
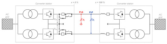
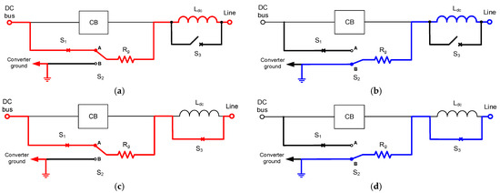
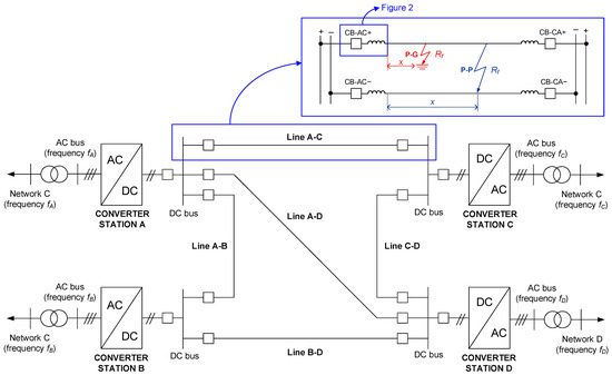
2.1. System Topology and Configuration
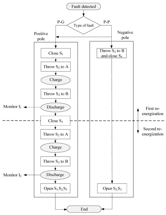
2.2. Location of P-G Faults
2.3. Location of P-P Faults
2.4. Summary and Remarks
2.4.1. Summary
2.4.2. Remarks
- (a)
- The limitation of the energization current (action on Rg).
- (b)
- The prevention of excessively large time constants (action on Rg) and the capture of the longest transient response (action on Δt).
- (c)
- The prevention of excessively short time constants (action on Rg) and sufficient sampling points for the shortest transient response (action on fs).
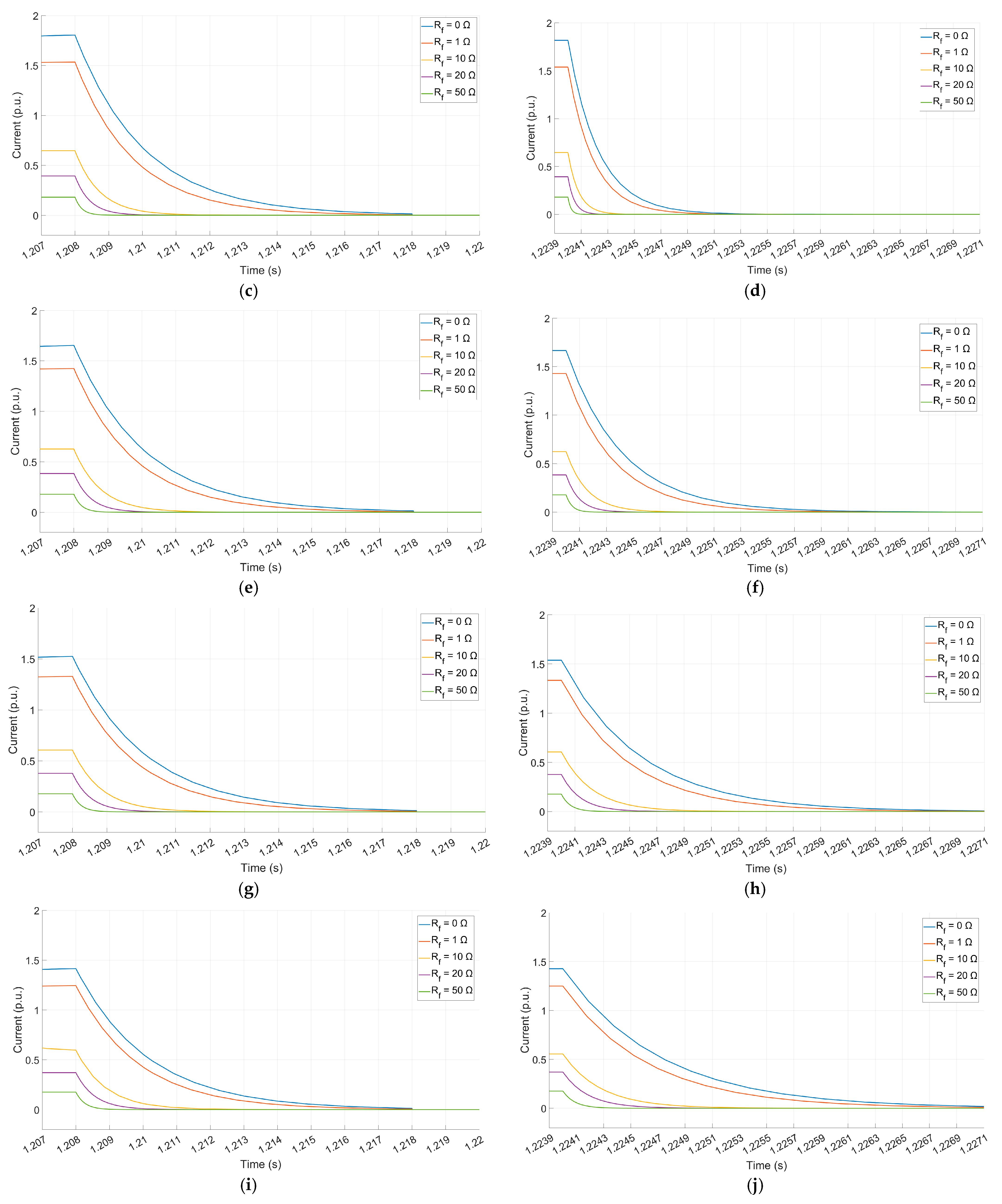
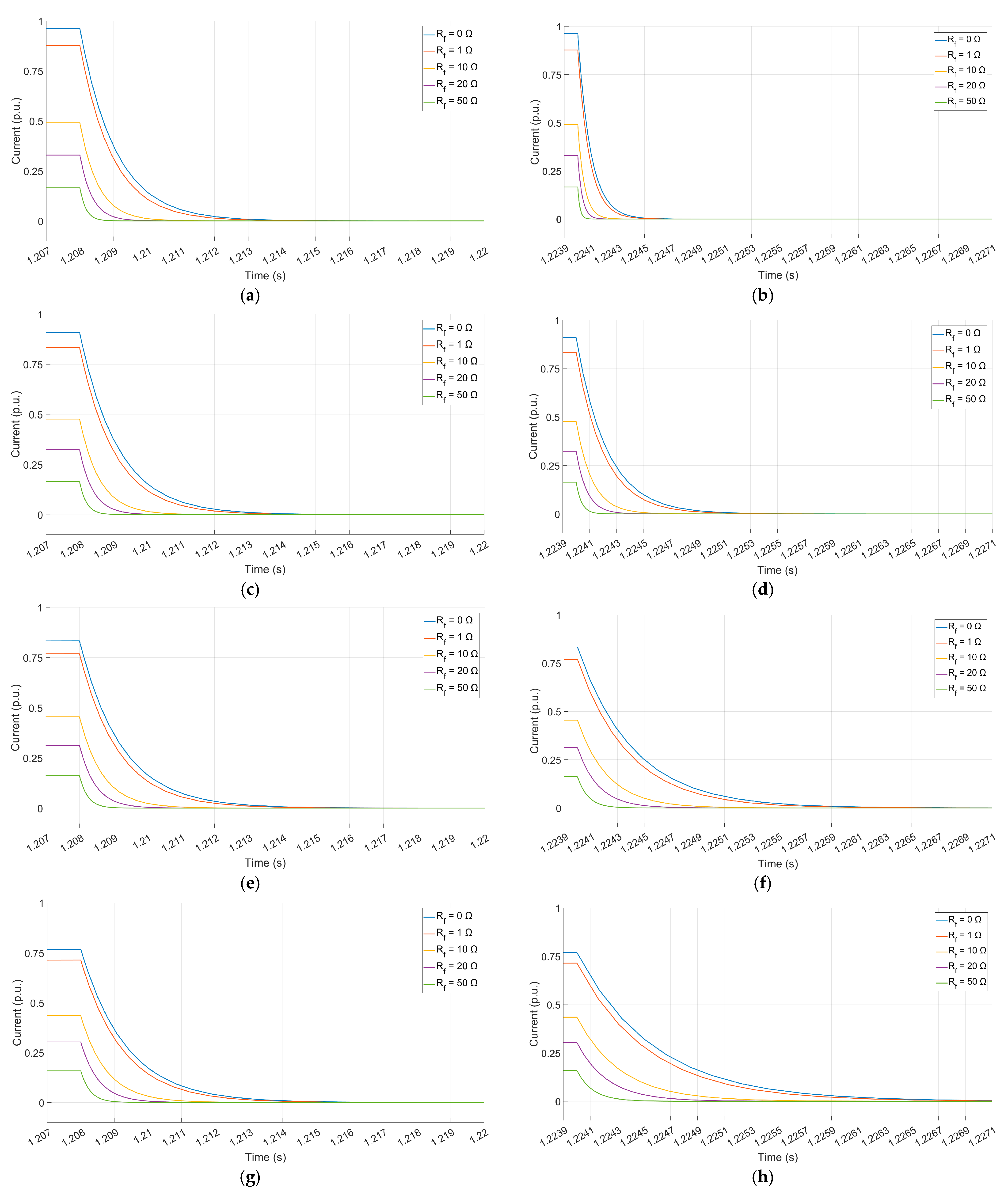
3. Electromagnetic Transient Simulations
3.1. Simulation Model
3.2. Results
4. Discussion
5. Conclusions
Author Contributions
Funding
Data Availability Statement
Conflicts of Interest
References
- WG C6/B4.37 Cigre. Medium Voltage DC Distribution Systems; Ref. 875; CIGRE: Paris, France, 2022; ISBN 978-2-85873-580-8. [Google Scholar]
- Wang, M.; Li, W.; Wang, S.; Xu, Q.; Zhang, X. Review and Outlook of HVDC Grids as Backbone of Transmission System. CSEE J. Power Energy Syst. 2021, 7, 797–810. [Google Scholar]
- Mohan, F.; Sasidharan, N. Protection of Low Voltage DC Microgrids: A Review. Electr. Power Syst. Res. 2023, 225, 109822. [Google Scholar] [CrossRef]
- Li, W.; Li, Y.; Yu, S.; Wei, T.; Chen, J.; Liu, Y.; Xu, S. State of the Art of Researches and Applications of MVDC Distribution Systems in Power Grid. In Proceedings of the IECON 2019—45th Annual Conference of the IEEE Industrial Electronics Society, Lisbon, Portugal, 14–17 October 2019; pp. 5680–5685. [Google Scholar]
- Ciniello, V.; Loggia, R.; Martirano, L.; Lauria, S. A Review of MVDC Smart Grids Technologies and Components. In Proceedings of the 2024 IEEE/IAS 60th Industrial and Commercial Power Systems Technical Conference (I&CPS), Las Vegas, NV, USA, 19–23 May 2024; pp. 1–10. [Google Scholar]
- Monadi, M.; Koch-Ciobotaru, C.; Luna, A.; Candela, J.I.; Rodriguez, P. A Protection Strategy for Fault Detection and Location for Multi-Terminal MVDC Distribution Systems with Renewable Energy Systems. In Proceedings of the 2014 International Conference on Renewable Energy Research and Application (ICRERA), Milwaukee, WI, USA, 27–30 October 2014; pp. 496–501. [Google Scholar]
- Nougain, V.; Mishra, S.; Nag, S.S.; Lekić, A. Fault Location Algorithm for Multi-Terminal Radial Medium Voltage DC Microgrid. IEEE Trans. Power Deliv. 2023, 38, 4476–4488. [Google Scholar] [CrossRef]
- Song, X.; Peng, C.; Huang, A.Q. A Medium-Voltage Hybrid DC Circuit Breaker, Part I: Solid-State Main Breaker Based on 15 kV SiC Emitter Turn-OFF Thyristor. IEEE J. Emerg. Sel. Top. Power Electron. 2017, 5, 278–288. [Google Scholar] [CrossRef]
- Yang, J.; Fletcher, J.E.; O’Reilly, J. Short-Circuit and Ground Fault Analyses and Location in VSC-Based DC Network Cables. IEEE Trans. Ind. Electron. 2012, 59, 3827–3837. [Google Scholar] [CrossRef]
- Feng, X.; Qi, L.; Pan, J. A Novel Fault Location Method and Algorithm for DC Distribution Protection. IEEE Trans. Ind. Appl. 2017, 53, 1834–1840. [Google Scholar] [CrossRef]
- Bin Gani, M.; Brahma, S. A Closed-Form Mathematical Model and Method for Fast Fault Location on a Low Voltage DC Feeder Using Single-Ended Measurements. IEEE Open Access J. Power Energy 2022, 9, 523–536. [Google Scholar] [CrossRef]
- Bhargav, R.; Bhalja, B.R.; Gupta, C.P. Novel Fault Detection and Localization Algorithm for Low-Voltage DC Microgrid. IEEE Trans. Ind. Inform. 2020, 16, 4498–4511. [Google Scholar] [CrossRef]
- Park, J.; Candelaria, J.; Ma, L.; Dunn, K. DC Ring-Bus Microgrid Fault Protection and Identification of Fault Location. IEEE Trans. Power Deliv. 2013, 28, 2574–2584. [Google Scholar] [CrossRef]
- Mohanty, R.; Balaji, U.S.M.; Pradhan, A.K. An Accurate Noniterative Fault-Location Technique for Low-Voltage DC Microgrid. IEEE Trans. Power Deliv. 2016, 31, 475–481. [Google Scholar] [CrossRef]
- Aluri, V.R.K.; Samantaray, S.R. An Improved Probe Power Unit (PPU)-Based Fault Location Estimation in Low-Voltage DC Microgrids. IEEE Trans. Smart Grid 2024, 15, 5514–5525. [Google Scholar] [CrossRef]
- Yang, Y.; Huang, C.; Xu, Q. A Fault Location Method Suitable for Low-Voltage DC Line. IEEE Trans. Power Deliv. 2020, 35, 194–204. [Google Scholar] [CrossRef]
- Yang, Y.; Huang, C.; Zhou, D.; Li, Y. Fault Detection and Location in Multi-Terminal DC Microgrid Based on Local Measurement. Electr. Power Syst. Res. 2021, 194, 107047. [Google Scholar] [CrossRef]
- Liu, W.; Liu, F.; Zha, X.; Huang, M.; Chen, C.; Zhuang, Y. An Improved SSCB Combining Fault Interruption and Fault Location Functions for DC Line Short-Circuit Fault Protection. IEEE Trans. Power Deliv. 2019, 34, 858–868. [Google Scholar] [CrossRef]
- Zhang, C.; Song, G.; Wang, T.; Yang, L. Single-Ended Traveling Wave Fault Location Method in DC Transmission Line Based on Wave Front Information. IEEE Trans. Power Deliv. 2019, 34, 2028–2038. [Google Scholar] [CrossRef]
- Song, G.; Wang, T.; Hussain, K.S.T. DC Line Fault Identification Based on Pulse Injection from Hybrid HVDC Breaker. IEEE Trans. Power Deliv. 2019, 34, 271–280. [Google Scholar] [CrossRef]
- Farshad, M.; Karimi, M. A Signal Segmentation Approach to Identify Incident/Reflected Traveling Waves for Fault Location in Half-Bridge MMC-HVdc Grids. IEEE Trans. Instrum. Meas. 2022, 71, 3501209. [Google Scholar] [CrossRef]
- Wang, D.; Hou, M. Traveling Wave Fault Location Principle for Hybrid Multi-Terminal LCC-VSC-HVDC Transmission Line Based on RECT. Int. J. Electr. Power Energy Syst. 2020, 117, 105627. [Google Scholar] [CrossRef]
- Wang, J.; Zhang, Y. Traveling Wave Propagation Characteristic-Based LCC-MMC Hybrid HVDC Transmission Line Fault Location Method. IEEE Trans. Power Deliv. 2022, 37, 208–218. [Google Scholar] [CrossRef]
- Kwon, G.-Y.; Lee, C.-K.; Lee, G.S.; Lee, Y.H.; Chang, S.J.; Jung, C.-K.; Kang, J.-W.; Shin, Y.-J. Offline Fault Localization Technique on HVDC Submarine Cable via Time–Frequency Domain Reflectometry. IEEE Trans. Power Deliv. 2017, 32, 1626–1635. [Google Scholar] [CrossRef]
- Song, G.; Hou, J.; Guo, B.; Wang, T.; Masood, B.; Kazmi, S.T.H. Single-Ended Active Injection for Fault Location in Hybrid MMC-HVDC Systems. Int. J. Electr. Power Energy Syst. 2021, 124, 106344. [Google Scholar] [CrossRef]
- Hou, J.; Song, G.; Fan, Y. Fault Identification Scheme for Protection and Adaptive Reclosing in a Hybrid Multi-Terminal HVDC System. Prot. Control Mod. Power Syst. 2023, 8, 23. [Google Scholar] [CrossRef]
- Allam, M.A.; Saleh, K.A. A Novel DC Distance Relay for MVDC Microgrids. IEEE Trans. Smart Grid 2022, 13, 962–974. [Google Scholar] [CrossRef]
- Kaharević, A.; Ramos, J.C.; Jahn, I.; Ponci, F.; Monti, A. A Review of HVDC and MVDC Grid Protection. In Proceedings of the 19th International Conference on AC and DC Power Transmission (ACDC 2023), Glasgow, UK, 1–3 March 2023; pp. 271–280. [Google Scholar]
- Nourmohamadi, H.; Gohil, G.; Balsara, P.T. Fault Location and Classification for MVDC Networks. IEEE J. Emerg. Sel. Top. Power Electron. 2022, 10, 589–603. [Google Scholar] [CrossRef]
- Li, D.; Ukil, A. Fault Location Estimation in Voltage-Source-Converter-Based DC System: The L Location. IEEE Trans. Ind. Electron. 2022, 69, 11198–11209. [Google Scholar] [CrossRef]
- Hou, J.; Song, G.; Sun, Y.; Fan, Y.; Wu, X.; Chang, P.; Chang, N. Permanent Fault Identification and Location Scheme for MTDC Grid Based on Equivalent Impedance Phase Characteristics and Distributed Parameter Line. Int. J. Electr. Power Energy Syst. 2023, 153, 109326. [Google Scholar] [CrossRef]
- Kamalinejad, K.; Iman-Eini, H.; Samimi, M.H. A Modification in Thyristor-Based Hybrid DC Circuit Breaker for DC-Side Fault Identification in Auto-Reclosing of MMC-HVDC Systems. IEEE J. Emerg. Sel. Top. Power Electron. 2023, 11, 4119–4126. [Google Scholar] [CrossRef]
- Zheng, S.; Kheirollahi, R.; Pan, J.; Xue, L.; Wang, J.; Lu, F. DC Circuit Breakers: A Technology Development Status Survey. IEEE Trans. Smart Grid 2022, 13, 3915–3928. [Google Scholar] [CrossRef]
- Mei, J.; Ge, R.; Zhu, P.; Fan, G.; Wang, B.; Yan, L. An Adaptive Reclosing Scheme for MMC-HVDC Systems Based on Pulse Injection From Parallel Energy Absorption Module. IEEE Trans. Power Deliv. 2021, 36, 1809–1818. [Google Scholar] [CrossRef]
- Dworakowski, P.; Páez, J.D.; Grieshaber, W.; Bertinato, A.; Lamard, E. Protection of Radial MVDC Electric Network Based on DC Circuit Breaker and DC Fuses. Int. J. Electr. Power Energy Syst. 2023, 153, 109398. [Google Scholar] [CrossRef]
- Bose, J.; Martins, S.; Chaudhary, S.; Teodorescu, R. Analysis of Back-to-Back MMC for Medium Voltage Applications Under Faulted Condition. In Proceedings of the IECON 2017—43rd Annual Conference of the IEEE Industrial Electronics Society, Beijing, China, 29 October–1 November 2017; pp. 858–963. [Google Scholar]
- Rao, N.P.; Shukla, A. Analysis of Capacitor Voltage Unbalance in Hybrid MMC and Its Novel Operation with Reduced Submodule Capacitance. IEEE J. Emerg. Sel. Top. Power Electron. 2022, 10, 7271–7284. [Google Scholar] [CrossRef]
- Li, H.; Xie, X.; McDonald, A.; Chai, Z.; Yang, T.; Wu, Y.; Yang, W. Cost and Reliability Optimization of Modular Multilevel Converter with Hybrid Submodule for Offshore DC Wind Turbine. Int. J. Electr. Power Energy Syst. 2020, 120, 105994. [Google Scholar] [CrossRef]


















| System | Line Length | Fault Resistance | Fault Location Methods | Advantages | Limitations |
|---|---|---|---|---|---|
| LVDC (<1 kV) | <1 km | <5 Ω | Passive methods [10,11,12]: utilize local measurements, leveraging current attenuation related to inductance. |
|
|
| Active impedance-based methods [13,14,15]: use probe capacitors to inject signals into the faulty RLC circuit. |
|
| |||
| Active fault loop-based methods [16,17,18]: eventually add passive or active components to the circuit breaker to form fault location loops. |
|
| |||
| HVDC (>100 kV) | >100 km | >50 Ω | Traveling-wave analysis [19,20,21,22,23]: analyze wavefronts created by fault-induced disturbances. |
|
|
| Time-domain reflectometry [24]: inject signals into the line and analyze reflected waveforms for fault characterization. |
|
| |||
| Active impedance injection methods [25,26]: inject sinusoidal signals to estimate fault impedance before fault clearance. |
|
| |||
| MVDC (1–100 kV) | 1–100 km | 0–50 Ω | Active impedance estimation methods [29,30]:inject sinusoidal signals at multiple frequencies before fault clearance. |
|
|
| DC breaker-based signal injection [32]: use modified circuit breakers to inject fault identification signals during reclosing. |
|
| |||
| Offline reclosing methods [34]: use ordinary or power electronics-fed reclosing to analyze faults after fault clearance. |
|
| |||
| Impedance-based reclosing methods (proposed): perform bus-fed re-energizations and analyze transient responses. |
|
|
| Subsystem | Parameter | Magnitude | Units |
|---|---|---|---|
| AC grids | Rated voltage | 220 | kV |
| Short-circuit power | ∞ | ||
| Rated frequency | 50 | Hz | |
| Converter station | Transformer rated voltage ratio | 220/10 | kV |
| Transformer rated power | 10 | MVA | |
| Transformer short-circuit voltage | 20 | % | |
| Converter rated power | 10 | MW | |
| Number of submodules per bridge arm | 12 | ||
| Inductance per bridge arm | 10 | mH | |
| Submodule capacitance | 10 | mF | |
| Limiting reactor (Ldc) | 10 | mH | |
| Circuit breaker opening time | 10 | ms | |
| Grounding resistor (Rg) | 5 | Ω | |
| DC line | Length | 10 | km |
| Voltage | ±10 | kV | |
| Rated current | 1 | kA | |
| Cable resistance at 20 °C (r) | 0.2 | Ω/km | |
| Cable inductance (l) | 0.5 | mH/km | |
| Cable phase capacitance | 0.2 | μF/km |
Disclaimer/Publisher’s Note: The statements, opinions and data contained in all publications are solely those of the individual author(s) and contributor(s) and not of MDPI and/or the editor(s). MDPI and/or the editor(s) disclaim responsibility for any injury to people or property resulting from any ideas, methods, instructions or products referred to in the content. |
© 2025 by the authors. Licensee MDPI, Basel, Switzerland. This article is an open access article distributed under the terms and conditions of the Creative Commons Attribution (CC BY) license (https://creativecommons.org/licenses/by/4.0/).
Share and Cite
Mahtani, K.; Guerrero, J.M.; Decroix, J.; Platero, C.A. A Simple Single-Ended Post-Fault Location Technique for DC Lines Based on Controlled Re-Energizations. Electronics 2025, 14, 275. https://doi.org/10.3390/electronics14020275
Mahtani K, Guerrero JM, Decroix J, Platero CA. A Simple Single-Ended Post-Fault Location Technique for DC Lines Based on Controlled Re-Energizations. Electronics. 2025; 14(2):275. https://doi.org/10.3390/electronics14020275
Chicago/Turabian StyleMahtani, Kumar, José M. Guerrero, Julien Decroix, and Carlos A. Platero. 2025. "A Simple Single-Ended Post-Fault Location Technique for DC Lines Based on Controlled Re-Energizations" Electronics 14, no. 2: 275. https://doi.org/10.3390/electronics14020275
APA StyleMahtani, K., Guerrero, J. M., Decroix, J., & Platero, C. A. (2025). A Simple Single-Ended Post-Fault Location Technique for DC Lines Based on Controlled Re-Energizations. Electronics, 14(2), 275. https://doi.org/10.3390/electronics14020275

