Methodology for Structured Data-Path Implementation in VLSI Physical Design: A Case Study
Abstract
1. Introduction
- We evaluate the SDP flow of Cadence’s Innovus using two case studies, summarize our design experience, and discuss the results.
- A generic methodology is proposed to use the SDP flow of Innovus to achieve the best Quality of Results (QOR).
- The proposed methodology recommends the extraction of bit-slices of the design in a semi-automated way to generate a placement file, which orients the instances in the design such that routing between the bit-slices is minimized, and places the instances of the SDP with required gaps to reduce the vertical or horizontal congestion.
2. Related Work
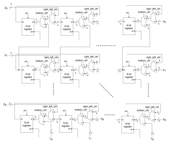
3. Designs for Evaluation
3.1. Register File
3.2. Pixel Buffer
4. Methodology
4.1. Traditional Design Flow
4.2. SDP Flow
5. Experiments
6. Results and Discussion
7. Conclusions and Future Work
Author Contributions
Funding
Conflicts of Interest
References
- Chou, S.; Hsu, M.K.; Chang, Y.W. Structure-aware placement for datapath-intensive circuit designs. In Proceedings of the 49th Annual Design Automation Conference, San Francisco, CA, USA, 3–7 June 2012; pp. 762–767. [Google Scholar]
- Ye, T.T.; De Micheli, G. Data path placement with regularity. In Proceedings of the IEEE/ACM International Conference on Computer Aided Design, San Jose, CA, USA, 5–9 November 2000; pp. 264–270. [Google Scholar]
- Nijssen, R.X.; Jess, J.A. Two-dimensional datapath regularity extraction. In IFIP Workshop on Logic and Architecture Synthesis; Citeseer: Princeton, NJ, USA, 1996; pp. 110–117. [Google Scholar]
- Ward, S.; Ding, D.; Pan, D.Z. PADE: A high-performance placer with automatic datapath extraction and evaluation through high-dimensional data learning. In Proceedings of the DAC Design Automation Conference 2012, San Francisco, CA, USA, 3–7 June 2012; pp. 756–761. [Google Scholar]
- Serdar, T.; Sechen, C. Automatic datapath tile placement and routing. In Proceedings of the Design, Automation and Test in Europe. Conference and Exhibition 2001, Munich, Germany, 13–16 March 2001; pp. 552–559. [Google Scholar]
- Mei, L.Y.; Rosdi, B.A.B.; Kok, L.C. A methodology for automation structured datapath placement In VLSI design. In Proceedings of the 2011 IEEE Symposium on Industrial Electronics and Applications, Langkawi, Malaysia, 25–28 September 2011; pp. 273–278. [Google Scholar]
- Sørvik, H.S. Register File Optimization. Master’s Thesis, Norwegian University, Trondheim, Norway, 2017. [Google Scholar]
- Das, S.; Khatri, S.P. An efficient and regular routing methodology for datapath designs using net regularity extraction. IEEE Trans. Comput.-Aided Des. Integr. Circuits Syst. 2002, 21, 93–101. [Google Scholar] [CrossRef]
- Sotiriou, C.P.; Sketopoulos, N.; Nayak, A.; Penzes, P. Extraction of Structural Regularity for Random Logic Netlists. In Proceedings of the 2019 Panhellenic Conference on Electronics & Telecommunications (PACET), Volos, Greece, 8–9 November 2019; pp. 1–7. [Google Scholar]
- Shami, M.A. Dynamically Reconfigurable Resource Array. Ph.D. Thesis, KTH Royal Institute of Technology, Stockholm, Sweden, 2012. [Google Scholar]
- Farahini, N.; Li, S.; Tajammul, M.A.; Shami, M.A.; Chen, G.; Hemani, A.; Ye, W. 39.9 GOPs/watt multi-mode CGRA accelerator for a multi-standard basestation. In Proceedings of the 2013 IEEE International Symposium on Circuits and Systems (ISCAS), Beijing, China, 19–23 May 2013; pp. 1448–1451. [Google Scholar] [CrossRef]
- Dimitrios, S.; Yu, Y. SiLago Fabric. 2019. Available online: https://github.com/silagokth/fabric (accessed on 2 April 2020).
- Hwang, H.; Haddad, R. Adaptive median filters: New algorithms and results. IEEE Trans. Image Process. 1995, 4, 499–502. [Google Scholar] [CrossRef] [PubMed]
- Ahmed, E.S.A.; Elatif, R.E.; Alser, Z.T. Median Filter Performance Based on Different Window Sizes for Salt and Pepper Noise Removal in Gray and RGB Images. Int. J. Signal Process. Image Process. Pattern Recognit. 2015, 8, 343–352. [Google Scholar] [CrossRef]
- Guo, D.; Qu, X.; Du, X.; Wu, K.; Chen, X. Salt and pepper noise removal with noise detection and a patch-based sparse representation. Adv. Multimed. 2014, 2014, 682747. [Google Scholar] [CrossRef]
- Cadence Inc. Innovus User Guide. Product Version 20.11. 2020. Available online: https://www.cadence.com (accessed on 10 February 2021).









| WNS (ns) | TNS (ns) | Density (%) | Power (mW) | Congestion (%) | Total Net Length () | Clock Cell Area () | #Vias | |||||||||
|---|---|---|---|---|---|---|---|---|---|---|---|---|---|---|---|---|
| Flow Step | Normal | SDP | Normal | SDP | Normal | SDP | Normal | SDP | Normal | SDP | Normal | SDP | Normal | SDP | Normal | SDP |
| Placement | 9.270 | 8.622 | 0 | 0 | 73.599 | 63.747 | - | - | 0 | 0%H, 1.54%V | - | - | - | - | - | - |
| CTS | 9.251 | 8.605 | 0 | 0 | 74.068 | 71.853 | - | - | 0 | 0%H, 1.81%V | - | - | - | - | - | - |
| Route | 9.229 | 7.354 | 0 | 0 | 74.068 | 71.853 | 0.777 | 0.91 | 0 | 0%H, 1.92%V | 296.514 | 272.232 | 65,822 | 67,867 | ||
| WNS (ns) | TNS (ns) | Density (%) | Power (mW) | Congestion (%) | Total Net Length () | Clock Cell Area () | #Vias | |||||||||
|---|---|---|---|---|---|---|---|---|---|---|---|---|---|---|---|---|
| Flow Step | Normal | SDP | Normal | SDP | Normal | SDP | Normal | SDP | Normal | SDP | Normal | SDP | Normal | SDP | Normal | SDP |
| Placement | 9.077 | 8.971 | 0 | 0 | 69.886 | 0 | - | - | 0 | 0 | - | - | - | - | - | - |
| CTS | 9.055 | 8.961 | 0 | 0 | 70.58 | 52.824 | - | - | 0 | 0 | - | - | - | - | - | - |
| Route | 9.043 | 8.968 | 0 | 0 | 70.58 | 52.824 | 0.4516 | 0.4427 | 0 | 0 | 85.842 | 85.5 | 17,802 | 15,423 | ||
Publisher’s Note: MDPI stays neutral with regard to jurisdictional claims in published maps and institutional affiliations. |
© 2022 by the authors. Licensee MDPI, Basel, Switzerland. This article is an open access article distributed under the terms and conditions of the Creative Commons Attribution (CC BY) license (https://creativecommons.org/licenses/by/4.0/).
Share and Cite
Pudi, D.; Harrison, S.J.; Stathis, D.; Boppu, S.; Hemani, A.; Cenkeramaddi, L.R. Methodology for Structured Data-Path Implementation in VLSI Physical Design: A Case Study. Electronics 2022, 11, 2965. https://doi.org/10.3390/electronics11182965
Pudi D, Harrison SJ, Stathis D, Boppu S, Hemani A, Cenkeramaddi LR. Methodology for Structured Data-Path Implementation in VLSI Physical Design: A Case Study. Electronics. 2022; 11(18):2965. https://doi.org/10.3390/electronics11182965
Chicago/Turabian StylePudi, Dhilleswararao, Samuel Jigme Harrison, Dimitrios Stathis, Srinivas Boppu, Ahmed Hemani, and Linga Reddy Cenkeramaddi. 2022. "Methodology for Structured Data-Path Implementation in VLSI Physical Design: A Case Study" Electronics 11, no. 18: 2965. https://doi.org/10.3390/electronics11182965
APA StylePudi, D., Harrison, S. J., Stathis, D., Boppu, S., Hemani, A., & Cenkeramaddi, L. R. (2022). Methodology for Structured Data-Path Implementation in VLSI Physical Design: A Case Study. Electronics, 11(18), 2965. https://doi.org/10.3390/electronics11182965

