Next Article in Journal
Improvement of the TEB Algorithm for Local Path Planning of Car-like Mobile Robots Based on Fuzzy Logic Control
Previous Article in Journal
A Survey of Vehicle System and Energy Models
 
 
Font Type:
Arial Georgia Verdana
Font Size:
Aa Aa Aa
Line Spacing:
Column Width:
Background:
Article

Digital Hydraulic Motor Characteristic Analysis for Heavy-Duty Vehicle Traction

1
Beijing Tianma Intelligent Control Technology Co., Ltd., Beijing 101399, China
2
China Coal Research Institute, Beijing 100013, China
3
National Key Laboratory of Intelligent Coal Mining and Rock Stratum Control, Beijing 100013, China
4
China Coal Technology and Engineering Group, Beijing 100013, China
5
School of Automation Science and Electrical Engineering, Beihang University, Beijing 100191, China
*
Author to whom correspondence should be addressed.
Actuators 2025, 14(1), 11; https://doi.org/10.3390/act14010011
Submission received: 30 October 2024 / Revised: 11 December 2024 / Accepted: 17 December 2024 / Published: 1 January 2025
(This article belongs to the Section High Torque/Power Density Actuators)

Abstract

Hydraulic motors have been widely used in large-scale machinery such as ground heavy equipment and heavy-duty vehicles, ships, and so on because of their high-power drive capability. However, the driving device is confronted with constraints related to its size and weight. Typically, the hydraulic axial piston motor is preferred for its simplicity and efficiency. However, the oil distributor in traditional hydraulic motors faces significant challenges, such as evident oil leakage and power loss from the mating surfaces of the fixed oil distributor and rotating cylinder block. To enhance the reliability and performance of hydraulic motors employed in paper driving applications, this paper introduces a digital radial hydraulic motor used for heavy-duty vehicle traction. The motor is powered by an on-board pump station from which several on/off valves can distribute the hydraulic oil. This design effectively mitigates the performance degradation issues associated with friction and wear in traditional hydraulic motor oil distributors. The drive characteristics of the motor can be flexibly adjusted through the combination of valves. Our investigation into the motor’s design principles and parameter analysis is poised to make an indirect yet significant contribution to the optimization of heavy-duty vehicle traction systems. This paper delineates the application conditions and operational principles of the digital hydraulic motor, thoroughly analyzes the intricate topological interrelationships of its parameters, and meticulously develops a detailed component-level model. Through comprehensive calculations, it reveals the impact of configuration and flow valve parameters on motor efficiency. A simulation model is established for the purpose of verification. Furthermore, the influence of the flow allocation method on efficiency and pressure pulsation is examined, leading to the proposal of a novel flow allocation strategy, the efficacy of which is substantiated through simulation. In conclusion, this paper formulates critical insights to inform the design and selection of components for digital hydraulic motors. These findings may provide a feasible solution for heavy-duty vehicle traction application scenarios.

1. Introduction

In high-power terrestrial facilities and in applications involving the rotational drive of heavy-duty mobile vehicles, there is a critical demand for drive units to generate high and smooth torque while being small and lightweight themselves, imposing crucial requirements on the systems’ design [1,2,3].
Compared with traditional electric motor drive solutions, the hydraulic system in a hydraulic hybrid drive can cool the drive device, further improving its power density. By adopting a hydraulic configuration, the drive device can achieve higher performance at the same volume and weight [4,5,6].
Hydraulic motors are commonly employed in power conversion devices that transform hydraulic energy into mechanical energy [7,8]. Piston motors are typically favored over vane motors and gear motors due to their superior operational efficiency and cost-effectiveness [9]. Axial piston motors are often used in high-speed, low-torque applications, such as machine tool drives, often combined with a gearbox or reducer to achieve the desired speed and torque ratio. Radial piston motors, on the other hand, are typically used in low-speed high-torque applications, such as in industrial machinery, construction equipment, and transportation systems, where they can directly drive the load without the need for a gearbox or reducer, offering advantages in terms of integration and weight [10].
In the described scenario, piston motors can fulfill the function of enabling self-propulsion in vehicles, catering to low-speed, high-torque conditions, and meeting the specific demands of all-wheel drive and steering, thus conferring particular advantages in certain settings such as underground environments [11,12,13].
At present, a significant amount of wheeled and tracked heavy mobile machinery still predominantly utilize axial piston motors, with a minority employing radial piston motors. However, for vehicles using radial piston motors, the prevalent choice remains traditional radial piston motors. Their swashplate assemblies entail frictional surfaces, posing formidable challenges in reducing frictional drag and oil leakage [14,15,16,17]. Typically, their operational efficiency is not notably high. Researchers have employed various approaches from materials science, mechanical design, fluid dynamics, and other domains to enhance their efficiency. Meanwhile, researchers also pursued innovation in the motor’s valve distribution methods [18].
In recent years, researchers have introduced the concept of the digital hydraulic. For digital hydraulic motors, the fundamental principle involves transforming the fixed distribution relationship of radial piston motors into a discrete and variable distribution system. This is typically achieved by employing multiple sets of controllable valves to govern the distribution relationship of the pistons [19,20].
The concept of digital hydraulics can be traced back to the London Hydraulic Company in 1883. The company specialized in hydraulic distribution networks, and its pump station was composed of six steam engines. The adjustment of the steam engine’s output power was achieved by changing the engine speed and the number of engines. Matti Linjiama from Tampere University of Technology in Finland conducted a macro-level analysis and summary of digital hydraulics, highlighting that the fundamental difference lies in the fact that the components involved in control are discrete elements, rather than using digital discrete quantities to control analog components [19]. Macpherson et al. proposed a digital hydraulic motor applied to crane rotation systems. The basic principle is to use a stepper motor and a displacement feedback valve core for direct feedback. This approach addresses the conversion of analog input control quantities to digital quantities, but it does not resolve the inherent physical defects of the motor distribution pair [21]. Pan Jian from Shanghai Jiao Tong University proposed a five-piston motor utilizing discrete distributing control and conducted research on its speed control characteristics, confirming the feasibility of digital distribution speed control, yet without an analysis of its efficiency characteristics [22]. Marien M. from the University of Agder in Norway studied the application of digital hydraulic motors in winches, primarily focusing on the analysis of torque pulsation [10].
However, theoretical research regarding the efficiency aspects of this particular system remains insufficient. Accurate modeling and analysis of valve characteristics are essential for this conclusion. This paper will conduct theoretical analysis and simulation verification on how distribution affects efficiency characteristics.
We propose a system configuration where two switching valves are employed for the distribution of each piston in radial piston motors. Compared with conventional hydraulic systems controlled by servo valves, this approach is less sensitive to fluid contamination, effectively enhancing pollution resistance. Moreover, it exhibits low static leakage, thereby boosting motor operational efficiency. By using motor efficiency as a metric, we analyze the impact patterns of relevant parameters of the distribution valves, offering a theoretical basis for the design or selection of such valves.
The outline of this article is organized as follows: In Section 2, the digital hydraulic motor configuration is proposed, and the system architecture and the composition are explained; in Section 3, the schematic design of the digital hydraulic motor is illustrated, and the mechanical and hydraulic equations are formulated. The switching law by distributing valves is calculated; in Section 4, the motor hydraulic efficiency with oil throttling loss and compressibility considered is defined, the modeling of hydraulic dynamics is formulated, and the power loss is numerically described, while simulations are carried out to demonstrate the feasibility of the improved distributing method; in Section 5, calculations using on/off valves and servo valves as distributing valves are carried out. The normalized criteria are derived to be a guideline for the selection of distributing valves and the design of digital hydraulic motors. Finally, conclusions are reached in Section 6.

2. Working Scene Analysis and System Configuration

This section analyzed the requirements of the traction working conditions and proposed a motor-based system configuration. The method of flow distribution is a critical determinant of its operational efficiency for hydraulic motors. Traditional hydraulic motors typically employ shaft-mounted or end-mounted flow distribution techniques, which are susceptible to frictional loss and leakage loss. In the case of the radial piston hydraulic motor, although it provides substantial torque output, the piston and flow distribution shaft experience friction, leading to efficiency loss over time due to wear and tear. The end-mounted flow distribution approach incorporates a gap compensation mechanism to mitigate the clearance between the piston and flow distribution shaft. However, the pressure applied by the piston on the flow distribution shaft is uneven, resulting in an inclined force that causes disproportionate wear on the flow distribution shaft, thereby diminishing motor efficiency [18].
To sustain high operational efficiency and minimize leakage losses, hydraulic motors typically demand exceptional processing precision, necessitating a minimum roughness specification of IT02–IT03. Additionally, there are stringent requirements for material selection and surface treatment processes, consequently leading to elevated manufacturing costs.

2.1. Traction System Configuration

Based on the analysis of the high demand for volumetric efficiency in the system, a novel principle for a digital hydraulic motor is introduced in this paper. The configuration of the driving system based on this new principle is depicted in Figure 1.
The digital hydraulic motor is outfitted with an absolute position encoder that synchronizes the piston’s position with the motor rotor. The controller gathers data on the motor’s rotational angle and issues a flow control command to the hydraulic motor. This configuration enables the digital hydraulic motor to drive the machine wheel directly, thereby eliminating the necessity for a gearbox or other auxiliary components. As a result, it enhances the system’s integration and power-to-weight ratio.
The flow distribution mechanism of a digital hydraulic motor comprises multiple sets of pistons and flow control valve units, as illustrated in Figure 2.
The fundamental operating principle of a digital hydraulic motor involves altering the internal structure of a conventional hydraulic motor to enable proactive flow regulation. The motor is composed of multiple pistons, each outfitted with two two-way high-speed electromagnetic on/off valves located at both the front and rear ends. These valves actively manage the hydraulic fluid’s flow into and out of the pistons, thereby eliminating the traditional end-face flow control typically found in axial hydraulic motors. Additionally, the high-speed on/off valves possess exceptionally rapid switching capabilities, allowing for swift adjustments of the motor’s displacement in a short period and facilitating feasible adjustments of the output torque.

2.2. Operating Model

The digital hydraulic motor detailed in this paper has been modified from a radial hydraulic piston motor. As illustrated in Figure 2, distribution valves are installed at both the upstream and downstream sections of each piston.
The operational requirements of the towing system classify its working conditions into three scenarios: active driving, passive driving, and standby. Within the active driving mode, further differentiation into forward and reverse driving is achieved by changing the flow direction of the hydraulic motor. The motor functions within the parameters described in the working diagram, as shown in Figure 3.
Figure 4 presents the driving principle diagram of a digital hydraulic motor. By regulating the switching state of multiple flow control valves, the operation mode of each cylinder unit can be managed, enabling digital adjustment of the motor’s displacement for both forward and reverse towing.
An analysis of the operational modes of the propulsion system can be conducted by examining the specific operational traction requirements. This involves evaluating how the system can meet the demands of various traction scenarios, considering factors such as torque, speed, and direction to optimize performance and efficiency under different conditions.
  • Operation mode one: active traction
    The primary mode is active traction when a reversing load is applied, corresponding to quadrants one and three in Figure 3. In this scenario, the motor’s output torque is positive when there is a positive displacement. Conversely, the torque becomes negative as the displacement turns negative.
  • Operation mode two: passive driving
    When the vehicle is powered by an engine or during deceleration, the motor must generate zero or negative torque. To prevent cavitation at high rotational speeds, it is crucial to ensure that both piston valves are fully closed and the pistons are disengaged from the cam. This measure also prevents the digital hydraulic motor from operating in pump mode.
    In the traction configuration suggested in this paper, deceleration is executed by the braking system. The scenario where the aircraft carries a load during deceleration is isolated by adjusting the motor discharge to zero, allowing the drive system to function along the X-axis.
  • Operation mode three: standby
    In the event of a system failure, such as an anomaly in motor displacement control, the motor should be disconnected from the hydraulic power supply, necessitating the pistons’ return to the initial position.

3. Digital Hydraulic Motor Mechanism

3.1. Working Principle

The operational framework of a digital hydraulic motor is illustrated in Figure 5a. The motor’s essential elements include multiple pistons and pairs of flow control valves. Each cylinder contains a piston enclosed within a cylinder barrel, with the piston linked to a connecting rod that is attached to a crankshaft. The flow control valves play a critical role in regulating the inflow and outflow of hydraulic fluid within the cylinders. This controlled movement enables the pistons to oscillate vertically, transforming hydraulic pressure into mechanical energy. This energy is subsequently conveyed to the crankshaft through the connecting rod, resulting in the rotation of the crankshaft.
In Figure 5b, the pistons are depicted in a circular, unfolded view, where the left side exhibits a low-pressure condition, while the right side reflects a high-pressure state. Low-pressure oil is expelled from the cylinder via the low-pressure valve, while high-pressure oil is introduced into the cylinder through its respective valve, propelling the piston toward the high-pressure side. Subsequently, the piston exerts force on the connecting rod, which in turn rotates the crankshaft, thereby producing torque.
By precisely managing the actuation of the flow control valves through digital technology, the motor is capable of operating with enhanced smoothness and efficiency, ensuring meticulous control over the torque output.
Where T represents the motor’s output torque, θ ˙ denotes the rotational speed of the motor’s rotor, and v h indicates the velocity in the motor’s radial direction.
The digital hydraulic motor utilizes several pistons within the stator and a drive shaft positioned at the outer rotor. It replaces the traditional hydraulic motor’s friction pair with a roller, thereby reducing frictional power loss. An external leakage surface separates the stator and rotor, and a combination seal is implemented between the cylinder block and the housing to prevent external leakage. The high-speed switching valve manages the flow between the high-pressure and low-pressure oil paths, ensuring no leakage when closed and thus eliminating power loss due to leakage. Consequently, the theoretical operational efficiency of the digital hydraulic motor surpasses that of traditional flow control methods.

3.2. Circumferential Modeling and Pulsation Rate Analysis

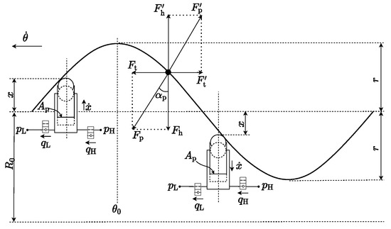
Upon unfolding the inner curve along the circumferential direction, the force analysis is detailed in Figure 6. Here, F p represents the supporting force at the contact point on the inner curve cam, F h denotes the radial force, and F t signifies the tangential force. The reaction force in the circumferential direction is given by F p , which rotates the mover with a rotational moment M p = x + R 0 F t . The initial phase of the motor rotor is indicated by θ 0 . The pressures from the inlet and outlet are denoted by p H and p L , respectively, while q H and q L represent the suction and discharge flows of the piston chamber. The effective area of the piston is A p , the radius at the contact point of the piston is R 0 , and the total stroke of the piston’s work cycle is 2 r . The radial movement of the piston relative to R 0 is x, which is considered positive when the movement is outward.
The zero-position capability of the flow control valve is achieved through the integration of a unidirectional valve. This functionality permits the motor to function in a passive flow state without requiring power. In the event of a cylinder unit failure that prevents active opening, the high-pressure flow control valve can be passively engaged, linking the cylinder chamber with the return line, thus preventing damage to the motor’s structure.

3.2.1. Motor Geometric Parameters Analysis

This subsection delves into the analysis and calculation of the relationship between the motor’s geometric parameters and its flow characteristics.
(a)
Mean value over a cycle
The pistons are positioned around the circumference of the motor stator, with the total number of pistons represented as n. Each piston unit completes m reciprocating motions during a single full rotation of the rotor, where n , m N + .
The displacement of motor D m is depicted as
D m = 2 n m r A P
where D m is the motor displacement, n is the piston number, m is the number of internal curves, r is the piston stroke, and A p is the piston chamber area.
According to the energy conservation, the work performed by all pistons is equal to the output work of the motor rotor, yielding the average torque T m as
T m = D m P s / π = n m r A p P s / π
where T m is the hydraulic motor torque, and P s is the pressure from the pump source.
(b)
Transient value
The force analysis diagram of the piston is depicted in Figure 7.
The angle between F h and F p is α p , which corresponds to the angle between the velocity v relative to the internal curve cam and the tangential component v t .
The dynamic equation of the piston in radial direction is depicted as
m p x ¨ = p c A p F h f
where m p is the mass of the piston, and the inertial force m p x ¨ and the resistance f are relatively small compared with the hydraulic force p c A p . In the following derivation, the hydraulic force is considered to be equal to the contact force in the radial direction F h ; consequently, the circumferential torque T p is presented as
T p = ( x + R 0 ) F t = ( x + R 0 ) F h tan α p = ( x + R 0 ) p c A p v h v t
The relationship between the piston movement and rotor angle, θ 0 , denotes the initial angle in the circumferential direction:
x = r cos m θ + θ 0
where θ represents the angle that the piston has rotated.
The velocity of piston v h is presented as
v h = x ˙ = m r sin [ m ( θ + θ 0 ) ] θ ˙ v t = θ ˙ ( x + R 0 )
Substituting Equation (6) into Equation (4), the torque of the piston can be written as
T p = m r sin m ( θ + θ 0 ) p c A p
The flow of the piston can be presented as
Q p = A p v h
The piston draws oil from the hydraulic source and extends to exert force on the motor rotor when v h > 0 . Conversely, when v h < 0 , the piston retracts and the piston chamber is discharged.
The sum of the flow produced by n pistons results in the instantaneous flow of the motor, Q m , expressed as
Q m = i = 1 m m r sin m ( θ + θ 0 i ) θ ˙ A p
By toggling the distributing valves, the positive flow is utilized to drive the internal cam rotor, while the negative flow is expelled, facilitating a cyclic reciprocating operation.
The instantaneous torque of the motor T m is depicted as
T m = i = 1 m m r sin m ( θ + θ 0 i ) p c i A p
where θ 0 i represents the initial phase angle of the i-th piston, and p c i denotes the pressure within the piston chamber. By adjusting the distribution method to regulate the pressure in the piston chambers, control over the motor torque is consequently attained. In the subsequent analysis, only the macroscopic hydrostatic transmission characteristics are taken into account, while the effects of hydraulic fluid compressibility are not considered.

3.2.2. Motor Configuration Parameters Analysis

The motor’s configuration parameters mainly include the number of plungers, indicated as n, and the number of waves on the internal curve rotor, represented as m. These parameters intuitively affect the motor’s flow and torque characteristics. By calculating the instantaneous flow of motors with varying configuration parameters, we can derive guidelines for designing the number of plungers and internal curve periods, focusing on the motor’s feasibility for complete rotation and minimizing flow pulsation.
Figure 8 illustrates the instantaneous flow curves of the motor under two configurations: Configuration 1 corresponds to n = 8 , m = 3 , while Configuration 2 corresponds to n = 6 , m = 3 .
Configuration 2 contains a point where the instantaneous flow is zero. Consequently, when the initial phase of the motor in Configuration 2 coincides with this zero-flow point, the motor fails to start. Therefore, this configuration does not meet the requirements.
The percentage flow pulsation rate of the motor is defined as the difference between the maximum instantaneous flow and the minimum instantaneous flow divided by the maximum instantaneous flow, expressed as max Q m min Q m max Q m × 100 % .
The flow pulsation rate of the motor under different configurations, as shown in Table 1, is traversed for n from 1 to 10 and m from 1 to 9.
When the plunger pulsation rate percentage is 100%, it indicates the presence of zero flow points in the motor, rendering it unable to start from that dead point. Concluding the data table:
  • When m = n, all plungers move without phase differences, running synchronously with a maximum pulsation rate of 100%. This motor configuration possesses dead points, impeding continuous rotation.
  • When n and m have non-prime common factors, the pulsation rate is 100%.
  • As the number of plungers and internal curve periods increases, a general trend of decreasing flow pulsation rate emerges. However, this trend increases the complexity of the digital motor’s structure, necessitating a balance across various metrics such as flow pulsation rate, structural complexity, weight, and volume.

3.3. The Principle of Flow Distribution

The piston unit must deliver positive power while avoiding negative power, necessitating the opening or closing of the flow control valve in accordance with the piston’s movement direction. The power of the piston unit, P p , is represented as
P p = v h A h p c
To maximize p c when v h > 0 , the piston should be connected to the high-pressure hydraulic source with the high-pressure valve (HPV) open, assuming the pressure in the piston chamber equals the hydraulic source pressure. Conversely, to minimize p c when v h > 0 , the piston should be connected to the reservoir with the low-pressure valve (LPV) open.
Figure 9 depicts the relationship between the distribution phase and the power produced by the piston unit.
It can be observed that when the switching time perfectly aligns with multiples of π , the motor’s suction and discharge flow ideally match the required distribution methods. However, if there is a delay in the distribution phase angle, negative suction and discharge flows occur, resulting in negative motor output power, which reduces the motor’s driving efficiency. The same principle holds true when there is a lag in the phase.
The relationship between phase lag and motor driving efficiency is given in Equation (12), holding when θ δ π 2 , π 2 .
η m = θ δ π + θ δ P p d θ 0 π P p d θ = 2 θ δ π 2 P p d θ 0 π P p d θ = cos θ δ
The motor’s driving efficiency reaches its maximum when the deviation in the distribution phase is minimized to zero. When the deviation reaches 0.5 π , the piston unit spends half of its time propelling and the other half braking, resulting in no increase in rotational velocity. If the deviation exceeds 0.5 π , the efficiency becomes negative, following a cosine function pattern.
The refined distributing method is depicted in Table 2.
The initial condition is established with piston one positioned at the furthest end; the rotor rotary angle is denoted as θ 0 . The switching laws for the HPVs and LPVs of piston unit 1 are denoted by f HPV ( n , m , θ ) and f LPV ( n , m , θ ) , respectively. The distributing method adheres to the rules depicted in Table 2, where n signifies the number of piston units in the motor, and m denotes the numbers of the cycles of the inner curve cam. A valve status of 0 indicates closure, while 1 indicates opening.
The distribution angle intervals of the remaining piston units sequentially deviate from Plunger 1 by a phase offset of 2 π n m .

4. Power Loss During the Flow Distribution

4.1. Definition of Efficiency

The motor driving efficiency η m is depicted as
η m = E out E in × 100 %
E in = E out + E loss
The output power of a motor can be derived by integrating the product of the output shaft torque and angular velocity concerning time:
E out = t 0 t 1 T m θ ˙ d t = t 0 t 1 i = 1 n m r sin m θ + θ 0 i p ci A p θ ˙ d t
The input power of a motor can be derived by integrating the difference between the input power and the waste power as
E in = t 0 t 1 q H p H q L p L d t + Δ E p
Output power E out involves the unknown variable of piston chamber pressure p c , which necessitates the introduction of hydraulic fluid into and out of the piston chamber; the inflow and outflow result in throttling losses under pressure differentials.

4.2. Modeling of Hydraulic Dynamic Characteristics

The dynamic characteristics of the hydraulic fluid are modeled to evaluate the impact of inflow and outflow on the pressure in the piston chamber and throttling losses.
According to the geometric relationships and flow definitions in Figure 5, the relationship between the volume of piston chamber V p and the piston position x is depicted as
V p ( θ ) = V 0 + x A p = V 0 + A p r cos m θ + θ 0
where V 0 is the volume of the piston chamber when the piston is at the zero position.
The rate of change in the volume of the enclosed chamber is
V ˙ p ( θ , θ ˙ ) = A p x ˙ = m A p r sin m θ + θ 0 θ ˙
In low-velocity operating conditions, the piston employs a combined sealing, where external leakage relative to the working flow can be neglected. This leads to the pressure of the piston chamber p c , and the differential of p c is derived as
d p c d t = E o V p d V p d t + q H q L
where E 0 is the bulk modulus of the hydraulic oil.
The flow of the piston chamber is depicted as
q H = x ¯ H c q p H p c sgn p H p c
q L = x ¯ L c q p c p L sgn p c p L
The sign of the pressure difference determines the sign of the flow. x ¯ H and x ¯ L represent the valve opening of the HPV and LPV, respectively, while c q represents the flow-pressure coefficient of the valve opening.

4.3. Power Loss in Distributing Valve

The flow control valve is a physical system with unavoidable opening and closing times. If the upstream and downstream flow control valves are opened or closed simultaneously, there will be a brief interval during which both valves are open concurrently, leading to a pressure surge and significant power loss. This results in a direct connection between the power source and the reservoir, causing pressure drops and substantial pressure spikes in the pipelines, potentially leading to damage. To circumvent this issue, it is crucial to meticulously design the flow coefficient; however, before doing so, the power loss should be derived.
Issuing the valve open and close command at the optimal moment, referred to as flow distributing method 1, the distributing valve commands x ¯ H and x ¯ L are expressed as follows:
x ¯ H = sgn sin m θ + θ 0
x ¯ L = sgn sin m θ + θ 0
The relationship between the commands of the distributing valve and the phase of the piston movement is illustrated in Figure 10.
P 0 , T 0 , P 1 , T 1 represent the closing and opening commands of HPV and LPV. l H is the suction stroke, and l L is the discharge stroke. By distributing method 1, when the piston is at the furthest end, the command to close the HPV and open the LPV is issued simultaneously. Correspondingly, the command to open the HPV and close the LPV is issued when the piston is at the nearest end.

4.4. Simulation of Distribution

A simulation with a single-piston system is carried out to verify the actual opening phase on motor efficiency. The simulation model is presented in Figure 11, the motor rotary velocity is set at 600 rpm, and the movement curve is depicted in Figure 11b. The simulation results are presented in Figure 12. The simulation parameters are shown in Table 3.
When the piston moves to the furthest or nearest ends, it can be observed that the switching commands are given. The distributing valves opened or closed within 3 ms, but there is a short moment where both valves are concurrently open.
As depicted in Figure 12c,d, peak flow is observed, which is significantly higher than what is needed for the piston motion shown in Figure 12e. During the moment when both valves are open, a substantial flow moves directly from the power source to the reservoir, leading to the peak power shown in Figure 12d, which is power loss and energy wastage.
To verify the impact of the simultaneous opening of both valves on the motor, we change the distributing method as follows:
x ¯ H = sgn sin m θ + θ 0 sin θ H 1
x ¯ L = sgn sin m θ + θ 0 sin θ L 1
where θ H 1 , θ L 1 0 , π 2 m ; this symmetrically reduces the proportion of the opening time of the distributing valve over the work cycle, such that the ratio of the opening command to closure time is, respectively, π 2 θ H 1 π + 2 θ H 1 , π 2 θ L 1 π + 2 θ L 1 , denoted as distributing method 2, as illustrated in Figure 13.
The simulation results for distributing method 2 are depicted in Figure 14. A comparison with Figure 12c reveals that distributing method 2 successfully avoids the simultaneous opening of the HPV and LPV. Furthermore, from the comparison in Figure 12e, it can be observed that distributing method 2 effectively reduces the pulsating flow to nearly 2 L/min during the moment of switching, diminishing the idle power of around 800 W from the hydraulic power source, eliminating idle power lasting up to 0.1 s, enhancing the motor hydraulic efficiency.
This simplistic measure to prevent both valves from opening simultaneously is merely symmetrical on the command level. The actual delay characteristics of the distributing valves result in pressure drops at 0.05 s and 0.15 s, as depicted in Figure 14a, and peak pressure at 0.1 s. This increases the pressure difference before and after the distributing valve while it elevates the throttling losses, which does not entirely address the efficiency concerns in digital distribution.

5. Design Guidelines Based on Power Loss

5.1. Derivation of Distribution Process Efficiency

Figure 15 represents the ideal distributing method to stabilize the pressure in the piston chamber and increase efficiency.
In ⓐ and ⓑ zone, the piston is pushed out by high-pressure oil; the ⓒ denotes the pre-expansion phase of the piston chamber when the two valves are both closed. The inlet valve remains at maximum opening during the a zone and switches to be closed in ⓑ zone. The outlet valve switches to be open in ⓓ zone for the next cycle.
Calculating the phase difference between the valve opening and closing, due to the minor proportion of the c zone in the work cycle, the average flow during compression is denoted as q ¯ H θ 3 ;
Δ θ 12 = Δ θ 34 = θ ˙ t v
Δ θ 23 = Δ V 23 q ¯ H θ 3 θ ˙
where t v is the opening or closing time of on/off valves.
The compression volume of the c zone Δ V 23 can be represented as
Δ V 23 = V p θ 3 p H p L E o
The average flow rate of the compression process q ¯ H θ 3 is
q ¯ H θ 3 = A p x ˙ θ 3
The input power of a cylinder is derived as
E in = t 0 t 2 p H q d t = θ 0 θ 2 p H q θ ˙ d θ
The output power of a cylinder can be calculated as
E out = t 0 t 2 p c q d t = θ 0 θ 2 p c q θ ˙ d θ
The wasted work of the piston unit is
E loss = t 0 t 2 p H p c q d t = θ 0 θ 2 p H p c q θ ˙ d θ
Letting δ P = p H p H denote the pressure difference across the inlet valve, the power loss for this process P loss can be expressed as
P loss = q Δ p
Combining Equations (24) and (25), the power loss of the inlet valve is derived below, and that of the outlet follows a similar pattern.
P loss = 1 x ¯ H c q 2 q 3
within 0 θ 1 , x ¯ H = 1 , while t θ 1 θ 2 , x ¯ H = 0.5 , consequently, the loss work of the piston in the thrust stroke is presented as
E loss = θ 0 θ 1 1 c q 2 q 3 + θ θ 2 4 c q 2 q 3
Similarly, the piston return stroke has the same lost work E l o s s and the input power as a ratio of p L p H .
The efficiency can be derived as
η m = 1 2 E loss E in × p H p L p H × 100 %

5.2. Normalized Criteria

Two critical parameters in the distribution process are the valve switching time, t v , and the flow coefficient, c q . To evaluate the efficiency of motors with different specifications under varying operating conditions, we normalize these two parameters as follows.
t v ¯ = absolute switching time inner curve period = θ ˙ t v m 2 π
c q ¯ = flow pressure coefficient piston average flow / p H p L = c q p H p L 2 m A p r θ ˙ / π
The impact of the valve opening and closing time t v ¯ along with the flow pressure coefficient c q ¯ of the distributing valve on the motor hydraulic efficiency is given in Figure 16. The smaller the normalized flow coefficient of the valve opening, the longer the valve switching time, leading to lower motor efficiency.
We can see from Figure 16 that when the flow coefficient is 10 5 c q ¯ , and the switching time is 0.2 t v ¯ , the efficiency is only approximately 50% with ideal flow distributing methods.
The results depicted in Figure 16 can also guide the design of motor speed and displacement to align with the requirements of different flow control valves. For instance, using the parameters of a commercial valve (Moog D762) with an opening time of 8 ms and a flow pressure coefficient of 1.5 and comparing it with a high-speed switching valve with an opening time of 3 ms and a flow pressure coefficient of 2.5, we can determine the relationship between speed and displacement, as shown in Figure 17. The high-speed switching valve features a significantly faster opening speed and lower flow resistance compared with the servo valve; therefore, a digital hydraulic motor utilizing the high-speed switching valve as the flow control valve offers higher operational efficiency and a broader range of operation.
The analysis and calculations emphasize the pivotal importance of the flow control valve’s opening duration and the flow pressure coefficient in guaranteeing optimal performance of the digital hydraulic motor. The results demonstrate that these parameters substantially affect the motor’s operational efficacy, underscoring the advantages and imperative of utilizing a high-speed valve within digital hydraulic motors. These conclusions provide essential contributions and strategies for the design of digital hydraulic motors, facilitating the development of efficient and dependable motors.

6. Conclusions

In conclusion, the digital hydraulic motor represents a promising technology for heavy-duty vehicle traction systems. It offers numerous advantages over traditional hydraulic motors, including enhanced efficiency, higher power density, and improved integration. The motor’s flow control mechanism consists of multiple groups of pistons and flow control valve units that facilitate active flow control, thereby eliminating the end-face flow control characteristic of conventional hydraulic motors. Its operational modes—active driving, passive driving, and standby—are achievable through the precise control of various flow control valves’ switching states. Although the current manufacturing costs for digital hydraulic motors are high, ongoing research and development could potentially lead to more cost-effective production methods, making them increasingly viable for heavy-duty vehicle traction systems.
Building on the foundation of digitally controlled hydraulic motors, we have conducted an in-depth analysis of the motor’s working mechanism. We explored the relationship between the motor’s geometric and configurational parameters and its performance characteristics as well as the impact of the valving arrangement on motor efficiency. From an efficiency perspective, we analyzed power losses in the digital valving process; based on this analysis, we derived guidelines for the design and component selection of digital hydraulic motors.

Author Contributions

Conceptualization, H.Z. and X.L.; methodology, H.Z.; validation, H.Z.; writing—review and editing, H.Z.; supervision, W.W. and H.W.; project administration, Y.Z. All authors have read and agreed to the published version of the manuscript.

Funding

This research was funded by TMIC project (Grant No. 2024-TM-017-C1), Science and Technology Innovation Fund of Tiandi Technology Co., Ltd. (Grant No. 2023-TD-QN005) and the National Natural Science Foundation of China (Grant No. 52404168).

Data Availability Statement

The original contributions presented in the study are included in the article, and further inquiries can be directed to the corresponding author.

Conflicts of Interest

Author Hao Zhang, Wenshu Wei and Yang Zhang are employed by Beijing Tianma Intelligent Control Technology Co., Ltd. Hong Wang is employed by China Coal Research Institute. The remaining authors declare that the research was conducted in the absence of any commercial or financial relationships that could be construed as a potential conflict of interest.

References

  1. Fassbender, D.; Zakharov, V.; Minav, T. Utilization of Electric Prime Movers in Hydraulic Heavy-Duty-Mobile-Machine Implement Systems. Autom. Constr. 2021, 132, 103964. [Google Scholar] [CrossRef]
  2. Goswami, G.; Jaiswal, S.; Nutakor, C.; Sopanen, J. Co-Simulation Platform for Simulating Heavy Mobile Machinery with Hydraulic Actuators and Various Hybrid Electric Powertrains. IEEE Access 2022, 10, 105770–105785. [Google Scholar] [CrossRef]
  3. Song, H.G.; Lim, D.W. Application of the Water-Based Electro-Hydraulic Actuator (EHA) to the Heavy-Duty Collaborative Robot. Actuators 2024, 13, 451. [Google Scholar] [CrossRef]
  4. Sciatti, F.; Tamburrano, P.; Distaso, E.; Amirante, R. Digital Hydraulic Technology: Applications, Challenges, and Future Direction. J. Phys. Conf. Ser. 2023, 2648, 012053. [Google Scholar] [CrossRef]
  5. Sakama, S.; Tanaka, Y.; Kamimura, A. Characteristics of Hydraulic and Electric Servo Motors. Actuators 2022, 11, 11. [Google Scholar] [CrossRef]
  6. Lukic, M.; Hebala, A.; Giangrande, P.; Klumpner, C.; Nuzzo, S.; Chen, G.; Gerada, C.; Eastwick, C.; Galea, M. State of the Art of Electric Taxiing Systems. In Proceedings of the 2018 IEEE International Conference on Electrical Systems for Aircraft, Railway, Ship Propulsion and Road Vehicles & International Transportation Electrification Conference (ESARS-ITEC), Nottingham, UK, 7–9 November 2018; pp. 1–6. [Google Scholar] [CrossRef]
  7. Chen, Y.; Hua, C.; Tong, C.; Zang, Y.; Ruan, J. Volumetric Efficiency in Motor-Driven Two-Dimensional Piston Pumps with Leakage and Reverse Flow under High Pressure. Sci. Rep. 2024, 14, 28963. [Google Scholar] [CrossRef] [PubMed]
  8. Karpenko, M. Investigation of Energy Efficiency of Mobile Machinery Hydraulic Drives; Vilnius Gediminas Technical University: Vilnius, Lithuania, 2021. [Google Scholar] [CrossRef]
  9. Roemer, D.B.; Johansen, P.; Pedersen, H.C.; Andersen, T.O. Analysis of Valve Requirements for High-Efficiency Digital Displacement Fluid Power Motors. In Proceedings of the 8th International Conference on Fluid Power Transmission and Control, Wuhan, China, 9–11 April 2013; pp. 122–126. [Google Scholar]
  10. Marien, M.; Wiig, K.E. Secondary Control of a Digital Hydraulic Motor for Winch Applications. Master’s Thesis, University of Agder, Kristiansand, Norway, 2018. [Google Scholar]
  11. Qiu, B.; Zhao, J.; Zhao, L. Characterization and Performance Analysis of a New Type of a High Water-Based Hydraulic Motor with a Self-Balanced Distribution Valve Mode. Proc. Inst. Mech. Eng. Part C J. Mech. Eng. Sci. 2017, 231, 4655–4669. [Google Scholar] [CrossRef]
  12. Andrenko, P.; Hrechka, I.; Khovanskyi, S.; Rogovyi, A.; Svynarenko, M. Improving the Technical Level of Hydraulic Machines, Hydraulic Units and Hydraulic Devices Using a Definitive Assessment Criterion at the Design Stage. J. Mech. Eng. 2021, 18, 57–76. [Google Scholar] [CrossRef]
  13. Remarchuk, N.; Voronin, S.; Chmuzh, Y.; Yevtushenko, A.; Halytskyi, O. Design of Hydraulic Motors with Rotary Shaft Movement for Driving Working Equipment in Modern Machines. East. Eur. J. Enterp. Technol. 2024, 4, 79–86. [Google Scholar] [CrossRef]
  14. Kumar, N.; Kumar, R.; Sarkar, B.K.; Maity, S. Condition Monitoring of Hydraulic Transmission System with Variable Displacement Axial Piston Pump and Fixed Displacement Motor. Mater. Today Proc. 2021, 46, 9758–9765. [Google Scholar] [CrossRef]
  15. Qing, L.; Gu, L.; Wang, Y.; Xue, W.; Lei, Z. The Piston Ring-Cylinder Bore Interface Leakage of Bent-Axis Piston Pumps Based on Elastohydrodynamic Lubrication and Rotation Speed. Shock Vib. 2021, 2021, 5534702. [Google Scholar] [CrossRef]
  16. Jose, J.T.; Das, J.; Mishra, S.K.; Wrat, G. Early Detection and Classification of Internal Leakage in Boom Actuator of Mobile Hydraulic Machines Using SVM. Eng. Appl. Artif. Intell. 2021, 106, 104492. [Google Scholar] [CrossRef]
  17. Kumar, N.; Dasgupta, K.; Ahmad, F. Analysis of Leakage Flow Characteristics in Bent Axis Motors. In Proceedings of the 1st International and 16th National Conference on Machines and Mechanisms (iNaCoMM2013), Roorkee, India, 18–20 December 2013. [Google Scholar]
  18. Zhang, X.; Zhang, J.; Han, M.; Fang, Y.; Zhang, H.; Li, S.; Xu, B.; Zhang, C. Design and Optimization of Self-Compensation Oil Distributor for Hydraulic Motors. IEEE/ASME Trans. Mechatron. 2024, 29, 2103–2114. [Google Scholar] [CrossRef]
  19. Linjama, M. Digital Fluid Power-State of the Art. In Proceedings of the 12th Scandinavian International Conference on Fluid Power, Tampere, Finland, 18–20 May 2011; pp. 18–20. [Google Scholar]
  20. Drumea, P.; Pavel, I.; Matache, G. Digital Hydraulic Motors. In Proceedings of the 2016 International Conference on Hydraulics and Pneumatics—HERVEX, Baile Govora, Romania, 9–11 November 2016; pp. 50–55. [Google Scholar]
  21. Macpherson, J.; Williamson, C.; Green, M.; Caldwell, N. Energy Efficient Excavator Hydraulic Systems with Digital Displacement® Pump-Motors and Digital Flow Distribution. In Proceedings of the FPMC2020, BATH/ASME 2020 Symposium on Fluid Power and Motion Control, Bath, UK, 9–11 September 2020. [Google Scholar] [CrossRef]
  22. Jian, P.; Guanglin, S. Modeling and Implementation of Hydraulic Motor with Digital Distribution and Speed Adjusting Mechanism. J. Shanghai Jiaotong Univ. 2011, 45, 1607. [Google Scholar]
Figure 1. Digital hydraulic motor drive system.
Figure 1. Digital hydraulic motor drive system.
Actuators 14 00011 g001
Figure 2. Hydraulic motor digital distribution schematic.
Figure 2. Hydraulic motor digital distribution schematic.
Actuators 14 00011 g002
Figure 3. Working quadrants.
Figure 3. Working quadrants.
Actuators 14 00011 g003
Figure 4. Variable displacement-driven system schematic.
Figure 4. Variable displacement-driven system schematic.
Actuators 14 00011 g004
Figure 5. Cross-sectional diagram and circumferential view of digital hydraulic motor. (a) Digital motor cutaway schematic. (b) Circumferential expansion schematic.
Figure 5. Cross-sectional diagram and circumferential view of digital hydraulic motor. (a) Digital motor cutaway schematic. (b) Circumferential expansion schematic.
Actuators 14 00011 g005
Figure 6. Schematic diagram and the piston.
Figure 6. Schematic diagram and the piston.
Actuators 14 00011 g006
Figure 7. Velocity and force decomposition.
Figure 7. Velocity and force decomposition.
Actuators 14 00011 g007
Figure 8. Motor flow of different motor configuration. (a) n = 8, m = 3. (b) n = 6, m = 3.
Figure 8. Motor flow of different motor configuration. (a) n = 8, m = 3. (b) n = 6, m = 3.
Actuators 14 00011 g008
Figure 9. The relationship between the distribution phase and piston unit power. (a) Ideal distribution. (b) Distribution with phase deviation.
Figure 9. The relationship between the distribution phase and piston unit power. (a) Ideal distribution. (b) Distribution with phase deviation.
Actuators 14 00011 g009
Figure 10. Distributing method 1: simultaneous switching commands.
Figure 10. Distributing method 1: simultaneous switching commands.
Actuators 14 00011 g010
Figure 11. Simulation model and result of a piston. (a) Simulation model of a piston. (b) Piston displacement.
Figure 11. Simulation model and result of a piston. (a) Simulation model of a piston. (b) Piston displacement.
Actuators 14 00011 g011
Figure 12. Simulation results of distributing method 1. (a) Piston chamber pressure. (b) Valve opening. (c) Valve opening at 0.05 s. (d) Valve opening at 0.1 s. (e) Flow of distributing valves. (f) Motor power.
Figure 12. Simulation results of distributing method 1. (a) Piston chamber pressure. (b) Valve opening. (c) Valve opening at 0.05 s. (d) Valve opening at 0.1 s. (e) Flow of distributing valves. (f) Motor power.
Actuators 14 00011 g012
Figure 13. Distributing method 2: avoid simultaneous switching commands.
Figure 13. Distributing method 2: avoid simultaneous switching commands.
Actuators 14 00011 g013
Figure 14. Simulation results of distributing method 2. (a) Piston chamber pressure. (b) Valve opening. (c) Valve opening at 0.05 s. (d) Valve opening at 0.1 s. (e) Flow of distributing valves. (f) Motor power.
Figure 14. Simulation results of distributing method 2. (a) Piston chamber pressure. (b) Valve opening. (c) Valve opening at 0.05 s. (d) Valve opening at 0.1 s. (e) Flow of distributing valves. (f) Motor power.
Actuators 14 00011 g014
Figure 15. Work cycle of the piston in the discharge cycle.
Figure 15. Work cycle of the piston in the discharge cycle.
Actuators 14 00011 g015
Figure 16. Influence of switching time and flow coefficient on motor efficiency.
Figure 16. Influence of switching time and flow coefficient on motor efficiency.
Actuators 14 00011 g016
Figure 17. Motor efficiency envelope of on-off valve and servo valve.
Figure 17. Motor efficiency envelope of on-off valve and servo valve.
Actuators 14 00011 g017
Table 1. Pulsation of different structure.
Table 1. Pulsation of different structure.
Number of Cam CyclesNumber of Pistons
123456789
1100100100100100100100100100
2100100100100100100100100100
313.413.410013.413.410013.413.4100
429.310029.310029.310029.310029.3
54.94.94.94.91004.94.94.94.9
613.413.410013.413.410013.413.4100
72.52.52.52.52.52.51002.52.5
87.629.37.71007.629.37.61007.6
91.51.513.41.51.513.41.51.5100
104.94.94.94.91004.94.94.94.9
Table 2. Distribution law of piston 1.
Table 2. Distribution law of piston 1.
CyclePhase Angle (rad)Working CycleHPVLPV
1 θ 01 m , π θ 01 m Retract01
π θ 01 m , 2 π θ 01 m Extend10
2 2 π θ 01 m , 3 π θ 01 m Retract01
3 π θ 01 m , 4 π θ 01 m Extend10
......
m 2 ( m 1 ) π θ 01 m , ( 2 m 1 ) π θ 01 m Retract01
( 2 m 1 ) π θ 01 m , 2 m π θ 01 m Extend10
Table 3. Simulation parameters.
Table 3. Simulation parameters.
ParameterValueUnit
Piston diameter12.5mm
Rod diameter0mm
Spring rate of return spring120N/mm
Spring preload force100N
Piston stroke8mm
Number of pistons6-
Number of cam cycles8-
Rotation speed of the motor600rpm
Disclaimer/Publisher’s Note: The statements, opinions and data contained in all publications are solely those of the individual author(s) and contributor(s) and not of MDPI and/or the editor(s). MDPI and/or the editor(s) disclaim responsibility for any injury to people or property resulting from any ideas, methods, instructions or products referred to in the content.

Share and Cite

MDPI and ACS Style

Zhang, H.; Wei, W.; Wang, H.; Zhang, Y.; Liu, X. Digital Hydraulic Motor Characteristic Analysis for Heavy-Duty Vehicle Traction. Actuators 2025, 14, 11. https://doi.org/10.3390/act14010011

AMA Style

Zhang H, Wei W, Wang H, Zhang Y, Liu X. Digital Hydraulic Motor Characteristic Analysis for Heavy-Duty Vehicle Traction. Actuators. 2025; 14(1):11. https://doi.org/10.3390/act14010011

Chicago/Turabian Style

Zhang, Hao, Wenshu Wei, Hong Wang, Yang Zhang, and Xiaochao Liu. 2025. "Digital Hydraulic Motor Characteristic Analysis for Heavy-Duty Vehicle Traction" Actuators 14, no. 1: 11. https://doi.org/10.3390/act14010011

APA Style

Zhang, H., Wei, W., Wang, H., Zhang, Y., & Liu, X. (2025). Digital Hydraulic Motor Characteristic Analysis for Heavy-Duty Vehicle Traction. Actuators, 14(1), 11. https://doi.org/10.3390/act14010011

Note that from the first issue of 2016, this journal uses article numbers instead of page numbers. See further details here.

Article Metrics

Back to TopTop