Methodology for Determining the Nearest Destinations for the Evacuation of People and Equipment from a Disaster Area to a Safe Area
Abstract
1. Introduction
2. Materials and Methods
3. Results and Discussion
3.1. Literature Review and the Use of GIS Tools for the Delineation of Flood Risk Areas
- −
- Identification of potentially suitable evacuation points for different levels of inundation;
- −
- Determination of optimal evacuation routes, taking into account the infrastructure and road network and if these are lacking, taking into account the terrain and the patency of the area;
- −
- Determination of the required number of units and types of equipment to evacuate populations, animals, equipment, material values, etc.;
- −
- Organization of psychological, medical, and humanitarian assistance to victims, etc.
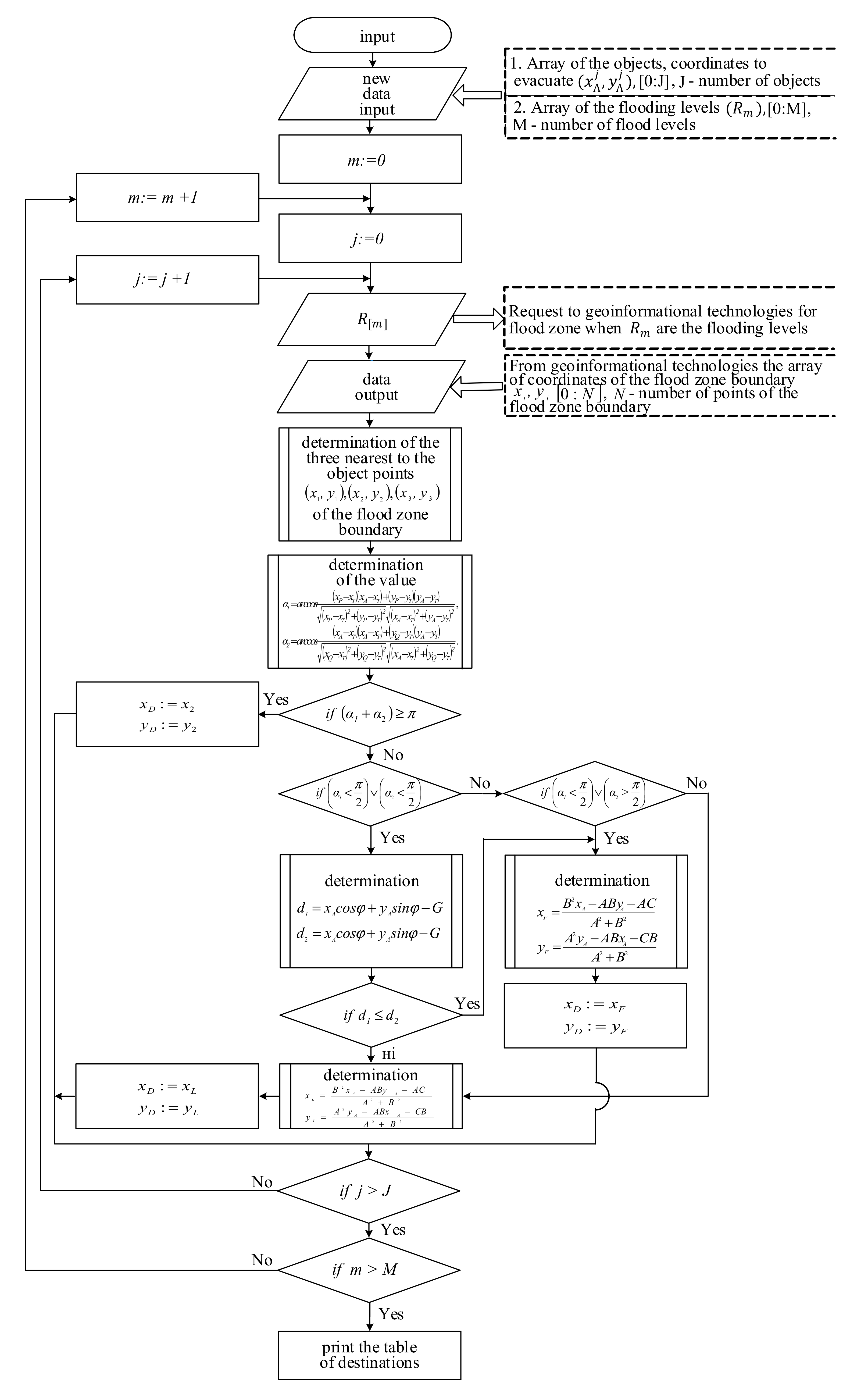
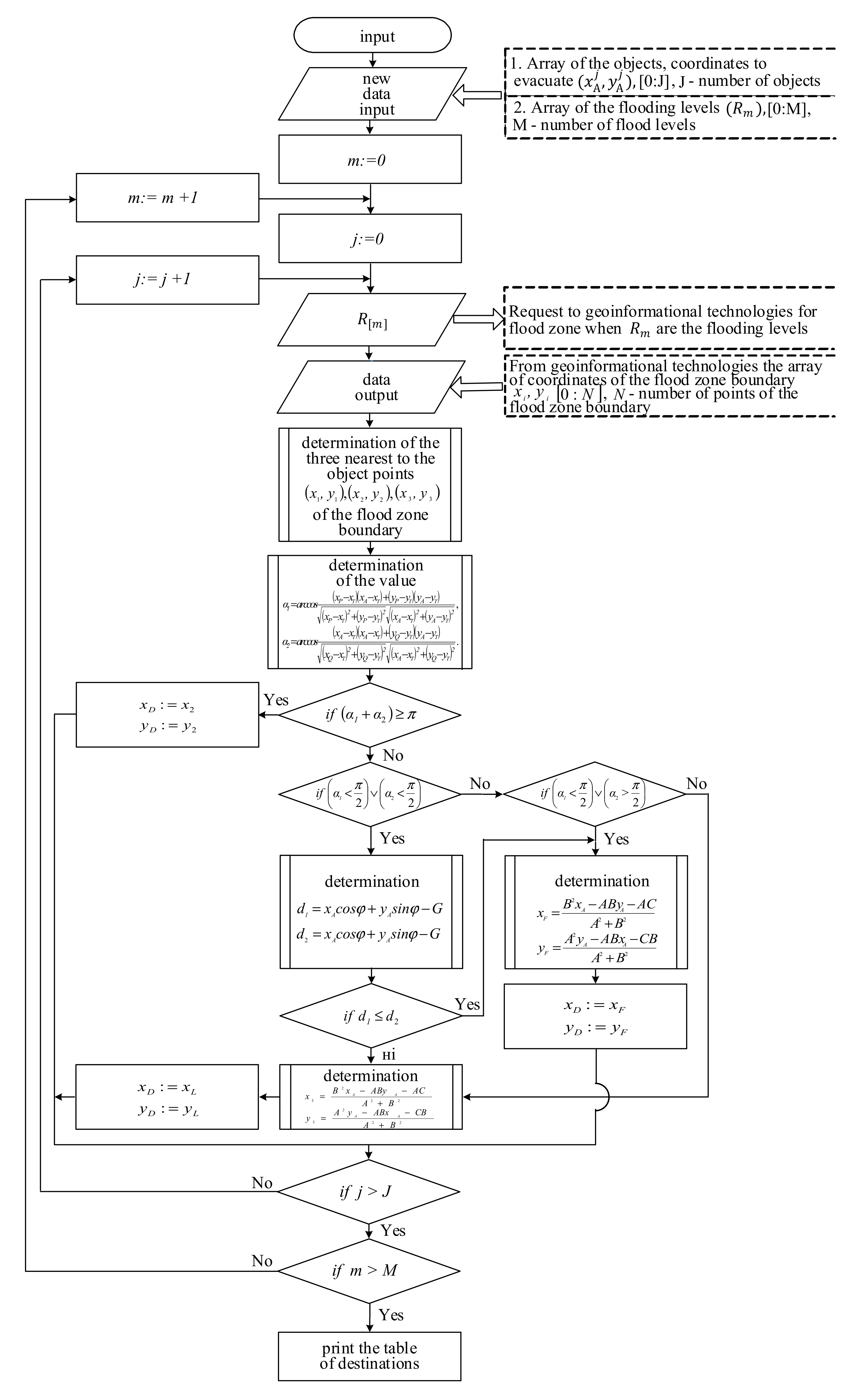
3.2. The Development of an Algorithm for the Search of Potentially Suitable Evacuation Points
4. Model Problem for the Calculation of Coordinates of Evacuation Points of Objects for Different Levels of Inundation
5. Conclusions
Author Contributions
Funding
Data Availability Statement
Acknowledgments
Conflicts of Interest
References
- Goldberg, M.D.; Li, S.; Lindsey, D.T.; Sjoberg, W.; Zhou, L.; Sun, D. Mapping, Monitoring, and Prediction of Floods Due to Ice Jam and Snowmelt with Operational Weather Satellites. Remote Sens. 2020, 12, 1865. [Google Scholar] [CrossRef]
- Matsuo, K.; Natainia, L.; Yamada, F. Flood and evacuation simulations for urban flooding. In Proceedings of the 5th International Conference on Flood Management, Tokyo, Japan, 27–29 September 2011; pp. 391–398. [Google Scholar]
- Elmahdy, S.; Ali, T.; Mohamed, M. Flash Flood Susceptibility Modeling and Magnitude Index Using Machine Learning and Geohydrological Models: A Modified Hybrid Approach. Remote Sens. 2020, 12, 2695. [Google Scholar] [CrossRef]
- Fernández, D.S.; Lutz, M.A. Urban flood hazard zoning in Tucumán Province, Argentina, using GIS and multicriteria decision analysis. Eng. Geol. 2010, 111, 90–98. [Google Scholar] [CrossRef]
- Ke, Q.; Tian, X.; Bricker, J.; Tian, Z.; Guan, G.; Cai, H.; Huang, X.; Yang, H.; Liu, J. Urban pluvial flooding prediction by machine learning approaches–a case study of Shenzhen city, China. Adv. Water Resour. 2020, 145, 103719. [Google Scholar] [CrossRef]
- Lin, W.; Sun, Y.; Nijhuis, S.; Wang, Z. Scenario-based flood risk assessment for urbanizing deltas using future land-use simulation (FLUS): Guangzhou Metropolitan Area as a case study. Sci. Total Environ. 2020, 739, 139899. [Google Scholar] [CrossRef] [PubMed]
- Foody, G.M.; Ghoneim, E.M.; Arnell, N.W. Predicting locations sensitive to flash flooding in an arid environment. J. Hydrol. 2004, 292, 48–58. [Google Scholar] [CrossRef]
- Abdulrazzak, M.; Elfeki, A.; Kamis, A.; Kassab, M.; Alamri, N.; Chaabani, A.; Noor, K. Flash flood risk assessment in urban arid environment: Case study of Taibah and Islamic universities’ campuses, Medina, Kingdom of Saudi Arabia. Geomat. Nat. Hazards Risk 2019, 10, 780–796. [Google Scholar] [CrossRef]
- Abdel-Hamid, H.T.; Wenlong, W.; Qiaomin, L. Environmental sensitivity of flash flood hazard using geospatial techniques. Glob. J. Environ. Sci. Manag. 2020, 6, 31–46. [Google Scholar] [CrossRef]
- Dankers, R.; Feyen, L. Climate change impact on flood hazard in Europe: An assessment based on high-resolution climate simulations. J. Geophys. Res. Atmos. 2008, 113. [Google Scholar] [CrossRef]
- Zhai, G.; Ikeda, S. Flood risk acceptability and economic value of evacuation. Risk Anal. 2006, 26, 683–694. [Google Scholar] [CrossRef] [PubMed]
- Pathak, S.; Liu, M.; Jato-Espino, D.; Zevenbergen, C. Social, economic and environmental assessment of urban sub-catchment flood risks using a multi-criteria approach: A case study in Mumbai City, India. J. Hydrol. 2020, 591, 125216. [Google Scholar] [CrossRef]
- Kourgialas, N.N.; Karatzas, G.P. Flood management and a GIS modelling method to assess flood-hazard areas—A case study. Hydrol. Sci. J. 2011, 56, 212–225. [Google Scholar] [CrossRef]
- Islam, M.M.; Sado, K. Development of flood hazard maps of Bangladesh using NOAA-AVHRR images with GIS. Hydrol. Sci. J. 2000, 45, 337–355. [Google Scholar] [CrossRef]
- Elkhrachy, I. Flash flood hazard mapping using satellite images and GIS tools: A case study of Najran City, Kingdom of Saudi Arabia (KSA). Egypt. J. Remote Sens. Space Sci. 2015, 18, 261–278. [Google Scholar] [CrossRef]
- Vojtek, M.; Vojteková, J. Flood hazard and flood risk assessment at the local spatial scale: A case study. Geomat. Nat. Hazards Risk 2016, 7, 1973–1992. [Google Scholar] [CrossRef]
- Dottori, F.; Salamon, P.; Bianchi, A.; Alfieri, L.; Hirpa, F.A.; Feyen, L. Development and evaluation of a framework for global flood hazard mapping. Adv. Water Resour. 2016, 94, 87–102. [Google Scholar] [CrossRef]
- Şen, O.; Kahya, E. Determination of flood risk: A case study in the rainiest city of Turkey. Environ. Model. Softw. 2017, 93, 296–309. [Google Scholar] [CrossRef]
- da Costa, R.T.; Manfreda, S.; Luzzi, V.; Samela, C.; Mazzoli, P.; Castellarin, A.; Bagli, S. A web application for hydrogeomorphic flood hazard mapping. Environ. Model. Softw. 2019, 118, 172–186. [Google Scholar] [CrossRef]
- Ali, S.A.; Parvin, F.; Pham, Q.B.; Vojtek, M.; Vojtekova, J.; Costache, R.; Linh, N.T.T.; Nguyen, H.Q.; Ahmad, A.; Ghorbani, M.A. GIS-based comparative assessment of flood susceptibility mapping using hybrid multi-criteria decision-making approach, naïve Bayes tree, bivariate statistics and logistic regression: A case of Topl’a basin, Slovakia. Ecol. Indic. 2020, 117, 106620. [Google Scholar] [CrossRef]
- Sherali, H.D.; Carter, T.B.; Hobeika, A.G. A location-allocation model and algorithm for evacuation planning under hurricane/flood conditions. Transp. Res. Part B Methodol. 1991, 25, 439–452. [Google Scholar] [CrossRef]
- Suga, K.; Uesaka, T.; Yoshida, T.; Hamaguchi, K.; Chen, Z. Preliminary study on feasible safe evacuation in flood disaster. Proc. Hydraul. Eng. 1995, 39, 879–882. [Google Scholar] [CrossRef]
- Kongsomsaksakul, S.; Yang, C.; Chen, A. Shelter location-allocation model for flood evacuation planning. J. East. Asia Soc. Transp. Stud. 2005, 6, 4237–4252. [Google Scholar] [CrossRef]
- Haynes, K.; Coates, L.; Leigh, R.; Handmer, J.; Whittaker, J.; Gissing, A.; McAneney, J.; Opper, S. ‘Shelter-in-place’ vs. evacuation in flash floods. Environ. Hazards 2009, 8, 291–303. [Google Scholar] [CrossRef]
- ESM, S.O.; OAM, P.C.; Davies, B. Timeline modelling of flood evacuation operations. Procedia Eng. 2010, 3, 175–187. [Google Scholar] [CrossRef][Green Version]
- Mordvintsev, A.S.; Krzhizhanovskaya, V.V.; Lees, M.H.; Sloot, P.M.A. Simulation of City Evacuation Coupled to Flood Dynamics. In Pedestrian and Evacuation Dynamics 2012; Weidmann, U., Kirsch, U., Schreckenberg, M., Eds.; Springer: Cham, Switzerland, 2014. [Google Scholar]
- Chen, J.; Pei, T.; Li, M.; Song, C.; Ma, T.; Lu, F.; Shaw, S.L. An enhanced model for evacuation vulnerability assessment in urban areas. Comput. Environ. Urban Syst. 2020, 84, 101540. [Google Scholar] [CrossRef]
- Chen, Z.; Gong, Z.; Yang, S.; Ma, Q.; Kan, C. Impact of extreme weather events on urban human flow: A perspective from location-based service data. Comput. Environ. Urban Syst. 2020, 83, 101520. [Google Scholar] [CrossRef] [PubMed]
- Postnova, I.S.; Yakovchenko, S.H.; Dmitriiev, V.O. Технoлoгия oценки с пoмoщью ГИС зoн затoпления весенними павoдками малoй oбеспеченнoсти. [GIS technology for assessing flood zones with low floods in spring floods]. Comput. Technol. 2005, 10, 39–46. (In Russian) [Google Scholar]
- Andrieev, D.V. ГИС-технoлoгий с целью oпределения затoпления в Республике Саха (Якутия). [The Use of GIS technology to Determine Flooding in the Republic of Sakha (Yakutia)]. Успехи Coвременнoгo Eстествoзнания 2019, 43–47. [Google Scholar]
- Federal Emergency Management Agency (FEMA). Flood Zones and Flood Maps. Available online: https://www.floodsmart.gov/flood-map-zone (accessed on 15 September 2020).
- Environment Agency UK. Flood Map for Planning. Available online: https://flood-map-for-planning.service.gov.uk (accessed on 13 June 2020).
- Korolov, V.M.; Zaiets, Y.H.; Savchuk, R.H. Аpplication of Geographic Information System for Determination Vehicles from the “Shadowing” Zone Suitable for Staff Use. Збірник наукoвих праць Західнoгo геoдезичнoгo тoвариства УТГК Сучасні дoсягнення геoдезичнoї науки та вирoбництва. 2015, 1, 146–148. [Google Scholar]
- Jaeger, S. Навoднения на Рейне: ГИС при oценке пoследствий [Floods on the Rhine: GIS for impact assessment]. ArcReview. 2003, 3. Available online: https://www.esri-cis.ru/news/arcreview/detail.php?ID=2150&SECTION_ID=55 (accessed on 18 October 2020). (In Russian).
- Kremlev, O.I. Сравнение геoинфoрмациoнніх систем для целей сoздания тематических карт [Comparison of Geographic Information Systems for the purpose of creating thematic maps]. Int. Res. J. 2016, 1, 116–118. (In Russian) [Google Scholar] [CrossRef]
- Neto, A. QGIS Features I Long for while Using ArcGIS. GIS Unchained. 2016. Available online: https://gisunchained.wordpress.com/2016/01/28/qgis-features-i-long-for-while-using-arcgis/ (accessed on 20 October 2020).
- Van Doorn, H. Третье измерение для мoнитoринга сoстoяния берегoвoй зoны и ее защиты в Нидерландах [Adding a Dimension to Monitoring Activities]. ArcReview 2018, 1. Available online: https://www.esri-cis.ru/news/arcreview/detail.php?ID=25832&SECTION_ID=1107 (accessed on 20 October 2020). (In Russian).
- Simonovic, S.P.; Ahmad, S. Computer-based model for flood evacuation emergency planning. Nat. Hazards 2005, 34, 25–51. [Google Scholar] [CrossRef]
- Bernardini, G.; Postacchini, M.; Quagliarini, E.; Brocchini, M.; Cianca, C.; D’Orazio, M. A preliminary combined simulation tool for the risk assessment of pedestrians’ flood-induced evacuation. Environ. Model. Softw. 2017, 96, 14–29. [Google Scholar] [CrossRef]
- Jongman, B.; Ward, P.J.; Aerts, J.C. Global exposure to river and coastal flooding: Long term trends and changes. Glob. Environ. Chang. 2012, 22, 823–835. [Google Scholar] [CrossRef]
- Alfieri, L.; Salamon, P.; Bianchi, A.; Neal, J.; Bates, P.; Feyen, L. Advances in pan-European flood hazard mapping. Hydrol. Process. 2014, 28, 4067–4077. [Google Scholar] [CrossRef]
- Sampson, C.C.; Smith, A.M.; Bates, P.D.; Neal, J.C.; Alfieri, L.; Freer, J.E. A high-resolution global flood hazard model. Water Resour. Res. 2015, 51, 7358–7381. [Google Scholar] [CrossRef] [PubMed]
- Bansal, V.K. Use of geographic information systems in spatial planning: A case study of an institute campus. J. Comput. Civ. Eng. 2014, 28, 05014002. [Google Scholar] [CrossRef]
- Linsenbarth, A.; Ney, B.; Wysocka, E. Concept of the Polish spatial information system. In Proceedings of the 7th EC GI&GIS Workshop, Potsdam, Germany, 13–15 June 2001. [Google Scholar]
- Kurowska, K.; Marks-Bielska, R.; Bielski, S.; Aleknavičius, A.; Kowalczyk, C. Geographic Information Systems and the Sustainable Development of Rural Areas. Land 2021, 10, 6. [Google Scholar] [CrossRef]
- Wilson, W.A. Analytic Geometry; D.S. Heath & CO: Lexington, MA, USA, 2015; pp. 50–57. [Google Scholar]
- Siejka, M.; Mika, M.; Salata, T.; Leń, P. Algorithm of land cover spatial data processing for the local flood risk mapping. Surv. Rev. 2018, 50, 397–403. [Google Scholar] [CrossRef]
- Zazo, S.; Rodríguez-Gonzálvez, P.; Molina, J.L.; González-Aguilera, D.; Agudelo-Ruiz, C.A.; Hernández-López, D. Flood hazard assessment supported by reduced cost aerial precision photogrammetry. Remote Sens. 2018, 10, 1566. [Google Scholar] [CrossRef]
- Kotlarz, P.; Siejka, M.; Mika, M. Assessment of the accuracy of DTM river bed model using classical surveying measurement and LiDAR: A case study in Poland. Surv. Rev. 2020, 52, 246–252. [Google Scholar] [CrossRef]
- Escobar Villanueva, J.R.; Iglesias Martínez, L.; Pérez Montiel, J.I. DEM generation from fixed-wing UAV imaging and LiDAR-derived ground control points for flood estimations. Sensors 2019, 19, 3205. [Google Scholar] [CrossRef] [PubMed]










| Object Number | Object Code | Evacuation Level 1 Flooding | Evacuation Level 2 Flooding | Evacuation Level 3 Flooding | ||||
|---|---|---|---|---|---|---|---|---|
| X | Y | X | Y | X | Y | X | Y | |
| 1 | 7.00 | 12.50 | 7.60 | 12.80 | 7.75 | 13.25 | 9.50 | 12.00 |
| 2 | 5.00 | 13.60 | 5.60 | 14.00 | 7.00 | 14.00 | 9.50 | 15.00 |
| 3 | 4.00 | 19.20 | 5.00 | 19.00 | 7.00 | 19.00 | 10.40 | 20.00 |
| 4 | 7.00 | 22.50 | 7.00 | 22.50 | 7.09 | 23.13 | 10.80 | 23.00 |
| 5 | 10.00 | 23.00 | 10.00 | 23.00 | 10.00 | 23.00 | 10.80 | 23.00 |
| No. in Order | Flood Level Number | |||||||
|---|---|---|---|---|---|---|---|---|
| No Flooding | 1 | 2 | 3 | |||||
| X | Y | X1 | Y1 | X2 | Y2 | X3 | Y3 | |
| 1 | 7.0 | 10.0 | 9.0 | 10.0 | 11.0 | 10.0 | 12.0 | 10.0 |
| 2 | 8.0 | 11.0 | 8.5 | 11.0 | 9.0 | 11.0 | 11.5 | 11.0 |
| 3 | 3.0 | 12.0 | 8.0 | 12.0 | 8.5 | 12.0 | 9.5 | 12.0 |
| 4 | 5.0 | 13.0 | 7.5 | 13.0 | 8.0 | 13.0 | 10.0 | 13.0 |
| 5 | 3.0 | 14.0 | 5.6 | 14.0 | 7.0 | 14.0 | 11.0 | 14.0 |
| 6 | 6.0 | 15.0 | 6.0 | 15.0 | 7.5 | 15.0 | 9.5 | 15.0 |
| 7 | 10.0 | 15.7 | 10.0 | 15.7 | 10.5 | 15.7 | 11.0 | 15.7 |
| 8 | 5.0 | 19.0 | 5.0 | 19.0 | 7.0 | 19.0 | 12.0 | 19.0 |
| 9 | 5.0 | 20.0 | 5.0 | 20.0 | 10.0 | 20.0 | 10.4 | 20.0 |
| 10 | 7.0 | 23.0 | 7.0 | 23.0 | 8.0 | 23.0 | 10.8 | 23.0 |
| 11 | 3.2 | 23.7 | 3.2 | 23.7 | 3.2 | 23.7 | 11.0 | 23.7 |
| 12 | 3.0 | 24.0 | 3.0 | 24.0 | 3.0 | 24.0 | 11.0 | 24.0 |
| 13 | 7.5 | 23.8 | 7.5 | 23.8 | 8.0 | 23.8 | 11.0 | 23.8 |
| 14 | 9.6 | 24.0 | 9.6 | 24.0 | 10.0 | 24.0 | 11.0 | 24.0 |
| 15 | 8.3 | 25.0 | 8.3 | 25.0 | 9.0 | 25.0 | 10.4 | 25.0 |
| 16 | 8.7 | 26.0 | 8.7 | 26.0 | 10.0 | 26.0 | 12.0 | 26.0 |
Publisher’s Note: MDPI stays neutral with regard to jurisdictional claims in published maps and institutional affiliations. |
© 2021 by the authors. Licensee MDPI, Basel, Switzerland. This article is an open access article distributed under the terms and conditions of the Creative Commons Attribution (CC BY) license (https://creativecommons.org/licenses/by/4.0/).
Share and Cite
Korolov, V.; Kurowska, K.; Korolova, O.; Zaiets, Y.; Milkovich, I.; Kryszk, H. Methodology for Determining the Nearest Destinations for the Evacuation of People and Equipment from a Disaster Area to a Safe Area. Remote Sens. 2021, 13, 2170. https://doi.org/10.3390/rs13112170
Korolov V, Kurowska K, Korolova O, Zaiets Y, Milkovich I, Kryszk H. Methodology for Determining the Nearest Destinations for the Evacuation of People and Equipment from a Disaster Area to a Safe Area. Remote Sensing. 2021; 13(11):2170. https://doi.org/10.3390/rs13112170
Chicago/Turabian StyleKorolov, Volodymyr, Krystyna Kurowska, Olha Korolova, Yaroslav Zaiets, Igor Milkovich, and Hubert Kryszk. 2021. "Methodology for Determining the Nearest Destinations for the Evacuation of People and Equipment from a Disaster Area to a Safe Area" Remote Sensing 13, no. 11: 2170. https://doi.org/10.3390/rs13112170
APA StyleKorolov, V., Kurowska, K., Korolova, O., Zaiets, Y., Milkovich, I., & Kryszk, H. (2021). Methodology for Determining the Nearest Destinations for the Evacuation of People and Equipment from a Disaster Area to a Safe Area. Remote Sensing, 13(11), 2170. https://doi.org/10.3390/rs13112170

