Jerusalem Artichoke as a Raw Material for Manufacturing Alternative Fuels for Gasoline Internal Combustion Engines
Abstract
1. Introduction
- Optimization of cultivation conditions to increase crop yields per input,
 - Increasing the inulin content in tubers by genetic modification of the species,
 - Identification and development of enzymes with high activity and stability to increase manufacturing efficiency.
 
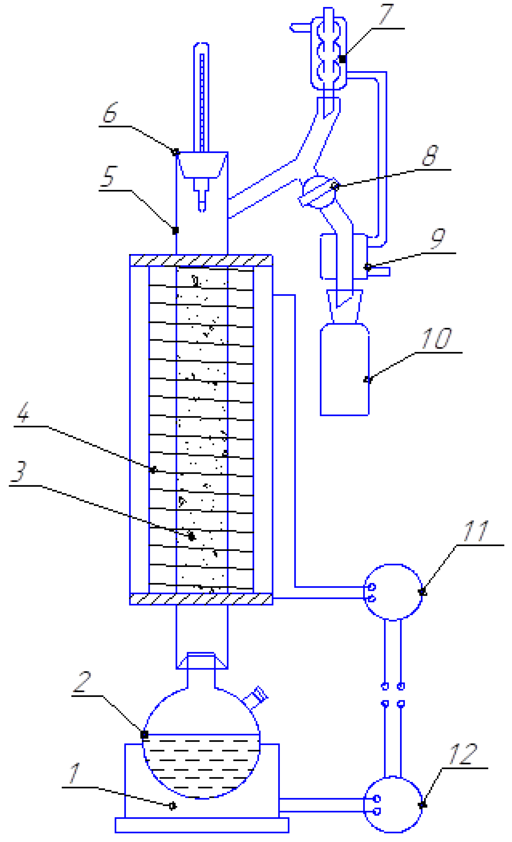
2. Materials and Methods
- To improve the methodology of alcoholic fermentation of JA biomass.
 - To manufacture the fuel alcohol.
 - To study the physicochemical and operational characteristics of the obtained fuel alcohol combined with commercial gasoline.
 
3. Results and Discussion
- The mixture of gasoline MON = 80 and 10% alcohol additive to obtain A92 grade,
 - The mixture of gasoline MON = 80 and 15% alcohol additive to obtain A95 grade,
 - The mixture of gasoline MON = 80 and 25% alcohol additive to obtain A98 grade.
 
4. Conclusions
Author Contributions
Funding
Institutional Review Board Statement
Informed Consent Statement
Data Availability Statement
Acknowledgments
Conflicts of Interest
References
- Nurkusheva, S.; Bembenek, M.; Berdychowski, M.; Gajdzik, B.; Wolniak, R. An Analysis of the Correct Frequency of the Service Inspections of German Passenger Cars—A Case Study on Kazakhstan and Poland. Vehicles 2024, 6, 553–570. [Google Scholar] [CrossRef]
 - Bembenek, M.; Karwat, B.; Melnyk, V.; Mosora, Y. Research on the Impact of Supplying the Air-Cooled D21A1 Engine with RME B100 Biodiesel on Its Operating Parameters. Energies 2023, 16, 6430. [Google Scholar] [CrossRef]
 - Sawicka, B.; Skiba, D.; Kiełtyka-Dadasiewicz, A.; Danilčenko, H. Jerusalem Artichoke (Helianthus tuberosus L.) as Energy Raw Material. In Proceedings of the 9th International Scientific Conference Rural Development 2019, Kaunas, Lithuania, 26–28 September 2019; Volume 2019, pp. 336–342. [Google Scholar] [CrossRef]
 - Yang, L.; He, Q.S.; Corscadden, K.; Udenigwe, C.C. The Prospects of Jerusalem Artichoke in Functional Food Ingredients and Bioenergy Production. Biotechnol. Rep. 2015, 5, 77–88. [Google Scholar] [CrossRef]
 - Qiu, Y.; Lei, P.; Zhang, Y.; Sha, Y.; Zhan, Y.; Xu, Z.; Li, S.; Xu, H.; Ouyang, P. Recent Advances in Bio-Based Multi-Products of Agricultural Jerusalem Artichoke Resources. Biotechnol. Biofuels 2018, 11, 151. [Google Scholar] [CrossRef] [PubMed]
 - Gunnarsson, I.B.; Svensson, S.-E.; Johansson, E.; Karakashev, D.; Angelidaki, I. Potential of Jerusalem Artichoke (Helianthus tuberosus L.) as a Biorefinery Crop. Ind. Crops Prod. 2014, 56, 231–240. [Google Scholar] [CrossRef]
 - Kowalczyk-Jusko, A.; Jozwiakowski, K.; Gizinska, M.; Zarajczyk, J. Jerusalem Artichoke (Helianthus tuberosus L.) as Renewable Energy Raw Material. Comm. Mot. Energ. Agric. 2012, 12. [Google Scholar]
 - Quintero, J.A.; Montoya, M.I.; Sánchez, O.J.; Giraldo, O.H.; Cardona, C.A. Fuel Ethanol Production from Sugarcane and Corn: Comparative Analysis for a Colombian Case. Energy 2008, 33, 385–399. [Google Scholar] [CrossRef]
 - Li, X.; Mupondwa, E.; Panigrahi, S.; Tabil, L.; Sokhansanj, S.; Stumborg, M. A Review of Agricultural Crop Residue Supply in Canada for Cellulosic Ethanol Production. Renew. Sustain. Energy Rev. 2012, 16, 2954–2965. [Google Scholar] [CrossRef]
 - Lv, S.; Wang, R.; Xiao, Y.; Li, F.; Mu, Y.; Lu, Y.; Gao, W.; Yang, B.; Kou, Y.; Zeng, J.; et al. Growth, Yield Formation, and Inulin Performance of a Non-Food Energy Crop, Jerusalem Artichoke (Helianthus tuberosus L.), in a Semi-Arid Area of China. Ind. Crops Prod. 2019, 134, 71–79. [Google Scholar] [CrossRef]
 - Rossini, F.; Provenzano, M.E.; Kuzmanović, L.; Ruggeri, R. Jerusalem Artichoke (Helianthus tuberosus L.): A Versatile and Sustainable Crop for Renewable Energy Production in Europe. Agronomy 2019, 9, 528. [Google Scholar] [CrossRef]
 - Cheng, Y.; Zhou, W.; Gao, C.; Lan, K.; Gao, Y.; Wu, Q. Biodiesel Production from Jerusalem Artichoke ( Helianthus tuberosus L.) Tuber by Heterotrophic Microalgae Chlorella Protothecoides. J. Chem. Technol. Biotechnol. 2009, 84, 777–781. [Google Scholar] [CrossRef]
 - Chen, Y.; Peng, N.; Gao, Y.; Li, Q.; Wang, Z.; Yao, B.; Li, Y. Two-Stage Pretreatment of Jerusalem Artichoke Stalks with Wastewater Recycling and Lignin Recovery for the Biorefinery of Lignocellulosic Biomass. Processes 2023, 11, 127. [Google Scholar] [CrossRef]
 - Fan, B.; Ni, J.; Li, Q.; He, Y.; Ma, C. Enhanced Enzymatic Saccharification of Tomato Stalk by Combination Pretreatment with NaOH and ChCl:Urea-Thioure in One-Pot Manner. Processes 2022, 10, 1905. [Google Scholar] [CrossRef]
 - Jimenez-Gutierrez, J.M.; Verlinden, R.A.J.; Van Der Meer, P.C.; Van Der Wielen, L.A.M.; Straathof, A.J.J. Liquid Hot Water Pretreatment of Lignocellulosic Biomass at Lab and Pilot Scale. Processes 2021, 9, 1518. [Google Scholar] [CrossRef]
 - Bhatia, S.K.; Jagtap, S.S.; Bedekar, A.A.; Bhatia, R.K.; Patel, A.K.; Pant, D.; Rajesh Banu, J.; Rao, C.V.; Kim, Y.-G.; Yang, Y.-H. Recent Developments in Pretreatment Technologies on Lignocellulosic Biomass: Effect of Key Parameters, Technological Improvements, and Challenges. Bioresour. Technol. 2020, 300, 122724. [Google Scholar] [CrossRef] [PubMed]
 - Karungi, A.; Pogrebnoi, A.; Kivevele, T. Optimization of Microwave-Assisted Alkali Pretreatment Followed by Acid Hydrolysis of Sugarcane Straw for Production of Acetone-Butanol-Ethanol. Energy Sources Part Recovery Util. Environ. Eff. 2020, 1–17. [Google Scholar] [CrossRef]
 - Zhang, P.; Li, Q.; Chen, Y.; Peng, N.; Liu, W.; Wang, X.; Li, Y. Induction of Cellulase Production in Trichoderma reesei by a Glucose–Sophorose Mixture as an Inducer Prepared Using Stevioside. RSC Adv. 2022, 12, 17392–17400. [Google Scholar] [CrossRef]
 - Byun, J.; Cha, Y.-L.; Park, S.-M.; Kim, K.-S.; Lee, J.-E.; Kang, Y.-G. Lignocellulose Pretreatment Combining Continuous Alkaline Single-Screw Extrusion and Ultrasonication to Enhance Biosugar Production. Energies 2020, 13, 5636. [Google Scholar] [CrossRef]
 - Wu, J.; Dong, L.; Liu, B.; Xing, D.; Zhou, C.; Wang, Q.; Wu, X.; Feng, L.; Cao, G. A Novel Integrated Process to Convert Cellulose and Hemicellulose in Rice Straw to Biobutanol. Environ. Res. 2020, 186, 109580. [Google Scholar] [CrossRef]
 - Muryanto; Triwahyuni, E.; Hendarsyah, H.; Abimanyu, H. Reuse Black Liquor of Alkali Pretreatment in Bioethanol Production. Energy Procedia 2015, 68, 236–243. [Google Scholar] [CrossRef]
 - Prajapati, B.P.; Kango, N. Evaluation of Alkali Black Liquor Recycling for Rice Straw Delignification and Its Effect on Enzymatic Saccharification. Ind. Crops Prod. 2022, 180, 114709. [Google Scholar] [CrossRef]
 - Han, M.; Moon, S.-K.; Choi, G.-W. Pretreatment Solution Recycling and High-Concentration Output for Economical Production of Bioethanol. Bioprocess Biosyst. Eng. 2014, 37, 2205–2213. [Google Scholar] [CrossRef] [PubMed]
 - Tofani, G.; Cornet, I.; Tavernier, S. Separation and Recovery of Lignin and Hydrocarbon Derivatives from Cardboard. Biomass Convers. Biorefinery 2022, 12, 3409–3424. [Google Scholar] [CrossRef]
 - Mousavioun, P.; Doherty, W.O.S. Chemical and Thermal Properties of Fractionated Bagasse Soda Lignin. Ind. Crops Prod. 2010, 31, 52–58. [Google Scholar] [CrossRef]
 - Liu, S.; Yu, Y.; Xu, Z.; Chen, S.; Shen, G.; Yuan, X.; Deng, Q.; Shen, W.; Yang, S.; Zhang, C.; et al. Efficient Corncob Biorefinery for Ethanol Initiated by a Novel Pretreatment of Densifying Lignocellulosic Biomass with Sulfuric Acid. Fermentation 2022, 8, 661. [Google Scholar] [CrossRef]
 - Zanellati, A.; Spina, F.; Bonaterra, M.; Dinuccio, E.; Varese, G.C.; Scarpeci, T.E. Screening and Evaluation of Phenols and Furans Degrading Fungi for the Biological Pretreatment of Lignocellulosic Biomass. Int. Biodeterior. Biodegrad. 2021, 161, 105246. [Google Scholar] [CrossRef]
 - Kim, S. Xylitol Production From Byproducts Generated During Sequential Acid-/Alkali-Pretreatment of Empty Palm Fruit Bunch Fiber by an Adapted Candida Tropicalis. Front. Energy Res. 2019, 7, 72. [Google Scholar] [CrossRef]
 - Dziekońska-Kubczak, U.; Berłowska, J.; Dziugan, P.; Patelski, P.; Balcerek, M.; Pielech-Przybylska, K.; Robak, K. Two-Stage Pretreatment to Improve Saccharification of Oat Straw and Jerusalem Artichoke Biomass. Energies 2019, 12, 1715. [Google Scholar] [CrossRef]
 - Vaz, F.L.; Da Rocha Lins, J.; Alves Alencar, B.R.; Silva De Abreu, Í.B.; Vidal, E.E.; Ribeiro, E.; Valadares De Sá Barretto Sampaio, E.; Cezar Menezes, R.S.; Dutra, E.D. Chemical Pretreatment of Sugarcane Bagasse with Liquid Fraction Recycling. Renew. Energy 2021, 174, 666–673. [Google Scholar] [CrossRef]
 - Kashcheyeva, E.I.; Skiba, E.A.; Zolotukhin, V.N.; Budaeva, V.V. Recycling of Nitric Acid Solution in Chemical Pretreatment of Oat Hulls for Biorefining. BioResources 2020, 15, 1575–1586. [Google Scholar] [CrossRef]
 - Zou, H.-X.; Zhao, D.; Wen, H.; Li, N.; Qian, W.; Yan, X. Salt Stress Induced Differential Metabolic Responses in the Sprouting Tubers of Jerusalem Artichoke (Helianthus tuberosus L.). PLoS ONE 2020, 15, e0235415. [Google Scholar] [CrossRef]
 - Bedzo, O.K.K.; Mandegari, M.; Görgens, J.F. Techno-economic Analysis of Inulooligosaccharides, Protein, and Biofuel Co-production from Jerusalem Artichoke Tubers: A Biorefinery Approach. Biofuels Bioprod. Biorefining 2020, 14, 776–793. [Google Scholar] [CrossRef]
 - Zhang, C.; Wu, D.; Yang, H.; Ren, H. Production of Ethanol from Jerusalem Artichoke by Mycelial Pellets. Sci. Rep. 2019, 9, 18510. [Google Scholar] [CrossRef]
 - Liu, Y.; Ren, L.; Zhao, J.; Xia, Y.; Zhang, Z.; Guan, X.; Huang, S.; Wang, Q.; Wu, J.; Yu, Z.; et al. Ergosterol Production at Elevated Temperatures by Upc2-Overexpressing Kluyveromyces Marxianus Using Jerusalem Artichoke Tubers as Feedstock. Bioresour. Technol. 2022, 362, 127878. [Google Scholar] [CrossRef]
 - Hong, E.; Kim, D.; Kim, J.; Kim, J.; Yoon, S.; Rhie, S.; Ha, S.; Ryu, Y. Optimization of Alkaline Pretreatment on Corn Stover for Enhanced Production of 1.3-Propanediol and 2,3-Butanediol by Klebsiella Pneumoniae AJ4. Biomass Bioenergy 2015, 77, 177–185. [Google Scholar] [CrossRef]
 - Guo, Z.-W.; Ni, Z.-F.; Zong, M.-H.; Lou, W.-Y. Modular Metabolic Engineering of Bacillus licheniformis for Efficient 2,3-Butanediol Production by Consolidated Bioprocessing of Jerusalem Artichoke Tubers. ACS Sustain. Chem. Eng. 2022, 10, 9624–9634. [Google Scholar] [CrossRef]
 - Khatun, M.M.; Liu, C.-G.; Zhao, X.-Q.; Yuan, W.-J.; Bai, F.-W. Consolidated Ethanol Production from Jerusalem Artichoke Tubers at Elevated Temperature by Saccharomyces cerevisiae Engineered with Inulinase Expression through Cell Surface Display. J. Ind. Microbiol. Biotechnol. 2017, 44, 295–301. [Google Scholar] [CrossRef]
 - Matías, J.; Encinar, J.M.; González, J.; González, J.F. Optimisation of Ethanol Fermentation of Jerusalem Artichoke Tuber Juice Using Simple Technology for a Decentralised and Sustainable Ethanol Production. Energy Sustain. Dev. 2015, 25, 34–39. [Google Scholar] [CrossRef]
 - Yuan, W.; Li, N.; Zhao, X.; Chen, L.; Kong, L.; Bai, F. Engineering an Industrial Saccharomyces cerevisiae Strain with the Inulinase Gene for More Efficient Ethanol Production from Jerusalem Artichoke Tubers. Eng. Life Sci. 2013, 13, 472–478. [Google Scholar] [CrossRef]
 - Zhang, X.; Zhu, X.; Shi, X.; Hou, Y.; Yi, Y. Extraction and Purification of Inulin from Jerusalem Artichoke with Response Surface Method and Ion Exchange Resins. ACS Omega 2022, 7, 12048–12055. [Google Scholar] [CrossRef]
 - Khatun, M.M.; Li, Y.-H.; Liu, C.-G.; Zhao, X.-Q.; Bai, F.-W. Fed-Batch Saccharification and Ethanol Fermentation of Jerusalem Artichoke Stalks by an Inulinase Producing Saccharomyces Cerevisiae MK01. RSC Adv. 2015, 5, 107112–107118. [Google Scholar] [CrossRef]
 - Sarchami, T. Co-Substrate Fermentation of Jerusalem Artichoke Tubers and Crude Glycerol to Butanol with Integrated Product Recovery. Ph.D. Thesis, The University of Western Ontario, London, ON, Canada, 2016. [Google Scholar]
 - Gao, K.; Zhang, Z.; Zhu, T.; Tian, X.; Gao, Y.; Zhao, L.; Li, T. The Influence of Leaf Removal on Tuber Yield and Fuel Characteristics of Helianthus tuberosus L. in a Semi-Arid Area. Ind. Crops Prod. 2019, 131, 8–13. [Google Scholar] [CrossRef]
 - Dybek, B.; Anders, D.; Hołaj-Krzak, J.T.; Hałasa, Ł.; Maj, G.; Kapłan, M.; Klimek, K.; Filipczak, G.; Wałowski, G. Assessment of the Prospects of Polish Non-Food Energy Agriculture in the Context of a Renewable Energy Source. Energies 2023, 16, 3315. [Google Scholar] [CrossRef]
 - Boichenko, S.V.; Kuchma, N.M.; Yefymenko, V.V.; Titova, O.S.; Cherniak, L.M. Chemotology: Educational and Methodological Manual; NAU: Kyiv, Ukraine, 2006. [Google Scholar]
 - Vedovatto, F.; Bonatto, C.; Bazoti, S.F.; Venturin, B.; Alves, S.L., Jr.; Kunz, A.; Steinmetz, R.L.R.; Treichel, H.; Mazutti, M.A.; Zabot, G.L.; et al. Production of Biofuels from Soybean Straw and Hull Hydrolysates Obtained by Subcritical Water Hydrolysis. Bioresour. Technol. 2021, 328, 124837. [Google Scholar] [CrossRef]
 - Artifon, W.; Bonatto, C.; Bordin, E.R.; Bazoti, S.F.; Dervanoski, A.; Alves, S.L.; Treichel, H. Bioethanol Production From Hydrolyzed Lignocellulosic After Detoxification Via Adsorption With Activated Carbon and Dried Air Stripping. Front. Bioeng. Biotechnol. 2018, 6, 107. [Google Scholar] [CrossRef]
 - Holliger, C.; Alves, M.; Andrade, D.; Angelidaki, I.; Astals, S.; Baier, U.; Bougrier, C.; Buffière, P.; Carballa, M.; De Wilde, V.; et al. Towards a Standardization of Biomethane Potential Tests. Water Sci. Technol. 2016, 74, 2515–2522. [Google Scholar] [CrossRef]
 - Xiong, J.; Hassan, M.; Wang, W.; Ding, W. Methane Enhancement by the Co-Digestion of Soybean Straw and Farm Wastewater under Different Thermo-Chemical Pretreatments. Renew. Energy 2020, 145, 116–123. [Google Scholar] [CrossRef]
 - Jönsson, L.J.; Alriksson, B.; Nilvebrant, N.-O. Bioconversion of Lignocellulose: Inhibitors and Detoxification. Biotechnol. Biofuels 2013, 6, 16. [Google Scholar] [CrossRef]
 - Vedovatto, F.; Ugalde, G.; Bonatto, C.; Bazoti, S.F.; Treichel, H.; Mazutti, M.A.; Zabot, G.L.; Tres, M.V. Subcritical Water Hydrolysis of Soybean Residues for Obtaining Fermentable Sugars. J. Supercrit. Fluids 2021, 167, 105043. [Google Scholar] [CrossRef]
 - ASTM D4294; Standard Test Method for Sulfur in Petroleum and Petroleum Products by Energy Dispersive X-ray Fluorescence Spectrometry. ASTM International: West Conshohocken, PA, USA, 2021. [CrossRef]
 - Al-Ghouti, M.; Al-Degs, Y.; Mustafa, F. Determination of Hydrogen Content, Gross Heat of Combustion, and Net Heat of Combustion of Diesel Fuel Using FTIR Spectroscopy and Multivariate Calibration. Fuel 2010, 89, 193–201. [Google Scholar] [CrossRef]
 - Kryshtopa, S.; Melnyk, V.; Dolishnii, B.; Korohodskyi, V.; Prunko, I.; Kryshtopa, L.; Zakhara, I.; Voitsekhivska, T. Improvement of the Model of Forecasting Heavy Metals of Exhaust Gases of Motor Vehicles in the Soil. East.-Eur. J. Enterp. Technol. 2019, 4, 44–51. [Google Scholar] [CrossRef]
 - Kryshtopa, S.; Kryshtopa, L.; Panchuk, M.; Smigins, R.; Dolishnii, B. Composition and Energy Value Research of Pyrolise Gases. IOP Conf. Ser. Earth Environ. Sci. 2021, 628, 012008. [Google Scholar] [CrossRef]
 - Panchuk, M.; Kryshtopa, S.; Sładkowski, A.; Panchuk, A. Environmental Aspects of the Production and Use of Biofuels in Transport. In Ecology in Transport: Problems and Solutions; Sładkowski, A., Ed.; Lecture Notes in Networks and Systems; Springer International Publishing: Cham, Switzerland, 2020; Volume 124, pp. 115–168. ISBN 978-3-030-42322-3. [Google Scholar]
 - Vasić, K.; Knez, Ž.; Leitgeb, M. Bioethanol Production by Enzymatic Hydrolysis from Different Lignocellulosic Sources. Molecules 2021, 26, 753. [Google Scholar] [CrossRef]
 - Naik, S.N.; Goud, V.V.; Rout, P.K.; Dalai, A.K. Production of First and Second Generation Biofuels: A Comprehensive Review. Renew. Sustain. Energy Rev. 2010, 14, 578–597. [Google Scholar] [CrossRef]
 








| n° | Property | Units | Values for A95 Gasoline | Values Measured for JA Alcohol | 
|---|---|---|---|---|
| 1 | Octane rating: | |||
| RON | - | 95 | 111 | |
| MON | - | 85 | 94 | |
| 2 | Density | kg/m3 | 720–775 | 786 | 
| 3 | Kinematic viscosity | m2/s | 1.2 × 10−6 | 3.1 × 10−6 | 
Disclaimer/Publisher’s Note: The statements, opinions and data contained in all publications are solely those of the individual author(s) and contributor(s) and not of MDPI and/or the editor(s). MDPI and/or the editor(s) disclaim responsibility for any injury to people or property resulting from any ideas, methods, instructions or products referred to in the content.  | 
© 2024 by the authors. Licensee MDPI, Basel, Switzerland. This article is an open access article distributed under the terms and conditions of the Creative Commons Attribution (CC BY) license (https://creativecommons.org/licenses/by/4.0/).
Share and Cite
Bembenek, M.; Melnyk, V.; Karwat, B.; Hnyp, M.; Kowalski, Ł.; Mosora, Y. Jerusalem Artichoke as a Raw Material for Manufacturing Alternative Fuels for Gasoline Internal Combustion Engines. Energies 2024, 17, 2378. https://doi.org/10.3390/en17102378
Bembenek M, Melnyk V, Karwat B, Hnyp M, Kowalski Ł, Mosora Y. Jerusalem Artichoke as a Raw Material for Manufacturing Alternative Fuels for Gasoline Internal Combustion Engines. Energies. 2024; 17(10):2378. https://doi.org/10.3390/en17102378
Chicago/Turabian StyleBembenek, Michał, Vasyl Melnyk, Bolesław Karwat, Mariia Hnyp, Łukasz Kowalski, and Yurii Mosora. 2024. "Jerusalem Artichoke as a Raw Material for Manufacturing Alternative Fuels for Gasoline Internal Combustion Engines" Energies 17, no. 10: 2378. https://doi.org/10.3390/en17102378
APA StyleBembenek, M., Melnyk, V., Karwat, B., Hnyp, M., Kowalski, Ł., & Mosora, Y. (2024). Jerusalem Artichoke as a Raw Material for Manufacturing Alternative Fuels for Gasoline Internal Combustion Engines. Energies, 17(10), 2378. https://doi.org/10.3390/en17102378
        
