Next Article in Journal
Experimental Investigation, Techno-Economic Analysis and Environmental Impact of Bioethanol Production from Banana Stem
Previous Article in Journal
The Impact of Subsidy Programs for Solar Thermal Applications: A Case Study for a Remote Island
 
 
Font Type:
Arial Georgia Verdana
Font Size:
Aa Aa Aa
Line Spacing:
Column Width:
Background:
Article

Tests of Geometry of the Powered Roof Support Section

1
DOH Hydraulics Center, 41-906 Bytom, Poland
2
Faculty of Organization and Management, Silesian University of Technology, 44-100 Gliwice, Poland
*
Author to whom correspondence should be addressed.
Energies 2019, 12(20), 3945; https://doi.org/10.3390/en12203945
Submission received: 3 September 2019 / Revised: 10 October 2019 / Accepted: 15 October 2019 / Published: 17 October 2019
(This article belongs to the Section L: Energy Sources)

Abstract

:
A powered roof support is a basic protection mean for longwall excavations in which highly efficient mining is carried out. The support operates properly when its individual sections are spragged correctly in a working and their operating parameters meet specific requirements. The geometry of the section, and in particular, the correct position of the floor base and the canopy, have a significant impact on the parameters and effectiveness of its work. Disturbances in this area, in many cases, are the cause of damage and improper operation of the support. Therefore, a new method of testing the position of the section in a longwall was developed based on an analysis of its geometry. The basis of this method are inclinometers (angle sensors) mounted on the main structural elements of the section. Recorded values of the angles of inclination of these elements and the developed analytical models are used to determine the positioning of the section in a longwall. The main purpose of the research was to develop a method that would allow, in the simplest possible way, the analysis of section geometry in real conditions. A simplified analytical model was used to determine the actual geometry of the section. It was used then as a basis of an analysis of possible states of the position of the section in the mining wall, including the surrounding rock mass. The results were applied during tests of the section carried out in a testing station and in real (underground) conditions. The developed measuring system helped to determine selected geometrical parameters of the section during these tests. The purpose of the research was to verify the developed model and demonstrate that the geometry of the section has a significant impact on its uneven loading. The obtained results, especially from underground tests, confirmed that during operation the support sections are twisted, which may cause overloading of their construction and disturbance of the operation process. The developed method of testing the geometry of the section is a new approach to analyzing the work of the powered roof support operating in variable mining and geological conditions. The developed method of testing the position of the section based on the angle of inclination of its individual elements is undoubtedly a new approach to this research area. The results obtained should be successfully used in practice to optimize the support section and when selecting support for specific working conditions.

1. Introduction

Mining roof support is a basic protection of underground mining excavations. There are roof supports of corridor workings [1,2] and roof supports of longwall workings [3,4,5,6,7,8,9,10]. From the point of view of the exploitation process itself, a powered roof support is more important as it directly protects the rock mass exploitation zone. This support is a component of a powered longwall complex designed to support its operation. It enables other machines of the complex to move in the longwall as the operation progresses. It can, therefore, be assumed that the powered roof support is mainly intended to protect the working space (exploitation longwall) against the deforming impact of the rock mass [4,5,11,12,13,14,15]. The support consists of individual sections cooperating with each other.
Figure 1a presents the powered roof support section type Glinik-20/45-POz, with basic hydraulic components marked. The design of the powered roof support section is complex. The basic structural elements of this section are (Figure 1a): Floor base (1), canopy (2) in direct contact with the roof and shield support (3), hydraulic support system with two hydraulic legs (4), canopy support (5), roller system (6) and lemniscate mechanism (7). Figure 1b shows the effects of the operation of the support with uneven loading resulting from failure to keep its geometry. There was a visible crack in the lug mounting of the roller system’s bolt of the powered roof support.
The operating parameters of individual sections and the entire support affect the energy consumption of the mining process and the effectiveness of the roof rock cave-in method. It should be emphasized that proper cooperation of the powered support with the rock mass is very important for the continuity and efficiency of this process.
During operation, each powered roof section performs a number of movements. Each section of the powered roof support moves forward as the coal seam is being mined. The sections also work together thanks to correcting cylinders that enable correct positioning and moving of sections in excavations with large longitudinal inclination.
As already mentioned, the longwall is also intended to support the process of moving the entire powered complex. This process takes place thanks to the mounted roller system that connects the support section with the longwall conveyor (Figure 1). There, the support forms the basis for moving the entire complex as operation progresses. During this process, the support performs a specific task supporting a new roof of the excavation (after the shearer completes the mining). After moving individual sections of the support towards the face of the longwall, they are expanded (spragged). Then, under the shifted support, a longwall conveyor moves along behind the shearer located at a certain distance. It can, therefore, be assumed that the support works in a closed production cycle. The phases of the cycle include withdrawing, moving in the excavation, and spragging between the roof and the floor.
The fundamental element of the whole process of the operation of the section and the whole support is to maintain proper stability. The support works with the rock mass as well as with the other machines in the complex. Therefore, any disturbance in the process has a very negative impact on the work of other machines and can cause damage from the rock mass. It is reasonable to state that the powered roof support is of key importance for the entire process of underground rock mass exploitation.
It should also be noted that the powered roof support is the most expensive machine of the complex. Consequently, the sections of the support are used for a long period of time. This, in turn, means that in practice, some of the sections currently operating are old. In many cases, the constructions are equipped with old hydraulic systems. However, such systems must also meet high requirements for stability and safety in a longwall working. What is more important, all sections during the operation, regardless of age and design, are subjected to a complex state of loading imposed by the rock mass. These loads are static and dynamic [4,5,6,11,12,15,16]. Generally, static loads are the result of slow rock mass movements and deformations, whereas dynamic load is the result of rapid changes in the rock mass balance.
In practice, a powered roof support is most often subjected to static or variable load over time, but with low amplitude and low frequency of changes. Section load parameters, therefore, mainly depend on the state of surrounding rock mass. However, the structure of individual sections, as well as the power supply systems and control systems used, have a significant impact on these loads.
A simplified diagram of the roof support section cooperation with the rock mass is shown in Figure 2 [15,17,18,19,20].
The roof support during the operation takes overloads of roof rocks and transfers them to the floor impacting the support. The cooperation of the roof support with the rock mass, therefore, depends both on the construction of the roof support and on the mechanical properties of the rock mass in which the excavation is made. The parameters of the caving or rock rubble created in the selected space behind the roof support are also very important. Physical features of the cave-in have a great impact on the ventilation parameters of the entire area, which significantly affects operational safety [21,22,23,24,25,26]. Therefore, the structural features of the support should be adapted to the characteristics of the surrounding rock mass and the requirements and ventilation hazards, also caused by cave-in [27,28,29]. The cooperation between the support and the surrounding rock mass has a very significant impact on the nature of the load and its effects, as well as on the mining process itself [30]. All these factors mean that the requirements for the support are high, and its role and importance in underground operation is very large. For this reason, sections and individual support components are subjected to various types of tests. The main purpose of these tests is to optimize the mechanical and hydraulic parts of the support and the control system.
From the point of view of the stability of the entire support, it is very important to maintain appropriate geometric parameters by its individual sections. Maintaining proper geometry during operation guarantees effective protection of the workspace, proper roof maintenance, and efficient operation of the entire longwall complex. Maintaining proper geometry by the section during operation means that its load is symmetrical and evenly distributed over its individual mechanical components and the entire hydraulic system. Disturbance of this symmetry causes uneven loading, which in turn results in overloading the section structure and uneven operation. The change of geometry causes a significant disturbance of the section’s working parameters, mainly its support.
Therefore, it can be assumed that in the process of using a powered roof support, maintaining the correct geometry of the section guarantees effective fulfillment of its role. In this case, the correct section geometry can be defined as the most parallel positioning during the work of the canopy and floor base. Practice shows that the disturbance of setting the section during operation causes problems in the area of roof protection and displacement of the entire powered complex.
The consequence of this condition is also uneven loading of the legs of the section and its individual structural elements. This, as already mentioned, may result in overloading and then damage. The effects of the work of the powered support section while not maintaining the correct geometry are shown in Figure 1b.
It can, therefore, be assumed that many problems related to incorrect operation of the support section, and later with the entire powered support result precisely from the failure to observe the proper geometry of individual sections during operation. For this reason, it is reasonable to refer in a comprehensive way to the analysis of this geometry in the context of the work of the section in changing external conditions.
There are very few publications in the field of powered roof support section geometry testing. Most of the activities related to testing of powered roof supports concerns the selection of sections for mining and geological conditions [3,10,18,19,20,31,32,33] and testing of the section operating parameters (mainly pressure in the legs) at static and dynamic load [3,16,34,35]. A number of publications also concern the study of section design [12,32,36,37,38,39] and support control systems [12,36,40].
The small number of publications in the field of testing the stability of a powered roof support section mainly results from difficulties in developing theoretical assumptions and their verification in stationary and real conditions.
The paper presents a method of testing the geometry of a powered roof support section developed by the authors based on a new measuring system for torsion angles of individual mechanical elements of the section. There has not been a method that would effectively allow to determine this geometry in real conditions before, however, the developed method is based on inclination angles of the canopy, floor base, shield support, and lemniscate connectors, and includes the known geometry of the new section, and can be used to determine the position of a section.
In the first stage, the presented method includes the theoretical analysis of a simplified flat model of the support section, and then the use of obtained results in bench tests and in real conditions. The main purpose of the work was to develop a method for identifying disturbed geometry of the powered roof support section in real conditions. At the same time, these tests were intended to indicate that during the actual operation of the support, individual sections are often twisted, which may lead to their damage. Uneven loads occurring in this state may also cause damage to the hydraulic and control systems of the support. At the same time, it is difficult for the workers to see or notice the disturbed geometry of the section. Their identification requires specialized measuring equipment with appropriate sensors.
In order to develop this method, model tests were carried out using a simplified model of a powered roof support section. Bench tests based on the results obtained were carried out on the prototype section of the powered roof support type Glinik-20/45-POz. It is a chock shield support equipped with two legs with a lemniscate mechanism. This model is widely available and common in underground mines. It should also be emphasized that conducting bench and underground tests generates substantial costs and is time-consuming. Therefore, the availability and universality of this type of section were basic factors during selection.
During these tests, a measuring system developed and dedicated to section geometry tests was tested. Its basic elements are inclinometers, i.e., sensors used to measure the angle of deviation of the tested element. During the bench tests, new developed constructions of these sensors were used together with the recording system. The obtained results and the gathered experience were used for tests in real conditions. They were carried out for ten sections in a prototype Glinik-20/45-POz support section in one of the hard coal mines.
These tests were aimed at verifying the results of tests on a simplified model of the section, verifying the developed measuring system together with inclinometers and demonstrating that torsion occurs during the operation of the powered casing sections, which results in unbalanced loading. Work in such a state may cause uneven loading of the legs, asymmetrical bending of section structural elements and deteriorate the condition of the roof maintenance and negatively affect the energy consumption of the rock mass cutting process. The use of a simplified model of the support section also allowed the determination of the geometric forms of the tested sections in specific geometric states, both in the case of bench tests and conducted in real conditions.
The developed method, the tests carried out, and the results obtained significantly broaden the knowledge about the operation of powered roof supports. At the same time, it is possible to include additional parameters characterizing the support operation. It is reasonable to state that many problems related to uneven loading of sections result precisely from the distortion of their geometry.
It can, therefore, be assumed that the main objective of the wide range of tests was to develop a method that would allow the determination of the actual setting of the support section during operation and changes of this setting during individual phases of this work. This approach to the analysis of the support section geometry makes it possible to determine the real states of its operation, and then also to take actions to improve this state. Its geometrical form, determined on the basis of the inclination angles of individual section elements, in connection with the determined pressure values in hydraulic legs, will allow a more complete analysis of the section load condition.
The authors hope that the presented publication will broaden knowledge about the operation of powered roof supports and contribute to the improvement of the quality of its operation. As mentioned, the proper operation of the support positively affects the safety and efficiency of the entire operation process.

2. Section Geometry Analysis Using a Simplified Model

During operation, the powered section cannot always be perfectly expanded, i.e., parallel to the roof and floor. In fact, even when such a state is achieved, it moves in different planes. This results in an uneven load on the canopy and floor base of the section and other mechanical elements, as well as an uneven load on the hydraulic cylinders. The resulting asymmetry may cause the permissible states to be exceeded, which, in turn, may result in damage to the section elements and its incorrect operation. This, in turn, hinders the cooperation of the support with the rock mass and may result in damage to the roof and problems in the operation of the entire powered complex.
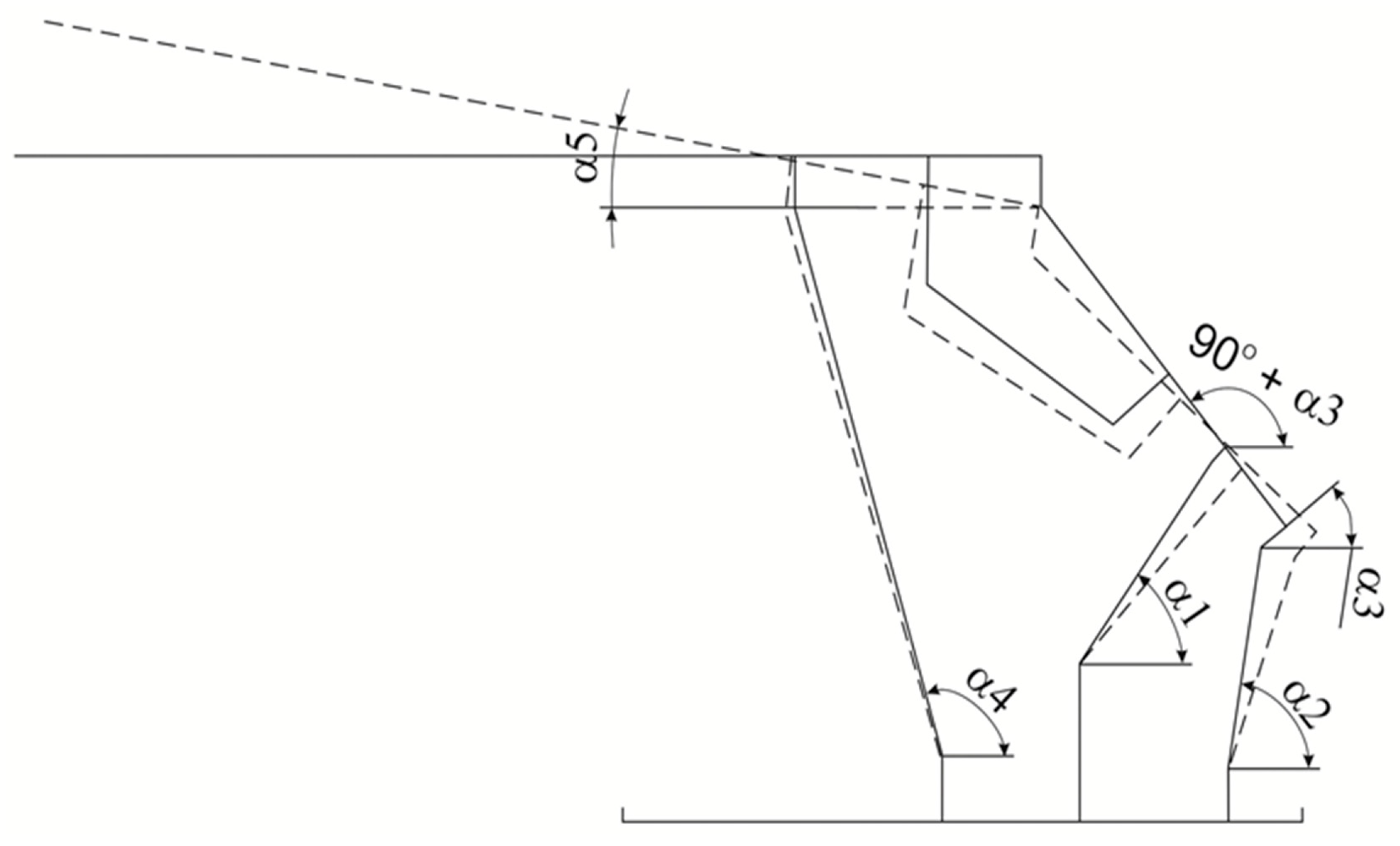
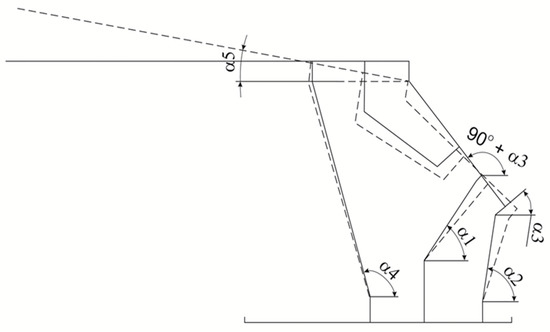
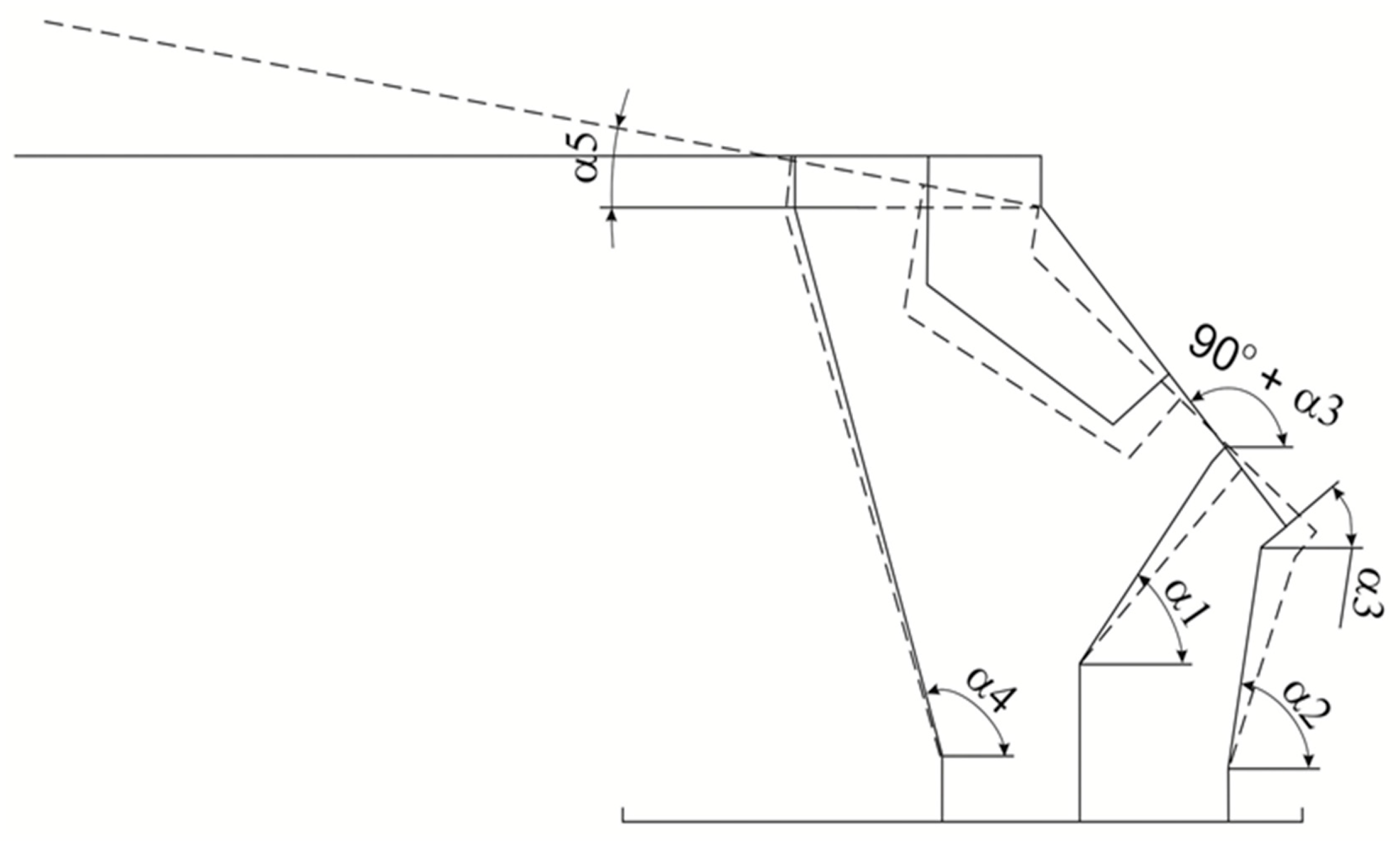
Therefore, it is crucial that the analysis of individual support sections adopts appropriate assumptions. In this regard, it is necessary to include the geometric model of the section. The basic geometric parameters of the section will be determined based on this model. In this regard, the work uses the geometric model of the section. The model and the designations of individual geometric parameters are presented in Figure 3 [37,41,42,43,44].
This model shows the support section in the state of expansion as a result of deformation, static impact of the load imposed by the roof. Its spragging state was referred to as the ideal spragging height H at which the beginning of the canopy remains. A structural diagram of the section and a plan of forces characterizing its load are prepared for such a spragging. It forms the basis in the design process and selection of support for the conditions of a given excavation. The characteristics of the section in the exploited seam are prepared, taking into account its different heights and different mining and geological conditions in which the section will operate.
In the analyzed case, it was assumed that the following geometrical parameters would be significant from the point of view of the stability of the section: The angle of inclination of the shield support and the angle of inclination of the links of the lemniscate mechanism corresponding to the respective angles of the height of the ideally spragged section. The ideal condition corresponds to the height at which the joints of the inclined canopy and the shield support are maintained. This height depends on the canopy inclination angle (Figure 3) and is defined by the following dependent [37,41,43,44]:
h = H ( A · sin α 5 + a 4 · c o s α 5 )
In this case, the length of the legs (C) and their angles (α4), as well as the length of the canopy support cylinder (Lc) and the angle of its inclination, must be related to the height hy of the section. These quantities are determined from the following equations [37,41,43,44]:
  • length of the legs
    C = [ h y 3 + L s o · s i n α 5 + ( a 4 a 5 ) c o s α 5 ] 2 + [ x 3 L 1 · c o s β γ + ( a 2 a 3 ) s i n β γ + L c w · c o s α 1 + ( a 4 a 5 ) s i n α 5 ] 2
  • inclination angle of legs
    α 4 = a r c s i n h y 3 + B · s i n α 5 + ( a 4 a 5 ) c o s α 5 B
  • length of the canopy support’s cylinder
    L c = [ L Z O · c o s β γ + ( a 3 a 9 ) s i n β γ + L z o · c o s α 5 ( a 4 a 8 ) s i n α 5 ] 2 + + L 3 z · s i n β γ ( a 3 a 9 ) c o s β γ   + L z o · s i n α 5 + ( a 2 a 3 ) c o s α 5 ] 2
  • inclination angle of the canopy support’s cylinder
    δ = a r c s i n L 3 z · s i n β γ ( a 3 a 9 ) c o s β γ + L z o · s i n α 5 + ( a 4 a 8   ) c o s α 5 L Z O
The values of the angles ßγ, α1 and α2 can be read from the tables containing the results of calculations of performances for the ideally spragged section, having the value of height H determined from Equation (1) (Table 1). The values of the angles ßγ, α1 and α2 can be read from the appropriate graphic characteristics with section heights marked on the abscissa axes for different canopy inclination angles.
The tests included a version of a support with two legs and a lemniscate canopy guiding mechanism. The support is intended for supporting the roof in horizontal excavations and longitudinal and transversely longitudinal excavations. The section can cooperate in contact with basic compact, medium compact, and brittle roofs. The support made of these sections can be used in concise, medium-firm, and brittle seams, as well as in the areas with or without mining hazards.
The section of the powered roof support in a longwall excavation is perfectly spragged when its canopy over the entire surface is in contact with the roof and is parallel to the floor base, which also adheres to the floor. At the same time, the sections should be perpendicular to the surface of the mining longwall and parallel to each other.
Correct operation occurs when these conditions are maintained throughout the cycle. In fact, this is difficult to achieve. Even if the initial positioning of the section is correct, often the floor base and/or canopy shifts asymmetrically during the operation process. The most common cases of canopy and floor base incompatibility during operation are shown in Figure 4 [37,41,42,43,44,45]. The sections often twist relative to each other (consequently, they are not parallel to each other) and to the axis perpendicular to the longwall surface. While the section is working, its twists in every plane often occur. This causes its uneven loading, difficulties in moving the complex and problems with maintaining the roof properly.
One of the reasons for the non-parallel spragging of the section may be the change in thickness of the seam (Figure 4a,b). The section will be expanded as shown in Figure 4c when the seam is pinched out by the floor. When there is thickening of the seam from the bottom side, then the support section will have geometry after spragging, as in Figure 4d. The state of the section geometry shown in Figure 4e occurs when the seam thickens from the floor and roof after the longwall support has been expanded and the roof bends.
In general, it can be stated that the section geometries shown in Figure 4 are the result of the wrong selection of a powered roof support for the conditions in which the operation is carried out.
The reason for the presented problems may also be the result of an incorrect setting of the section. In this case, the legs work in a position deviating from the direction of the load. This causes a complex load condition of the section construction, which is particularly unfavorable in the case of low height ranges. The inclination of the legs causes that the canopy is supported in a place closer to the exploited seam, which supports the roof in the front part of the excavation. However, the rear part of the canopy, located in some distance from the seam, is not supported by the leg. The support of the canopy located between the canopy and the shield support has a significant influence on the geometry of the shield support.
It can, therefore, be assumed that one of the main reasons for the poor cooperation of the powered roof support section with the rock mass are the difficulties in obtaining the correct section geometry. This is particularly relevant in the case of research on systems controlling the operation of powered roof supports. Its basic task is not only to secure the working space but also to maintain the excavation roof in proper condition and to support the process of moving the entire longwall complex.
The loads carried by the powered roof support have various nature and waveforms. They are the result of the impact of the rock mass and may be static or dynamic. In this context, the output setting of the section has a very large impact on the manner and efficiency of transferring these loads. In order to analyze the section geometry for various load states, a simplified model was developed, which is shown in Figure 5. The support was treated in this case as a flat mechanism with two degrees of freedom [6,41,42,44,45,46].
The analysis of geometrical features for the simplified model of a powered roof support presented in Figure 5 was carried out using the specially prepared software. The whole calculation process begins with determining and checking the kinematic chain geometry. Geometric calculations were made for three cases: A horizontal canopy, a canopy at a positive angle of inclination (tilting up) and a canopy at a negative angle of inclination (tilting down). Additionally, the user can choose between the calculation with or without the minimum and maximum length of the canopy support. The results of the calculations carried out are combinations of geometric features presented in the form of data describing the coordinates of individual kinematic nodes of the section (Figure 5).
Table 1 presents the values of geometrical parameters determined for the simplified model of the section Glinik-20/45-POz (Figure 5) for setting the section at the minimum (2.00 m) and maximum height (4.50 m).
Geometrical data was entered based on the real section of the powered roof support type Glinik-20/45-POz, which was used to analyze geometry for various installation variants. An example of the state of this prototype section is shown in Figure 6, taking into account all the characteristic angles identifying its geometry. Table 2 lists the results of calculations of geometric parameters of this section for a canopy at a positive angle and for various lengths of the hydraulic leg. In the presented example, it was assumed that the floor base is horizontal.
The obtained results constituted the basis for conducting bench and underground tests. Particularly in the case of bench tests, the geometrical forms of the section obtained from the simplified model were used.

3. Powered Roof Support Bench Tests

The most likely geometrical states of the section obtained as a result of the simplified model study were subjected to bench tests. As already mentioned, the research was carried out for the prototype structure of the powered roof support section type Glinik-20/45-POz.
The basis of the bench tests carried out was the development of an appropriate measuring system dedicated to testing the geometry of the support section. Inclinometers are the basic elements of this system. A special IT tool was developed for recording, analyzing, and visualizing test results.
The method of mounting inclinometers on the tested support section is presented in Figure 7.
As a result of bench tests, the results of the tests of a simplified section model were verified. The values of geometric parameters obtained during the bench tests were compared with those obtained during the model tests. At the same time, a comparison was made of the geometrical forms of the section obtained during these tests with its condition at the testing station.
Examples of four geometric states obtained during these tests are shown in Figure 8.
The bench tests allowed to verify the adopted assumptions and the results obtained as a result of the simplified model calculations. The verification of these data was positive, and the obtained results confirmed the correctness of the assumptions.

4. Tests of Geometry of a Powered Roof Support Section in Real Conditions

The next stage of the section geometry tests was carried out in real conditions in the underground longwall mine of one of the hard coal mines. The tests were carried out for ten sections of a powered roof support type Glinik-20/45-POz. It is a support with a two-part floor base and a uniform (one-part) canopy.
The analysis of the geometry of the section in the longwall covered the canopy placed parallel to the roof and the floor base, the lemniscate system and the shield support. The arrangement of wireless sensors and the measuring system was similar to that of bench tests (Figure 7). In this case, due to much more difficult external conditions, it was necessary to properly mount the sensors and the entire measuring system. For this reason, when mounting the sensors, specially designed plates with magnets were used, to which inclinometers were attached. The application of this solution enabled stable and continuous measurement of the tested parameters and unambiguous determination of the position of the section in a longwall. The method and place of mounting inclinometer sensors in the support section located in the longwall are presented in Figure 9.
The tests were carried out in the S/z II-II longwall in the 404/5 seam at the level of 550–700 m. The thickness of the seam in which the tests were conducted ranged from 3.5 to 4.0 m. In the direct roof and floor of the seam there was clay shale (claystone) sanded and changing into sandy shale (mudstone). The length of the longwall ranged between 234 and 242 m, its longitudinal slope was between 190 and 210. As already mentioned, tests were carried out for ten support sections, with every tenth section used starting from section 70.
The research team recorded the values of angles determining the location of individual elements of the powered roof support section. The results were used to determine the position changes of these elements depending on the section geometry. The height ranges of individual sections in the tested wall were also determined. In this case, the section height was determined at the beginning of the test (H1) and at the end (H2). The obtained results for the examined sections, after four operational changes, are presented in Figure 10. The obtained results clearly indicate that during the work there were large changes in the height of the examined sections. In fact, only for sections number 70 and 140, no significant changes in this amount occurred during the tests. In other cases, there were significant changes that indicate major changes in the setting of these sections. The results of the section geometry tests are presented in Table 3.
It should also be noted that the maximum height difference for a single section was as much as 840 mm, which indicates a large variability of conditions in which this section worked (No. 120).
The tests also allowed determination of the inclination angles of individual elements of the examined sections. The list of results obtained after one work shift is presented in Table 4. However, Figure 11 and Figure 12 show examples of geometric forms for sections number 130 and 160.
The geometrical forms of sections number 130 and 160 presented in Figure 11 and Figure 12 were determined on the basis of the developed method including the measurement of deflection angles of the canopy, floor base, shield support, and lemniscate connectors. Such measurements in real conditions by other methods is practically impossible to conduct.
The obtained results clearly indicate that the geometry of the examined sections in the analyzed period of work was very unfavorable. Both drawings (Figure 11 and Figure 12) show the unnatural setting of these sections. The obtained results may, in this case, become the basis for analyzing the load status of these sections. Additional parameters that could support this process are the pressure values in the legs of these sections. These data should constitute the necessary set for analyzing the work of individual sections.

5. Conclusions

The main goal of the research was to develop an effective method for determining the position (geometry) of the support section during the operation process. The conducted analytical, experimental and real-life tests confirmed the correctness of the adopted assumptions. The use of angle sensors (inclinometers) mounted on selected mechanical elements of the section made it possible to determine the geometric forms of the tested sections. The obtained results clearly indicate that there is a number of disturbances in the setting of the sections that have not yet been considered in theoretical analyses. The actual settings of the section obtained during operation indicate that in many cases, its components are exposed to asymmetrical, very unfavorable loads. It seems reasonable to consider these settings in strength analyses, because in many cases, they are the causes of damage to section elements. The developed method thus allows precise determination of the actual section settings over time.
Currently, issues related to the geometry of the powered roof support section have been considered, mainly theoretically, in the scope of kinematics analysis of its construction. Obtained results and practical experience show that many problems associated with the operation of longwall supports are related to the partial loss of stability of individual sections, which is directly caused by a disturbance in the geometry of these sections. Due to the changing mining and geological conditions, the way of exploitation as well as technical and organizational factors, the geometry of the section changes very often. These changes may occur in various planes, which results in uneven loading of section elements and its incorrect cooperation with the floor and roof. The resulting complex loading condition of structural elements and hydraulic legs can also pose a great threat to the entire structure of the section. Its damage and improper operation may, in turn, reduce the efficiency of the entire operation process.
The developed method of determining the geometry of the powered roof support section includes model and bench methods and tests conducted in real (underground) conditions. The obtained results clearly indicate that the geometry of the section is very often disturbed. The developed and used measuring system, based on angle sensors (inclinometers), has proven itself during tests at testing stations and underground.
The developed method for testing the geometry of a powered roof section provides a wide range of information on the state of its operation. The results of testing the angles of inclination of individual structural elements of the section are very important data on the basis of which it is possible to assess the state of its loading and cooperation with the surrounding rock mass.
The research also proves that the calculations of the support section in often highly idealized conditions should be significantly modified. The obtained results clearly indicate that, in practice, it is very difficult to achieve the ideal positioning of the section. However, changing its geometry significantly worsens the load conditions. This is visible when section elements are damaged, often as the result of disturbances in the geometry (Figure 1b). Changing the geometry of the section also significantly affects its support, which should also be taken into account in the work on the construction of the section and in its selection for given mining and geological conditions.
It should also be emphasized that the presented study is one of the first in which the geometrical forms of the sections were identified directly in real conditions. The presented results include changes in this geometry only in one plane, but in reality, these changes occur in a spatial arrangement, which significantly translates into the state of its load and cooperation with the powered complex and the rock mass. The developed methodology enables the analysis of the section’s work in a spatial arrangement, which will constitute a further stage of research on its geometry. The obtained results should be used as input data to the process of section design optimization and testing of control systems, which should take into account the systems stabilizing the position of the section.
The authors believe that the developed method and the measuring system will find wide application in the testing of powered roof support sections, and the obtained results will improve safety at work and the efficiency of the mining process.

Author Contributions

Conceptualization, D.S. and J.B.; methodology, J.B. and D.S..; software, D.S.; validation, D.S. and J.B.; formal analysis, J.B.; investigation, J.B.; resources, J.B.; data curation, D.S. and J.B.; writing of the original draft preparation, J.B. writing of review and editing, J.B.; visualization, J.B.; supervision, J.B.; project administration, J.B.; funding acquisition, D.S.

Funding

The work was carried out within the project ‘‘Innovative electro-hydraulic control system for powered roof support’’ No. POIR.01.01.01-00-1129/15. The Operational Programme Smart Growth 2014 - 2020 carried out by the National Centre for Research and Development.

Conflicts of Interest

The authors declare no conflicts of interest.

References

  1. Brodny, J. Determining the working characteristic of a friction joint in a yielding support. Arch. Min. Sci. 2010, 55, 733–746. [Google Scholar]
  2. Brodny, J. Tests of friction joints in mining yielding supports under dynamic load. Arch. Min. Sci. 2011, 56, 303–318. [Google Scholar]
  3. Gumuła, S. A new concept of hydraulic mechanized supports resistant to the crumps. Arch. Min. Sci. 2005, 50, 275–288. [Google Scholar]
  4. Brady, B.H.G.; Brown, E.T. Rock Mechanics for Underground Mining; Springer: Dordrecht, Netherlands, 2005. [Google Scholar]
  5. Jacobi, O. Praxis der Gebirgsbeherrschung 2. Auflage; Glückauf: Essen, Germany, 1981. [Google Scholar]
  6. Irresberger, H.; Grawe, F.; Migenda, P. Zmechanizowane Obudowy Ścianowe. Podręcznik dla Praktyków; Central Mining Institute: Katowice, Poland, 2008. [Google Scholar]
  7. Irresberger, H.; Gräwe, F.; Migenda, P. Schreitausbau für den Steinkohlenbergbau; Verlag Glückauf: Essen, Germany, 1994. [Google Scholar]
  8. Cemal, B.; Ergin, A. Design of Supports in Mines; John Wiley & Sons, Inc.: New York, NY, USA, 1983. [Google Scholar]
  9. Wilson, A.H. Support load requirements on longwall faces. Min. Eng. 1975, 173, 479–491. [Google Scholar]
  10. Ramaiah, V.; Lolla, S. Selection of powered roof supports for weak coal roof. J. Min. Metal. Fuels 2002, 128, 62–64. [Google Scholar]
  11. Dubiński, J.; Konopko, W. Tąpania—Ocena, Prognoza, Zwalczanie; Central Mining Institute: Katowice, Poland, 2000. [Google Scholar]
  12. Szurgacz, D. Dynamic phenomena in a powered support caused shocks of the strata. Wiadomości Górnicze 2011, 10, 561–567. [Google Scholar]
  13. Stoiński, K. Selection of hydraulic prop longwall support for work in conditions of rock mass tremors hazard. Arch. Min. Sci. 1998, 43, 471–478. [Google Scholar]
  14. Peng, S.S.; Chiang, H.S. Longwall Mining; John Wiley and Sons, Inc.: New York, NY, USA, 1984. [Google Scholar]
  15. Peng, S.S. Support capacity and roof behaviour at longwall faces with shield supports. Int. J. Min. Geol. Eng. 1987, 5, 29–57. [Google Scholar] [CrossRef]
  16. Hussein, M.A.; Ibrahim, A.R.; Imbaby, S.S. Load calculations and selection of the powered supports based on rock mass classification and other formulae for abutartur longwall phosphate mining conditions. J. Eng. Sci. 2013, 41, 1–15. [Google Scholar]
  17. Mitchell, G.W. Longwall mining. In Australian Coal Mining Practice; Kininmonth, R.J., Baafi, E.Y., Eds.; Australian Institute of Mining and Metallurgy: Carlton, Australia, 2009; pp. 340–375. [Google Scholar]
  18. Biliński, A.; Kostyk, T.; Prusek, S. Principles of selecting a powered roof support for longwall faces. Bezpieczeństwo Pracy Ochrony Środowiska Górnictwie 1997, 3, 7–17. [Google Scholar]
  19. Biliński, A. Criteria of Support Selection for Longwall Workings with Natural Roof Caving; Central Mining Institute: Katowice, Poland, 1976. [Google Scholar]
  20. Biliński, A. Principles of underground working maintenance in longwalls with rockburst hazard. Arch. Min. Sci. 1983, 2, 275–291. [Google Scholar]
  21. Brodny, J.; Tutak, M. Forecasting the distribution of methane concentration levels in mine headings by means of model-based tests and in-situ measurements. Arch. Control Sci. 2019, 29, 25–39. [Google Scholar]
  22. Brodny, J.; Tutak, M. Analysis of Gases Emitted into the Atmosphere During an Endogenous Fire. In Proceeding of the 16th International Multidisciplinary Scientific GeoConference SGEM 2016, Vienna, Austria, 2–5 November 2016; pp. 75–82. [Google Scholar] [CrossRef]
  23. Brodny, J.; Tutak, M. Analysis of Methane Emission into the Atmosphere as a Result of Mining Activity. In Proceeding of 16th International Multidisciplinary Scientific GeoConference SGEM 2016, Vienna, Austria, 2–5 November 2016; pp. 83–90. [Google Scholar] [CrossRef]
  24. Brodny, J.; Tutak, M. Determination of the zone with a particularly high risk of endogenous fires in the goaves of a longwall with caving. J. Appl. Fluid Mech. 2018, 3, 545–553. [Google Scholar] [CrossRef]
  25. Brodny, J.; Tutak, M. Analysis of methane hazard conditions in mine headings. Teh. Vjesn. 2018, 1, 271–276. [Google Scholar]
  26. Barczak, T.M.; Gearhart, D.F. Performance and Safety Considerations of Hydraulic Roof Support Systems. In Proceedings of the 17th International Conference on Ground Control in Mining, Morgantown, WV, USA, 4–6 August 1998. [Google Scholar]
  27. Tutak, M.; Brodny, J. Analysis of influence of goaf sealing from tailgate on the methane concentration at the outlet from the longwall. IOP Conf. Ser. Earth Environ. Sci. 2017, 95, 042025. [Google Scholar] [CrossRef]
  28. Tutak, M.; Brodny, J. Analysis of the impact of auxiliary ventilation equipment on the distribution and concentration of methane in the tailgate. Energies 2018, 11, 3076. [Google Scholar] [CrossRef]
  29. Tutak, M.; Brodny, J. Predicting methane concentration in longwall regions using artificial neural networks. Int. J. Environ. Res. Public Health 2019, 16, 1406. [Google Scholar] [CrossRef]
  30. Małkowski, P.; Ostrowski, Ł.; Brodny, J. Analysis of Young’s modulus for carboniferous sedimentary rocks and its relationship with uniaxial compressive strength using different methods of modulus determination. J. Sustain. Min. 2018, 17, 145–157. [Google Scholar] [CrossRef]
  31. Stoiński, K. Zmechanizowane Obudowy Ścianowe do Warunków Zagrożenia Wstrząsami Górotworu; Central Mining Institute: Katowice, Poland, 2018. [Google Scholar]
  32. Rajwa, S. Main reasons for the loss of longwall excavation stability. Bezpieczeństwo Pracy Ochrona Środowiska Górnictwie 2017, 3, 3–12. [Google Scholar]
  33. Barczak, T.M.; Esterhuizen, G.S.; Dolinar, D.R. Evaluation of the Impact of Standing Support on Ground Behavior in Longwall Tailgates. In Proceedings of the 24th International Conference on Ground Control in Mining, Morgantown, WV, USA, 2–4 August 2005; pp. 23–32. [Google Scholar]
  34. Stoiński, K.; Mika, M. Dynamics of hydraulic leg of powered longwall support. J. Min. Sci. 2003, 39, 72–77. [Google Scholar] [CrossRef]
  35. Axin, M. Mobile Working Hydraulic System Dynamics. Linköping Studies in Science and Technology. Ph.D. Thesis, Universitetet Linköping, Linköping, Sweeden, 2015. [Google Scholar]
  36. Stoiński, K.; Szurgacz, D. Case study of rock burst which occurred during mining works—Roof support unit. Przegląd Górniczy 2017, 7, 8–17. [Google Scholar]
  37. Szurgacz, D. Impact of geometry of the powered roof support section on the rock mass. E3S Web Conf. 2018, 71, 1–5. [Google Scholar] [CrossRef]
  38. Prabhakara Rao, P.; Anitha, P. Finite element analysis of powered roof support used in longwall mining. Adv. Res. Innov. Mech. Mater. Sci. Ind. Eng. Manag. 2014, 1, 57–62. [Google Scholar]
  39. Yang, Y.; Zeng, Q.; Zhou, J.; Wan, L.; Gao, L. The design and analysis of a new slipper-type hydraulic support. PLoS ONE 2018, 13, e0202431. [Google Scholar] [CrossRef] [PubMed]
  40. Atul, K.; Dheeraj, K.; Singh, U.P.; Gupta, P.S. Development of an automated system for continuous monitoring of powered roof support in longwall panel. J. Coal Sci. Eng. 2010, 16, 337–340. [Google Scholar] [CrossRef]
  41. Ptak, J.; Losiak, S.; Ślusarz, R. Właściwości podpornościowe sekcji obudowy w warunkach nierównoległości stropu i spągu. Mechanizacja Automatyzacja Górnictwa 2004, 42, 5–9. [Google Scholar]
  42. Andras, A.; Andras, I.; Tomus, O. Matematical Models of Powered Roof Support Interaction with Surrounding Rocks. In Proceedings of the SGEM2016 Conference, Albena, Bulgaria, 30 June–6 July 2016; pp. 529–536. [Google Scholar]
  43. Płonka, M.; Rajwa, S. Podporność i rozkład sił w węzłach sekcji obudowy zmechanizowanej. Wiadomości Górnicze 2009, 10, 611–616. [Google Scholar]
  44. Losiak, S.; Krauze, K.; Ptak, J.; Blaschke, J. Model matematyczny sekcji obudowy z zawieszeniem lemniskatowym. In Matematyczne Metody i Technika Komputerowa w Górnictwie; Instytut Górnictwa Politechniki Wrocławskiej: Wrocław/Szklarska Poręba, Poland, 1987. [Google Scholar]
  45. Płonka, M.; Rajwa, S. Difficulties observedin operating powered roof supportduring work in lower range of its working height. Min. Inf. Autom. Electr. Eng. 2018, 4, 45–54. [Google Scholar]
  46. Barczak, T.M.; Schwemmer, D.E. Horizontal and Vertical Load Transferring Mechanisms in Longwall Supports; Report of Investigations RI 9188; Bureau of Mines Report of Investigations, U.S. Government Printing Office: Pittsburgh, PA, USA, 1988.
Figure 1. A powered roof support section type Glinik-20/45-POz (a) and an example of its deformation caused by unsymmetrical load (b).
Figure 1. A powered roof support section type Glinik-20/45-POz (a) and an example of its deformation caused by unsymmetrical load (b).
Energies 12 03945 g001
Figure 2. Simplified diagram of cooperation of the roof support and rock mass.
Figure 2. Simplified diagram of cooperation of the roof support and rock mass.
Energies 12 03945 g002
Figure 3. Geometric model of the powered support section for its actual spragging in the longwall.
Figure 3. Geometric model of the powered support section for its actual spragging in the longwall.
Energies 12 03945 g003
Figure 4. Examples of real spragging of powered roof support sections under a bent roof (a), with a shaded seam from the roof (b), with a shaded seam from the floor (c), with a thickening from the floor base (d), with irregular floor and roof (e).
Figure 4. Examples of real spragging of powered roof support sections under a bent roof (a), with a shaded seam from the roof (b), with a shaded seam from the floor (c), with a thickening from the floor base (d), with irregular floor and roof (e).
Energies 12 03945 g004
Figure 5. A base model of a powered roof support with kinematic nodes marked.
Figure 5. A base model of a powered roof support with kinematic nodes marked.
Energies 12 03945 g005
Figure 6. A simplified model of the tested powered roof support section with characteristic angles.
Figure 6. A simplified model of the tested powered roof support section with characteristic angles.
Energies 12 03945 g006
Figure 7. The mounting method of inclinometers in the tested support section: 1: Inclinometer on the right part of the floor base, 2: Inclinometer in the tie rods, 3: Inclinometer on the shield support, 4: Inclinometer on the canopy.
Figure 7. The mounting method of inclinometers in the tested support section: 1: Inclinometer on the right part of the floor base, 2: Inclinometer in the tie rods, 3: Inclinometer on the shield support, 4: Inclinometer on the canopy.
Energies 12 03945 g007
Figure 8. Geometric settings of the section for various states of its location determined from a simplified model (a) and during bench tests (b).
Figure 8. Geometric settings of the section for various states of its location determined from a simplified model (a) and during bench tests (b).
Energies 12 03945 g008
Figure 9. Method of mounting of inclinometer sensors and their location on the structure of the Glinik-20/45-POz section, (a) inclinometer placed in the shield support to the side of the support’s cylinder, (b) inclinometer located in the upper lemniscate, (c) inclinometers located in the construction of the section, (d) inclinometer in the floor base, (e) the view from the face of the longwall of the inclinometer located in the canopy, (f) measuring system. 1: Shield support’s position sensor, 2: Lemniscate tie rod’s position sensor, 3: Floor base’s position sensor, 4: Canopy’s position sensor, 5: Radio, 6: Computer with the application, 7: Mounting plate with magnets.
Figure 9. Method of mounting of inclinometer sensors and their location on the structure of the Glinik-20/45-POz section, (a) inclinometer placed in the shield support to the side of the support’s cylinder, (b) inclinometer located in the upper lemniscate, (c) inclinometers located in the construction of the section, (d) inclinometer in the floor base, (e) the view from the face of the longwall of the inclinometer located in the canopy, (f) measuring system. 1: Shield support’s position sensor, 2: Lemniscate tie rod’s position sensor, 3: Floor base’s position sensor, 4: Canopy’s position sensor, 5: Radio, 6: Computer with the application, 7: Mounting plate with magnets.
Energies 12 03945 g009
Figure 10. Change in the height of tested support sections during tests (H1: Initial height, H2: Final height).
Figure 10. Change in the height of tested support sections during tests (H1: Initial height, H2: Final height).
Energies 12 03945 g010
Figure 11. Graphical interpretation of the measurement results of the geometry of the powered roof support section number 160 in the longwall.
Figure 11. Graphical interpretation of the measurement results of the geometry of the powered roof support section number 160 in the longwall.
Energies 12 03945 g011
Figure 12. Graphical interpretation of the measurement results of the geometry of the powered roof support section number 130 in the longwall.
Figure 12. Graphical interpretation of the measurement results of the geometry of the powered roof support section number 130 in the longwall.
Energies 12 03945 g012
Table 1. Determination of section coordinates at 2.00 and 4.50 m height.
Table 1. Determination of section coordinates at 2.00 and 4.50 m height.
Marking PointsHeight 2.00 mHeight 4.50 m
Coordinate x, mmCoordinate y, mmCoordinate x, mmCoordinate y, mm
P00.000.000.000.00
P13000.000.003000.000.00
P24770.000.004770.000.00
P35465.000.005465.000.00
P44770.00710.004770.00710.00
P55465.00255.005465.00255.00
P66549.671430.525692.462393.88
P76952.461388.295930.422066.15
P86563.231559.825797.662470.26
P96966.021517.586035.612142.53
P104320.521795.004472.764294.99
P114320.522000.004472.764499.99
P12-29.482000.00122.764499.99
P134345.000.004345.000.00
P144345.00145.004345.00145.00
P153420.522000.003572.764499.99
P163420.521820.003572.764319.99
P173940.522000.004092.764499.99
P183940.521515.004092.764014.99
P195240.481698.525016.233546.49
P205207.631385.244761.343361.41
P217527.531826.436299.283501.56
P225600.000.005600.000.00
P234320.521795.004472.764294.99
P240.000.000.000.00
Table 2. Geometric parameters of the tested section for different lengths of the leg.
Table 2. Geometric parameters of the tested section for different lengths of the leg.
Height of the leg (C), mmRoof’s Uncovered Area, mmAngle α1, DegreesAngle α2, DegreesAngle α3, DegreesAngle α4, DegreesANGLE Α5, DEGREES
1913−4.9921.4736.9185.05118.743.87
20027.7022.2437.4483.64117.315.28
209123.3923.0438.0282.24115.986.68
218141.9823.8738.6480.85114.738.07
227163.3524.7439.3179.46113.579.46
236272.9925.7840.1377.88112.5410.00
245474.2926.9641.0876.18111.6210.00
254675.8528.1842.0974.49110.7610.00
263977.5729.4543.1772.81109.9610.00
273379.3730.7744.3271.13109.2110.00
282681.1932.1445.5369.46108.5110.00
292182.9833.5646.8167.79107.8510.00
301584.7135.0248.1566.11107.2410.00
311086.4036.5349.5564.42106.6710.00
320688.0738.0951.0362.72106.1210.00
330189.7939.6952.5760.99105.6210.00
339791.6741.3454.1759.24105.1310.00
349393.8543.0355.8457.46104.6710.00
358896.5544.7757.5855.64104.2310.00
3684100.0746.5459.3953.76103.7910.00
3779104.7648.3661.2651.83103.3710.00
3874111.1450.2263.249.82102.9410.00
3968119.8252.1165.2247.72102.4910.00
4062131.6454.0367.345.51102.0310.00
4155147.6755.9769.4543.17101.5310.00
4246169.3357.9471.6740.68100.9810.00
Table 3. List of the heights of the sections covered by the tests.
Table 3. List of the heights of the sections covered by the tests.
Section No. H1, mmH2, mmH2-H1, mm
7033103330-20
8031403390-250
9033603550-190
10034504080-630
11033304100-770
12033304170-840
13031203530-410
1403330331020
15035703790-220
16034504000-550
Table 4. Measurement results of the angle of inclination of individual elements of the support sections.
Table 4. Measurement results of the angle of inclination of individual elements of the support sections.
Tested ElementNumber of Tested Powered Roof Support Section Type Glinik-20/45-POz
708090100110120130140150160
Inclination Angle, Degrees
Canopy16.6215.1920.1322.8820.8919.6622.1320.3217.8320.03
Shield support164.99164.45162.14162.12168.42170.42167.49160.65155.58165.22
Lemniscate282.73271.62215.31262.77234.18270.40244.24249.54242.15247.22
Floor base16.0515.0120.7325.4022.1520.1321.5421.2317.8319.59

Share and Cite

MDPI and ACS Style

Szurgacz, D.; Brodny, J. Tests of Geometry of the Powered Roof Support Section. Energies 2019, 12, 3945. https://doi.org/10.3390/en12203945

AMA Style

Szurgacz D, Brodny J. Tests of Geometry of the Powered Roof Support Section. Energies. 2019; 12(20):3945. https://doi.org/10.3390/en12203945

Chicago/Turabian Style

Szurgacz, Dawid, and Jarosław Brodny. 2019. "Tests of Geometry of the Powered Roof Support Section" Energies 12, no. 20: 3945. https://doi.org/10.3390/en12203945

APA Style

Szurgacz, D., & Brodny, J. (2019). Tests of Geometry of the Powered Roof Support Section. Energies, 12(20), 3945. https://doi.org/10.3390/en12203945

Note that from the first issue of 2016, this journal uses article numbers instead of page numbers. See further details here.

Article Metrics

Back to TopTop