Operational and Analytical Modal Analysis of a Bridge Using Low-Cost Wireless Arduino-Based Accelerometers
Abstract
1. Introduction
2. Low-Cost Adaptable Reliable Accelerometer (LARA)
2.1. Selection of LARA
2.2. Automatic Tailored Data Acquisition Application of LARA
2.3. Post-Synchronization Application of LARA
3. Experimental Modal Analysis of a Short-Span Bridge
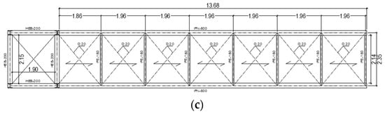
3.1. Bridge Description and Structural Modeling
3.2. Operational Modal Analysis of the Bridge under Study
3.2.1. OMA Using FDD
3.2.2. OMA Using FDD
3.3. Comparison of the Results
4. Conclusions
Author Contributions
Funding
Institutional Review Board Statement
Informed Consent Statement
Data Availability Statement
Acknowledgments
Conflicts of Interest
References
- Clemente, P. Monitoring and evaluation of bridges: Lessons from the Polcevera Viaduct collapse in Italy. J. Civ. Struct. Health Monit. 2020, 10, 177–182. [Google Scholar] [CrossRef]
- Morgese, M.; Ansari, F.; Domaneschi, M.; Cimellaro, G.P. Post-collapse analysis of Morandi’s Polcevera viaduct in Genoa Italy. J. Civ. Struct. Health Monit. 2019, 10, 69–85. [Google Scholar] [CrossRef]
- Peng, T.; Nogal, M.; Casas, J.R.; Turmo, J. Role of sensors in error propagation with the dynamic constrained observability method. Sensors 2021, 21, 2918. [Google Scholar] [CrossRef] [PubMed]
- Emadi, S.; Lozano-Galant, J.A.; Xia, Y.; Ramos, G.; Turmo, J. Structural system identification including shear deformation of composite bridges from vertical deflections. Steel Compos. Struct. 2019, 32, 731–741. [Google Scholar] [CrossRef]
- Proske, D. Fatalities due to bridge collapse. Proc. Inst. Civ. Eng.-Bridge Eng. 2020, 173, 260–267. [Google Scholar] [CrossRef]
- Xia, Y.; Hao, H.; Zanardo, G.; Deeks, A. Long term vibration monitoring of an RC slab: Temperature and humidity effect. Eng. Struct. 2006, 28, 441–452. [Google Scholar] [CrossRef]
- Soyoz, S.; Hanbay, S.; Bagirgan, B.; Ergun, O. Long-term vibration-based monitoring and seismic performance assessment of a wind turbine. J. Civ. Struct. Health Monit. 2021, 11, 117–128. [Google Scholar] [CrossRef]
- Łacny, Ł.; Ścisło, Ł.; Guinchard, M. Application of probabilistic power spectral density technique to monitoring the long-term vibrational behaviour of cern seismic network stations. Vib. Phys. Syst. 2020, 31, 2020311-1–2020311-7. [Google Scholar] [CrossRef]
- Zhuang, Y.; Chen, W.; Jin, T.; Chen, B.; Zhang, H.; Zhang, W. A Review of Computer Vision-Based Structural Deformation Monitoring in Field Environments. Sensors 2022, 22, 3789. [Google Scholar] [CrossRef]
- Gayakwad, H.; Thiyagarajan, J.S. Structural Damage Detection through EMI and Wave Propagation Techniques Using Embedded PZT Smart Sensing Units. Sensors 2022, 22, 2296. [Google Scholar] [CrossRef]
- Glowacz, A.; Antonino-Daviu, J.A.; Caesarendra, W.; Civera, M.; Surace, C. Non-Destructive Techniques for the Condition and Structural Health Monitoring of Wind Turbines: A Literature Review of the Last 20 Years. Sensors 2022, 22, 1627. [Google Scholar] [CrossRef]
- Bado, M.F.; Tonelli, D.; Poli, F.; Zonta, D.; Casas, J.R. Digital Twin for Civil Engineering Systems: An Exploratory Review for Distributed Sensing Updating. Sensors 2022, 22, 3168. [Google Scholar] [CrossRef] [PubMed]
- Lei, J.; Lozano-Galant, J.A.; Xu, D.; Turmo, J. Structural system identification by measurement error-minimizing observability method. Struct. Control Health Monit. 2019, 26, e2425–e2444. [Google Scholar] [CrossRef]
- Kalybek, M.; Bocian, M.; Nikitas, N. Performance of Optical Structural Vibration Monitoring Systems in Experimental Modal Analysis. Sensors 2021, 21, 1239. [Google Scholar] [CrossRef] [PubMed]
- Komarizadehasl, S.; Khanmohammadi, M. Novel plastic hinge modification factors for damaged RC shear walls with bending performance. Adv. Concr. Constr. 2021, 12, 355–365. [Google Scholar] [CrossRef]
- Wu, T.; Liu, G.; Fu, S.; Xing, F. Recent Progress of Fiber-Optic Sensors for the Structural Health Monitoring of Civil Infrastructure. Sensors 2020, 20, 4517. [Google Scholar] [CrossRef] [PubMed]
- Hajializadeh, D.; Wang, Y.; Kullaa, J. Damage Detection and Localization under Variable Environmental Conditions Using Compressed and Reconstructed Bayesian Virtual Sensor Data. Sensors 2022, 22, 306. [Google Scholar] [CrossRef]
- Farré-Checa, J.; Komarizadehasl, S.; Ma, H.; Lozano-Galant, J.A.; Turmo, J. Direct simulation of the tensioning process of cable-stayed bridge cantilever construction. Autom. Constr. 2022, 137, 104197. [Google Scholar] [CrossRef]
- Nogal, M.; Lozano-Galant, J.A.; Turmo, J.; Castillo, E. Numerical damage identification of structures by observability techniques based on static loading tests. Struct. Infrastruct. Eng. 2016, 12, 1216–1227. [Google Scholar] [CrossRef]
- Lin, J.-F.; Li, X.-Y.; Wang, J.; Wang, L.-X.; Hu, X.-X.; Liu, J.-X. Study of Building Safety Monitoring by Using Cost-Effective MEMS Accelerometers for Rapid After-Earthquake Assessment with Missing Data. Sensors 2021, 21, 7327. [Google Scholar] [CrossRef]
- Laurendeau, D.; Ručevskis, S.; Rogala, T.; Katunin, A. Optimal Sensor Placement for Modal-Based Health Monitoring of a Composite Structure. Sensors 2022, 22, 3867. [Google Scholar] [CrossRef]
- Dumitriu, M. Condition Monitoring of the Dampers in the Railway Vehicle Suspension Based on the Vibrations Response Analysis of the Bogie. Sensors 2022, 22, 3290. [Google Scholar] [CrossRef] [PubMed]
- Villanueva, G.; Meruane, V.; Yanez, S.J.; Quinteros, L.; Flores, E.I.S. Damage Detection in Steel–Concrete Composite Structures by Impact Hammer Modal Testing and Experimental Validation. Sensors 2022, 22, 3874. [Google Scholar] [CrossRef]
- Lacidogna, G.; Yoshida, S.; Feng, G.-L.; Xu, J.; Grazzini, A.; Piana, G.; Lucà, F.; Manzoni, S.; Cigada, A.; Barella, S.; et al. Automatic Detection of Real Damage in Operating Tie-Rods. Sensors 2022, 22, 1370. [Google Scholar] [CrossRef]
- Ong, Z.C.; Lim, H.C.; Brandt, A. Automated impact device with non-synchronous impacts: A practical solution for modal testing during operation. J. Zhejiang Univ.-Sci. A 2018, 19, 452–460. [Google Scholar] [CrossRef]
- Zahid, F.B.; Ong, Z.C.; Khoo, S.Y. A review of operational modal analysis techniques for in-service modal identification. J. Braz. Soc. Mech. Sci. Eng. 2020, 42, 398. [Google Scholar] [CrossRef]
- Lim, H.C.; Ong, Z.C.; Brandt, A. Implementation of phase controlled impact device for enhancement of frequency response function in operational modal testing. J. Frankl. Inst. 2018, 355, 291–313. [Google Scholar] [CrossRef]
- Mohanty, P.; Rixen, D.J. Operational modal analysis in the presence of harmonic excitation. J. Sound Vib. 2004, 270, 93–109. [Google Scholar] [CrossRef]
- Weijtjens, W.; Lataire, J.; Devriendt, C.; Guillaume, P. Dealing with periodical loads and harmonics in operational modal analysis using time-varying transmissibility functions. Mech. Syst. Signal Process. 2014, 49, 154–164. [Google Scholar] [CrossRef]
- Gasparetto, A.; Doria, A.; Castro, G.; Zurita, G. Applications of Operational Modal Analysis in Gearbox and Induction Motor, Based on Random Decrement Technique and Enhanced Ibrahim Time Method. Appl. Sci. 2022, 12, 5284. [Google Scholar] [CrossRef]
- Komarizadehasl, S.; Mobaraki, B.; Ma, H.; Lozano-Galant, J.-A.; Turmo, J. Development of a Low-Cost System for the Accurate Measurement of Structural Vibrations. Sensors 2021, 21, 6191–6213. [Google Scholar] [CrossRef] [PubMed]
- Li, H.; Xie, X.; Zhang, Y.; Wang, Q. Theoretical, Numerical, and Experimental Study on the Identification of Subway Tunnel Structural Damage Based on the Moving Train Dynamic Response. Sensors 2021, 21, 7197. [Google Scholar] [CrossRef] [PubMed]
- Beskhyroun, S.; Wegner, L.D.; Sparling, B.F. New methodology for the application of vibration-based damage detection techniques. Struct. Control Health Monit. 2012, 19, 632–649. [Google Scholar] [CrossRef]
- Azzara, R.M.; Pellegrini, D.; Girardi, M.; Hernandez, W.; Viviescas, A.; Riveros-Jerez, C.A. Vehicle Bump Testing Parameters Influencing Modal Identification of Long-Span Segmental Prestressed Concrete Bridges. Sensors 2022, 22, 1219. [Google Scholar] [CrossRef]
- Tran-Ngoc, H.; Khatir, S.; de Roeck, G.; Bui-Tien, T.; Nguyen-Ngoc, L.; Wahab, M.A. Model Updating for Nam O Bridge Using Particle Swarm Optimization Algorithm and Genetic Algorithm. Sensors 2018, 18, 4131. [Google Scholar] [CrossRef] [PubMed]
- Reynders, E.; Pintelon, R.; de Roeck, G. Uncertainty bounds on modal parameters obtained from stochastic subspace identification. Mech. Syst. Signal Process. 2008, 22, 948–969. [Google Scholar] [CrossRef]
- Zonzini, F.; Carbone, A.; Romano, F.; Zauli, M.; de Marchi, L. Machine Learning Meets Compressed Sensing in Vibration-Based Monitoring. Sensors 2022, 22, 2229. [Google Scholar] [CrossRef]
- Lee, E.-T.; Eun, H.-C. An Optimal Sensor Layout Using the Frequency Response Function Data within a Wide Range of Frequencies. Sensors 2022, 22, 3778. [Google Scholar] [CrossRef]
- Pastor, M.; Binda, M.; Harčarik, T. Modal Assurance Criterion. Procedia Eng. 2012, 48, 543–548. [Google Scholar] [CrossRef]
- Feng, D.; Feng, M.Q. Model Updating of Railway Bridge Using in Situ Dynamic Displacement Measurement under Trainloads. J. Bridge Eng. 2015, 20, 04015019–04015031. [Google Scholar] [CrossRef]
- Guo, T.; Frangopol, D.M.; Chen, Y. Fatigue reliability assessment of steel bridge details integrating weigh-in-motion data and probabilistic finite element analysis. Comput. Struct. 2012, 112–113, 245–257. [Google Scholar] [CrossRef]
- Wojnar, G.; Burdzik, R.; Wieczorek, A.N.; Konieczny, Ł. Multidimensional Data Interpretation of Vibration Signals Registered in Different Locations for System Condition Monitoring of a Three-Stage Gear Transmission Operating under Difficult Conditions. Sensors 2021, 21, 7808. [Google Scholar] [CrossRef] [PubMed]
- Shi, Y.; Zhang, J.; Jiao, J.; Zhao, R.; Cao, H. Calibration Analysis of High-G MEMS Accelerometer Sensor Based on Wavelet and Wavelet Packet Denoising. Sensors 2021, 21, 1231. [Google Scholar] [CrossRef] [PubMed]
- Khandpur, R.S. Accelerometer; Wiley: Hoboken, NJ, USA, 2020; ISBN 9781119288121. [Google Scholar] [CrossRef]
- Taniwaki, M.; Hanada, T.; Sakurai, N. Device for acoustic measurement of food texture using a piezoelectric sensor. Food Res. Int. 2006, 39, 1099–1105. [Google Scholar] [CrossRef]
- Feng, D.; Feng, M.Q. Experimental validation of cost-effective vision-based structural health monitoring. Mech. Syst. Signal Process. 2017, 88, 199–211. [Google Scholar] [CrossRef]
- Komarizadehasl, S.; Lozano, F.; Lozano-Galant, J.A.; Ramos, G.; Turmo, J. Low-Cost Wireless Structural Health Monitoring of Bridges. Sensors 2022, 22, 5725. [Google Scholar] [CrossRef]
- Farrar, C.R.; Park, G.; Allen, D.W.; Todd, M.D. Sensor network paradigms for structural health monitoring. Struct. Control Health Monit. 2006, 13, 210–225. [Google Scholar] [CrossRef]
- Aktan, A.; Catbas, N.; Grimmelsman, K.; Pervizpour, M. Development of a Model Health Monitoring Guide for Major Bridges. Federal Highway Administration Research and Development. Available online: https://www.researchgate.net/profile/Necati-Catbas/publication/267839627_Development_of_a_Model_Health_Monitoring_Guide_for_Major_Bridges/links/54732e720cf216f8cfaeae7d/Development-of-a-Model-Health-Monitoring-Guide-for-Major-Bridges.pdf (accessed on 24 January 2022).
- Grubb, M.A.; Wilson, K.E.; White, C.D.; Nickas, W.N. Load and Resistance Factor Design (LRFD) for Highway Bridge Superstructures. Available online: https://www.fhwa.dot.gov/bridge/pubs/nhi15047.pdf (accessed on 24 January 2022).
- Costa, C.; Ribeiro, D.; Jorge, P.; Silva, R.; Calçada, R.; Arêde, A. Calibration of the Numerical Model of a Short-span Masonry Railway Bridge Based on Experimental Modal Parameters. Procedia Eng. 2015, 114, 846–853. [Google Scholar] [CrossRef]
- Cheng, M.-Y.; Liao, K.-W.; Chiu, Y.-F.; Wu, Y.-W.; Yeh, S.-H.; Lin, T.-C. Automated mobile vibration measurement and signal analysis for bridge scour prevention and warning. Autom. Constr. 2022, 134, 104063–104080. [Google Scholar] [CrossRef]
- Sánchez-Aparicio, L.J.; Castro, Á.B.; Conde, B.; Carrasco, P.; Ramos, L.F. Non-destructive means and methods for structural diagnosis of masonry arch bridges. Autom. Constr. 2019, 104, 360–382. [Google Scholar] [CrossRef]
- Bedon, C.; Bergamo, E.; Izzi, M.; Noè, S. Prototyping and Validation of MEMS Accelerometers for Structural Health Monitoring—The Case Study of the Pietratagliata Cable-Stayed Bridge. J. Sens. Actuator Netw. 2018, 7, 30–48. [Google Scholar] [CrossRef]
- Li, Z.; Feng, M.Q.; Luo, L.; Feng, D.; Xu, X. Statistical analysis of modal parameters of a suspension bridge based on Bayesian spectral density approach and SHM data. Mech. Syst. Signal Process. 2018, 98, 352–367. [Google Scholar] [CrossRef]
- Lin, K.; Xu, Y.-L.; Lu, X.; Guan, Z.; Li, J. Digital twin-based collapse fragility assessment of a long-span cable-stayed bridge under strong earthquakes. Autom. Constr. 2021, 123, 103547–103560. [Google Scholar] [CrossRef]
- Mobaraki, B.; Komarizadehasl, S.; Javier, F.; Pascual, C.; Lozano-Galant, A.; Soriano, R.P. A Novel Data Acquisition System for Obtaining Thermal Parameters of Building Envelopes. Buildings 2022, 12, 670. [Google Scholar] [CrossRef]
- Komarizadehasl, S.; Mobaraki, B.; Ma, H.; Lozano-Galant, J.-A.; Turmo, J. Low-Cost Sensors Accuracy Study and Enhancement Strategy. Appl. Sci. 2022, 12, 3186. [Google Scholar] [CrossRef]
- Pardeshi, S.S.; Patange, A.D.; Jegadeeshwaran, R.; Bhosale, M.R. Tyre Pressure Supervision of Two Wheeler Using Machine Learning. Struct. Durab. Health Monit. 2022, 16, 271–290. [Google Scholar] [CrossRef]
- Patange, A.D.; Jegadeeshwaran, R.; Bajaj, N.S.; Khairnar, A.N.; Gavade, N.A. Application of Machine Learning for Tool Condition Monitoring in Turning. Sound Vib. 2022, 56, 127–145. [Google Scholar] [CrossRef]
- Mohd-Yasin, F.; Korman, C.E.; Nagel, D.J. Measurement of noise characteristics of MEMS accelerometers. Solid-State Electron. 2003, 47, 357–360. [Google Scholar] [CrossRef]
- Girolami, A.; Zonzini, F.; de Marchi, L.; Brunelli, D.; Benini, L. Modal Analysis of Structures with Low-cost Embedded Systems. In Proceedings of the International Symposium on Circuits and Systems, Florence, Italy, 27–30 May 2018; pp. 1–4. [Google Scholar] [CrossRef]
- Ozdagli, A.I.; Liu, B.; Moreu, F. Low-cost, efficient wireless intelligent sensors (LEWIS) measuring real-time reference-free dynamic displacements. Mech. Syst. Signal Process. 2018, 107, 343–356. [Google Scholar] [CrossRef]
- Aguero, M.; Ozdagli, A.; Moreu, F. Measuring reference-free total displacements of piles and columns using low-cost, battery-powered, efficientwireless intelligent sensors (LEWIS2). Sensors 2019, 19, 1549–1566. [Google Scholar] [CrossRef]
- Meng, Q.; Zhu, S. Developing iot sensing system for construction-induced vibration monitoring and impact assessment. Sensors 2020, 20, 6120. [Google Scholar] [CrossRef] [PubMed]
- Koo, K.Y.; Hester, D.; Kim, S. Time synchronization for wireless sensors using low-cost gps module and arduino. Front. Built Environ. 2019, 4, 82. [Google Scholar] [CrossRef]
- Marwitz, S.; Zabel, V. Operational modal analysis with a 3D laser vibrometer without external reference. Conf. Proc. Soc. Exp. Mech. Ser. 2016, 8, 75–85. [Google Scholar] [CrossRef]
- Wang, M.; Ao, W.K.; Bownjohn, J.; Xu, F. Completely non-contact modal testing of full-scale bridge in challenging conditions using vision sensing systems. Eng. Struct. 2022, 272, 114994. [Google Scholar] [CrossRef]
- Scislo, L. Quality Assurance and Control of Steel Blade Production Using Full Non-Contact Frequency Response Analysis and 3D Laser Doppler Scanning Vibrometry System. In Proceedings of the 11th IEEE International Conference on Intelligent Data Acquisition and Advanced Computing Systems: Technology and Applications, IDAACS 2021, Cracow, Poland, 22–25 September 2021; Volume 1, pp. 419–423. [Google Scholar] [CrossRef]
- Wireless Industrial IOT Inclinometer Sensor|Overview—BeanAir|Wireless IOT Sensors. Available online: https://www.beanair.com/wireless-iot-inclinometer-sensor-overview.html (accessed on 17 September 2021).
- Atencio, E.; Komarizadehasl, S.; Lozano-Galant, J.A.; Matías, A. Using RPA for Performance Monitoring of Dynamic SHM Applications. Buildings 2022, 12, 1140. [Google Scholar] [CrossRef]
- Komarizadehasl, S.; Komary, M.; Alahmad, A.; Lozano-Galant, J.A.; Ramos, G.; Turmo, J. A Novel Wireless Low-Cost Inclinometer Made from Combining the Measurements of Multiple MEMS Gyroscopes and Accelerometers. Sensors 2022, 22, 5605. [Google Scholar] [CrossRef] [PubMed]
- Mobaraki, B.; Komarizadehasl, S.; Javier, F.; Pascual, C.; Antonio, J.; Galant, L. Determination of environmental parameters based on arduino based low-cost sensors. In Proceedings of the Recent Trends in Construction and Education RTCEE International Conference, Brisbane, Australia, 10–11 September 2020. [Google Scholar]
- PCB Model 604B31. Available online: https://www.pcb.com/products?model=604b31 (accessed on 7 June 2022).
- PCB Model 607A61. Available online: https://www.pcb.com/products?model=607a61 (accessed on 7 June 2022).
- Resample Uniform or Nonuniform Data to New Fixed Rate—MATLAB Resample. Available online: https://www.mathworks.com/help/signal/ref/resample.html (accessed on 13 September 2021).
- Fenerci, A.; Kvåle, K.A.; Petersen, Ø.W.; Rønnquist, A.; Øiseth, O. Data Set from Long-Term Wind and Acceleration Monitoring of the Hardanger Bridge. J. Struct. Eng. 2021, 147, 04721003. [Google Scholar] [CrossRef]
- Parco, O.D.R. Identificación Dinámica de Pasarela Peatonal. Available online: https://upcommons.upc.edu/handle/2117/362118 (accessed on 18 May 2022).
- Asl, M.H.; Farivar, B.; Momenzadeh, S.B. Investigation of the rigidity of welded shear tab connections. Eng. Struct. 2019, 179, 353–366. [Google Scholar] [CrossRef]
- Obata, T.; Miyamori, Y. Identification of a human walking force model based on dynamic monitoring data from pedestrian bridges. Comput. Struct. 2006, 84, 541–548. [Google Scholar] [CrossRef]
- Frequency Domain Decomposition (FDD). Available online: https://ww2.mathworks.cn/matlabcentral/fileexchange/50988-frequency-domain-decomposition-fdd?s_tid=ta_fx_results (accessed on 28 May 2022).
- Cheynet, E. Operational Modal Analysis with Automated SSI-COV Algorithm; Zenodo: Geneve, Switzerland, 2020. [Google Scholar] [CrossRef]
- Rainieri, C.; Fabbrocino, G. Operational Modal Analysis of Civil Engineering Structures; Springe: Berlin/Heidelberg, Germany, 2014; ISBN 978-1-4939-0766-3. [Google Scholar] [CrossRef]











| Modal Analysis Method | Natural Excitation of the Structure under Ambient Vibrations | Artificial Excitation of the Structure by Using a Vibrator or an Impact Hammer |
|---|---|---|
| EMA | ![]() | |
| OMA | ![]() | |
| ISMA | ![]() | ![]() |
| Accelerometer | Acceleration Range (g) | Sampling Frequency (Hz) | Spectral Noise (µg/√Hz) | Application | References |
|---|---|---|---|---|---|
| ADXL335 | ±3 g | 100 | 300 1 | Eigenfrequency analysis of a bridge | [59,60] |
| LIS344ALH | ±2 g | 100 | 50 1 | Mode shape assessment of a beam model | [62] |
| LEWIS | ±2 g | 100 | 400 1 | Shaking table that simulates transverse displacements | [63] |
| LEWIS2 | ±2 g | 500 | 300 1 | Shaking table that simulates transverse displacements | [64] |
| LSM9DS1 | ±2 g | 952 | No data | Eigenfrequency analysis of a nearby sheet piling work | [65] |
| ADXL362 | ±2 g | 100 | 400 1 | Mode shape assessment of a laboratory floor | [66] |
| LARA | ±2 g | 333 | 51 2 | Eigenfrequency analysis of a bridge | [47] |
| Name | Price | Sampling Frequency | Broadband Resolution | Sensitivity | Type | Reference |
|---|---|---|---|---|---|---|
| EUR | Hz | mg RMS | V/g | [47] | ||
| LARA | 140 3 | 333 | 0.93 | 0.625 | Triaxial | |
| IMI 604B31 | 613 | 5000 | 0.35 | 0.100 | Triaxial | [74] |
| IMI 607A61 | 324 | 10,000 | 0.35 | 0.100 | Uniaxial | [75] |
| Material | Description | Characteristics | |
|---|---|---|---|
| 1 | S275 beam steel | ||
| Elasticity modulus (MPa) | 210,000.0 | ||
| Poisson’s ratio (ν) | 0.3 | ||
| Specific weight, ρ (kN/m3) | 78.5 | ||
| 2 | Concrete | ||
| Elasticity modulus (MPa) | 24,855.0 | ||
| Poisson’s ratio (ν) | 0.2 | ||
| Specific weight, ρ (kN/m3) | 25.0 | ||
| Mode Number | Fs Hz | Ux Unitless | Uy Unitless | Uz Unitless | Rx Unitless | Ry Unitless | Rz Unitless |
|---|---|---|---|---|---|---|---|
| 1 | 6.61 | 0 | 0 | 0.895 | 0 | 0.008 | 0 |
| 2 | 9.83 | 0 | 0 | 0 | 0.895 | 0 | 0 |
| 3 | 24.56 | 0 | 0 | 0.003 | 0 | 0.825 | 0 |
| 4 | 30.25 | 0 | 0 | 0 | 0.003 | 0 | 0 |
| LARA Number | Mode Number | Frequency | Normalized Amplitude | Mode Shape |
|---|---|---|---|---|
| LARA 1 | 1 | 6.61 Hz | 1.00 | ![]() |
| LARA 2 | 0.71 | |||
| LARA 3 | 0.71 | |||
| LARA 4 | 1.00 | |||
| LARA 1 | 2 | 9.83 Hz | −0.99 | ![]() |
| LARA 2 | −0.85 | |||
| LARA 3 | 0.85 | |||
| LARA 4 | 1.00 | |||
| LARA 1 | 3 | 24.56 Hz | 0.05 | ![]() |
| LARA 2 | 1.00 | |||
| LARA 3 | 1.00 | |||
| LARA 4 | 0.05 |
| LARA Number | Mode Number | Frequency | Complex Mode Shapes | Normalized Real Mode Shapes |
|---|---|---|---|---|
| LARA 1 | 1 | 7.924 Hz | −0.581 + 0.000i | −1.000 |
| LARA 2 | −0.343 + 0.229i | −0.710 | ||
| LARA 3 | −0.145 − 0.332i | −0.624 | ||
| LARA 4 | −0.580 − 0.025i | −0.999 | ||
| LARA 1 | 2 | 10.023 Hz | −0.542 − 0.000i | −0.857 |
| LARA 2 | −0.232 + 0.263i | −0.555 | ||
| LARA 3 | 0.284 + 0.029i | 0.451 | ||
| LARA 4 | 0.632 − 0.009i | 1.000 | ||
| LARA 1 | 3 | 25.383 Hz | −0.014 − 0.000i | −0.022 |
| LARA 2 | 0.455 − 0.048i | 0.732 | ||
| LARA 3 | 0.268 − 0.566i | 1.000 | ||
| LARA 4 | −0.001 + 0.060i | −0.097 |
| LARA Number | Mode Number | Frequency | Normalized Shapes |
|---|---|---|---|
| LARA 1 | 1 | 7.966 Hz | −0.999 |
| LARA 2 | −0.582 | ||
| LARA 3 | −0.691 | ||
| LARA 4 | −0.999 | ||
| LARA 1 | 2 | 10.007 Hz | 0.663 |
| LARA 2 | 0.999 | ||
| LARA 3 | −0.851 | ||
| LARA 4 | −0.628 | ||
| LARA 1 | 3 | 25.341 Hz | −0.048 |
| LARA 2 | 0.615 | ||
| LARA 3 | 1.000 | ||
| LARA 4 | −0.060 |
| Mode Number | Digital Model (Hz) | HI-INC (Hz) | FDD (Hz) | SSI-cov (Hz) | MACFDD, Digital | MACSSI-cov, Digital |
|---|---|---|---|---|---|---|
| 1 | 6.61 | 7.91 | 7.92 | 7.97 | 1.00 | 1.00 |
| 2 | 9.83 | 9.94 | 10.02 | 10.01 | 0.95 | 0.93 |
| 3 | 24.56 | 26.25 | 25.38 | 25.34 | 0.96 | 0.93 |
Publisher’s Note: MDPI stays neutral with regard to jurisdictional claims in published maps and institutional affiliations. |
© 2022 by the authors. Licensee MDPI, Basel, Switzerland. This article is an open access article distributed under the terms and conditions of the Creative Commons Attribution (CC BY) license (https://creativecommons.org/licenses/by/4.0/).
Share and Cite
Komarizadehasl, S.; Huguenet, P.; Lozano, F.; Lozano-Galant, J.A.; Turmo, J. Operational and Analytical Modal Analysis of a Bridge Using Low-Cost Wireless Arduino-Based Accelerometers. Sensors 2022, 22, 9808. https://doi.org/10.3390/s22249808
Komarizadehasl S, Huguenet P, Lozano F, Lozano-Galant JA, Turmo J. Operational and Analytical Modal Analysis of a Bridge Using Low-Cost Wireless Arduino-Based Accelerometers. Sensors. 2022; 22(24):9808. https://doi.org/10.3390/s22249808
Chicago/Turabian StyleKomarizadehasl, Seyedmilad, Pierre Huguenet, Fidel Lozano, Jose Antonio Lozano-Galant, and Jose Turmo. 2022. "Operational and Analytical Modal Analysis of a Bridge Using Low-Cost Wireless Arduino-Based Accelerometers" Sensors 22, no. 24: 9808. https://doi.org/10.3390/s22249808
APA StyleKomarizadehasl, S., Huguenet, P., Lozano, F., Lozano-Galant, J. A., & Turmo, J. (2022). Operational and Analytical Modal Analysis of a Bridge Using Low-Cost Wireless Arduino-Based Accelerometers. Sensors, 22(24), 9808. https://doi.org/10.3390/s22249808





