Bioleaching of Heavy Metals from Printed Circuit Boards with an Acidophilic Iron-Oxidizing Microbial Consortium in Stirred Tank Reactors
Abstract
:1. Introduction
2. Materials and Methods
2.1. Preparation and Characterization of Printed Circuit Boards (PCBs)
2.2. Composition of Culture Media
2.3. Enrichment of Acidophilic Iron-Oxidizing Microbial Consortium
2.4. Bacterial Profiling of the Enriched Acidophilic Iron-Oxidizing Consortium by High-Throughput Sequencing of the 16S rRNA Amplicon
2.5. Tolerance of the Enriched Acidophilic Iron-Oxidizing Consortium to Metals and PCBs Waste
2.5.1. Tolerance to Cu and Zn
2.5.2. Tolerance to PCBs Waste
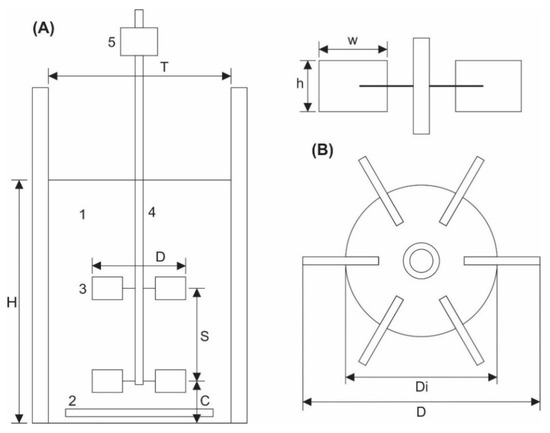
2.6. Bioleaching Experiments of PCBs
2.7. Analytical Methods
3. Results and Discussion
3.1. Composition of the PCBs Waste
3.2. Enrichment of an Acidophilic Iron-Oxidizing Consortium
3.3. Profiling of the Enriched Acidophilic Iron-Oxidizing Consortium by High-Throughput Sequencing of the 16S rRNA Amplicon
3.4. Tolerance of the Enriched Acidophilic Iron-Oxidizing Consortium to Cu and Zn
3.5. Tolerance of the Enriched Acidophilic Iron-Oxidising Consortium to PCBs Waste
3.6. PCBs Bioleaching in Stirred Tank Bioreactors
4. Conclusions
Author Contributions
Funding
Institutional Review Board Statement
Informed Consent Statement
Data Availability Statement
Conflicts of Interest
References
- Işıldar, A.; van Hullebusch, E.D.; Lenz, M.; Du Laing, G.; Marra, A.; Cesaro, A.; Panda, S.; Akcil, A.; Kucuker, M.A.; Kuchta, K. Biotechnological strategies for the recovery of valuable and critical raw materials from waste electrical and electronic equipment (WEEE)—A review. J. Hazard. Mater. 2019, 362, 467–481. [Google Scholar] [CrossRef] [PubMed]
- Baldé, C.P.; Forti, V.; Gray, V.; Kuehr, R.; Stegmann, P. The Global E-Waste Monitor—2017; United Nations University (UNU): Bonn, Germany; International Telecommunication Union (ITU): Geneva, Switzerland; International Solid Waste Association (ISWA): Vienna, Austria, 2017. [Google Scholar]
- Cucchiella, F.; D’Adamo, I.; Lenny Koh, S.C.; Rosa, P. Recycling of WEEEs: An economic assessment of present and future e-waste streams. Renew. Sustain. Energy Rev. 2015, 51, 263–272. [Google Scholar] [CrossRef] [Green Version]
- Ghosh, B.; Ghosh, M.K.; Parhi, P.; Mukherjee, P.S.; Mishra, B.K. Waste Printed Circuit Boards recycling: An extensive as-sessment of current status. J. Clean. Prod. 2015, 94, 5–19. [Google Scholar] [CrossRef]
- Gu, W.; Bai, J.; Lu, L.; Zhuang, X.; Zhao, J.; Yuan, W.; Zhang, C.; Wang, J. Improved bioleaching efficiency of metals from waste printed circuit boards by mechanical activation. Waste Manag. 2019, 98, 21–28. [Google Scholar] [CrossRef] [PubMed]
- Işıldar, A.; van de Vossenberg, J.; Rene, E.R.; van Hullebusch, E.D.; Lens, P.N.L. Two-step bioleaching of copper and gold from discarded printed circuit boards (PCB). Waste Manag. 2016, 57, 149–157. [Google Scholar] [CrossRef]
- Wang, J.; Bai, J.; Xu, J.; Liang, B. Bioleaching of metals from printed wire boards by AcidiThiobacillus ferrooxidans and Acidithiobacillus thiooxidans and their mixture. J. Hazard. Mater. 2009, 172, 1100–1105. [Google Scholar] [CrossRef]
- Fan, S.; Fan, C.; Yang, J.; Liu, K. Disassembly and recycling cost analysis of waste notebook and the efficiency improvement by re-design process. J. Clean. Prod. 2013, 39, 209–219. [Google Scholar] [CrossRef]
- Veit, H.M.; Diehl, T.R.; Salami, A.P.; Rodrigues, J.S.; Bernardes, A.M.; Tenório, J.A.S. Utilization of magnetic and electrostatic separation in the recycling of printed circuit boards scrap. Waste Manag. 2005, 25, 67–74. [Google Scholar] [CrossRef]
- Vermesan, H.; Tiuc, A.E.; Purcar, M. Advanced Recovery Techniques for Waste Materials from IT and Telecommunication Equipment Printed Circuit Boards. Sustainability 2019, 12, 74. [Google Scholar] [CrossRef] [Green Version]
- Jiang, P.; Harney, M.; Song, Y.; Chen, B.; Chen, Q.; Chen, T.; Lazarus, G.; Dubois, L.H.; Korzenski, M.B. Improving the End-of-Life for Electronic Materials via Sustainable Recycling Methods. Procedia Environ. Sci. 2012, 16, 485–490. [Google Scholar] [CrossRef] [Green Version]
- Rocchetti, L.; Amato, A.; Beolchini, F. Printed circuit board recycling: A patent review. J. Clean. Prod. 2018, 178, 814–832. [Google Scholar] [CrossRef]
- Chauhan, G.; Jadhao, P.R.; Pant, K.K.; Nigam, K.D. Novel technologies and conventional processes for recovery of metals from waste electrical and electronic equipment: Challenges & opportunities—A review. J. Environ. Chem. Eng. 2018, 6, 1288–1304. [Google Scholar] [CrossRef]
- Chauhan, G.; Pant, K.K.; Nigam, K.D.P. Chelation technology: A promising green approach for resource management and waste minimization. Environ. Sci. Process. Impacts 2015, 17, 12–40. [Google Scholar] [CrossRef]
- Coman, V.; Robotin, B.; Ilea, P. Nickel recovery/removal from industrial wastes: A review. Resour. Conserv. Recycl. 2013, 73, 229–238. [Google Scholar] [CrossRef]
- Modin, O.; Fuad, N.; Rauch, S. Microbial electrochemical recovery of zinc. Electrochim. Acta 2017, 248, 58–63. [Google Scholar] [CrossRef]
- Hong, Y.; Valix, M. Bioleaching of electronic waste using acidophilic sulfur oxidising bacteria. J. Clean. Prod. 2014, 65, 465–472. [Google Scholar] [CrossRef]
- Brandl, H.; Bosshard, R.; Wegmann, M. Computer-munching microbes: Metal leaching from electronic scrap by bacteria and fungi. Hydrometallurgy 2001, 59, 319–326. [Google Scholar] [CrossRef]
- Mahmoud, A.; Cézac, P.; Hoadley, A.F.; Contamine, F.; D’Hugues, P. A review of sulfide minerals microbially assisted leaching in stirred tank reactors. Int. Biodeterior. Biodegrad. 2017, 119, 118–146. [Google Scholar] [CrossRef]
- Becci, A.; Amato, A.; Fonti, V.; Karaj, D.; Beolchini, F. An innovative biotechnology for metal recovery from printed circuit boards. Resour. Conserv. Recycl. 2020, 153, 104549. [Google Scholar] [CrossRef]
- Wei, X.; Liu, D.; Huang, W.; Huang, W.; Lei, Z. Simultaneously enhanced Cu bioleaching from E-wastes and recovered Cu ions by direct current electric field in a bioelectrical reactor. Bioresour. Technol. 2019, 298, 122566. [Google Scholar] [CrossRef]
- Arshadi, M.; Yaghmaei, S.; Mousavi, S.M. Optimal electronic waste combination for maximal recovery of Cu-Ni-Fe by Acidi-Thiobacillus ferrooxidans. J. Clean. Prod. 2019, 240, 118077. [Google Scholar] [CrossRef]
- Wu, W.; Liu, X.; Zhang, X.; Zhu, M.; Tan, W. Bioleaching of copper from waste printed circuit boards by bacteria-free cultural supernatant of iron–sulfur-oxidizing bacteria. Bioresour. Bioprocess. 2018, 5, 10. [Google Scholar] [CrossRef] [Green Version]
- Kumar, A.; Saini, H.S.; Kumar, S. Bioleaching of Gold and Silver from Waste Printed Circuit Boards by Pseudomonas bale-arica SAE1 Isolated from an e-Waste Recycling Facility. Curr. Microbiol. 2017, 75, 194–201. [Google Scholar] [CrossRef]
- Liu, R.; Li, J.; Ge, Z. Review on Chromobacterium Violaceum for Gold Bioleaching from E-waste. Procedia Environ. Sci. 2016, 31, 947–953. [Google Scholar] [CrossRef] [Green Version]
- Natarajan, G.; Ting, Y.-P. Gold biorecovery from e-waste: An improved strategy through spent medium leaching with pH modification. Chemosphere 2015, 136, 232–238. [Google Scholar] [CrossRef]
- Pradhan, J.K.; Kumar, S. Metals bioleaching from electronic waste by Chromobacterium violaceum and Pseudomonads sp. Waste Manag. Res. 2012, 30, 1151–1159. [Google Scholar] [CrossRef]
- Latorre, M.; Cortés, M.P.; Travisany, D.; Di Genova, A.; Budinich, M.; Reyes-Jara, A.; Hödar, C.; González, M.; Parada, P.; Bobadilla-Fazzini, R.; et al. The bioleaching potential of a bacterial consortium. Bioresour. Technol. 2016, 218, 659–666. [Google Scholar] [CrossRef]
- Srivastava, R.R.; Ilyas, S.; Kim, H.; Choi, S.; Trinh, H.B.; Ghauri, M.A.; Ilyas, N. Biotechnological recycling of critical metals from waste printed circuit boards. J. Chem. Technol. Biotechnol. 2020, 95, 2796–2810. [Google Scholar] [CrossRef]
- Acevedo, F.; Gentina, J.C. Bioreactor design fundamentals and their application to gold mining. In Microbial Processing of Metal Sulfides; Donati, E.R., Sand, W., Eds.; Springer: Dordrecht, The Netherlands, 2007; pp. 151–168. [Google Scholar] [CrossRef]
- Rawlings, D.E.; Johnson, D.B. The microbiology of biomining: Development and optimization of mineral-oxidizing microbial consortia. Microbiology 2007, 153, 315–324. [Google Scholar] [CrossRef] [Green Version]
- Gu, W.; Bai, J.; Dong, B.; Zhuang, X.; Zhao, J.; Zhang, C.; Wang, J.; Shih, K. Catalytic effect of graphene in bioleaching copper from waste printed circuit boards by Acidithiobacillus ferrooxidans. Hydrometallurgy 2017, 171, 172–178. [Google Scholar] [CrossRef]
- Işıldar, A.; Rene, E.R.; van Hullebusch, E.D.; Lens, P.N.L. Electronic waste as a secondary source of critical metals: Management and recovery technologies. Resour. Conserv. Recycl. 2018, 135, 296–312. [Google Scholar] [CrossRef]
- Ilyas, S.; Ruan, C.; Bhatti, H.N.; Ghauri, M.A.; Anwar, M.A. Column bioleaching of metals from electronic scrap. Hydrometallurgy 2010, 101, 135–140. [Google Scholar] [CrossRef]
- Das, S.; Ting, Y.P. Evaluation of Wet Digestion Methods for Quantification of Metal Content in Electronic Scrap Material. Resources 2017, 6, 64. [Google Scholar] [CrossRef] [Green Version]
- Silverman, M.P.; Lundgren, D.G. Studies on the chemoautotrophic iron bacterium Ferrobacillus ferrooxidans. I. An improved medium and a harvesting procedure for securing high cell yields. J. Bacteriol. 1959, 77, 642–647. [Google Scholar] [CrossRef] [Green Version]
- Christner, B.C.; Mosley-Thompson, E.; Thompson, L.G.; Reeve, J.N. Isolation of bacteria and 16S rDNAs from Lake Vostok accretion ice. Environ. Microbiol. 2001, 3, 570–577. [Google Scholar] [CrossRef]
- Caporaso, J.G.; Kuczynski, J.; Stombaugh, J. QIIME allows analysis of high-throughput community sequencing data. Nat. Methods 2010, 7, 335–336. [Google Scholar] [CrossRef] [Green Version]
- Edgar, R.C. Search and clustering orders of magnitude faster than BLAST. Bioinformatics 2010, 26, 2460–2461. [Google Scholar] [CrossRef] [Green Version]
- McMurdie, P.J.; Holmes, S. phyloseq: An R package for reproducible interactive analysis and graphics of microbiome census data. PLoS ONE 2013, 8, e61217. [Google Scholar]
- Yan, L.; Hu, H.; Zhang, S.; Chen, P.; Wang, W.; Li, H. Arsenic tolerance and bioleaching from realgar based on response surface methodology by Acidithiobacillus ferrooxidans isolated from Wudalianchi volcanic lake, northeast China. Electron. J. Biotechnol. 2017, 25, 50–57. [Google Scholar] [CrossRef]
- Pourhossein, F.; Mousavi, S.M. Enhancement of copper, nickel, and gallium recovery from LED waste by adaptation of Acidithiobacillus ferrooxidans. Waste Manag. 2018, 79, 98–108. [Google Scholar] [CrossRef]
- Fu, K.; Wang, B.; Chen, H.; Chen, M.; Chen, S. Bioleaching of Al from Coarse-Grained Waste Printed Circuit Boards in a Stirred Tank Reactor. Procedia Environ. Sci. 2016, 31, 897–902. [Google Scholar] [CrossRef] [Green Version]
- Eisapour, M.; Keshtkar, A.; Moosavian, M.A.; Rashidi, A. Bioleaching of uranium in batch stirred tank reactor: Process optimization using Box–Behnken design. Ann. Nucl. Energy 2013, 54, 245–250. [Google Scholar] [CrossRef]
- Luan, D.; Zhang, S.; Wei, X.; Chen, Y. Study on mathematical model to predict aerated power consumption in a gas-liquid stirred tank. Results Phys. 2017, 7, 4085–4088. [Google Scholar] [CrossRef]
- Xia, M.C.; Wang, Y.P.; Peng, T.J.; Shen, L.; Yu, R.L.; Liu, Y.D.; Chen, M.; Li, J.K.; Wu, X.L.; Zeng, W.M. Recycling of metals from pretreated waste printed circuit boards effectively in stirred tank reactor by a moderately thermophilic culture. J. Biosci. Bioeng. 2017, 123, 714–721. [Google Scholar] [CrossRef]
- Johnson, D.B. Leptospirillum. In Bergey’s Manual of Systematics of Archaea and Bacteria; Trujillo, M.E., Dedysh, S., DeVos, P., Hedlund, B., Kämpfer, P., Rainey, F.A., Whitman, W.B., Eds.; Wiley Online Library: New York, NY, USA, 2015. [Google Scholar] [CrossRef]
- Johnson, D.B.; Bridge TA, M. Reduction of ferric iron by acidophilic heterotrophic bacteria: Evidence for constitutive and inducible enzyme systems in Acidiphilium spp. J. Appl. Microbiol. 2002, 92, 315–321. [Google Scholar] [CrossRef]
- Rainey, F.A.; Hollen, B.J.; Small, A.M. Clostridium. In Bergey’s Manual of Systematics of Archaea and Bacteria; Trujillo, M.E., Dedysh, S., DeVos, P., Hedlund, B., Kämpfer, P., Rainey, F.A., Whitman, W.B., Eds.; Wiley Online Library: New York, NY, USA, 2015. [Google Scholar] [CrossRef]
- Das, A.; Modak, J.M.; Natarajan, K.A. Technical note Studies on multi-metal ion tolerance of Thiobacillus ferrooxidans. Miner. Eng. 1997, 10, 743–749. [Google Scholar] [CrossRef]
- Boyer, A.; Magnin, J.P.; Ozil, P. Copper ion removal by Thiobacillus ferrooxidans biomass. Biotechnol. Lett. 1998, 20, 187–190. [Google Scholar] [CrossRef]
- Novo, M.T.M.; da Silva, A.C.; Moreto, R.; Cabral, P.C.P.; Costacurta, A.; Garcia, O., Jr.; Ottoboni, L.M.M. Thiobacillus ferrooxidans response to copper and other heavy metals: Growth, protein synthesis and protein phosphorylation. Antonie Van Leeuwenhoek 2000, 77, 187–195. [Google Scholar] [CrossRef]
- Barreira, R.P.R.; Villar, L.D.; Garcia, O. Tolerance to copper and zinc of Acidithiobacillus thiooxidans isolated from sewage sludge. World J. Microbiol. Biotechnol. 2005, 21, 89–91. [Google Scholar] [CrossRef]
- Natarajan, K.A., K. Sudeesha, and G. Ramananda Rao, Stability of copper tolerance in Thiobacillus ferrooxidans. Antonie Van Leeuwenhoek 1994, 66, 303–306. [Google Scholar] [CrossRef]
- Martínez-Bussenius, C.; Navarro, C.A.; Orellana, L.; Paradela, A.; Jerez, C.A. Global response of Acidithiobacillus ferrooxidans ATCC 53993 to high concentrations of copper: A quantitative proteomics approach. J. Proteom. 2016, 145, 37–45. [Google Scholar] [CrossRef]
- Mangold, S.; Potrykus, J.; Björn, E.; Lövgren, L.; Dopson, M. Extreme zinc tolerance in acidophilic microorganisms from the bacterial and archaeal domains. Extremophiles 2012, 17, 75–85. [Google Scholar] [CrossRef]
- Cabrera, G.; Gómez, J.M.; Cantero, D. Influence of heavy metals on growth and ferrous sulphate oxidation by AcidiThiobacillus ferrooxidans in pure and mixed cultures. Process Biochem. 2005, 40, 2683–2687. [Google Scholar] [CrossRef]
- Yang, Y.; Chen, S.; Li, S.; Chen, M.; Chen, H.; Liu, B. Bioleaching waste printed circuit boards by Acidithiobacillus ferrooxidans and its kinetics aspect. J. Biotechnol. 2014, 173, 24–30. [Google Scholar] [CrossRef]
- Srirugsa, T.; Prasertsan, S.; Theppaya, T.; Leevijit, T.; Prasertsan, P. Appropriate mixing speeds of Rushton turbine for biohydrogen production from palm oil mill effluent in a continuous stirred tank reactor. Energy 2019, 179, 823–830. [Google Scholar] [CrossRef]
- Ilyas, S.; Srivastava, R.R.; Kim, H. O2-enriched microbial activity with pH-sensitive solvo-chemical and electro-chlorination strategy to reclaim critical metals from the hazardous waste printed circuit boards. J. Hazard. Mater. 2021, 416, 125769. [Google Scholar] [CrossRef]
- Willner, J.; Fornalczyk, A.; Gajda, B.; Saternus, M. Bioleaching of indium and tin from used LCD panels. Physicochem. Probl. Miner. Process. 2018, 54, 639–645. [Google Scholar]
- Ilyas, S.; Anwar, M.A.; Niazi, S.B.; Afzal Ghauri, M. Bioleaching of metals from electronic scrap by moderately thermophilic acidophilic bacteria. Hydrometallurgy 2007, 88, 180–188. [Google Scholar] [CrossRef]
- Karwowska, E.; Andrzejewska-Morzuch, D.; Łebkowska, M.; Tabernacka, A.; Wojtkowska, M.; Telepko, A.; Konarzewska, A. Bioleaching of metals from printed circuit boards supported with surfactant-producing bacteria. J. Hazard. Mater. 2014, 264, 203–210. [Google Scholar] [CrossRef]
- Seisko, S.; Lampinen, M.; Aromaa, J.; Laari, A.; Koiranen, T.; Lundström, M. Kinetics and mechanisms of gold dissolution by ferric chloride leaching. Miner. Eng. 2018, 115, 131–141. [Google Scholar] [CrossRef]
- Li, J.; Miller, J.D. Reaction kinetics of gold dissolution in acid thiourea solution using ferric sulfate as oxidant. Hydrometallurgy 2007, 89, 279–288. [Google Scholar] [CrossRef]
- Huai, Y.; Plackowski, C.; Peng, Y. The effect of gold coupling on the surface properties of pyrite in the presence of ferric ions. Appl. Surf. Sci. 2019, 488, 277–283. [Google Scholar] [CrossRef]
- Gu, W.; Bai, J.; Dong, B.; Zhuang, X.; Zhao, J.; Zhang, C.; Wang, J.; Shih, K. Enhanced bioleaching efficiency of copper from waste printed circuit board driven by nitrogen-doped carbon nanotubes modified electrode. Chem. Eng. J. 2017, 324, 122–129. [Google Scholar] [CrossRef]







| METAL | % in PCBs | METAL | % in PCBs |
|---|---|---|---|
| Cu | 10.63 | Pb | 0.178 |
| Al | >1 | Mg | 0.154 |
| Ba | >1 | Zn | 0.131 |
| Ca | >1 | Sr | 0.072 |
| Fe | 0.932 | Ag | 0.067 |
| Sn | 0.899 | K | 0.053 |
| Ti | 0.615 | Mn | 0.028 |
| B | 0.605 | Cr | 0.017 |
| Ni | 0.400 | Au | 0.009 |
| Time (Days) | METAL TYPE (%) | ORP | pH | |||
|---|---|---|---|---|---|---|
| Cu | Zn | Au | Sn | |||
| ±SD | ±SD | ±SD | ±SD | ±SD | ±SD | |
| 0 | 0 | 0 | 0 | 0 | * 670 ± 2.1 448 ± 2.4 | * 2.2 ± 0.03 2.7 ± 0.05 |
| 3 | 65 ± 0.4 | 59 ± 3.4 | 19 ± 0.6 | 16 ± 5.7 | 658 ± 10.6 | 2.5 ± 0.05 |
| 7 | 67 ± 1.8 | 58 ± 9.7 | 20 ± 0.0 | 8 ± 5.3 | 680 ± 5.6 | 2.2 ± 0.02 |
| 11 | 69 ± 1.0 | 70 ± 1.3 | 28 ± 1.7 | 7 ± 4.3 | 683 ± 4.0 | 2.2 ± 0.02 |
| 15 | 68 ± 1.4 | 91 ± 1.8 | 22 ± 1.7 | 8 ± 5.2 | 677 ± 5.6 | 2.2 ± 0.02 |
Publisher’s Note: MDPI stays neutral with regard to jurisdictional claims in published maps and institutional affiliations. |
© 2022 by the authors. Licensee MDPI, Basel, Switzerland. This article is an open access article distributed under the terms and conditions of the Creative Commons Attribution (CC BY) license (https://creativecommons.org/licenses/by/4.0/).
Share and Cite
Tapia, J.; Dueñas, A.; Cheje, N.; Soclle, G.; Patiño, N.; Ancalla, W.; Tenorio, S.; Denos, J.; Taco, H.; Cao, W.; et al. Bioleaching of Heavy Metals from Printed Circuit Boards with an Acidophilic Iron-Oxidizing Microbial Consortium in Stirred Tank Reactors. Bioengineering 2022, 9, 79. https://doi.org/10.3390/bioengineering9020079
Tapia J, Dueñas A, Cheje N, Soclle G, Patiño N, Ancalla W, Tenorio S, Denos J, Taco H, Cao W, et al. Bioleaching of Heavy Metals from Printed Circuit Boards with an Acidophilic Iron-Oxidizing Microbial Consortium in Stirred Tank Reactors. Bioengineering. 2022; 9(2):79. https://doi.org/10.3390/bioengineering9020079
Chicago/Turabian StyleTapia, Juan, Alex Dueñas, Nick Cheje, Gonzalo Soclle, Nila Patiño, Wendy Ancalla, Sara Tenorio, Jorge Denos, Homar Taco, Weiwei Cao, and et al. 2022. "Bioleaching of Heavy Metals from Printed Circuit Boards with an Acidophilic Iron-Oxidizing Microbial Consortium in Stirred Tank Reactors" Bioengineering 9, no. 2: 79. https://doi.org/10.3390/bioengineering9020079
APA StyleTapia, J., Dueñas, A., Cheje, N., Soclle, G., Patiño, N., Ancalla, W., Tenorio, S., Denos, J., Taco, H., Cao, W., Alexandrino, D. A. M., Jia, Z., Vasconcelos, V., Carvalho, M. d. F., & Lazarte, A. (2022). Bioleaching of Heavy Metals from Printed Circuit Boards with an Acidophilic Iron-Oxidizing Microbial Consortium in Stirred Tank Reactors. Bioengineering, 9(2), 79. https://doi.org/10.3390/bioengineering9020079

