Impact of Team Teaching on Student Teachers’ Professional Identity: A Bayesian Approach
Abstract
:1. Introduction
2. Student Teachers’ Professional Identity
3. Formats of Student Teaching
3.1. Traditional Teaching
3.2. Team Teaching
3.3. Team Teaching with Extended Support
4. Research Question
5. Methodology
5.1. Context and Participants
5.2. Instrument
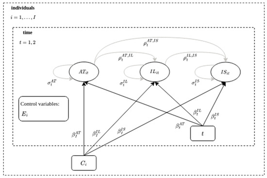
5.3. Model
5.4. Measurement Invariance
5.5. Missing Data
5.6. Noncompliance
5.7. Interpretation
5.8. Fitted Models
5.9. Model Selection
6. Results
6.1. Professional Identity Related to Learning and Regulation Activities (RQa)
6.1.1. Proactive and Broad Use of the Mentor
6.1.2. Independent Search for Conceptual Information
6.1.3. Actively Relating Theory and Practice
6.1.4. Developing Views/Ideas through Discussion
6.1.5. Pupil-Oriented Evaluation Criteria
6.2. Professional Identity Related to Reflective Thinking (RQb)
6.2.1. Habitual Action
6.2.2. Understanding
6.2.3. Reflection
6.2.4. Critical Reflection
6.3. Professional Identity Related to Teacher Efficacy (RQc)
6.3.1. Adaptive Teaching
6.3.2. Intensive and Activating Lessons
6.3.3. Instructional Strategies
6.4. Professional Identity Related to Beliefs about Learning and Teaching (RQd)
6.4.1. Subject Matter-Oriented Beliefs
6.4.2. Pupil-Oriented Beliefs
6.5. Professional Identity Related to Motivation (RQe)
6.5.1. External Regulation
6.5.2. Introjected Regulation
6.5.3. Identified Regulation
6.5.4. Intrinsic Motivation
6.6. Professional Identity Related to Collaborative Activities (RQf)
Collaborative Activities
6.7. Posterior Probability Distributions
7. Discussion
7.1. Findings
7.2. Limitations and Future Research
8. Conclusions
Author Contributions
Funding
Institutional Review Board Statement
Informed Consent Statement
Data Availability Statement
Acknowledgments
Conflicts of Interest
Appendix A
Estimation
Appendix B


Appendix C


Appendix D


Appendix E


Appendix F


Appendix G


Appendix H
| WAIC | SE | dWAIC | dSE | pWAIC | Weight | |
|---|---|---|---|---|---|---|
| Model 2B | 30,673.72 | 173.01 | 0 | NA | 1239.88 | 1.00 |
| Model 3B | 30,719.70 | 173.87 | 45.98 | 12.84 | 1281.01 | 0 |
| Model 1B | 30,734.70 | 172.98 | 61.00 | 32.47 | 1243.60 | 0 |
| Model 3A | 30,769.98 | 170.75 | 96.26 | 57.79 | 1135.14 | 0 |
| Model 2A | 30,783.38 | 171.11 | 109.65 | 58.75 | 1127.30 | 0 |
| Model 1A | 30,884.00 | 170.60 | 210.20 | 62.18 | 1123.60 | 0 |
Appendix I
| WAIC | SE | dWAIC | dSE | pWAIC | Weight | |
|---|---|---|---|---|---|---|
| Model 3B | 17,866.38 | 143.38 | 0 | NA | 914.25 | 1.00 |
| Model 2B | 17,882.17 | 143.76 | 15.80 | 10.71 | 910.25 | 0 |
| Model 1B | 17,894.43 | 144.25 | 28.05 | 16.58 | 902.81 | 0 |
| Model 3A | 17,922.63 | 142.01 | 56.26 | 27.66 | 893.00 | 0 |
| Model 2A | 17,957.30 | 141.98 | 90.92 | 30.74 | 882.17 | 0 |
| Model 1A | 17,989.17 | 142.33 | 122.79 | 33.61 | 876.05 | 0 |
Appendix J
| WAIC | SE | dWAIC | dSE | pWAIC | Weight | |
|---|---|---|---|---|---|---|
| Model 3B | 13,358.25 | 143.53 | 0 | NA | 597.30 | 0.97 |
| Model 2B | 13,365.46 | 143.47 | 7.21 | 7.30 | 599.69 | 0.03 |
| Model 1B | 13,381.20 | 144.15 | 22.95 | 18.38 | 575.56 | 0 |
| Model 3A | 13,483.03 | 140.27 | 124.78 | 28.97 | 370.33 | 0 |
| Model 2A | 13,503.52 | 140.13 | 145.27 | 30.75 | 365.25 | 0 |
| Model 1A | 13,576.72 | 140.90 | 218.47 | 36.68 | 350.09 | 0 |
Appendix K
| WAIC | SE | dWAIC | dSE | pWAIC | Weight | |
|---|---|---|---|---|---|---|
| Model 2A | 10,265.95 | 139.39 | 0 | NA | 475.49 | 0.93 |
| Model 3A | 10,271.06 | 139.55 | 5.11 | 4.46 | 478.16 | 0.07 |
| Model 1A | 10,289.91 | 138.08 | 23.96 | 13.53 | 477.23 | 0 |
| Model 3B | 10,316.86 | 143.40 | 50.91 | 30.34 | 540.94 | 0 |
| Model 1B | 10,324.72 | 143.10 | 58.77 | 32.04 | 544.72 | 0 |
| Model 2B | 10,330.58 | 143.92 | 64.62 | 27.53 | 550.07 | 0 |
Appendix L
| WAIC | SE | dWAIC | dSE | pWAIC | Weight | |
|---|---|---|---|---|---|---|
| Model 2B | 15,718.07 | 206.19 | 0 | NA | 957.79 | 0.70 |
| Model 3B | 15,719.98 | 205.81 | 1.91 | 4.74 | 961.17 | 0.27 |
| Model 1B | 15,724.57 | 206.08 | 6.50 | 12.46 | 948.93 | 0.03 |
| Model 2A | 16,013.63 | 200.38 | 295.56 | 52.72 | 866.19 | 0 |
| Model 1A | 16,019.30 | 200.39 | 301.23 | 55.60 | 856.10 | 0 |
| Model 3A | 16,021.24 | 200.16 | 303.17 | 52.61 | 871.95 | 0 |
Appendix M
| WAIC | SE | dWAIC | dSE | pWAIC | Weight | |
|---|---|---|---|---|---|---|
| Model 2A | 17,672.30 | 128.02 | 0 | NA | 334.90 | 0.70 |
| Model 2B | 17,675.76 | 128.07 | 3.45 | 4.62 | 338.75 | 0.12 |
| Model 3B | 17,676.39 | 128.17 | 4.08 | 5.77 | 340.02 | 0.09 |
| Model 3A | 17,676.51 | 128.22 | 4.21 | 3.25 | 337.71 | 0.09 |
| Model 1B | 17,900.32 | 125.84 | 228.02 | 34.70 | 328.28 | 0 |
| Model 1A | 17,974.85 | 125.28 | 302.55 | 37.30 | 331.92 | 0 |
References
- Pillen, M.T.; Den Brok, P.J.; Beijaard, D. Profiles and change in beginning teachers’ professional identity tensions. Teach. Teach. Educ. 2013, 34, 86–97. [Google Scholar] [CrossRef]
- Weinberg, A.E.; Sebald, A.; Stevenson, C.A.; Wakefield, W. Toward conceptual clarity: A scoping review of coteaching in teacher education. Teach. Educ. 2020, 55, 190–213. [Google Scholar] [CrossRef]
- Duran, D.; Corcelles, M.; Flores, M.; Miquel, E. Changes in attitudes and willingness to use co-teaching through pre-service teacher training experiences. Prof. Dev. Educ. 2020, 46, 770. [Google Scholar] [CrossRef]
- Härkki, T.; Vartiainen, H.; Seitamaa-Hakkarainen, P.; Hakkarainen, K. Co-teaching in non-linear projects: A contextualised model of co-teaching to support educational change. Teach. Teach. Educ. 2021, 97, 103188. [Google Scholar] [CrossRef]
- Tynjälä, P. Perspectives into learning at the workplace. Educ. Res. Rev. 2008, 3, 130–154. [Google Scholar] [CrossRef]
- Kyndt, E.; Donche, V.; Gijbels, D.; Van Petegem, P. Workplace learning within teacher education: The role of job characteristics and goal orientation. Educ. Stud. 2014, 40, 515–532. [Google Scholar] [CrossRef]
- Rodrigues, F.; Mogarro, M.J. Student teachers’ professional identity: A review of research contributions. Educ. Res. Rev. 2019, 28, 100286. [Google Scholar] [CrossRef]
- Yuan, E.R. The dark side of mentoring on pre-service language teachers’ identity formation. Teach. Teach. Educ. 2016, 55, 188–197. [Google Scholar] [CrossRef]
- Goodnough, K.; Osmond, P.; Dibbon, D.; Glassman, M.; Stevens, K. Exploring a triad model of student teaching: Pre-service teacher and cooperating teacher perceptions. Teach. Teach. Educ. 2009, 25, 285–296. [Google Scholar] [CrossRef]
- Bacharach, N.; Heck, T.W.; Dahlberg, K. Changing the face of student teaching through coteaching. Action Teach. Educ. 2010, 32, 3–14. [Google Scholar] [CrossRef]
- Guise, M.; Habib, M.; Thiessen, K.; Robbins, A. Continuum of co-teaching implementation: Moving from traditional student teaching to co-teaching. Teach. Teach. Educ. 2017, 66, 370–382. [Google Scholar] [CrossRef]
- Stapleton, J.; Fogarty, E.; Tschida, C.; Cuthrell, K.; Chittum, J. Impact of coaching, co-teaching, and student characteristics on teacher readiness. J. Teach. Educ. Educ. 2021, 10, 131–155. [Google Scholar]
- Vangrieken, K.; Dochy, F.; Raes, E.; Kyndt, E. Teacher collaboration: A systematic review. Educ. Res. Rev. 2015, 15, 17–40. [Google Scholar] [CrossRef]
- Baeten, M.; Simons, M. Student teachers’ team teaching: Models, effects, and conditions for implementation. Teach. Teach. Educ. 2014, 41, 92–110. [Google Scholar] [CrossRef]
- Kamens, M.W. Learning about co-teaching: A collaborative student teaching experience for preservice teachers. Teach. Educ. Spec. Educ. J. Teach. Educ. Div. Counc. Except. Childeren 2007, 30, 155–166. [Google Scholar] [CrossRef]
- Mastropieri, M.A.; Scruggs, T.E.; Graetz, J.; Norland, J.; Gardizi, W.; McDuffie, K. Case studies in co-teaching in the content areas: Successes, failures, and challenges. Interv. Sch. Clin. 2005, 40, 260–270. [Google Scholar] [CrossRef]
- Tschida, C.M.; Smith, J.J.; Fogarty, E.A. “It just works better”: Introducing the 2:1 model of co-teaching in teacher preparation. Rural Educ. 2015, 36, 11–26. [Google Scholar] [CrossRef]
- De Backer, L.; Schelfhout, W.; Simons, M.; Vandervieren, E. Student teachers’ peer team teaching experiences from a quantitative perspective: Perceptions, profiles and transition probabilities. Teach. Teach. Educ. 2023, 135, 104361. [Google Scholar] [CrossRef]
- Carambo, C.; Stickney, C.T. Coteaching praxis and professional service: Facilitating the transition of beliefs and practices. Cult. Stud. Sci. Educ. 2009, 4, 433–441. [Google Scholar] [CrossRef]
- Zach, S. Co-teaching–an approach for enhancing teaching-learning collaboration in physical education teacher education (Pete). J. Phys. Educ. Sport 2020, 20, 1402–1407. [Google Scholar]
- Soslau, E.; Gallo-Fox, J.; Scantlebury, K. The promises and realities of implementing a coteaching model of student teaching. J. Teach. Educ. 2019, 70, 265–279. [Google Scholar] [CrossRef]
- Kim, J. Implementing a co-teaching model in music student teaching: A literature review. Update Appl. Res. Music Educ. 2019, 38, 18–24. [Google Scholar] [CrossRef]
- Beauchamp, C.; Thomas, L. Reflecting on an ideal: Student teachers envision a future identity. Reflective Pract. 2010, 11, 631–643. [Google Scholar] [CrossRef]
- Timoštšuk, I.; Ugaste, A. Student teachers’ professional identity. Teach. Teach. Educ. 2010, 26, 1563–1570. [Google Scholar] [CrossRef]
- Tsybulsky, D.; Muchnik-Rozanov, Y. The development of student-teachers’ professional identity while team-teaching science classes using a project-based learning approach: A multi-level analysis. Teach. Teach. Educ. 2019, 79, 48–59. [Google Scholar] [CrossRef]
- Canrinus, E.T.; Helms-Lorenz, M.; Beijaard, D.; Buitink, J.; Hofman, A. Self-efficacy, job satisfaction, motivation and commitment: Exploring the relationships between indicators of teachers’ professional identity. Eur. J. Psychol. Educ. 2012, 27, 115–132. [Google Scholar] [CrossRef]
- Akkerman, S.F.; Meijer, P.C. A dialogical approach to conceptualizing teacher identity. Teach. Teach. Educ. 2011, 27, 308–319. [Google Scholar] [CrossRef]
- Izadinia, M. A review of research on student teachers’ professional identity. Br. Educ. Res. J. 2013, 39, 694–713. [Google Scholar] [CrossRef]
- Richter, E.; Brunner, M.; Richter, D. Teacher educators’ task perception and its relationship to professional identity and teaching practice. Teach. Teach. Educ. 2021, 101, 103303. [Google Scholar] [CrossRef]
- Endedijk, M.D.; Van Daal, T.; Donche, V.; Oosterheert, I.E. The revised Inventory Learning to Teach Process: Development of a questionnaire measuring how student teachers learn. Pedagog. Stud. 2020, 97, 378–402. [Google Scholar]
- Oosterheert, I. How Student Teachers Learn; UCLO: Groningen, NL, The Netherlands, 2001. [Google Scholar]
- Kember, D.; Leung, D.Y.P.; Jones, A.; Loke, A.Y.; McKay, J.; Sinclair, K.; Tse, H.; Webb, C.; Yuet Wong, F.K.; Wong, M. Development of a questionnaire to measure the level of reflective thinking. Assess. Eval. High. Educ. 2000, 25, 381–395. [Google Scholar] [CrossRef]
- Hanna, F.; Oostdam, R.; Severiens, S.E.; Zijlstra, B.J.H. Assessing the professional identity of primary student teachers: Design and validation of the Teacher Identity Measurement Scale. Stud. Educ. Eval. 2020, 64, 100822. [Google Scholar] [CrossRef]
- Lamote, C.; Engels, N. The development of student teachers’ professional identity. Eur. J. Teach. Educ. 2010, 33, 3–18. [Google Scholar] [CrossRef]
- Tschannen-Moran, M.; Hoy, A.W. Teacher efficacy: Capturing an elusive construct. Teach. Teach. Educ. 2001, 17, 783–805. [Google Scholar] [CrossRef]
- Maulana, R.; Helms-Lorenz, M.; van de Grift, W. Development and evaluation of a questionnaire measuring pre-service teachers’ teaching behaviour: A Rasch modelling approach. Sch. Eff. Sch. Improv. 2015, 26, 169–194. [Google Scholar] [CrossRef]
- Van de Grift, W. Quality of teaching in four European countries: A review of the literature and application of an assessment instrument. Educ. Res. 2007, 49, 127–152. [Google Scholar] [CrossRef]
- de Vries, S.; Jansen, E.P.W.A.; Helms-Lorenz, M.; van de Grift, W.J.C.M. Student teachers’ beliefs about learning and teaching and their participation in career-long learning activities. J. Educ. Teach. 2014, 40, 344–358. [Google Scholar] [CrossRef]
- Vansteenkiste, M.; Sierens, E.; Soenens, B.; Luyckx, K.; Lens, W. Motivational profiles from a self-determination perspective: The quality of motivation matters. J. Educ. Psychol. 2009, 101, 671. [Google Scholar] [CrossRef]
- Deci, E.L.; Ryan, R.M. The “what” and “why” of goal pursuits: Human needs and the self-determination of behavior. Psychol. Inq. 2000, 11, 227–268. [Google Scholar] [CrossRef]
- Dang, T.K.A. Identity in activity: Examining teacher professional identity formation in the paired-placement of student teachers. Teach. Teach. Educ. 2013, 30, 47–59. [Google Scholar] [CrossRef]
- Chang, S.H. Co-teaching in student teaching of an elementary education program. Teach. Educ. J. 2018, 11, 105–113. [Google Scholar]
- Hackett, J.; Bang, M.; Goulter, A.; Battista, M. Crossing risky boundaries: Learning to authentically and equitably co-teach through design and practice. Teach. Teach. Educ. 2019, 86, 102889. [Google Scholar] [CrossRef]
- Haeck, M.; Van den Brande, M.; Verhelst, M. Wanneer waagt jouw team de sprong naar teamteaching? Sch. En Visie 2013, 5, 20–23. [Google Scholar]
- McCormack, L.; Finlayson, O.E.; McCloughlin, T.J.J. The CASE programme implemented across the primary and secondary school transition in Ireland. Int. J. Sci. Educ. 2014, 36, 2892–2917. [Google Scholar] [CrossRef]
- Meirsschaut, M.; Ruys, I. Teamteaching: Beweegredenen, randvoorwaarden en implicaties voor leerlingen, leraren en hun school. Steunpunt Onderwijsonderzoek 2018. [Google Scholar]
- Jortveit, M.; Kovač, V.B. Co-teaching that works: Special and general educators’ perspectives on collaboration. Teach. Educ. 2022, 33, 286–300. [Google Scholar] [CrossRef]
- Lawson, J. Design and Analysis of Experiments with R; CRC Press: Boca Raton, FL, USA, 2014; p. 115. [Google Scholar]
- Britton, J.J. Effective Group Coaching: Tried and Tested Tools and Resources for Optimum Coaching Results; John Wiley & Sons: Hoboken, NJ, USA, 2009. [Google Scholar]
- Creswell, J.W. Educational Research: Planning, Conducting, and Evaluating Quantitative and Qualitative Research; Pearson Education: London, UK, 2012. [Google Scholar]
- Kline, R.B. Principles and Practice of Structural Equation Modeling, 5th ed.; Guilford Publications: New York, NY, USA, 2023. [Google Scholar]
- Beaujean, A.A. Latent Variable Modeling Using R: A Step-by-Step Guide; Routledge: New York, NY, USA, 2014. [Google Scholar]
- Brown, T.A.; Little, T.D. Confirmatory Factor Analysis for Applied Research, 2nd ed.; The Guilford Press: New York, NY, USA, 2015. [Google Scholar]
- Baldwin, S.A.; Fellingham, G.W. Bayesian methods for the analysis of small sample multilevel data with a complex variance structure. Psychol. Methods 2013, 18, 151–164. [Google Scholar] [CrossRef]
- Depaoli, S. The impact of inaccurate “informative” priors for growth parameters in Bayesian growth mixture modeling. Struct. Equ. Model. A Multidiscip. J. 2014, 21, 239–252. [Google Scholar] [CrossRef]
- Lambert, P.C.; Sutton, A.J.; Burton, P.R.; Abrams, K.R.; Jones, D.R. How vague is vague? A simulation study of the impact of the use of vague prior distributions in MCMC using WinBUGS. Stat. Med. 2005, 24, 2401–2428. [Google Scholar] [CrossRef]
- Seaman, J.W., III; Seaman, J.W., Jr.; Stamey, J.D. Hidden dangers of specifying noninformative priors. Am. Stat. 2012, 66, 77–84. [Google Scholar] [CrossRef]
- Martin, J.K.; McDonald, R.P. Bayesian estimation in unrestricted factor analysis: A treatment for Heywood cases. Psychometrika 1975, 40, 505–517. [Google Scholar] [CrossRef]
- Vandenberg, R.J.; Lance, C.E. A review and synthesis of the measurement invariance literature: Suggestions, practices, and recommendations for organizational research. Organ. Res. Methods 2000, 3, 4–70. [Google Scholar] [CrossRef]
- Horn, J.L.; McArdle, J.J. A practical and theoretical guide to measurement invariance in aging research. Exp. Aging Res. 1992, 18, 117–144. [Google Scholar] [CrossRef]
- Meredith, W. Measurement invariance, factor analysis and factorial invariance. Psychometrika 1993, 58, 525–543. [Google Scholar] [CrossRef]
- Meredith, W.; Millsap, R.E. On the misuse of manifest variables in the detection of measurement bias. Psychometrika 1992, 57, 289–311. [Google Scholar] [CrossRef]
- Wu, A.D.; Li, Z.; Zumbo, B.D. Decoding the meaning of factorial invariance and updating the practice of multi-group confirmatory factor analysis: A demonstration with TIMSS data. Pract. Assess. Res. Eval. 2007, 12, 3. [Google Scholar] [CrossRef]
- Enders, C.K. Applied Missing Data Analysis; Guilford Publications: New York, NY, USA, 2010. [Google Scholar]
- Little, R.J.A.; Rubin, D.B. Bayes and Multiple Imputation. Statistical Analysis with Missing Data; John Wiley & Sons: Hoboken, NJ, USA, 2002; pp. 200–220. [Google Scholar]
- Enders, C.K. The impact of nonnormality on full information maximum-likelihood estimation for structural equation models with missing data. Psychol. Methods 2001, 6, 352. [Google Scholar] [CrossRef]
- Arbuckle, J.L.; Marcoulides, G.A.; Schumacker, R.E. Full Information Estimation in the Presence of Incomplete Data, Advanced Structural Equation Modeling: Issues and Techniques; Psychology Press: New York, NY, USA, 1996; pp. 243–277. [Google Scholar]
- Boruch, R.F. Randomized Experiments for Planning and Evaluation: A Practical Guide; Sage: Newcastle upon Tyne, UK, 1997; p. 44. [Google Scholar]
- Angrist, J.D.; Imbens, G.W.; Rubin, D.B. Identification of causal effects using instrumental variables. J. Am. Stat. Assoc. 1996, 91, 444–455. [Google Scholar] [CrossRef]
- Cohen, J. Statistical Power Analysis for the Behavioral Sciences, 2nd ed.; NJ Law-rence Erlbaum Associates: Hillsdale, MI, USA, 1988. [Google Scholar]
- Sawilowsky, S.S. New effect size rules of thumb. J. Mod. Appl. Stat. Methods 2009, 8, 26. [Google Scholar] [CrossRef]
- Kruschke, J.K.; Liddell, T.M. The Bayesian new statistics: Hypothesis testing, estimation, meta-analysis, and power analysis from a Bayesian perspective. Psychon. Bull. Rev. 2018, 25, 178–206. [Google Scholar] [CrossRef]
- Kelley, K.; Preacher, K.J. On effect size. Psychol. Methods 2012, 17, 137. [Google Scholar] [CrossRef] [PubMed]
- Kruschke, J. Doing Bayesian Data Analysis: A Tutorial with R, JAGS, and Stan, 2nd ed.; Academic Press: Cambridge, MA, USA, 2015. [Google Scholar]
- Anderson, D.R. Model Based Inference in the Life Sciences: A Primer on Evidence; Springer: Berlin/Heidelberg, Germany, 2008. [Google Scholar]
- Chamberlin, T.C. The method of multiple working hypotheses: With this method the dangers of parental affection for a favorite theory can be circumvented. Science 1965, 148, 754–759. [Google Scholar] [CrossRef] [PubMed]
- Watanabe, S. A widely applicable Bayesian information criterion. J. Mach. Learn. Res. 2013, 14, 867–897. [Google Scholar]
- McElreath, R. Statistical Rethinking: A Bayesian Course with Examples in R and Stan; CRC Press: Boca Raton, FL, USA, 2020. [Google Scholar]
- Kullback, S.; Leibler, R.A. On information and sufficiency. Ann. Math. Stat. 1951, 22, 79–86. Available online: https://www.jstor.org/stable/2236703 (accessed on 2 May 2023). [CrossRef]
- Ongrsquo, C.O.; Jwan, J.O. Research on student teacher learning, collaboration and supervision during the practicum: A literature review. Educ. Res. Rev. 2009, 4, 515–524. [Google Scholar]
- Gast, I.; Schildkamp, K.; van der Veen, J.T. Team-based professional development interventions in higher education: A systematic review. Rev. Educ. Res. 2017, 87, 736–767. [Google Scholar] [CrossRef]
- Sheiner, L.B.; Rubin, D.B. Intention-to-treat analysis and the goals of clinical trials. Clin. Pharmacol. Ther. 1995, 57, 6–15. [Google Scholar] [CrossRef]
- R Core Team. R: A Language and Environment for Statistical Computing; The R Project for Statistical Computing: Vienna, Austria, 2016. [Google Scholar]
- Stan Development Team. Stan Modeling Language Users Guide and Reference Manual, Version 2.26.1; Stan Development Team: Toronto, ON, Canada, 2021.
- Hoffman, M.D.; Gelman, A. The No-U-Turn sampler: Adaptively setting path lengths in Hamiltonian Monte Carlo. J. Mach. Learn. Res. 2014, 15, 1593–1623. [Google Scholar]
- Gelman, A.; Rubin, D.B. Markov chain Monte Carlo methods in biostatistics. Stat. Methods Med. Res. 1996, 5, 339–355. [Google Scholar] [CrossRef]



| Parameters | ||||||
|---|---|---|---|---|---|---|
| Model | Latent Variables’ Covariances at T1 and T2 | Intercept | Education Path | Time | Intervention | Interaction Time, Intervention |
| 1A | Equal | x | ||||
| 1B | Different | x | ||||
| 2A | Equal | x | x | x | x | |
| 2B | Different | x | x | x | x | |
| 3A | Equal | x | x | x | x | x |
| 3B | Different | x | x | x | x | x |
| Effect Size | Posterior Mean | 95% HPDI |
|---|---|---|
| Intervention A1—intervention C | 0.143 | [−0.216; 0.506] |
| Intervention A2—intervention C | 0.313 | [−0.042; 0.664] |
| Intervention A2—intervention A1 | 0.17 | [−0.211; 0.559] |
| Time | 0.272 | [0.037; 0.5] |
| Effect Size | Posterior Mean | 95% HPDI |
|---|---|---|
| Intervention A1—intervention C | −0.111 | [−0.493; 0.255] |
| Intervention A2—intervention C | 0.055 | [−0.286; 0.434] |
| Intervention A2—intervention A1 | 0.166 | [−0.236; 0.532] |
| Time | 0.464 | [0.202; 0.726] |
| Effect Size | Posterior Mean | 95% HPDI |
|---|---|---|
| Intervention A1—intervention C | 0.327 | [−0.048; 0.718] |
| Intervention A2—intervention C | 0.574 | [0.212; 0.972] |
| Intervention A2—intervention A1 | 0.247 | [−0.167; 0.639] |
| Time | 0.302 | [0.026; 0.546] |
| Effect Size | Posterior Mean | 95% HPDI |
|---|---|---|
| Intervention A1—intervention C | −0.08 | [−0.272; 0.103] |
| Intervention A2—intervention C | −0.102 | [−0.304; 0.103] |
| Intervention A2—intervention A1 | −0.021 | [−0.213; 0.183] |
| Time | 0.448 | [0.32; 0.562] |
| Effect Size | Posterior Mean | 95% HPDI |
|---|---|---|
| Intervention A1—Intervention C | −0.097 | [−0.383; 0.185] |
| Intervention A2—Intervention C | −0.116 | [−0.406; 0.162] |
| Intervention A2—Intervention A1 | −0.02 | [−0.339; 0.287] |
| Time | 0.303 | [0.118; 0.49] |
| Effect Size | Posterior Mean | 95% HPDI |
|---|---|---|
| Intervention A1—intervention C | −0.054 | [−0.504; 0.437] |
| Intervention A2—intervention C | −0.001 | [−0.447; 0.456] |
| Intervention A2—intervention A1 | 0.052 | [−0.455; 0.534] |
| Time intervention A1—time intervention C | −0.115 | [−0.533; 0.338] |
| Time intervention A2—time intervention C | 0.02 | [−0.416; 0.446] |
| Time intervention A2—time intervention A1 | 0.135 | [−0.321; 0.592] |
| Effect Size | Posterior Mean | 95% HPDI |
|---|---|---|
| Intervention A1—intervention C | −0.264 | [−0.665; 0.128] |
| Intervention A2—intervention C | 0.347 | [−0.083; 0.736] |
| Intervention A2—intervention A1 | 0.612 | [0.158; 1.027] |
| Time intervention A1—time intervention C | 0.063 | [−0.331; 0.422] |
| Time intervention A2—time intervention C | −0.442 | [−0.83; −0.067] |
| Time intervention A2—time intervention A1 | −0.505 | [−0.911; −0.092] |
| Effect Size | Posterior Mean | 95% HPDI |
|---|---|---|
| Intervention A1—intervention C | 0.889 | [0.286; 1.488] |
| Intervention A2—intervention C | 1.131 | [0.524; 1.775] |
| Intervention A2—intervention A1 | 0.242 | [−0.357; 0.872] |
| Time intervention A1—time intervention C | −0.906 | [−1.506; −0.316] |
| Time intervention A2—time intervention C | −1.068 | [−1.653; −0.488] |
| Time intervention A2—time intervention A1 | −0.162 | [−0.769; 0.396] |
| Effect Size | Posterior Mean | 95% HPDI |
|---|---|---|
| Intervention A1—intervention C | −0.007 | [−0.275; 0.253] |
| Intervention A2—intervention C | 0.319 | [0.057; 0.591] |
| Intervention A2—intervention A1 | 0.326 | [0.039; 0.625] |
| Time intervention A1—time intervention C | −0.146 | [−0.414; 0.138] |
| Time intervention A2—time intervention C | −0.467 | [−0.721; −0.177] |
| Time intervention A2—time intervention A1 | −0.321 | [−0.618; −0.04] |
| Effect Size | Posterior Mean | 95% HPDI |
|---|---|---|
| Intervention A1—intervention C | 3.889 | [−1.466; 10.484] |
| Intervention A2—intervention C | 3.519 | [−1.082; 10.11] |
| Intervention A2—intervention A1 | −0.37 | [−5.889; 4.313] |
| Time intervention A1—time intervention C | −5.942 | [−14.243; −0.048] |
| Time intervention A2—time intervention C | −3.803 | [−10.672; 0.968] |
| Time intervention A2—time intervention A1 | 2.138 | [−2.806; 7.494] |
| Effect Size | Posterior Mean | 95% HPDI |
|---|---|---|
| Intervention A1—intervention C | 0.138 | [−0.642; 0.882] |
| Intervention A2—intervention C | 0.683 | [−0.063; 1.438] |
| Intervention A2—intervention A1 | 0.545 | [−0.254; 1.409] |
| Time intervention A1—time intervention C | −0.415 | [−1.174; 0.29] |
| Time intervention A2—time intervention C | −0.756 | [−1.49; −0.079] |
| Time intervention A2—time intervention A1 | −0.341 | [−1.124; 0.451] |
| Effect Size | Posterior Mean | 95% HPDI |
|---|---|---|
| Intervention A1—intervention C | 0.065 | [−0.166; 0.291] |
| Intervention A2—intervention C | 0.186 | [−0.023; 0.429] |
| Intervention A2—intervention A1 | 0.121 | [−0.107; 0.37] |
| Time intervention A1—time intervention C | −0.233 | [−0.431; −0.032] |
| Time intervention A2—time intervention C | −0.2 | [−0.393; −0.01] |
| Time intervention A2—time intervention A1 | 0.033 | [−0.166; 0.237] |
| Effect Size | Posterior Mean | 95% HPDI |
|---|---|---|
| Cohen’s d contrasts | ||
| Intervention A1—intervention C | −0.39 | [−0.797; 0.021] |
| Intervention A2—intervention C | −0.066 | [−0.492; 0.333] |
| Intervention A2—intervention A1 | 0.324 | [−0.127; 0.782] |
| Time | 0.515 | [0.328; 0.704] |
| Effect Size | Posterior Mean | 95% HPDI |
|---|---|---|
| Intervention A1—intervention C | −0.119 | [−0.352; 0.134] |
| Intervention A2—intervention C | 0.022 | [−0.214; 0.27] |
| Intervention A2—intervention A1 | 0.142 | [−0.111; 0.413] |
| Time | 0.035 | [−0.083; 0.15] |
| Effect Size | Posterior Mean | 95% HPDI |
|---|---|---|
| Cohen’s d contrasts | ||
| Intervention A1—intervention C | 0.17 | [−0.021; 0.35] |
| Intervention A2—intervention C | 0.027 | [−0.156; 0.207] |
| Intervention A2—intervention A1 | −0.143 | [−0.35; 0.066] |
| Time | 0.074 | [0; 0.139] |
| Effect Size | Posterior Mean | 95% HPDI |
|---|---|---|
| Intervention A1—intervention C | 0.273 | [−0.182; 0.753] |
| Intervention A2—intervention C | −0.018 | [−0.501; 0.414] |
| Intervention A2—intervention A1 | −0.291 | [−0.823; 0.217] |
| Time | 0.09 | [−0.119; 0.29] |
| Effect Size | Posterior Mean | 95% HPDI |
|---|---|---|
| Intervention A1—intervention C | −0.082 | [−0.306; 0.167] |
| Intervention A2—intervention C | 0.08 | [−0.146; 0.341] |
| Intervention A2—intervention A1 | 0.163 | [−0.104; 0.438] |
| Time | 0.212 | [0.096; 0.333] |
| Effect Size | Posterior Mean | 95% HPDI |
|---|---|---|
| Intervention A1—intervention C | −0.325 | [−0.82; 0.159] |
| Intervention A2—intervention C | 0.302 | [−0.203; 0.766] |
| Intervention A2—intervention A1 | 0.627 | [0.083; 1.156] |
| Time | 0.253 | [0.04; 0.45] |
| Effect Size | Posterior Mean | 95% HPDI |
|---|---|---|
| Intervention A1—intervention C | 0.168 | [−0.103; 0.42] |
| Intervention A2—intervention C | 0.005 | [−0.244; 0.278] |
| Intervention A2—intervention A1 | −0.163 | [−0.448; 0.129] |
| Time | 0.75 | [0.64; 0.857] |
| P (Comparison < −0.1) | P (Comparison > 0.1) | |
|---|---|---|
| Learning and regulation activities | ||
| Proactive and broad use of the mentor | A2 > C = 88.1% | |
| Actively relating theory and practice | A1 > C = 88.0% | |
| A2 > A1 = 76.1% | ||
| Reflective thinking | ||
| Understanding | A1 < C = 77.8% | A2 > C = 88.6% |
| Teacher efficacy | ||
| Adaptive teaching | A2(time) < C(time) = 96.3% | A1 > C = 96.9% |
| A2 > C = 94.5% | ||
| A2(time) > A1(time) = 85.1% | ||
| Intensive and activating lessons | A1(time) < C(time) = 80.5% | A2 > C = 94.0% |
| A2(time) < A1(time) = 73.2% | A2 > A1 = 85.4% | |
| Instructional strategies | A2 > C = 77.3% | |
| Beliefs about learning and teaching | ||
| Subject matter-oriented beliefs | A1 < C = 91.5% | A2 > A1 = 82.8% |
| Motivation | ||
| External regulation | A1 > C = 77.2% | |
| Introjected regulation | A2 < A1= 76.8% | A1 > C = 76.5% |
| Intrinsic motivation | A1 < C = 81.7% | A2 > C = 79.1% |
| Component of Professional Identity | Scale | Significance and Effect Size | Posterior |
|---|---|---|---|
| Learning and regulation activities | Proactive and broad use of the mentor | A2 > C | |
| Independent search for conceptual information | |||
| Actively relating theory and practice | A2 > C (medium) | A1 > C | |
| A2 > A1 | |||
| Developing views/ideas through discussion | |||
| Pupil-oriented evaluation criteria | |||
| Reflective thinking | Habitual action | ||
| Understanding | A2 > A1 (medium) | A2 > C | |
| A1 < C | |||
| Reflection | A1 > C (large) | ||
| A2 > C (large) | |||
| Critical reflection | A2 > C (small) | ||
| A2 > A1 (small) | |||
| Teacher efficacy | Adaptive teaching | A1 > C | |
| A2 > C | |||
| Intensive and activating lessons | A2 > C | ||
| A2 > A1 | |||
| Instructional strategies | A2 > C | ||
| Beliefs about learning and teaching | Subject matter-oriented beliefs | A2 > A1 | |
| A1 < C | |||
| Pupil-oriented beliefs | |||
| Motivation | External regulation | A1 > C | |
| Introjected regulation | A1 > C | ||
| A2 < A1 | |||
| Identified regulation | |||
| Intrinsic motivation | A2 > A1 (medium) | A2 > C | |
| A1 < C | |||
| Collaborative activities | Collaborative activities | ||
Disclaimer/Publisher’s Note: The statements, opinions and data contained in all publications are solely those of the individual author(s) and contributor(s) and not of MDPI and/or the editor(s). MDPI and/or the editor(s) disclaim responsibility for any injury to people or property resulting from any ideas, methods, instructions or products referred to in the content. |
© 2023 by the authors. Licensee MDPI, Basel, Switzerland. This article is an open access article distributed under the terms and conditions of the Creative Commons Attribution (CC BY) license (https://creativecommons.org/licenses/by/4.0/).
Share and Cite
De Backer, L.; Schelfhout, W.; Simons, M.; Vandervieren, E.; Rivera Espejo, J. Impact of Team Teaching on Student Teachers’ Professional Identity: A Bayesian Approach. Educ. Sci. 2023, 13, 1087. https://doi.org/10.3390/educsci13111087
De Backer L, Schelfhout W, Simons M, Vandervieren E, Rivera Espejo J. Impact of Team Teaching on Student Teachers’ Professional Identity: A Bayesian Approach. Education Sciences. 2023; 13(11):1087. https://doi.org/10.3390/educsci13111087
Chicago/Turabian StyleDe Backer, Loan, Wouter Schelfhout, Mathea Simons, Ellen Vandervieren, and Jose Rivera Espejo. 2023. "Impact of Team Teaching on Student Teachers’ Professional Identity: A Bayesian Approach" Education Sciences 13, no. 11: 1087. https://doi.org/10.3390/educsci13111087
APA StyleDe Backer, L., Schelfhout, W., Simons, M., Vandervieren, E., & Rivera Espejo, J. (2023). Impact of Team Teaching on Student Teachers’ Professional Identity: A Bayesian Approach. Education Sciences, 13(11), 1087. https://doi.org/10.3390/educsci13111087

