Rapid, Clean, and Sustainable Bioprocessing of Toxic Weeds into Benign Organic Fertilizer
Abstract
1. Introduction
2. Material and Method
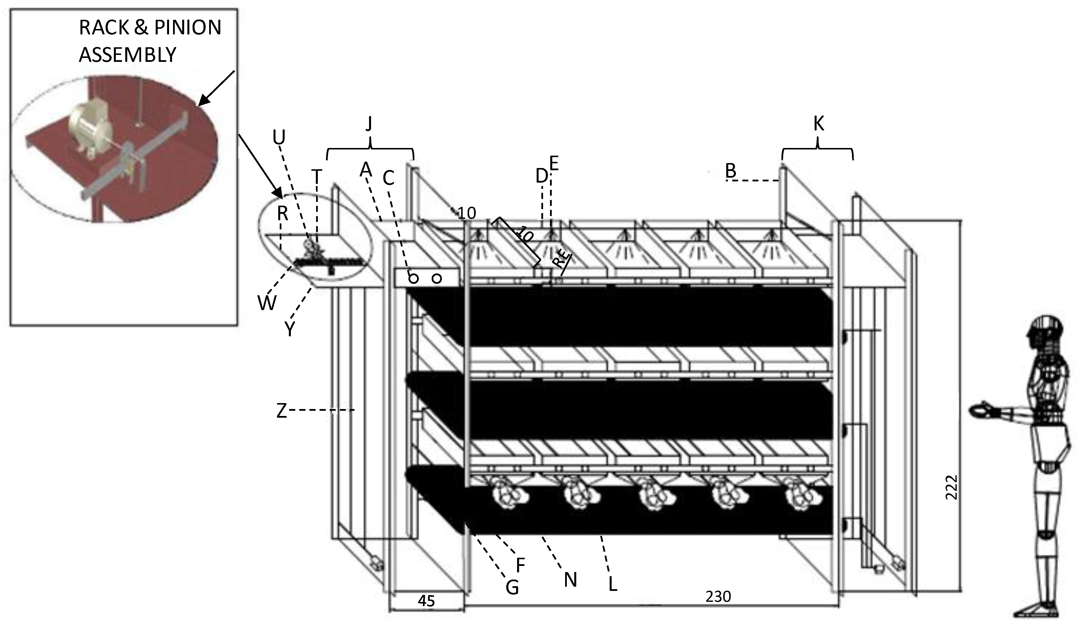
2.1. Substrate and Vermicomposting
- It enables reactor operation which is not actually continuous but approximates continuity; hence the term ‘pseudo-discretized continuous’.
- In PDCOP, the vermireactors are initiated with a pre-set quantity of the substrate and a certain fixed number of adult earthworms. After allowing the earthworms to effect vermicomposting for a set number of days, say 20 or 25, the reactor contents are transferred to another container for determining the extent of conversion of the substrate to vermicast as also assessing the fecundity by counting the offspring in terms of the numbers of juveniles and cocoons produced by the earthworms. Soon after removing the reactor contents, the reactors are restarted with fresh weed feed but with the same adult animals that were deployed initially, while excluding the juveniles and cocoons. This makes it possible to measure the rate of vermicast production per adult animal and per unit of time.
- Since the unused substrate—which, if not removed, would have biodegraded even without the action of the earthworms—is removed every 20–25 days, the effect of factors other than ingestion of the feed by the earthworms is minimized.
- PDCOP thus ensures that the earthworms graze only upon totally fresh, or almost fresh, feed as they would be doing in the ‘high-rate’ vermireactor operation based on low solid retention times (SRTs) of just 20–25 days. Here SRT implies the time given in each pulse of feeding-harvesting for the earthworms to carry out vermicomposting. The lower the SRT needed for adequate vermicomposting, the higher the process efficiency. Further, since the juveniles and the cocoons that are generated in the vermireactors are separated before they could grow to the stage where they begin consuming significant quantities of the feed, their influence, too, on the reactor performance is sharply dampened.
2.2. Physical and Chemical Characteristics
3. Results and Discussion
3.1. Vermicomposting of Lantana
3.1.1. Vermicast Production and Fecundity
3.1.2. Chemical Characteristics of the Lantana Vermicompost in Comparison to Lantana
3.2. Vermicomposting of Parthenium
3.2.1. Vermicast Production and Fecundity
3.2.2. Chemical Characteristics of the Vermicast Relative to the Substrate
3.3. Vermicomposting of Ipomoea
3.3.1. Vermicast Production and Fecundity
3.3.2. Chemical Characteristics of Ipomoea Vermicast Relative to the Parent Substrate
3.4. Fertilizer Value of the Vermicasts
4. Summary and Conclusions
Author Contributions
Funding
Institutional Review Board Statement
Informed Consent Statement
Data Availability Statement
Acknowledgments
Conflicts of Interest
Abbreviations
| HEVSTOW | High efficiency vertically stocked vermicomposting system for treating organic waste |
| PDCOP | Pseudo-discretized continuous reactor operation |
| SRT | Solid retention times |
| TOC | Total organic carbon |
| C:N | Carbon-to-nitrogen |
| SD | Standard deviation |
References
- Luque, G.M.; Bellard, C.; Bertelsmeier, C.; Bonnaud, E.; Genovesi, P.; Simberloff, D.; Courchamp, F. The 100th of the world’s worst invasive alien species. Biol. Invasions 2014, 16, 981–985. [Google Scholar] [CrossRef]
- Kumar, M.R.; Tauseef, S.M.; Abbasi, T.; Abbasi, S.A. Invasiveness and colonizing ability of ipomoea (Ipomoea carnea) and attempts at its management. Nat. Environ. Pollut. Technol. 2018, 17, 767–775. [Google Scholar]
- Saha, P.; Mondal, A.; Sarkar, S. Phytoremediation of cyanide containing steel industrial wastewater by Eichhornia crassipes. Int. J. Phytoremediat. 2018, 20, 1205–1214. [Google Scholar] [CrossRef] [PubMed]
- Hussain, N.; Abbasi, T.; Abbasi, S.A. Vermicomposting eliminates the toxicity of lantana (Lantana camara) and turns it into a plant friendly organic fertilizer. J. Hazard. Mater. 2015, 298, 46–57. [Google Scholar] [CrossRef]
- Mungi, N.A.; Qureshi, Q.; Jhala, Y.V. Expanding niche and degrading forests: Key to the successful global invasion of Lantana camara (sensulato). Glob. Ecol. Conserv. 2020, 23, e01080. [Google Scholar] [CrossRef]
- Kumar, S.; Varshney, J.G. Parthenium infestation and its estimated cost management in India. Indian J. Weed Sci. 2010, 42, 73–77. [Google Scholar]
- Konishi, M.; Ito, M.; Ito, K. Weed invasion of forests caused by passage for recreational activities: A survey of Ashiu Forest. Jpn. J. Conserv. Ecol. 2009, 14, 45–54. [Google Scholar]
- Shackleton, R.T.; Shackleton, C.M.; Kull, C.A. The role of invasive alien species in shaping local livelihoods and human well-being: A review. J. Environ. Manag. 2019, 229, 145–157. [Google Scholar] [CrossRef]
- Shindell, D.T.; Faluvegi, G.; Koch, D.M.; Schmidt, G.A.; Unger, N.; Bauer, S.E. Improved attribution of climate forcing to emissions. Science 2009, 326, 716–718. [Google Scholar] [CrossRef]
- Abbasi, S.A.; Nayeem-Shah, M.; Abbasi, T. Vermicomposting of phytomass: Limitations of the past approaches and the emerging directions. J. Clean. Prod. 2015, 93, 103–114. [Google Scholar] [CrossRef]
- Tabassum-Abbasi; Patnaik, P.; Abbasi, S.A. Ability of Indian pennywort Bacopa monnieri (L.) Pennell in the phytoremediation of sewage (greywater). Environ. Sci. Pollut. Res. 2020, 27, 6078–6087. [Google Scholar] [CrossRef] [PubMed]
- Tabassum-Abbasi; Patnaik, P.; Tauseef, S.M.; Abbasi, S.A. SHEFROL® bioreactor enhances the ability of pistia (Pistia stratiotes) in the phytoremediation of greywater. Int. J. Environ. Anal. Chem. 2020, 102, 1502–1511. [Google Scholar] [CrossRef]
- Mohini, S.; Arpana, C.; Asokan, P. Flyash vermicompost from non-ecofriendly organic wastes. Pollut. Res. Pap. 1998, 17, 5–11. [Google Scholar]
- Sannigrahi, A.K. Vermicomposting of some terrestrial weeds using Perionyx Excavatus earthworms. Asian J. Microbiol. Biotechnol. Environ. Sci. Pap. 2008, 10, 863–865. [Google Scholar]
- Yadav, A.; Garg, V.K. Recycling of organic wastes by employing Eisenia fetida. Bioresour. Technol. 2011, 102, 2874–2880. [Google Scholar] [CrossRef]
- Mahanta, K.; Jha, D.K.; Rajkhowa, D.J.; Manoj-Kumar. Microbial enrichment of vermicompost prepared from different plant biomasses and their effect on rice (Oryza sativa L.) growth and soil fertility. Biol. Agric. Hortic. 2012, 28, 241–250. [Google Scholar] [CrossRef]
- Rajiv, P.; Rajeshwari, S.; Venckatesh, R. Bio-Fabrication of zinc oxide nanoparticles using leaf extract of Parthenium hysterophorus L. and its size-dependent antifungal activity against plant fungal pathogens. Spectrochim. Acta Part A Mol. Biomol. Spectrosc. 2013, 112, 384–387. [Google Scholar] [CrossRef]
- Yadav, A.; Gupta, R.; Garg, V.K. Organic manure production from cow dung and biogas plant slurry by vermicomposting under field conditions. Int. J. Recycl. Org. Waste Agric. 2013, 2, 21. [Google Scholar] [CrossRef]
- Suthar, S.; Sharma, P. Vermicomposting of toxic weed—Lantana camara biomass: Chemical and microbial properties changes and assessment of toxicity of end product using seed bioassay. Ecotoxicol. Environ. Saf. 2013, 95, 179–187. [Google Scholar] [CrossRef]
- Rajiv, P.; Rajeshwari, S.; Rajendran, V. Impact of Parthenium weeds on earthworms (Eudriluseugeniae) during vermicomposting. Environ. Sci. Pollut. Res. 2014, 21, 12364–12371. [Google Scholar] [CrossRef]
- Yadav, R.H. Assessment of different organic supplements for degradation of Parthenium hysterophorusby vermitechnology. J. Environ. Health Sci. Eng. 2015, 13, 44. [Google Scholar] [CrossRef] [PubMed]
- Yadav, A.; Garg, V.K. Vermiconversion of biogas plant slurry and parthenium weed mixture to manure. Int. J. Recycl. Org. Waste Agric. 2016, 5, 301–309. [Google Scholar] [CrossRef]
- Abbasi, T.; Tauseef, S.M.; Abbasi, S.A. The inclined parallel stack continuously operable vermireactor. Off. J. Pat. Off. 2011, 22, 9571. [Google Scholar]
- Abbasi, S.A.; Banupriya, D.; Khamarang, C.; Abbasi, T. Initiatives and options for utilizing the dreaded weeds lantana (Lantana camara), parthenium (Parthenium hysterophorus) and salvinia (Salvinia molesta). Int. J. Eng. Sci. Res. 2018, 6, 95–145. [Google Scholar]
- Tauseef, S.M.; Abbasi, T.; Banupriya, D.; Vaishnavi, V.; Abbasi, S.A. HEVSPAR: A novel vermireactor system for treating paper waste. Off. J. Pat. Off. 2013, 24, 12726. [Google Scholar]
- Tauseef, S.M.; Abbasi, T.; Banupriya, G.; Banupriya, D.; Abbasi, S.A. A new machine for clean and rapid separation of vermicast, earthworms, and undigested substrate in vermicomposting systems. Indian J. Environ. Health 2014, 56, 485–488. [Google Scholar]
- Hussain, N.; Tabassum-Abbasi Abbasi, T.; Abbasi, S.A. A Comparative study of the fertilizer-cum-pesticide effect of vermicomposts derived from cowdung and the toxic weed lantana (Lantana camara). Agriculture 2021, 11, 1263. [Google Scholar] [CrossRef]
- Tauseef, S.M.; Tabassum-Abbasi; Patnaik, P.; Abbasi, T.; Abbasi, S.A. A novel high-rate vermicomposting machine for downstream processing of biorefinery waste and other forms of organic solid waste. Biomass Convers. Biorefin. 2021. [Google Scholar] [CrossRef]
- Nayeem-Shah, M.; Gajalakshmi, S.; Abbasi, S.A. Direct, rapid and sustainable vermicomposting of the leaf litter of neem (Azadirachta indica). Appl. Biochem. Biotechnol. 2015, 2, 792–801. [Google Scholar] [CrossRef]
- Carter, M.R.; Gregorich, E.G. (Eds.) Soil Sampling and Methods of Analysis, 2nd ed.; CRC Press, Taylor & Francis Group: Boca Raton, FL, USA, 2008; p. 1224. [Google Scholar]
- Bashour, I.I.; Sayegh, A.H. Methods of Analysis for Soils of Arid and Semi-Arid Regions; FAO: Rome, Italy, 2007. [Google Scholar]
- Heanes, D.L. Determination of total organic-C in soils by an improved chromic acid digestion and spectrophotometric procedure. Commun. Soil Sci. Plant Anal. 1984, 15, 1191–1213. [Google Scholar] [CrossRef]
- Kandeler, E. Bestimung von Gesamtstickstoffnachkjeldahl. In Bodenbiologische Arbeitsmethoden; Schinner, F., Kandeler, E., Ohlinger, R., Margesin, R., Eds.; Springer: Berlin/Heidelberg, Germany, 1993; pp. 346–366. [Google Scholar]
- Jones, J.B. Laboratory Guide for Conducting Soil Tests and Plant Analysis; CRC Press LLC: New York, NY, USA, 2001. [Google Scholar]
- Mehlich, A. Mehlich 3 soil test extractant: A modification of Mehlich 2 extractant. Commun. Soil Sci. Plant Anal. 1984, 15, 1409–1416. [Google Scholar] [CrossRef]
- Knudsen, D.; Beegle, D. Recommended Chemical Soil Test Procedures for the North Central Region: # 6. In Recommended Phosphorus Tests; North Central Regional Publication: Kansas City, KS, USA, 1998; Volume 221. [Google Scholar]
- Edwards, C.A.; Subler, S.; Arancon, N.Q. Vermiculture Technology—Earthworms, Organic Wastes and Environmental Management; CRC Press: Boca Raton, FL, USA, 2011. [Google Scholar]
- Ndegwa, P.M.; Thompson, S.A.; Das, K.C. Effects of stocking density and feeding rate on vermicomposting of biosolids. Bioresour. Technol. 2000, 71, 5–12. [Google Scholar] [CrossRef]
- Deka, H.; Deka, S.; Baruah, C.K.; Das, J.; Hoque, S.; Sarma, H.; Sarma, N.S. Vermicomposting potentiality of Perionyx excavatus for recycling of waste biomass of java citronella-An aromatic oil yielding plant. Bioresour. Technol. 2011, 102, 11212–11217. [Google Scholar] [CrossRef] [PubMed]
- Hussain, N.; Abbasi, T.; Abbasi, S.A. Vermiremediation of an invasive and pernicious weed salvinia (Salvinia molesta). Ecol. Eng. 2016, 91, 432–440. [Google Scholar] [CrossRef]
- Hussain, N.; Abbasi, T.; Abbasi, S.A. Transformation of toxic and allelopathic lantana into a benign organic fertilizer through vermicomposting. Spectrochim. Acta Part A Mol. Biomol. Spectrosc. 2016, 163, 162–169. [Google Scholar] [CrossRef]
- Hussain, N.; Abbasi, T.; Abbasi, S.A. Vermicomposting-mediated conversion of the toxic and allelopathic weed ipomoea into a potent fertilizer. Process Saf. Environ. Prot. 2016, 103, 97–106. [Google Scholar] [CrossRef]
- Patnaik, P.; Abbasi, T.; Abbasi, S.A. Vermicompost of the widespread and toxic xerophyte prosopis (Prosopis juliflora) is a benign organic fertilizer. J. Hazard. Mater. 2020, 399, 122864. [Google Scholar] [CrossRef]
- Hussain, N.; Abbasi, T.; Abbasi, S.A. Vermicomposting transforms allelopathic parthenium into a benign organic fertilizer. J. Environ. Manag. 2016, 180, 180–189. [Google Scholar] [CrossRef]
- Hussain, N.; Abbasi, T.; Abbasi, S.A. Transformation of the pernicious and toxic weed parthenium into an organic fertilizer by vermicomposting. Int. J. Environ. Stud. 2016, 73, 731–745. [Google Scholar] [CrossRef]
- Hussain, N.; Abbasi, T.; Abbasi, S.A. Generation of highly potent organic fertilizer from pernicious aquatic weed Salvinia molesta. Environ. Sci. Pollut. Res. 2018, 25, 4989–5002. [Google Scholar] [CrossRef]
- Hussain, N.; Abbasi, T.; Abbasi, S.A. Evaluating the fertilizer and pesticidal value of vermicompost generated from a toxic and allelopathic weed ipomoea. J. Saudi Soc. Agric. Sci. 2020, 19, 43–50. [Google Scholar] [CrossRef]
- Hussain, N.; Abbasi, S.A. Efficacy of the vermicomposts of different organic wastes as “clean” fertilizers: State-of-the-art. Sustainability 2018, 10, 1205. [Google Scholar] [CrossRef]
- Hussain, N.; Abbasi, T.; Abbasi, S.A. Toxic and allelopathic ipomoea yields plant-friendly organic fertilizer. J. Clean. Prod. 2017, 148, 826–835. [Google Scholar] [CrossRef]
- Hussain, N.; Abbasi, T.; Abbasi, S.A. Enhancement in the productivity of ladies finger (Abelmoschus esculentus) with concomitant pest control by the vermicompost of the weed salvinia (Salvinia molesta, Mitchell). Int. J. Recycl. Org. Waste Agric. 2017, 6, 335–343. [Google Scholar] [CrossRef]
- Hussain, N.; Abbasi, T.; Abbasi, S.A. Detoxification of parthenium (Parthenium hysterophorus) and its metamorphosis into an organic fertilizer and biopesticide. Bioresour. Bioprocess. 2017, 4, 26. [Google Scholar] [CrossRef]
- Patnaik, P.; Abbasi, T.; Abbasi, S.A. Fate of chemical constituents of prosopis leaves during the conversion of the leaves into an organic fertiliser. Int. J. Environ. Anal. Chem. 2021. [Google Scholar] [CrossRef]
- Dhanuja, C. Greenhouse Gas Emissions from Paddy Fields with Special Reference to the Effect of Vermicomposts and Synthetic Chemical Fertilizers. Ph.D. Thesis, Pondicherry University, Puducherry, India, 2019. pp. xiii+249. [Google Scholar]
- Dhanuja, C.; Saxena, D.K.; Abbasi, T.; Abbasi, S.A. Effect of application of vermicompost on methane emission and grain yield of Chinna Ponni paddy crop. Paddy Water Environ. 2019, 17, 797–802. [Google Scholar] [CrossRef]
- Dhanuja, C.; Abbasi, T.; Abbasi, S.A. Fertilization of paddy cultivation with vermicompost: A critical mini review. Org. Agric. 2020, 10, 309–325. [Google Scholar] [CrossRef]
- Tabassum-Abbasi; Abbasi, T.; Luithui, C.; Abbasi, S.A. Modelling methane and nitrous oxide emissions from rice paddy wetlands in India using Artificial Neural Networks (ANNs). Water 2019, 12, 751. [Google Scholar]
- Tabassum-Abbasi; Abbasi, T.; Luithui, C.; Abbasi, S.A. A Model to Forecast Methane Emissions from Tropical and Subtropical Reservoirs on the Basis of Artificial Neural Networks. Water 2020, 12, 145. [Google Scholar] [CrossRef]




| Manner of the Weed Utilization; Reactor Size (If Stated) | Earthworm Species Employed | Duration after Which the Vermicompost Was Harvested | Main Findings | Reference |
|---|---|---|---|---|
| Fly ash was mixed with parthenium in different ratios in square pots of 30 cm × 30 cm × 30 cm | Eisenia fetida | Two-three months | Fly ash mixed with parthenium appeared to be a good feed for earthworm | [13] |
| Parthenium and cowdung were mixed in 1:2 ratio | Perionyx excavatus | Two-four months | Weeds can be used as a resource for making vermicompost | [14] |
| Parthenium was mixed with cowdung in circular plastic containers of 10 kg capacity | E. fetida | Three-and-a-half 3½ months | Parthenium and cowdung in 1:3 ratio appeared optimum for the growth and reproduction of E. fetida | [15] |
| Ipomoea, cowdung and soil were mixed in earthen pots 5 kg capacity | Eudrilus eugeniae | Two months | Ipomoea can be converted into an ‘environment-friendly’ nutrient source | [16] |
| Parthenium was mixed with cowdung and loaded in cement tanks of 1 m depth | E. eugeniae | One-and-a-half months | Aromatics, aliphatics, alcohols, phenols, and polysaccharides are significantly decreased while nutritional levels are increased through vermicomposting | [17] |
| Cow dung, food industry sludge, water hyacinth and parthenium were mixed in a circular plastic tub loaded with 1 kg of the substrate. | E. fetida | Three months | Higher ratios of parthenium and water hyacinth resulted in higher vermiprocessing efficiency | [18] |
| Lantana was mixed with cowdung in different ratios. | E. fetida | Two months | Vermibeds with 40–60% of parthenium leaves showed better mineralization | [19] |
| Partheniumand cow dung mixtures were used incement tanks of 1 m depth. | E. eugeniae | The mixture was precomposted for 75 days and then harvesting of the vermicast was carried outonce in 15 days | Appropriate mixing of parthenium with cowdung is essential for the survival of the earthworms | [20] |
| Parthenium, farm wastes, and animal manure were mixed 10:1:1 in cement tanks of 1 m3 volume. | E. fetida | Two months | Addition of different farm and animal wastes helped to degrade parthenium | [21] |
| Parthenium was mixed with biogas plant slurry in circular plastic tubs. | E. fetida | Two months | Parthenium mixed with biogas plant slurry could be ‘profitably’ vermicomposted | [22] |
| Number of Days from the Start of the Reactor | Vermicast Generated per Worm (mg), per Day | Number of Juveniles Produced | Number of Cocoons Generated | ||||||
|---|---|---|---|---|---|---|---|---|---|
| Reactor I | Reactor II | Reactor III | Reactor I | Reactor II | Reactor III | Reactor I | Reactor II | Reactor III | |
| 30 | 12.4 | 32.1 | 26.3 | 0 | 1 | 4 | 7 | 5 | 4 |
| 50 | 32.2 | 27.0 | 28.2 | 0 | 0 | 2 | 8 | 12 | 14 |
| 70 | 19.2 | 16.3 | 33.3 | 6 | 6 | 9 | 5 | 7 | 8 |
| 90 | 21.9 | 21.0 | 20.5 | 6 | 2 | 4 | 12 | 14 | 9 |
| 110 | 48.4 | 43.2 | 41.0 | 4 | 7 | 6 | 11 | 9 | 4 |
| 130 | 39.2 | 27.0 | 29.5 | 2 | 7 | 3 | 14 | 11 | 12 |
| 150 | 20.9 | 22.9 | 18.6 | 6 | 10 | 4 | 4 | 6 | 7 |
| 172 | 31.0 | 38.1 | 36.3 | 4 | 2 | 0 | 6 | 3 | 8 |
| 192 | 26.9 | 25.7 | 28.5 | 4 | 7 | 6 | 6 | 3 | 4 |
| 212 | 37.9 | 34.8 | 36.0 | 6 | 7 | 8 | 4 | 5 | 4 |
| 232 | 42.5 | 34.4 | 38.5 | 7 | 10 | 9 | 10 | 16 | 12 |
| 254 | 28.6 | 27.5 | 35.9 | 4 | 2 | 3 | 7 | 9 | 6 |
| 276 | 32.2 | 38.2 | 29.0 | 3 | 5 | 6 | 2 | 7 | 3 |
| 296 | 52.3 | 62.1 | 44.2 | 4 | 6 | 2 | 5 | 3 | 7 |
| 317 | 50.8 | 52.2 | 48.1 | 3 | 5 | 2 | 6 | 4 | 3 |
| 337 | 50.7 | 48.8 | 51.0 | 0 | 2 | 2 | 0 | 3 | 4 |
| 360 | 49.2 | 42.1 | 44.4 | 0 | 2 | 1 | 2 | 1 | 2 |
| 380 | 52.5 | 43.3 | 53.2 | 2 | 1 | 2 | 0 | 2 | 1 |
| 400 | 41.2 | 31.0 | 41.0 | 3 | 2 | 4 | 2 | 1 | 3 |
| 422 | 40.9 | 50.3 | 37.0 | 3 | 1 | 2 | 2 | 5 | 4 |
| 444 | 32.5 | 45.9 | 51.2 | 3 | 2 | 2 | 4 | 1 | 3 |
| 464 | 34.1 | 37.7 | 33.3 | 3 | 2 | 0 | 2 | 1 | 2 |
| 485 | 47.2 | 45.6 | 54.4 | 3 | 4 | 3 | 2 | 5 | 4 |
| Average ± SD | 36.7 ± 11.7 | 36.8 ± 11.3 | 35.6 ± 12.1 | 3.3 ± 2.1 | 4.0 ± 3.0 | 3.7 ± 2.6 | 5.3 ± 3.8 | 5.8 ± 4.3 | 5.6 ± 3.5 |
| Overall average | 36.4 ± 11.5 | 3.7 ± 2.5 | 5.5 ± 3.8 | ||||||
| Average ± SD (of the last six month’s data) | 44.3 ± 7.5 | 44.1 ± 6.6 | 41.5 ± 15.8 | 2.2 ± 1.3 | 2.3 ±1.3 | 2.0 ± 1.1 | 2.2 ± 1.9 | 2.6 ± 1.7 | 2.9 ± 1.1 |
| Overall average ± SD (of the last six month’s data) | 43.3 ± 10.4 | 2.2 ±1.2 | 2.6 ± 1.6 | ||||||
| Number of Days from the Start of the Reactor | Vermicast Generated per Worm (mg), per Day | Number of Juveniles Produced | Number of Cocoons Generated | ||||||
|---|---|---|---|---|---|---|---|---|---|
| Reactor I | Reactor II | Reactor III | Reactor I | Reactor II | Reactor III | Reactor I | Reactor II | Reactor III | |
| 30 | 19.0 | 17.7 | 17.0 | 5 | 4 | 6 | 12 | 11 | 9 |
| 50 | 20.6 | 17.2 | 16.9 | 3 | 4 | 6 | 14 | 20 | 14 |
| 70 | 16.3 | 15.7 | 15.6 | 9 | 6 | 7 | 7 | 8 | 5 |
| 90 | 12.1 | 11.4 | 12.3 | 1 | 7 | 6 | 17 | 23 | 14 |
| 110 | 27.8 | 30.9 | 28.7 | 10 | 4 | 7 | 14 | 16 | 11 |
| 130 | 21.7 | 23.8 | 22.3 | 8 | 7 | 4 | 13 | 16 | 21 |
| 150 | 16.9 | 16.5 | 18.0 | 12 | 16 | 14 | 11 | 10 | 9 |
| 172 | 21.9 | 22.8 | 21.3 | 5 | 7 | 6 | 4 | 9 | 11 |
| 192 | 18.3 | 16.9 | 17.8 | 8 | 9 | 5 | 7 | 6 | 4 |
| 212 | 22.8 | 24.9 | 25.8 | 9 | 8 | 11 | 6 | 5 | 7 |
| 232 | 22.5 | 17.9 | 23.3 | 12 | 12 | 16 | 21 | 14 | 19 |
| 254 | 16.8 | 17.8 | 20.2 | 6 | 4 | 6 | 11 | 8 | 9 |
| 276 | 19.3 | 20.8 | 18.3 | 4 | 7 | 6 | 5 | 9 | 7 |
| 296 | 30.5 | 35.5 | 37.3 | 6 | 3 | 8 | 4 | 7 | 11 |
| 317 | 27.6 | 32.8 | 31.8 | 6 | 8 | 4 | 7 | 11 | 8 |
| 337 | 25.9 | 28.5 | 30.5 | 4 | 3 | 6 | 5 | 4 | 8 |
| 360 | 25.8 | 23.9 | 25.8 | 4 | 5 | 3 | 3 | 4 | 3 |
| 380 | 25.2 | 23.8 | 25.3 | 4 | 3 | 5 | 3 | 4 | 6 |
| 400 | 24.1 | 22.9 | 19.7 | 4 | 6 | 7 | 4 | 5 | 4 |
| 422 | 33.2 | 27.0 | 25.3 | 4 | 3 | 2 | 6 | 7 | 3 |
| 444 | 32.5 | 30.2 | 32.3 | 4 | 5 | 3 | 6 | 4 | 2 |
| 464 | 26.4 | 29.5 | 25.2 | 4 | 5 | 3 | 2 | 4 | 3 |
| 485 | 37.8 | 31.3 | 40.9 | 6 | 5 | 6 | 5 | 7 | 6 |
| Average ± SD | 23.7 ± 6.2 | 23.5 ± 6.4 | 24.0 ± 7.1 | 6 ± 2.9 | 6.1 ± 3.1 | 6.4 ±3.3 | 8.1 ± 5.0 | 9.2 ± 5.3 | 8.4 ± 5.0 |
| Overall average | 23.7 ± 6.5 | 6.2 ± 3.1 | 8.6 ± 5.1 | ||||||
| Average ± SD (of the last six month’s data) | 28.7 ± 4.1 | 27.8 ± 4.9 | 28.5 ± 13.1 | 4.4 ± 1.3 | 4.8 ± 1.7 | 4.3 ± 1.7 | 4.6 ± 2.1 | 5.6 ± 2.3 | 4.8 ± 2.3 |
| Overall average ± SD (of the last six month’s data) | 28.3 ± 4.7 | 4.5 ± 1.4 | 5.0 ± 2.1 | ||||||
| Number of Days from the Start of the Reactor | Vermicast Generated per Worm (mg), per Day | Number of Juveniles Produced | Number of Cocoons Generated | ||||||
|---|---|---|---|---|---|---|---|---|---|
| Reactor I | Reactor II | Reactor III | Reactor I | Reactor II | Reactor III | Reactor I | Reactor II | Reactor III | |
| 30 | 23.3 | 20.0 | 19.7 | 9 | 7 | 7 | 38 | 26 | 29 |
| 50 | 17.2 | 15.2 | 14.0 | 6 | 6 | 4 | 22 | 23 | 18 |
| 70 | 12.6 | 13.5 | 16.4 | 7 | 9 | 12 | 4 | 10 | 12 |
| 90 | 10.3 | 7.2 | 9.2 | 4 | 6 | 3 | 48 | 37 | 29 |
| 110 | 14.3 | 15.9 | 20.8 | 7 | 12 | 9 | 17 | 22 | 14 |
| 130 | 24.7 | 26.1 | 24.2 | 8 | 7 | 9 | 24 | 20 | 17 |
| 150 | 14.5 | 13.3 | 14.1 | 20 | 18 | 14 | 42 | 36 | 29 |
| 172 | 16.8 | 14.8 | 15.1 | 9 | 7 | 12 | 10 | 9 | 7 |
| 192 | 16.1 | 16.4 | 17.5 | 11 | 14 | 12 | 9 | 7 | 8 |
| 212 | 20.7 | 21.9 | 21.4 | 13 | 16 | 14 | 10 | 13 | 9 |
| 232 | 18.4 | 17.7 | 15.7 | 17 | 14 | 9 | 29 | 20 | 18 |
| 262 | 17.8 | 21.2 | 18.8 | 9 | 6 | 11 | 23 | 17 | 14 |
| 292 | 17.5 | 13.7 | 15.1 | 8 | 10 | 6 | 11 | 9 | 12 |
| 322 | 27.3 | 24.0 | 28.1 | 7 | 6 | 8 | 9 | 10 | 7 |
| 352 | 25.3 | 26.0 | 25.9 | 7 | 6 | 9 | 12 | 7 | 14 |
| 382 | 21.9 | 21.9 | 22.0 | 6 | 4 | 8 | 5 | 6 | 7 |
| 412 | 26.6 | 27.6 | 31.0 | 7 | 4 | 6 | 6 | 3 | 4 |
| 442 | 27.6 | 29.4 | 23.1 | 4 | 5 | 7 | 6 | 7 | 5 |
| 472 | 27.1 | 26.9 | 24.7 | 7 | 4 | 5 | 5 | 3 | 4 |
| Average ± SD | 20.0 ± 5.4 | 19.6 ± 6.1 | 19.8 ± 5.6 | 8.7 ± 4.1 | 8.5 ± 4.3 | 8.7 ± 3.2 | 17.4 ± 13.5 | 15.0 ± 10.3 | 13.5 ± 8.2 |
| Overall average ± SD | 19.8 ± 5.6 | 8.6 ± 3.8 | 15.3 ± 10.8 | ||||||
| Average ± SD (of the last six month’s data) | 24.8 ± 3.8 | 24.2 ± 5.2 | 24.3 ± 5.1 | 6.6 ± 1.3 | 5.6 ± 2.1 | 7.0 ± 1.4 | 7.7 ± 2.9 | 6.4 ± 2.7 | 7.6 ± 4.0 |
| Overall average ± SD (of the last six month’s data) | 24.4 ± 4.5 | 6.4 ± 1.7 | 7.2 ± 3.1 | ||||||
| Variables | Values in | |
|---|---|---|
| Lantana | Vermicast | |
| Total organic carbon (g/kg) | 453.6 ± 12.5 | 248.7 ± 5 |
| Total nitrogen (g/kg) | 16 ± 0.4 | 18 ± 1.1 |
| C:N ratio | 28:1 | 14:1 |
| Ammoniacal nitrogen (mg/kg) | - | 321 ± 5.4 |
| Nitrate nitrogen (g/kg) | 1.73 ± 0.05 | 14 ± 0.5 |
| Available sodium (g/kg) | 0.080 ± 0.010 | 0.260 ± 0.0051 |
| Available potassium (g/kg) | 1.023 ± 0.012 | 4.1 ± 0.2 |
| Available calcium (g/kg) | 1.08 ± 0.09 | 4.3 ± 0.23 |
| Available phosphorous (mg/kg) | 79.8 ±2.1 | 324.38 ± 20.1 |
| Total copper (mg/kg) | 21.27 ± 1.86 | 32.1 ± 7.05 |
| Available copper (mg/kg) | 3.33 ± 1.155 | 13.53 ± 0.73 |
| Total manganese (mg/kg) | 128.8 ± 9.73 | 163.9 ± 18.51 |
| Available manganese (mg/kg) | 10.3 ± 2.32 | 87.9 ± 0.3 |
| Total zinc (mg/kg) | 106.33 ± 8.42 | 123.1 ± 35.18 |
| Available zinc (mg/kg) | 18.33 ± 1.33 | 58.56 ± 0.58 |
| Number of Days from the Start of the Reactor | Vermicast Generated per Worm (mg), per Day | Number of Juveniles Produced | Number of Cocoons Generated | ||||||
|---|---|---|---|---|---|---|---|---|---|
| Reactor I | Reactor II | Reactor III | Reactor I | Reactor II | Reactor III | Reactor I | Reactor II | Reactor III | |
| 30 | 19.9 | 35.8 | 22.7 | 1 | 3 | 0 | 2 | 3 | 3 |
| 50 | 55.4 | 54.2 | 48.3 | 3 | 0 | 4 | 0 | 2 | 2 |
| 70 | 20.8 | 18.1 | 18.5 | 2 | 6 | 4 | 4 | 3 | 5 |
| 90 | 23.5 | 17.1 | 21.5 | 0 | 3 | 0 | 4 | 6 | 3 |
| 110 | 19.2 | 23.5 | 22.1 | 2 | 0 | 1 | 3 | 4 | 3 |
| 130 | 20.0 | 27.1 | 24.8 | 0 | 0 | 0 | 0 | 0 | 0 |
| 150 | 22.1 | 24.2 | 24.4 | 4 | 3 | 6 | 0 | 0 | 0 |
| 170 | 18.1 | 15.4 | 18.5 | 4 | 0 | 2 | 2 | 1 | 2 |
| 190 | 34.2 | 39.2 | 42.1 | 3 | 5 | 3 | 4 | 2 | 2 |
| 210 | 53.3 | 42.1 | 60.2 | 3 | 6 | 2 | 4 | 5 | 5 |
| 230 | 18.1 | 24.0 | 36.0 | 0 | 2 | 0 | 2 | 0 | 0 |
| 250 | 12.1 | 25.4 | 17.1 | 2 | 0 | 0 | 1 | 2 | 0 |
| 270 | 24.2 | 18.3 | 36.5 | 0 | 2 | 1 | 0 | 1 | 0 |
| 290 | 38.8 | 25.2 | 27.1 | 0 | 3 | 2 | 1 | 2 | 4 |
| 310 | 36.7 | 41.3 | 31.0 | 0 | 2 | 2 | 0 | 0 | 1 |
| 330 | 46.0 | 46.5 | 38.8 | 0 | 0 | 2 | 0 | 2 | 3 |
| 350 | 34.4 | 35.0 | 35.6 | 0 | 0 | 0 | 2 | 0 | 3 |
| 370 | 40.4 | 42.5 | 39.4 | 0 | 1 | 0 | 0 | 2 | 0 |
| 390 | 37.3 | 31.9 | 24.6 | 0 | 0 | 0 | 1 | 0 | 2 |
| 410 | 35.4 | 32.1 | 32.3 | 0 | 1 | 2 | 0 | 2 | 1 |
| 430 | 39.4 | 29.4 | 40.8 | 0 | 2 | 0 | 0 | 1 | 0 |
| 450 | 49.2 | 43.1 | 41.9 | 0 | 0 | 2 | 0 | 0 | 1 |
| 470 | 47.3 | 46.5 | 52.5 | 2 | 3 | 3 | 2 | 2 | 3 |
| Average ± SD | 32.4 ± 12.7 | 32.1 ± 10.9 | 32.9 ± 11.6 | 1.1 ± 1.5 | 1.8 ± 1.9 | 1.6 ± 1.6 | 1.4 ± 1.5 | 1.7 ± 1.7 | 1.9 ± 1.6 |
| Overall average ± SD | 32.5 ± 11.6 | 1.5 ± 1.7 | 1.7 ± 1.6 | ||||||
| Average ± SD (of the last six month’s data) | 40.5 ± 5.2 | 37.3 ± 7.6 | 36.4 ± 8.1 | 0.2 ± 0.6 | 1.2 ± 1.2 | 1.3 ± 1.2 | 0.6 ± 0.8 | 1.1 ± 1.0 | 1.8 ± 1.4 |
| Overall average ± SD (of the last six month’s data) | 38.1 ± 7.1 | 0.9 ± 1.1 | 1.2 ± 1.2 | ||||||
| Number of Days from the Start of the Reactor | Vermicast Generated per Worm (mg), per Day | Number of Juveniles Produced | Number of Cocoons Generated | ||||||
|---|---|---|---|---|---|---|---|---|---|
| Reactor I | Reactor II | Reactor III | Reactor I | Reactor II | Reactor III | Reactor I | Reactor II | Reactor III | |
| 30 | 10.0 | 9.7 | 16.7 | 5 | 6 | 6 | 5 | 4 | 7 |
| 50 | 13.7 | 7.3 | 17.7 | 6 | 7 | 5 | 4 | 6 | 3 |
| 70 | 9.3 | 9.8 | 11.8 | 1 | 7 | 2 | 6 | 4 | 2 |
| 90 | 6.7 | 7.7 | 5.8 | 6 | 4 | 2 | 4 | 3 | 3 |
| 110 | 10.0 | 15.9 | 11.2 | 4 | 6 | 4 | 7 | 9 | 3 |
| 130 | 10.8 | 9.3 | 9.8 | 0 | 0 | 0 | 0 | 0 | 0 |
| 150 | 19.3 | 17.7 | 18.0 | 11 | 10 | 7 | 4 | 8 | 5 |
| 170 | 9.2 | 9.4 | 9.3 | 5 | 4 | 6 | 4 | 3 | 2 |
| 190 | 22.3 | 21.4 | 23.8 | 6 | 4 | 7 | 4 | 5 | 3 |
| 210 | 34.7 | 34.0 | 33.8 | 5 | 3 | 7 | 4 | 3 | 6 |
| 230 | 23.8 | 17.8 | 21.5 | 2 | 3 | 2 | 1 | 0 | 2 |
| 250 | 12.8 | 15.4 | 18.1 | 5 | 4 | 1 | 2 | 0 | 3 |
| 270 | 16.5 | 21.3 | 18.7 | 2 | 3 | 0 | 0 | 2 | 1 |
| 290 | 20.8 | 14.4 | 21.3 | 4 | 7 | 3 | 3 | 4 | 5 |
| 310 | 20.3 | 19.3 | 15.8 | 3 | 4 | 2 | 3 | 1 | 4 |
| 330 | 22.6 | 24.8 | 20.3 | 2 | 4 | 4 | 3 | 5 | 2 |
| 350 | 20.9 | 18.3 | 17.8 | 2 | 1 | 4 | 3 | 2 | 4 |
| 370 | 29.4 | 25.6 | 18.2 | 0 | 3 | 2 | 2 | 4 | 1 |
| 390 | 23.1 | 27.2 | 16.7 | 2 | 1 | 0 | 3 | 2 | 2 |
| 410 | 19.8 | 26.1 | 12.9 | 4 | 0 | 3 | 2 | 3 | 0 |
| 430 | 30.2 | 28.2 | 22.3 | 2 | 3 | 0 | 2 | 4 | 2 |
| 450 | 28.0 | 26.7 | 26.3 | 3 | 4 | 2 | 2 | 3 | 1 |
| 470 | 31.3 | 28.4 | 29.2 | 4 | 5 | 4 | 4 | 3 | 2 |
| Average ± SD | 19.4 ± 8.0 | 18.9 ± 7.8 | 18.1 ± 6.5 | 3.7 ± 2.4 | 4.0 ± 2.4 | 3.2 ± 2.3 | 3.1 ± 1.7 | 3.4 ± 2.3 | 2.7 ± 1.8 |
| Overall average ± SD | 18.8 ± 7.4 | 3.6 ± 2.4 | 3.1 ± 1.9 | ||||||
| Average ± SD (of the last six month’s data) | 24.6 ± 4.6 | 23.9 ± 4.8 | 20.1 ± 4.9 | 2.6 ± 1.3 | 3.2 ± 2.1 | 2.4 ± 1.5 | 2.7 ± 0.7 | 3.1 ± 1.2 | 2.3 ± 1.6 |
| Overall average ± SD (of the last six month’s data) | 22.9 ± 5.0 | 2.7 ± 1.6 | 2.7 ± 1.2 | ||||||
| Number of Days from the Start of the Reactor | Vermicast Generated per Worm (mg), per Day | Number of Juveniles Produced | Number of Cocoons Generated | ||||||
|---|---|---|---|---|---|---|---|---|---|
| Reactor I | Reactor II | Reactor III | Reactor I | Reactor II | Reactor III | Reactor I | Reactor II | Reactor III | |
| 30 | 13.3 | 11.0 | 11.7 | 11 | 7 | 8 | 8 | 14 | 7 |
| 50 | 7.8 | 20.4 | 18.7 | 12 | 11 | 17 | 4 | 7 | 6 |
| 70 | 9.8 | 6.5 | 8.0 | 7 | 6 | 8 | 6 | 4 | 5 |
| 90 | 8.2 | 7.8 | 5.0 | 6 | 4 | 2 | 2 | 1 | 4 |
| 110 | 11.4 | 11.0 | 10.4 | 3 | 0 | 2 | 4 | 2 | 3 |
| 130 | 13.5 | 10.1 | 12.8 | 0 | 0 | 0 | 0 | 0 | 0 |
| 150 | 13.1 | 14.8 | 15.3 | 14 | 9 | 16 | 7 | 8 | 4 |
| 170 | 6.7 | 6.5 | 6.9 | 7 | 6 | 5 | 4 | 3 | 5 |
| 190 | 20.3 | 20.9 | 20.5 | 8 | 7 | 6 | 6 | 5 | 5 |
| 210 | 33.5 | 31.7 | 22.5 | 6 | 4 | 7 | 7 | 12 | 11 |
| 230 | 17.3 | 14.5 | 20.7 | 3 | 3 | 4 | 5 | 2 | 1 |
| 260 | 17.7 | 20.7 | 19.1 | 2 | 6 | 4 | 3 | 4 | 7 |
| 290 | 22.1 | 23.2 | 25.3 | 6 | 3 | 5 | 3 | 0 | 6 |
| 320 | 25.6 | 25.5 | 20.2 | 3 | 6 | 7 | 2 | 4 | 3 |
| 350 | 18.9 | 18.3 | 17.1 | 3 | 3 | 2 | 2 | 1 | 0 |
| 380 | 18.0 | 17.5 | 17.3 | 4 | 5 | 2 | 3 | 2 | 6 |
| 410 | 22.2 | 17.0 | 19.2 | 2 | 3 | 0 | 4 | 3 | 2 |
| 440 | 24.8 | 22.8 | 22.8 | 2 | 1 | 2 | 2 | 4 | 3 |
| 470 | 25.1 | 25.5 | 26.9 | 2 | 1 | 3 | 3 | 2 | 1 |
| 510 | 28.4 | 26.7 | 26.5 | 8 | 6 | 4 | 5 | 4 | 6 |
| Average ± SD | 17.9 ± 7.4 | 17.6 ± 7.2 | 17.3 ± 6.4 | 5.5 ± 3.8 | 4.6 ± 2.9 | 5.2 ± 4.5 | 4.0 ± 2.1 | 4.1 ± 3.7 | 4.3 ± 2.7 |
| Overall average ± SD | 17.6 ± 6.9 | 5.1 ± 3.8 | 4.1 ± 2.9 | ||||||
| Average ± SD (of the last six month’s data) | 23.3 ± 3.8 | 21.9 ± 4.2 | 21.4 ± 4.1 | 3.4 ± 2.1 | 3.6 ± 2.1 | 2.9 ± 2.2 | 3.0 ± 1.2 | 2.9 ± 1.2 | 3.0 ± 2.3 |
| Overall average ± SD (of the last six month’s data) | 22.2 ± 3.9 | 3.3 ± 2.1 | 3.0 ± 1.6 | ||||||
| Variables | Values in | |
|---|---|---|
| Parthenium | Vermicast | |
| Total organic carbon (g/kg) | 312 ± 7 | 234 ± 13 |
| Total nitrogen (g/kg) | 17 ± 0.2 | 20 ± 1.5 |
| C:N ratio | 18:1 | 12:1 |
| Ammoniacal nitrogen (mg/kg) | - | 262.5 ± 6.9 |
| Nitrate nitrogen (g/kg) | 1.31 ± 0.082 | 16.2 ± 1.4 |
| Available sodium (g/kg) | 0.145 ± 0.012 | 0.326 ± 0.0013 |
| Available potassium (g/kg) | 1.142 ± 0.015 | 2.5 ± 0.1 |
| Available calcium (g/kg) | 1.15 ± 0.11 | 3.2 ± 0.6 |
| Available phosphorous (mg/kg) | 116.4 ± 3.1 | 402.7 ± 5.6 |
| Total copper (mg/kg) | 24.9 ± 1.47 | 35.6 ± 11.05 |
| Available copper (mg/kg) | 0.37 ± 0.152 | 7.8 ± 0.23 |
| Total manganese (mg/kg) | 70.33 ± 16.62 | 88.6 ± 26.81 |
| Available manganese (mg/kg) | 7 ± 2.2 | 69.9 ± 1.2 |
| Total zinc (mg/kg) | 148.27 ± 9.32 | 173.2 ± 6.29 |
| Available zinc (mg/kg) | 3.9 ± 0.503 | 44.96 ± 2.27 |
| Number of Days from the Start of the Reactor | Vermicast Generated per Worm (mg), per Day | Number of Juveniles Produced | Number of Cocoons Generated | ||||||
|---|---|---|---|---|---|---|---|---|---|
| Reactor I | Reactor II | Reactor III | Reactor I | Reactor II | Reactor III | Reactor I | Reactor II | Reactor III | |
| 30 | 44.8 | 41.4 | 32.6 | 7 | 7 | 6 | 3 | 4 | 1 |
| 50 | 19.8 | 24.2 | 22.7 | 7 | 4 | 3 | 6 | 12 | 11 |
| 70 | 17.4 | 21.4 | 20.0 | 5 | 4 | 7 | 2 | 3 | 2 |
| 90 | 39.1 | 34.9 | 40.0 | 2 | 4 | 4 | 3 | 6 | 2 |
| 110 | 29.4 | 35.0 | 26.0 | 4 | 3 | 6 | 2 | 4 | 6 |
| 130 | 31.3 | 26.5 | 29.0 | 5 | 4 | 6 | 4 | 3 | 3 |
| 150 | 45.4 | 40.6 | 36.0 | 6 | 4 | 6 | 5 | 7 | 7 |
| 173 | 28.3 | 21.5 | 36.3 | 5 | 3 | 0 | 3 | 4 | 2 |
| 193 | 32.9 | 29.0 | 40.1 | 2 | 1 | 3 | 4 | 0 | 6 |
| 213 | 24.3 | 29.3 | 35.0 | 2 | 0 | 3 | 1 | 3 | 2 |
| 233 | 31.0 | 38.2 | 33.3 | 6 | 4 | 7 | 2 | 1 | 3 |
| 253 | 22.0 | 27.3 | 27.0 | 4 | 3 | 6 | 2 | 0 | 3 |
| 273 | 19.0 | 23.8 | 20.0 | 2 | 1 | 4 | 1 | 0 | 2 |
| 293 | 20.9 | 21.4 | 21.4 | 3 | 2 | 4 | 2 | 0 | 3 |
| 313 | 29.4 | 28.3 | 21.1 | 3 | 1 | 2 | 2 | 4 | 1 |
| 333 | 35.1 | 23.2 | 33.2 | 2 | 1 | 3 | 1 | 4 | 2 |
| 353 | 44.9 | 42.9 | 34.9 | 2 | 1 | 2 | 0 | 4 | 3 |
| 373 | 44.5 | 39.5 | 41.7 | 2 | 1 | 4 | 2 | 3 | 2 |
| 393 | 43.6 | 41.5 | 35.3 | 2 | 1 | 2 | 1 | 2 | 3 |
| 413 | 47.1 | 44.8 | 46.5 | 2 | 1 | 3 | 2 | 3 | 4 |
| Average ± SD | 32.5 ± 10.1 | 31.7 ± 8.2 | 31.6 ± 7.9 | 3.7 ± 1.8 | 2.5 ± 1.8 | 4.1 ± 1.9 | 2.4 ± 1.5 | 3.4 ± 2.8 | 3.4 ± 2.4 |
| Overall average ± SD | 32.0 ± 8.6 | 3.4 ± 1.9 | 3.1 ± 2.3 | ||||||
| Average ± SD (of the last six month’s data) | 33.8 ± 10.9 | 33.1 ± 9.1 | 31.4 ± 9.0 | 2.8 ± 1.3 | 1.6 ± 1.1 | 3.7 ± 1.7 | 1.5 ± 0.7 | 2.1 ± 1.7 | 2.6 ± 0.8 |
| Overall average ± SD (of the last six month’s data) | 32.8 ± 9.4 | 2.7 ± 1.6 | 2.1 ± 1.2 | ||||||
| Number of Days from the Start of the Reactor | Vermicast Generated per Worm (mg), per Day | Number of Juveniles Produced | Number of Cocoons Generated | ||||||
|---|---|---|---|---|---|---|---|---|---|
| Reactor I | Reactor II | Reactor III | Reactor I | Reactor II | Reactor III | Reactor I | Reactor II | Reactor III | |
| 30 | 19.4 | 18.8 | 16.3 | 10 | 12 | 9 | 6 | 7 | 10 |
| 50 | 11.5 | 9.9 | 10.6 | 12 | 10 | 9 | 14 | 17 | 22 |
| 70 | 13.8 | 13.6 | 15.0 | 7 | 5 | 9 | 3 | 4 | 8 |
| 90 | 24.9 | 29.0 | 29.7 | 5 | 4 | 7 | 3 | 6 | 5 |
| 110 | 24.5 | 21.3 | 22.7 | 6 | 7 | 5 | 5 | 9 | 7 |
| 130 | 18.6 | 20.0 | 22.3 | 7 | 8 | 7 | 5 | 6 | 4 |
| 150 | 26.6 | 30.4 | 27.7 | 10 | 8 | 14 | 8 | 9 | 11 |
| 173 | 31.8 | 20.5 | 28.4 | 7 | 6 | 5 | 6 | 4 | 3 |
| 193 | 23.5 | 27.8 | 26.9 | 4 | 6 | 2 | 5 | 7 | 3 |
| 213 | 23.3 | 29.7 | 24.2 | 3 | 0 | 5 | 4 | 2 | 6 |
| 233 | 29.6 | 31.3 | 33.9 | 11 | 7 | 9 | 7 | 5 | 4 |
| 253 | 20.9 | 20.5 | 23.2 | 7 | 6 | 5 | 4 | 3 | 7 |
| 273 | 16.2 | 19.0 | 16.5 | 4 | 6 | 3 | 3 | 4 | 5 |
| 293 | 13.0 | 13.2 | 15.6 | 5 | 6 | 4 | 3 | 5 | 4 |
| 313 | 13.0 | 14.1 | 14.0 | 3 | 6 | 5 | 4 | 3 | 6 |
| 333 | 16.0 | 14.4 | 14.8 | 4 | 3 | 3 | 4 | 5 | 2 |
| 353 | 20.4 | 22.1 | 31.9 | 3 | 6 | 4 | 4 | 5 | 3 |
| 373 | 20.4 | 22.6 | 26.5 | 3 | 6 | 3 | 6 | 4 | 5 |
| 393 | 19.7 | 19.8 | 19.7 | 3 | 4 | 5 | 5 | 4 | 6 |
| 413 | 22.5 | 23.0 | 23.5 | 3 | 4 | 6 | 6 | 5 | 7 |
| Average ± SD | 20.5 ± 5.6 | 21.1 ± 6.2 | 22.2 ± 6.6 | 5.9 ± 2.9 | 6.0 ± 2.5 | 6.0 ± 2.9 | 5.3 ± 2.5 | 5.7 ± 3.2 | 6.4 ± 4.3 |
| Overall average ± SD | 21.2 ± 6.1 | 5.9 ± 2.7 | 5.8 ± 3.4 | ||||||
| Average ± SD (of the last six month’s data) | 19.2 ± 5.0 | 20.0 ± 5.4 | 22.0 ± 7.1 | 4.6 ± 2.6 | 5.4 ± 1.3 | 4.7 ± 1.8 | 4.6 ± 1.3 | 4.3 ± 0.8 | 4.9 ± 1.7 |
| Overall average ± SD (of the last six month’s data) | 20.4 ± 5.8 | 4.9 ± 1.9 | 4.6 ± 1.3 | ||||||
| Number of Days from the Start of the Reactor | Vermicast Generated per Worm (mg), per Day | Number of Juveniles Produced | Number of Cocoons Generated | ||||||
|---|---|---|---|---|---|---|---|---|---|
| Reactor I | Reactor II | Reactor III | Reactor I | Reactor II | Reactor III | Reactor I | Reactor II | Reactor III | |
| 30 | 9.9 | 11.8 | 10.6 | 14 | 16 | 11 | 12 | 14 | 16 |
| 50 | 11.8 | 11.0 | 11.2 | 17 | 14 | 21 | 12 | 16 | 7 |
| 70 | 14.9 | 12.4 | 12.3 | 9 | 7 | 8 | 12 | 14 | 11 |
| 90 | 27.0 | 23.9 | 23.2 | 8 | 13 | 11 | 12 | 7 | 9 |
| 110 | 21.7 | 20.2 | 22.3 | 8 | 6 | 9 | 9 | 11 | 10 |
| 130 | 18.2 | 21.2 | 17.4 | 12 | 14 | 12 | 10 | 11 | 9 |
| 150 | 23.9 | 24.8 | 20.6 | 17 | 12 | 9 | 12 | 11 | 8 |
| 173 | 33.1 | 28.0 | 25.9 | 9 | 12 | 16 | 11 | 7 | 5 |
| 203 | 19.5 | 20.6 | 22.3 | 7 | 5 | 4 | 2 | 6 | 8 |
| 233 | 20.5 | 20.5 | 18.5 | 6 | 4 | 7 | 2 | 3 | 5 |
| 265 | 19.3 | 17.0 | 19.3 | 4 | 6 | 5 | 3 | 2 | 4 |
| 295 | 15.5 | 17.7 | 15.5 | 4 | 6 | 5 | 3 | 4 | 7 |
| 325 | 14.2 | 16.3 | 15.2 | 5 | 4 | 7 | 6 | 3 | 4 |
| 355 | 16.7 | 16.8 | 13.9 | 5 | 4 | 6 | 6 | 7 | 6 |
| 388 | 17.3 | 11.0 | 17.5 | 5 | 6 | 4 | 4 | 6 | 7 |
| 418 | 23.1 | 25.2 | 24.9 | 6 | 8 | 5 | 7 | 4 | 6 |
| Average ± SD | 19.2 ± 5.8 | 18.7 ± 5.3 | 18.2 ± 4.8 | 8.5 ± 4.3 | 8.6 ± 4.2 | 8.8 ± 4.7 | 7.7 ± 4.0 | 7.9 ± 4.4 | 7.6 ± 3.0 |
| Overall average ± SD | 18.7 ± 5.2 | 8.6 ± 4.3 | 7.7 ± 3.8 | ||||||
| Average ± SD (of the last six month’s data) | 18.1 ± 3.1 | 17.8 ± 4.3 | 17.8 ± 3.7 | 5.0 ± 0.8 | 5.4 ± 1.5 | 5.6 ± 1.1 | 4.4 ± 1.9 | 4.1 ± 1.8 | 5.6 ± 1.3 |
| Overall average ± SD (of the last six month’s data) | 17.9 ± 3.5 | 5.3 ± 1.2 | 4.7 ± 1.7 | ||||||
| Variables | Values in | |
|---|---|---|
| Ipomoea | Vermicast | |
| Total organic carbon (g/kg) | 438 ± 15.3 | 233.3 ± 16.6 |
| Total nitrogen (g/kg) | 21 ± 0.7 | 23 ± 0.8 |
| C:N ratio | 21:1 | 10:1 |
| Ammoniacal nitrogen (mg/kg) | - | 237 ± 8.3 |
| Nitrate nitrogen (g/kg) | 1.8 ± 0.06 | 15.4 ± 1.5 |
| Available sodium (g/kg) | 0.072 ± 0.006 | 0.246 ± 0.0042 |
| Available potassium (g/kg) | 1.048 ± 0.012 | 3.6 ± 0.1 |
| Available calcium (g/kg) | 1.24 ± 0.18 | 4.5 ± 0.1 |
| Available phosphorous (mg/kg) | 89.9 ± 4.7 | 478 ± 6.2 |
| Total copper (mg/kg) | 40.2 ± 4.65 | 53 ± 6.08 |
| Available copper (mg/kg) | 1.33 ± 0.99 | 18.73 ± 0.37 |
| Total manganese (mg/kg) | 142.67 ± 7.02 | 183.2 ± 17.75 |
| Available manganese (mg/kg) | 17.3 ± 1.86 | 91.2 ± 1.7 |
| Total zinc (mg/kg) | 152.2 ± 7.53 | 181.1 ± 17.32 |
| Available zinc (mg/kg) | 13.8 ± 1.6 | 88.3 ± 1.4 |
Publisher’s Note: MDPI stays neutral with regard to jurisdictional claims in published maps and institutional affiliations. |
© 2022 by the authors. Licensee MDPI, Basel, Switzerland. This article is an open access article distributed under the terms and conditions of the Creative Commons Attribution (CC BY) license (https://creativecommons.org/licenses/by/4.0/).
Share and Cite
Banupriya, D.; Tabassum-Abbasi; Abbasi, T.; Abbasi, S.A. Rapid, Clean, and Sustainable Bioprocessing of Toxic Weeds into Benign Organic Fertilizer. Agriculture 2022, 12, 1511. https://doi.org/10.3390/agriculture12101511
Banupriya D, Tabassum-Abbasi, Abbasi T, Abbasi SA. Rapid, Clean, and Sustainable Bioprocessing of Toxic Weeds into Benign Organic Fertilizer. Agriculture. 2022; 12(10):1511. https://doi.org/10.3390/agriculture12101511
Chicago/Turabian StyleBanupriya, Dhandapani, Tabassum-Abbasi, Tasneem Abbasi, and Shahid Abbas Abbasi. 2022. "Rapid, Clean, and Sustainable Bioprocessing of Toxic Weeds into Benign Organic Fertilizer" Agriculture 12, no. 10: 1511. https://doi.org/10.3390/agriculture12101511
APA StyleBanupriya, D., Tabassum-Abbasi, Abbasi, T., & Abbasi, S. A. (2022). Rapid, Clean, and Sustainable Bioprocessing of Toxic Weeds into Benign Organic Fertilizer. Agriculture, 12(10), 1511. https://doi.org/10.3390/agriculture12101511

