Computational-Fluid-Dynamics-Based Optimization of Wavy-Slit Fin Geometry in Indoor Units of Air Conditioners Using Low-Global-Warming-Potential Refrigerants
Abstract
1. Introduction
2. Materials and Methods
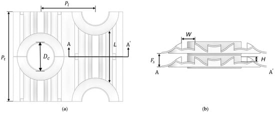
2.1. Modeling and CFD Methodology
- -
- Continuity equation
- -
- Momentum equation
- -
- Energy equation
2.2. Objective Function
2.3. Validation of Numerical Analysis
2.4. Optimization Process Based on the RSM
Regression and Objective Function Optimization
3. Results and Discussion
3.1. Optimization of Geometric Variables Using the RSM
3.2. CFD Analysis of Flow and Thermal Fields in Optimized Geometries
3.3. Performance Based on Geometry Optimization Using Objective Functions
3.3.1. j- and f-Factor
3.3.2. Performance Normalized to the Reference Shape
4. Conclusions
Author Contributions
Funding
Institutional Review Board Statement
Informed Consent Statement
Data Availability Statement
Conflicts of Interest
Nomenclature
| Minimum flow cross-sectional area [m2] | |
| Area of heat exchanger [m2] | |
| Specific heat at constant pressure [kJ/(kg·K)] | |
| Collar outer diameter [mm] | |
| Fin pitch [mm] | |
| f | Friction factor |
| h | Heat transfer coefficient [W/(m2·K)] |
| j | Colburn j-factor |
| L | Slit length [mm] |
| Minimum area flow rate [kg/s] | |
| P | Total pumping power per row [W/mm] |
| Longitudinal tube pitch [mm] | |
| Transverse tube pitch [mm] | |
| Q | Total heat duty per row [W/mm] |
| Re | Reynolds number |
| St | Stanton number |
| Maximum velocity [m/s] | |
| W | Slit width [mm] |
| H | Slit height [mm] |
| ΔP | Pressure drop [Pa] |
| ΔT | Temperature difference [K] |
| Greek Symbols | |
| Viscosity [kg/(m·s)] | |
| Density [kg/m3] |
References
- Masson-Delmotte, V.; Zhai, P.; Pirani, A.; Connors, S.L.; Péan, C.; Berger, S.; Caud, N.; Chen, Y.; Goldfarb, L.; Gomis, M.I. Climate Change 2021: The Physical Science Basis; Contribution of Working Group I to the Sixth Assessment Report of the Intergovernmental Panel on Climate Change; Cambridge University Press: Cambridge, UK, 2021. [Google Scholar]
- Coulomb, D.; Dupont, J.; Morlet, V. The Impact of the Refrigeration Sector on Climate Change-35 Informatory Note on Refrigeration Technologies; IIF-IIR: Paris, France, 2017. [Google Scholar]
- Beshr, M.; Aute, V.; Abdelaziz, O.; Fricke, B.; Radermacher, R. Potential emission savings from refrigeration and air conditioning systems by using low GWP refrigerants. Int. J. Life Cycle Assess. 2016, 22, 675. [Google Scholar] [CrossRef]
- Khaleel, M.H.; Hassan, M.S.; Al-Oran, O.; Mohammed, S.O.; Najm, S.M. Thermodynamic Evaluation of Low-GWP and Environmentally Friendly Alternative Refrigerants; Canadian Center of Science and Education: Toronto, ON, Canada, 2024; Volume 12. [Google Scholar]
- Wang, J.; Gullo, P.; Ramezani, H. Review on the trend of ultra-low-GWP working fluids for small-capacity vapour-compression systems. Sustain. Energy Technol. Assess. 2024, 66, 103803. [Google Scholar] [CrossRef]
- Yao, Y.; Zhang, Z.; Hu, X. Experimental contrast on the cooling performance of direct evaporative all fresh air handling units with R32 and R410A. Procedia Eng. 2017, 205, 802–809. [Google Scholar] [CrossRef]
- Saleem, S.; Bradshaw, C.R.; Bach, C.K. Development of design guidelines for fin-and-tube heat exchangers with low-GWP refrigerants. Int. J. Refrig. 2022, 143, 166–181. [Google Scholar] [CrossRef]
- Wen, M.Y.; Ho, C.Y. Heat-transfer enhancement in fin-and-tube heat exchanger with improved fin design. Appl. Therm. Eng. 2009, 29, 1050–1057. [Google Scholar] [CrossRef]
- Sadeghianjahromi, A.; Wang, C. Heat transfer enhancement in fin-and-tube heat exchangers—A review on different mechanisms. Renew. Sustain. Energy Rev. 2020, 137, 110470. [Google Scholar] [CrossRef]
- Shah, R.K.; Metzger, D.E.; London, A.L.; Kraus, A.D. Compact Heat Exchangers; Hemisphere Pub. Corp: New York, NY, USA, 1990. [Google Scholar]
- Yun, J.Y.; Lee, K.S. Investigation of heat transfer characteristics on various kinds of fin-and-tube heat exchangers with interrupted surfaces. Int. J. Heat Mass Transf. 1999, 42, 2375–2385. [Google Scholar] [CrossRef]
- Youn, B.; Kim, N.H. An experimental investigation on the airside performance of fin-and-tube heat exchangers having sinusoidal wave fins. Heat Mass Transf. 2006, 43, 1249–1262. [Google Scholar] [CrossRef]
- Yoon, B.; Gil, Y.H.; Park, H.Y.; Kim, Y.S. Experimental study of air side pressure drop and heat transfer characteristics of wave and wave-slit fin-tube heat exchangers. Korean J. Air-Cond. Refrig. Eng. 1998, 10, 589–599. [Google Scholar]
- Mohanta, L.; Joardar, A.; Esformes, J.L.; Videto, B.; Sienel, T.H. Numerical analysis of fluid flow and heat transfer in wavy and hybrid-slit-wavy fin-and-tube heat exchangers. Sci. Technol. Built Environ. 2019, 25, 767. [Google Scholar] [CrossRef]
- Aslam Bhutta, M.M.; Hayat, N.; Bashir, M.H.; Khan, A.R.; Ahmad, K.N.; Khan, S. CFD applications in various heat exchangers design: A review. Appl. Therm. Eng. 2012, 32, 1–12. [Google Scholar] [CrossRef]
- Liu, X.; Wang, M.; Liu, H.; Chen, W.; Qian, S. Numerical analysis on heat transfer enhancement of wavy fin-tube heat exchangers for air-conditioning applications. Appl. Therm. Eng. 2021, 199, 117597. [Google Scholar] [CrossRef]
- Li, W.; Khan, T.A.; Tang, W.; Minkowycz, W.J. Numerical study and optimization of corrugation height and angle of attack of vortex generator in the wavy fin-and-tube heat exchanger. J. Heat Transf. 2018, 140, 111801. [Google Scholar] [CrossRef]
- Sadeghianjahromi, A.; Kheradmand, S.; Nemati, H.; Wang, C. Heat transfer enhancement of wavy fin-and-tube heat exchangers via innovative compound designs. Int. J. Therm. Sci. 2020, 149, 106211. [Google Scholar] [CrossRef]
- Lee, S.; Ahn, J. The air-side thermal hydraulic performance analysis of slit wavy fin-tube heat exchanger with small diameter using CFD. KSME-B 2022, 46, 603. [Google Scholar] [CrossRef]
- Park, S.; Kang, H.; Ahn, J. Air-side performance analysis by geometric parameters of hybrid-wave-slit fin using CFD. KSME-B 2024, 48, 361. [Google Scholar] [CrossRef]
- Khuri, A.I.; Cornell, J.A. Response Surfaces: Designs and Analyses; CRC press: Boca Raton, FL, USA, 2018. [Google Scholar]
- Myers, R.H.; Montgomery, D.C.; Anderson-Cook, C.M. Response Surface Methodology: Process and Product Optimization Using Designed Experiments; John Wiley & Sons: Hoboken, NJ, USA, 2016. [Google Scholar]
- Soland, J.G.; Mack, M.G., Jr.; Rohsenow, W.M. Performance ranking of plate-fin heat exchange surfaces. J. Heat Transf. 1978, 99, 110. [Google Scholar]
- Webb, R.L.; Kim, N. Principles of Enhanced Heat Transfer; Taylor & Francis: Boca Raton, FY, USA, 2005. [Google Scholar]
- Jeong, C.H.; Kim, H.R.; Ha, M.Y.; Son, S.W.; Lee, J.S.; Kim, P.Y. Numerical investigation of thermal enhancement of plate fin type heat exchanger with creases and holes in construction machinery. Appl. Therm. Eng. 2013, 62, 529. [Google Scholar] [CrossRef]
- Lei, Y.; He, Y.; Tian, L.; Chu, P.; Tao, W. Hydrodynamics and heat transfer characteristics of a novel heat exchanger with delta-winglet vortex generators. Chem. Eng. Sci. 2009, 65, 1551. [Google Scholar] [CrossRef]
- Ansys, I. Ansys Fluent Theory Guide. Ansys Inc. USA 2011, 15317, 724–746. [Google Scholar]
- Wilcox, D.C. Turbulence Modeling for CFD; DCW Industries: La Canada, CA, USA, 1998. [Google Scholar]
- Florian, R.M. Zonal two-equation k-ω turbulence models for aerodynamic flows. In Proceedings of the 24th AIAA Fluid Dynamic Conference, Orlando, FL, USA, 6–9 July 1993. [Google Scholar]
- Harrison, X.A.; Donaldson, L.; Correa-Cano, M.E.; Evans, J.; Fisher, D.N.; Goodwin, C.E.D.; Robinson, B.S.; Hodgson, D.J.; Inger, R. A brief introduction to mixed effects modelling and multi-model inference in ecology. PeerJ 2018, 6, e4794. [Google Scholar] [CrossRef]














| Design Parameters | Range (mm) |
|---|---|
| Fin pitch () | 1.25 |
| Transverse tube pitch () | 16.7 |
| Longitudinal tube pitch () | 10.3 |
| Collar outer diameter () | 5.28 |
| Slit length (L) | 7.9~13.6 |
| Slit width (W) | 0.8~1.8 |
| Slit height (H) | 0.3125~0.8 |
| Case Number | L (mm) | W (mm) | H (mm) | ΔT (K) | ΔP (Pa) |
|---|---|---|---|---|---|
| 1 | 7.9 | 0.8 | 0.3125 | 17.3406 | 27.29 |
| 2 | 13.6 | 0.8 | 0.3125 | 15.5593 | 35.63 |
| 3 | 7.9 | 1.8 | 0.3125 | 16.894 | 22.71 |
| 4 | 13.6 | 1.8 | 0.3125 | 15.1377 | 25.94 |
| 5 | 7.9 | 0.8 | 0.8 | 18.38 | 31.53 |
| 6 | 13.6 | 0.8 | 0.8 | 17.2649 | 40.6 |
| 7 | 7.9 | 1.8 | 0.8 | 18.7918 | 32.23 |
| 8 | 13.6 | 1.8 | 0.8 | 18.4825 | 43.44 |
| 9 | 7.9 | 1.3 | 0.55625 | 18.6005 | 28.72 |
| 10 | 13.6 | 1.3 | 0.55625 | 18.048 | 37.51 |
| 11 | 10.75 | 0.8 | 0.55625 | 19.3582 | 38.69 |
| 12 | 10.75 | 1.8 | 0.55625 | 19.3201 | 35.66 |
| 13 | 10.75 | 1.3 | 0.3125 | 18.3369 | 32.74 |
| 14 | 10.75 | 1.3 | 0.8 | 19.4143 | 38.99 |
| 15 | 10.75 | 1.3 | 0.55625 | 19.369 | 37.05 |
| Configuration | L (mm) | W (mm) | H (mm) |
|---|---|---|---|
| Reference | 9.3 | 0.63 | 0.625 |
| Reduced pumping power | 8.9675 | 0.86061 | 0.607955 |
| Gv | 10.203 | 1.8 | 0.7261 |
Disclaimer/Publisher’s Note: The statements, opinions and data contained in all publications are solely those of the individual author(s) and contributor(s) and not of MDPI and/or the editor(s). MDPI and/or the editor(s) disclaim responsibility for any injury to people or property resulting from any ideas, methods, instructions or products referred to in the content. |
© 2025 by the authors. Licensee MDPI, Basel, Switzerland. This article is an open access article distributed under the terms and conditions of the Creative Commons Attribution (CC BY) license (https://creativecommons.org/licenses/by/4.0/).
Share and Cite
Roh, J.; Kim, Y.; Ahn, J. Computational-Fluid-Dynamics-Based Optimization of Wavy-Slit Fin Geometry in Indoor Units of Air Conditioners Using Low-Global-Warming-Potential Refrigerants. Appl. Sci. 2025, 15, 1196. https://doi.org/10.3390/app15031196
Roh J, Kim Y, Ahn J. Computational-Fluid-Dynamics-Based Optimization of Wavy-Slit Fin Geometry in Indoor Units of Air Conditioners Using Low-Global-Warming-Potential Refrigerants. Applied Sciences. 2025; 15(3):1196. https://doi.org/10.3390/app15031196
Chicago/Turabian StyleRoh, Jaewon, Youngseo Kim, and Joon Ahn. 2025. "Computational-Fluid-Dynamics-Based Optimization of Wavy-Slit Fin Geometry in Indoor Units of Air Conditioners Using Low-Global-Warming-Potential Refrigerants" Applied Sciences 15, no. 3: 1196. https://doi.org/10.3390/app15031196
APA StyleRoh, J., Kim, Y., & Ahn, J. (2025). Computational-Fluid-Dynamics-Based Optimization of Wavy-Slit Fin Geometry in Indoor Units of Air Conditioners Using Low-Global-Warming-Potential Refrigerants. Applied Sciences, 15(3), 1196. https://doi.org/10.3390/app15031196

