Modeling Forest Fire Spread Using Machine Learning-Based Cellular Automata in a GIS Environment
Abstract
1. Introduction
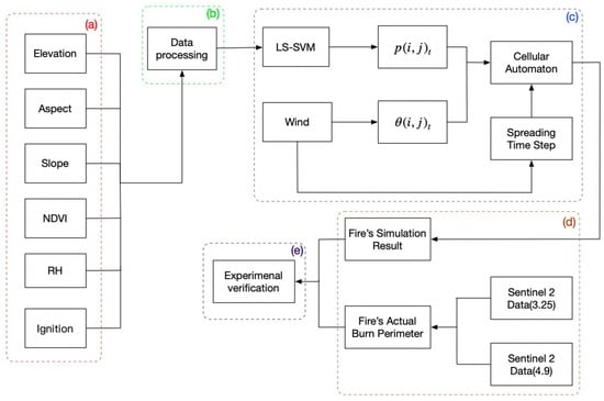
2. Model Development
2.1. Principle of Cellular Automata
- If the cell cannot be burned due to lack of fuel, then it remains in the same state at the next discrete time step.
- If the cell is burning, its state is updated to burned at the next discrete time step.
- If the cell is burned, then it remains in the same state at the next discrete time step.
- If the cell has not been ignited and at least one its neighboring cells is burning , and if the state transition likelihood of the cell is higher than a random probability threshold , then its state is updated to burning at the next discrete time step.
2.2. Adjacent Wind Effect
2.3. Igniting Probabilities
2.4. Spreading Time Step
3. Case Studies
3.1. Study Area and Data
3.2. Simulation Results and Analysis
4. Discussion
5. Conclusions
Author Contributions
Funding
Data Availability Statement
Conflicts of Interest
References
- Li, Q.; Cui, J.; Jiang, W.; Jiao, Q.; Gong, L.; Zhang, J.; Shen, X. Monitoring of the fire in Muli County on 28 March 2020, based on high temporal-spatial resolution remote sensing techniques. Nat. Hazards Res. 2021, 1, 20–31. [Google Scholar] [CrossRef]
- Kariyeva, J.; van Leeuwen, W.J.; Woodhouse, C.A. Impacts of climate gradients on the vegetation phenology of major land use types in Central Asia (1981–2008). Front. Earth Sci. 2012, 6, 206–225. [Google Scholar] [CrossRef]
- Islam, S.; Bhuiyan, M.A.H. Sundarbans mangrove forest of Bangladesh: Causes of degradation and sustainable management options. Environ. Sustain. 2018, 1, 113–131. [Google Scholar] [CrossRef]
- Khan, A.; Gupta, S.; Gupta, S.K. Multi-hazard disaster studies: Monitoring, detection, recovery, and management, based on emerging technologies and optimal techniques. Int. J. Disaster Risk Reduct. 2020, 47, 101642. [Google Scholar] [CrossRef]
- Kulakowski, D.; Seidl, R.; Holeksa, J.; Kuuluvainen, T.; Nagel, T.A.; Panayotov, M.; Svoboda, M.; Thorn, S.; Vacchiano, G.; Whitlock, C.; et al. A walk on the wild side: Disturbance dynamics and the conservation and management of European mountain forest ecosystems. For. Ecol. Manag. 2017, 388, 120–131. [Google Scholar] [CrossRef] [PubMed]
- Collins, B.M.; Kelly, M.; Van Wagtendonk, J.W.; Stephens, S.L. Spatial patterns of large natural fires in Sierra Nevada wilderness areas. Landsc. Ecol. 2007, 22, 545–557. [Google Scholar] [CrossRef]
- Neary, D.G.; Robichaud, P.R.; Beyers, J.L. Burned area emergency watershed rehabilitation: Program goals, techniques, effectiveness, and future directions in the 21 century. Proc. RMRS 1998, 375, 13. [Google Scholar]
- Sileshi, G.; Mafongoya, P. The short-term impact of forest fire on soil invertebrates in the miombo. Biodivers. Conserv. 2006, 15, 3153–3160. [Google Scholar] [CrossRef]
- Pham, B.T.; Jaafari, A.; Avand, M.; Al-Ansari, N.; Dinh Du, T.; Yen, H.P.H.; Phong, T.V.; Nguyen, D.H.; Le, H.V.; Mafi-Gholami, D.; et al. Performance evaluation of machine learning methods for forest fire modeling and prediction. Symmetry 2020, 12, 1022. [Google Scholar] [CrossRef]
- Matin, M.A.; Chitale, V.S.; Murthy, M.S.; Uddin, K.; Bajracharya, B.; Pradhan, S. Understanding forest fire patterns and risk in Nepal using remote sensing, geographic information system and historical fire data. Int. J. Wildland Fire 2017, 26, 276–286. [Google Scholar] [CrossRef]
- Van Leeuwen, W.J. Monitoring the effects of forest restoration treatments on post-fire vegetation recovery with MODIS multitemporal data. Sensors 2008, 8, 2017–2042. [Google Scholar] [CrossRef] [PubMed]
- Van Leeuwen, W.J.; Casady, G.M.; Neary, D.G.; Bautista, S.; Alloza, J.A.; Carmel, Y.; Wittenberg, L.; Malkinson, D.; Orr, B.J. Monitoring post-wildfire vegetation response with remotely sensed time-series data in Spain, USA and Israel. Int. J. Wildland Fire 2010, 19, 75–93. [Google Scholar] [CrossRef]
- Zhenyang, X.; Lin, H.; Wang, F. A small target forest fire detection model based on YOLOv5 Improvement. Forests 2022, 13, 1332. [Google Scholar]
- Li, H.; Long, Z.; Yang, Z.; Xu, Z.; Li, Y. Analysis of forest fire risk in Sichuan Liangshan based on logistic model. J. Saf. Environ. 2021, 21, 498–505. [Google Scholar]
- Huang, Z.; Huang, X.; Fan, J.; Eichhorn, M.P.; An, F.; Chen, B.; Cao, L.; Zhu, Z.; Yun, T. Retrieval of aerodynamic parameters in rubber tree forests based on the computer simulation technique and terrestrial laser scanning data. Remote Sens. 2020, 12, 1318. [Google Scholar] [CrossRef]
- Jiecheng, Z. Application of remote sensing technology in forest fire-proof technique. Inf. Agric. Sci. Technol. 2019, 8, 67–68. [Google Scholar]
- Chu, C.C.; Zhang, G.; Sun, Y.R. Trend forecast of forest fire in Hunan province based on Kriging interpolation model. J. Cent. South Univ. For. Technol. 2014, 34, 66–70. [Google Scholar]
- Jiachang, L.; Bin, T.; Yuan, Z. GIS-Based spatial and temporal distribution characteristics and factor analysis of forest fires—Taking California, USA as an example. J. Northeast. For. Univ. 2020, 7, 70–74. [Google Scholar]
- Meilin, W.; Linlin, J.; Xiaohong, W.; Bin, W.; Xingxing, X. Forest fire simulation and rescue system based on Geographic Information System. Inf. Rec. Mater. 2019, 9, 144–145. [Google Scholar]
- Fernandez-Pello, A.C. Wildland fire spot ignition by sparks and firebrands. Fire Saf. J. 2017, 91, 2–10. [Google Scholar] [CrossRef]
- Hoffman, C.; Canfield, J.; Linn, R.; Mell, W.; Sieg, C.; Pimont, F.; Ziegler, J. Evaluating crown fire rate of spread predictions from physics-based models. Fire Technol. 2016, 52, 221–237. [Google Scholar] [CrossRef]
- Grishin, A.; Golovanov, A.; Sukov, Y.V. Physical modeling of fire storms. Heat Transf. Res. 2005, 36, 517–527. [Google Scholar] [CrossRef]
- Couto, F.T.; Iakunin, M.; Salgado, R.; Pinto, P.; Viegas, T.; Pinty, J.P. Lightning modelling for the research of forest fire ignition in Portugal. Atmos. Res. 2020, 242, 104993. [Google Scholar] [CrossRef]
- Morvan, D. Physical phenomena and length scales governing the behaviour of wildfires: A case for physical modelling. Fire Technol. 2011, 47, 437–460. [Google Scholar] [CrossRef]
- Balbi, J.H.; Morandini, F.; Silvani, X.; Filippi, J.B.; Rinieri, F. A physical model for wildland fires. Combust. Flame 2009, 156, 2217–2230. [Google Scholar] [CrossRef]
- Frangieh, N.; Accary, G.; Morvan, D.; Méradji, S.; Bessonov, O. Wildfires front dynamics: 3D structures and intensity at small and large scales. Combust. Flame 2020, 211, 54–67. [Google Scholar] [CrossRef]
- Cruz, M.G.; Alexander, M.E. Uncertainty associated with model predictions of surface and crown fire rates of spread. Environ. Model. Softw. 2013, 47, 16–28. [Google Scholar] [CrossRef]
- Alexandridis, A.; Russo, L.; Vakalis, D.; Bafas, G.; Siettos, C. Wildland fire spread modelling using cellular automata: Evolution in large-scale spatially heterogeneous environments under fire suppression tactics. Int. J. Wildland Fire 2011, 20, 633–647. [Google Scholar] [CrossRef]
- Wagner, C.V. Conditions for the start and spread of crown fire. Can. J. For. Res. 1977, 7, 23–34. [Google Scholar] [CrossRef]
- Marsden-Smedley, J.; Catchpole, W.R. Fire behaviour modelling in Tasmanian buttongrass moorlands. II. Fire behaviour. Int. J. Wildland Fire 1995, 5, 215–228. [Google Scholar] [CrossRef]
- Catchpole, W.; Bradstock, R.; Choate, J.; Fogarty, L.; Gellie, N.; McCarthy, G.; McCaw, W.; Marsden-Smedley, J.; Pearce, G. Cooperative development of equations for heathland fire behaviour. In Proceedings of the 3rd International Conference on Forest Fire Research and 14th Conference on Fire and Forest Meteorology, Luso, Portugal, 16–20 November 1998; Volume 2, pp. 16–20. [Google Scholar]
- Rothermel, R.C. A Mathematical Model for Predicting Fire Spread in Wildland Fuels; INT-115; US Department of Agriculture, Forest Service, Intermountain Forest and Range Experiment Station: Ogden, UT, USA, 1972.
- Rothermel, R. How to Predict the Spread and Intensity of Forest Fire and Range Fires; General Technical Reports, INT-143; US Department of Agriculture, Forest Service, Intermountain Forest and Range Experiment Station: Ogden, UT, USA, 1983.
- Sullivan, A.L. Wildland surface fire spread modeling, 1990–2007. 3: Simulation and mathematical analogue models. Int. J. Wildland Fire 2009, 18, 387–403. [Google Scholar] [CrossRef]
- Lee, B.; Alexander, M.; Hawkes, B.; Lynham, T.; Stocks, B.; Englefield, P. Information systems in support of wildland fire management decision making in Canada. Comput. Electron. Agric. 2002, 37, 185–198. [Google Scholar] [CrossRef]
- Guan, Z.; Miao, X.; Mu, Y.; Sun, Q.; Ye, Q.; Gao, D. Forest fire segmentation from Aerial Imagery data Using an improved instance segmentation model. Remote Sens. 2022, 14, 3159. [Google Scholar] [CrossRef]
- Zhang, S.; Gao, D.; Lin, H.; Sun, Q. Wildfire detection using sound spectrum analysis based on the Internet of things. Sensors 2019, 19, 5093. [Google Scholar] [CrossRef]
- Dongyan, B.; Yin, Z.; Shaozhi, C.; Decheng, Z.; Youjun, H. Forest fire prediction based on Auto-Regressive Moving Average model. Pract. For. Technol. 2013, 6, 11–14. [Google Scholar]
- Hai-yan, C.; Wei, Z.; Zhao-wen, Q. Application of SVM Model in Forest Fire Judgment. J. Anhui Agric. Sci. 2014, 42, 3684. [Google Scholar]
- Li, E.; Fei, Y. Prediction of Forest Fires Based on Least Squares Support Vector Machine. Hans J. Data Min. 2016, 6, 15–27. [Google Scholar] [CrossRef]
- Dawe, D.A.; Peters, V.S.; Flannigan, M.D. Post-fire regeneration of endangered limber pine (Pinus flexilis) at the northern extent of its range. For. Ecol. Manag. 2020, 457, 117725. [Google Scholar] [CrossRef]
- Jiao, W.; Tian, M.; Xu, Y. A combining strategy of energy replenishment and data collection in wireless sensor networks. IEEE Sens. J. 2022, 22, 7411–7426. [Google Scholar] [CrossRef]
- Jiao, W.; Tang, R.; Xu, Y. A coverage optimization algorithm for the wireless sensor network with random deployment by using an improved flower pollination algorithm. Forests 2022, 13, 1690. [Google Scholar] [CrossRef]
- Qian, J.; Lin, H. A forest fire identification system based on weighted fusion algorithm. Forests 2022, 13, 1301. [Google Scholar] [CrossRef]
- Lin, J.; Lin, H.; Wang, F. STPM_SAHI: A Small-Target forest fire detection model based on Swin Transformer and Slicing Aided Hyper inference. Forests 2022, 13, 1603. [Google Scholar] [CrossRef]
- Qu, J.; Cui, X. Automatic machine learning framework for forest fire forecasting. J. Phys. Conf. Ser. 2020, 1651, 012116. [Google Scholar] [CrossRef]
- Yang, X.; Wang, Y.; Liu, X.; Liu, Y. High-Precision Real-Time forest fire video detection using One-Class model. Forests 2022, 13, 1826. [Google Scholar] [CrossRef]
- Kourtz, P.; Nozaki, S.; O’Regan, W.G. Forest Fires in the Computer—A Model to Predict the Perimeter Location of a Forest Fire; no. FF-X-65; Information Report Forest Fire Research Institute: Ottawa, ON, Canada, 1977. [Google Scholar]
- Richards, G.D. The properties of elliptical wildfire growth for time dependent fuel and meteorological conditions. Combust. Sci. Technol. 1993, 95, 357–383. [Google Scholar] [CrossRef]
- Finney, M.A. FARSITE: Fire Area Simulator—Model Development and Evaluation; USDA Forest Service, Rocky Mountain Research Station: Fort Collins, CO, USA, 1998.
- Li, X.; Tong, B.L.; Wu, X.B. Simulation model of infectious disease transmission and control based on cellular automata. J. Liaoning Univ. Technol. Nat. Sci. Ed. 2020, 40, 290–295. [Google Scholar]
- Ruifang, Z. Virus Propagation Control Based on Cellular Automata and Ad-Hoc Edge Deletion Optimization. Master’s Thesis, Shaanxi Normal University, Xi’an, China, 2019. [Google Scholar]
- Yongqiang, X. The Evolution of Human-Robot Competition Based on Cellular Automata. Master’s Thesis, Nanchang University, Nanchang, China, 2018. [Google Scholar]
- Xue, X.; Jin, S.; An, F.; Zhang, H.; Fan, J.; Eichhorn, M.P.; Jin, C.; Chen, B.; Jiang, L.; Yun, T. Shortwave radiation calculation for forest plots using airborne LiDAR data and computer graphics. Plant Phenomics 2022, 2022, 9856739. [Google Scholar] [CrossRef]
- Sun, C.; Huang, C.; Zhang, H.; Chen, B.; An, F.; Wang, L.; Yun, T. Individual tree crown segmentation and crown width extraction from a heightmap derived from aerial laser scanning data using a deep learning framework. Front. Plant Sci. 2022, 13, 914974. [Google Scholar] [CrossRef]
- Wang, X.Y.; Zhou, Y.; Yu, J.N. Evolution of green infrastructure layout and water-logging risk assessment based on cellular automata simulation of urban expansion: A case study of Wuhan city. Landsc. Archit. 2020, 27, 50–56. [Google Scholar]
- Yong-jiu, F.; Miao-long, L. Modeling land use changes with machine learning-based cellular automata in a GIS environment. Sci. Surv. Mapp. 2011, 36, 216–218. [Google Scholar]
- Li, X.; Wu, J.; Li, X. Theory of Practical Cellular Automaton; Springer: Berlin, Germany, 2018. [Google Scholar]
- Zheng, Z.; Huang, W.; Li, S.; Zeng, Y. Forest fire spread simulating model using cellular automaton with extreme learning machine. Ecol. Model. 2017, 348, 33–43. [Google Scholar] [CrossRef]
- Albinet, G.; Searby, G.; Stauffer, D. Fire propagation in a 2D random medium. J. Phys. 1986, 47, 1–7. [Google Scholar] [CrossRef]
- Niessen, W.V.; Blumen, A. Dynamic simulation of forest fires. Can. J. For. Res. 1988, 18, 807–814. [Google Scholar] [CrossRef]
- Bhakti, H.; Ibrahim, H.; Fristella, F.; Faisal, M. Fire spread simulation using cellular automata in forest fire. Iop Conf. Ser. Mater. Sci. Eng. 2020, 821, 012037. [Google Scholar] [CrossRef]
- Trunfio, G.A. Predicting wildfire spreading through a hexagonal cellular automata model. In International Conference on Cellular Automata; Springer: Berlin, Germany, 2004; pp. 385–394. [Google Scholar]
- Zhang, Y.; Feng, Z.D.; Tao, H.; Wu, L.; Li, K.; Duan, X. Simulating wildfire spreading processes in a spatially heterogeneous landscapes using an improved cellular automaton model. In Proceedings of the IGARSS 2004. 2004 IEEE International Geoscience and Remote Sensing Symposium, Anchorage, AK, USA, 20–24 September 2004; Volume 5, pp. 3371–3374. [Google Scholar]
- Johnston, P.; Kelso, J.; Milne, G.J. Efficient simulation of wildfire spread on an irregular grid. Int. J. Wildland Fire 2008, 17, 614–627. [Google Scholar] [CrossRef]
- Kourtz, P.H.; O’Regan, W.G. A model for a small forest fire to simulate burned and burning areas for use in a detection model. For. Sci. 1971, 17, 163–169. [Google Scholar]
- Frandsen, W.; Andrews, P. Fire Behavior in Non-Uniform Fuels; USDA Forest Service, Intermountain Forest and Range Experiment Station: Ogden, UT, USA, 1979.
- Karafyllidis, I.; Thanailakis, A. A model for predicting forest fire spreading using cellular automata. Ecol. Model. 1997, 99, 87–97. [Google Scholar] [CrossRef]
- Encinas, A.H.; Encinas, L.H.; White, S.H.; del Rey, A.M.; Sánchez, G.R. Simulation of forest fire fronts using cellular automata. Adv. Eng. Softw. 2007, 38, 372–378. [Google Scholar] [CrossRef]
- Alexandridis, A.; Vakalis, D.; Siettos, C.I.; Bafas, G.V. A cellular automata model for forest fire spread prediction: The case of the wildfire that swept through Spetses Island in 1990. Appl. Math. Comput. 2008, 204, 191–201. [Google Scholar] [CrossRef]
- Byari, M.; Bernoussi, A.; Jellouli, O.; Ouardouz, M.; Amharref, M. Multi-scale 3D cellular automata modeling: Application to wildland fire spread. Chaos Solitons Fractals 2022, 164, 112653. [Google Scholar] [CrossRef]
- Sun, T.; Zhang, L.; Chen, W.; Tang, X.; Qin, Q. Mountains forest fire spread simulator based on geo-cellular automaton combined with wang zhengfei velocity model. IEEE J. Sel. Top. Appl. Earth Obs. Remote Sens. 2012, 6, 1971–1987. [Google Scholar] [CrossRef]
- Zhou, G.; Wu, Q.; Chen, A. Forestry fire spatial diffusion model based on Multi-Agent algorithm with cellular automata. J. Syst. Simul. 2018, 30, 8. [Google Scholar]
- Yang, F.; Cao, J. Study on simulation of three dimensional simulation of forest fire spread based on cellular automation. Comput. Eng. Appl. 2016, 52, 5. [Google Scholar]
- Wang, Z. General forest fire weather ranks system. J. Nat. Disasters 1992, 1, 39–45. [Google Scholar]
- Pei, F.; Xia, L.I.; Liu, X.; Xia, G. Dynamic simulation of urban expansion and their effects on Net Primary Productivity: A scenario analysis of Guangdong Province in China. J. Geo-Inf. Sci. 2015, 17, 469–477. [Google Scholar]
- Tianchi, L.; Fuqin, Y.; Yan, L. Forest fire monitoring based on Sentinel-2 image in Muli, Sichuan Province. South China For. Sci. 2020, 48, 49–53. [Google Scholar]
- Mao, X.M.; Xu, W.X. Research on the spread speed of forest fire. J. Meteorol. Environ. 1991, 1, 9–13. [Google Scholar]
- Zhang, Y.S. Review and prospect of researches on simulation of forest fire spread. J. Anhui Agric. Sci. 2010, 32. [Google Scholar]
- Results of the investigation into the “3–30” forest fire in Xichang, Liangshan, Sichuan released. Firef. Community 2021, 7, 27.
- Yufei, Z.; Pengju, L.; Xiaoming, T. Space accuracy evaluation of forest fire spreading model. J. Beijing For. Univ. 2010, 32, 21–26. [Google Scholar]
- Yassemi, S.; Dragićević, S.; Schmidt, M. Design and implementation of an integrated GIS-based cellular automata model to characterize forest fire behaviour. Ecol. Model. 2008, 210, 71–84. [Google Scholar] [CrossRef]
- Mutthulakshmi, K.; Wee, M.R.E.; Wong, Y.C.K.; Lai, J.W.; Koh, J.M.; Acharya, U.R.; Cheong, K.H. Simulating forest fire spread and fire-fighting using cellular automata. Chin. J. Phys. 2020, 65, 642–650. [Google Scholar] [CrossRef]
- Freire, J.G.; DaCamara, C.C. Using cellular automata to simulate wildfire propagation and to assist in fire management. Nat. Hazards Earth Syst. Sci. 2019, 19, 169–179. [Google Scholar] [CrossRef]
- Li, X.; Yang-wei, W. A forest fire spread model based on cellular automata. For. Mach. Woodwork. Equip. 2019, 47, 46–54. [Google Scholar]
- Karafyllidis, I. Design of a dedicated parallel processor for the prediction of forest fire spreading using cellular automata and genetic algorithms. Eng. Appl. Artif. Intell. 2004, 17, 19–36. [Google Scholar] [CrossRef]
- Domasevich, M.; Pavlova, A.; Rubtsov, S.; Telyatnikov, I. Cellular automata modeling of processes on landscape surfaces using triangulation meshes. Iop Conf. Ser. Earth Environ. Sci. 2021, 867, 012017. [Google Scholar] [CrossRef]
- Forestry Canada Fire Danger Group. Development and Structure of the Canadian Forest Fire Behavior Prediction System; Forestry Canada, Headquarters, Fire Danger Group and Science and Sustainable Development Directorate: Ottawa, ON, Canada, 1992. [Google Scholar]
- Currie, M.; Speer, K.; Hiers, J.; O’Brien, J.; Goodrick, S.; Quaife, B. Pixel-level statistical analyses of prescribed fire spread. Can. J. For. Res. 2019, 49, 18–26. [Google Scholar] [CrossRef]
- Ntinas, V.G.; Moutafis, B.E.; Trunfio, G.A.; Sirakoulis, G.C. Parallel fuzzy cellular automata for data-driven simulation of wildfire spreading. J. Comput. Sci. 2017, 21, 469–485. [Google Scholar] [CrossRef]
- Li, X.; Zhang, M.; Zhang, S.; Liu, J.; Sun, S.; Hu, T.; Sun, L. Simulating forest fire spread with cellular automation driven by a LSTM based speed model. Fire 2022, 5, 13. [Google Scholar] [CrossRef]
- Rundle, J.B.; Turcotte, D.L.; Shcherbakov, R.; Klein, W.; Sammis, C. Statistical physics approach to understanding the multiscale dynamics of earthquake fault systems. Rev. Geophys. 2003, 41, 4. [Google Scholar] [CrossRef]









| State | LSSVM-CA | ELM-CA | CA |
|---|---|---|---|
| 33,028 (97.9%) | 30,602 (90.71%) | 29,634 (87.84%) | |
| 707 (2.1%) | 3133 (9.29%) | 4101 (12.16%) | |
| 3083 (9.14%) | 3191 (9.46%) | 4091 (12.13%) | |
| 33,735 | |||
| 36,111 | 33,793 | 33,725 | |
| State | Muli | Baidiao |
|---|---|---|
| 4091 (83.85%) | 5408 (85.0%) | |
| 788 (16.15%) | 957 (15.0%) | |
| 787 (16.13%) | 350 (5.5%) | |
| 4879 | 6365 | |
| 4878 | 5758 |
Publisher’s Note: MDPI stays neutral with regard to jurisdictional claims in published maps and institutional affiliations. |
© 2022 by the authors. Licensee MDPI, Basel, Switzerland. This article is an open access article distributed under the terms and conditions of the Creative Commons Attribution (CC BY) license (https://creativecommons.org/licenses/by/4.0/).
Share and Cite
Xu, Y.; Li, D.; Ma, H.; Lin, R.; Zhang, F. Modeling Forest Fire Spread Using Machine Learning-Based Cellular Automata in a GIS Environment. Forests 2022, 13, 1974. https://doi.org/10.3390/f13121974
Xu Y, Li D, Ma H, Lin R, Zhang F. Modeling Forest Fire Spread Using Machine Learning-Based Cellular Automata in a GIS Environment. Forests. 2022; 13(12):1974. https://doi.org/10.3390/f13121974
Chicago/Turabian StyleXu, Yiqing, Dianjing Li, Hao Ma, Rong Lin, and Fuquan Zhang. 2022. "Modeling Forest Fire Spread Using Machine Learning-Based Cellular Automata in a GIS Environment" Forests 13, no. 12: 1974. https://doi.org/10.3390/f13121974
APA StyleXu, Y., Li, D., Ma, H., Lin, R., & Zhang, F. (2022). Modeling Forest Fire Spread Using Machine Learning-Based Cellular Automata in a GIS Environment. Forests, 13(12), 1974. https://doi.org/10.3390/f13121974

