A New Decentralized Space Vector PWM Method for Multilevel Single-Phase Full Bridge Converters
Abstract
1. Introduction
2. Principle of the Space Vector Pulse Width Modulation Control for Multilevel Single-Phase Converter
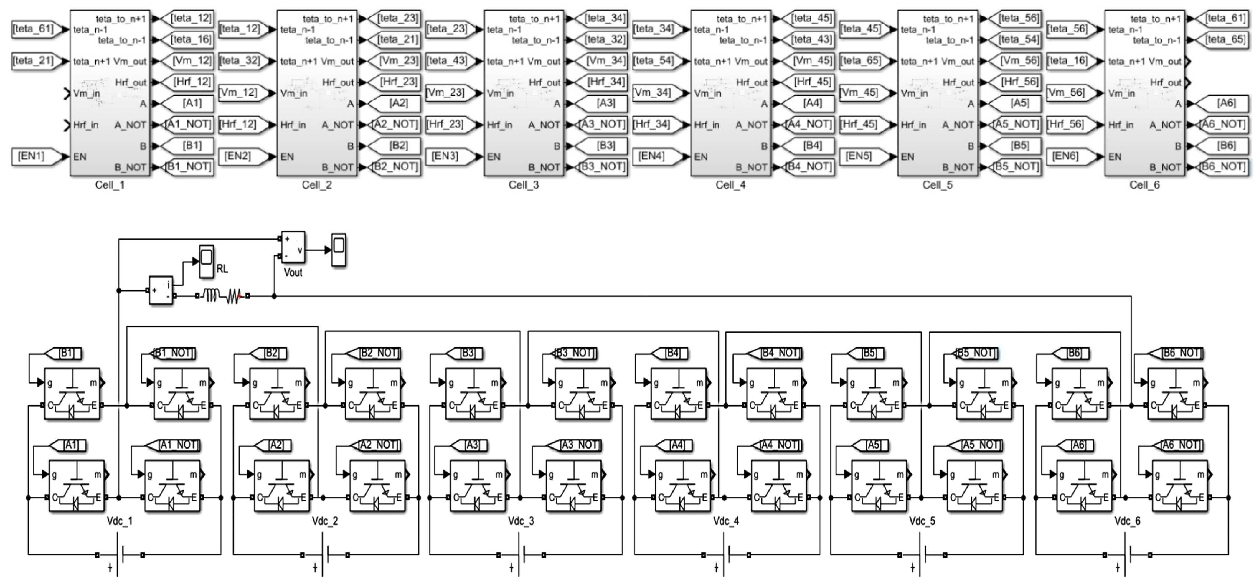
3. Proposed Decentralized SVPWM Control Method
4. Simulation Result
5. Experimental Result
6. Conclusions
Author Contributions
Funding
Institutional Review Board Statement
Informed Consent Statement
Data Availability Statement
Acknowledgments
Conflicts of Interest
References
- Kouro, S.; Malinowski, M.; Gopakumar, K.; Pou, J.; Franquelo, L.G.; Wu, B.; Rodriguez, J.; Perez, M.A.; Leon, J.I. Recent advances and industrial applications of multilevel converters. IEEE Trans. Ind. Electron. 2010, 57, 2553–2580. [Google Scholar] [CrossRef]
- Martinez-Rodrigo, F.; Ramirez, D.; Rey-Boue, A.B.; De Pablo, S.; Herrero-De Lucas, L.C. Modular multilevel converters: Control and applications. Energies 2017, 10, 1709. [Google Scholar] [CrossRef]
- López, O.; Dujic, D.; Jones, M.; Freijedo, F.D.; Doval-Gandoy, J.; Levi, E. Multidimensional two-level multiphase space vector PWM algorithm and its comparison with multifrequency space vector PWM method. IEEE Trans. Ind. Electron. 2011, 58, 465–475. [Google Scholar] [CrossRef]
- Biju, K.; Ramchand, R. A New Space Vector Pulse Width Modulation Technique for Single-Phase Seven-Level Inverter with Reduced Number of Switches. IETE J. Res. 2019, 1–14. [Google Scholar] [CrossRef]
- Afjeh, M.G.; Babaei, M.; Bidgoli, M.A.; Ahmarinejad, A. Deadbeat Control of a Modified Single-Phase Five-Level Photovoltaic Inverter with Reduced Number of Switches. Int. J. Photoenergy 2020, 2020, 1–16. [Google Scholar] [CrossRef]
- Jacob, J.; Chitra, A.; Thomas, R.V.; Rakesh, E. Hardware realization and analysis of a seven level reduced switch inverter with space vector modulation technique. In Proceedings of the 2017 2nd IEEE International Conference on Electrical, Computer and Communication Technologies, ICECCT 2017, Tamil Nadu, India, 22–24 February 2017. [Google Scholar] [CrossRef]
- Jafri, K.; Chen, B.C.; Chen, Y.; You, S.Z. Direct current control and experiment of a novel 9-level modular multilevel converter. IET Conf. Publ. 2012, 2012, 14031211. [Google Scholar] [CrossRef]
- Wang, Z.; Lin, H.; Ma, Y. Improved capacitor voltage balancing control for multimode operation of modular multilevel converter with integrated battery energy storage system. IET Power Electron. 2019, 12, 2751–2760. [Google Scholar] [CrossRef]
- López, Ó.; Álvarez, J.; Doval-Gandoy, J.; Freijedo, F.; Nogueiras, A.; Peñalver, C.M. Multilevel multiphase space vector PWM algorithm applied to three-phase converters. IECON Proc. 2008, 55, 3290–3295. [Google Scholar] [CrossRef]
- Prats, M.Á.M.; Franquelo, L.G.; Portillo, R.; León, J.I.; Galván, E.; Carrasco, J.M. A 3-D space vector modulation generalized algorithm for multilevel converters. IEEE Power Electron. Lett. 2003, 1, 110–114. [Google Scholar] [CrossRef]
- Cong Nguyen, P.; Dung Phan, Q. The Development of Decentralized Space Vector PWM Method for Multilevel Multiphase Converters. In Proceedings of the ICCE 2020 IEEE 8th International Conference on Communications and Electronics, Phu Quoc Island, Vietnam, 13–15 January 2021; pp. 163–168. [Google Scholar] [CrossRef]
- Dung Phan, Q.; Nguyen, P.C.; To, H.P.; Nguyen, B.A.; Le-Nguyen, D.K.; Nguyen-Huu, K.M.; Pham, L.N. Decentralized Capacitor Voltage Control of Flying Capacitor Multilevel Inverter. In Proceedings of the 2021 International Symposium on Electrical and Electronics Engineering, ISEE 2021, Seoul, Korea, 19–21 February 2021; pp. 238–243. [Google Scholar] [CrossRef]
- Phan, Q.D.; Gateau, G.; Cousineau, M.; Veit, L.; De Milly, R.; Mannes-Hillesheim, M. Ultra-fast decentralized self-aligned carrier principle for multiphase/multilevel converters. In Proceedings of the IEEE International Conference on Industrial Technology, Buenos Aires, Argentina, 26–28 February 2020; pp. 517–522. [Google Scholar] [CrossRef]
- Phan, Q.D.; Gateau, G.; Nguyen, P.C.; Cousineau, M.; To, H.P.; Nguyen, B.A.; Veit, L.; De Milly, R.; Hillesheim, M.M. A fast, decentralized, self-aligned carrier method for multicellular converters. Appl. Sci. 2021, 11, 137. [Google Scholar] [CrossRef]
- Phan, Q.D.; Gateau, G.; Nguyen, M.T.; Cousineau, M.; Thi Ngoc, T.P. Decentralized Interleaving and Current Control for Multicellular Serial-Parallel Converters. In Proceedings of the 2019 International Symposium on Electrical and Electronics Engineering, ISEE 2019, Ho Chi Minh City, Vietnam, 10–12 October 2019; pp. 199–204. [Google Scholar] [CrossRef]
- Huang, J.; Wu, T.; Wang, K. Modular multi-level converter control method based on CPS—PWM. In Proceedings of the 2017 International Conference on Computer Systems, Electronics and Control, ICCSEC 2017, Dalian, China, 25–27 December 2017; pp. 1528–1531. [Google Scholar] [CrossRef]
- Du, S.; Dekka, A.; Wu, B.; Zargari, N. Classical Control of Modular Multilevel Converter. Modul. Multilevel Convert. Anal. Control. Appl. 2018, 79–102. [Google Scholar] [CrossRef]
- Nguyen, M.H.; Kwak, S.; Kim, T. Phase-Shifted Carrier Pulse-Width Modulation Algorithm with Improved Dynamic Performance for Modular Multilevel Converters. IEEE Access 2019, 7, 170949–170960. [Google Scholar] [CrossRef]
- Wang, K.; Deng, Y.; Peng, H.; Chen, G.; Li, G.; He, X. An improved CPS-PWM scheme-based voltage balancing strategy for MMC with fundamental frequency sorting algorithm. IEEE Trans. Ind. Electron. 2019, 66, 2387–2397. [Google Scholar] [CrossRef]
- Zhang, Y.; Adam, G.P.; Lim, T.C.; Finney, S.J.; Williams, B.W. Analysis of modular multilevel converter capacitor voltage balancing based on phase voltage redundant states. IET Power Electron. 2012, 5, 726–738. [Google Scholar] [CrossRef]
- Wang, K.; Deng, Y.; Li, W.; Peng, H.; Chen, G.; He, X. Fundamental frequency sorting strategy for capacitor voltage balance of modular multilevel converters with phase disposition PWM. In Proceedings of the IEEE Applied Power Electronics Conference and Exposition—APEC, Long Beach, CA, USA, 20–24 May 2016; pp. 1450–1455. [Google Scholar] [CrossRef]
- Gao, C.; Liu, X.; Liu, J.; Guo, Y.; Chen, Z. Multilevel converter with capacitor voltage actively balanced using reduced number of voltage sensors for high power applications. IET Power Electron. 2016, 9, 1462–1473. [Google Scholar] [CrossRef]
- Sasongko, F.; Akagi, H. Low-Switching-Frequency Operation of a Modular Multilevel DSCC Converter with Phase-Shifted Rotating-Carrier PWM. IEEE Trans. Power Electron. 2017, 32, 5058–5069. [Google Scholar] [CrossRef]
- Dekka, A.; Wu, B.; Zargari, N.R.; Fuentes, R.L. A Space-Vector PWM-Based Voltage-Balancing Approach with Reduced Current Sensors for Modular Multilevel Converter. IEEE Trans. Ind. Electron. 2016, 63, 2734–2745. [Google Scholar] [CrossRef]
- Yongchao, C.; Yanda, L.; Ling, Z. A novel SVPWM Algorithm Considering Neutral-Point Potential Balancing for Three-Level NPC Inverter. Electronics 2016, 20, 69–75. [Google Scholar] [CrossRef][Green Version]
- Mekhilef, S.; Khudhur, H.I.; Belkamel, H. DC link capacitor voltage balancing in three level neutral point clamped inverter. In Proceedings of the 2012 IEEE 13th Workshop on Control and Modeling for Power Electronics, COMPEL 2012, Kyoto, Japan, 10–13 June 2012. [Google Scholar] [CrossRef]
- Zhang, X.; Wang, N.; Lin, H.; Yin, T.; Zhang, Z.; Shu, Z. An optimal control algorithm of capacitor voltage balancing for modular multilevel converter. In Proceedings of the IEEE Applied Power Electronics Conference and Exposition—APEC, Anaheim, CA, USA, 17–21 March 2019; pp. 3504–3507. [Google Scholar] [CrossRef]
- Palanisamy, R.; Shanmugasundaram, V.; Vidyasagar, S.; Kalyanasundaram, V.; Vijayakumar, K. A SVPWM Control Strategy for Capacitor Voltage Balancing of Flying Capacitor Based 4-Level NPC Inverter. J. Electr. Eng. Technol. 2020, 15, 2639–2649. [Google Scholar] [CrossRef]
- Phan, Q.D.; Gateau, G.; Nguyen, M.T.; Cousineau, M. 2D Decentralized Interleaving Principle for Multicell Serial-Parallel Converters. In Proceedings of the International Conference on Power Electronics and Drive Systems, Toulouse, France, 9–12 July 2019. [Google Scholar] [CrossRef]
- Gateau, G.; Dung, P.Q.; Cousineau, M.; Do, P.U.T.; Le, H.N. Digital implementation of decentralized control for multilevel converter. In Proceedings of the 2017 International Conference on System Science and Engineering, ICSSE 2017, Ho Chi Minh City, Vietnam, 21–23 July 2017; pp. 558–562. [Google Scholar] [CrossRef]
- Gateau, G.; Cousineau, M.; Mannes-Hillesheim, M.; Dung, P.Q. Digital decentralized current control for parallel multiphase converter. In Proceedings of the IEEE International Conference on Industrial Technology, Melbourne, Australia, 13–15 February 2019; pp. 1761–1766. [Google Scholar] [CrossRef]
- Liu, J.; Yao, W.; Lu, Z.; Du, L.; Ji, Y. A distributed control structure and synchronization method for complex converter based on CAN. In Proceedings of the 2017 IEEE Southern Power Electronics Conference, SPEC, Puerto Varas, Chile, 4–7 December 2017; pp. 1–6. [Google Scholar] [CrossRef]
- Xu, B.; Tu, H.; Du, Y.; Yu, H.; Liang, H.; Lukic, S. A Distributed Control Architecture for Cascaded H-Bridge Converter with Integrated Battery Energy Storage. IEEE Trans. Ind. Appl. 2021, 57, 845–856. [Google Scholar] [CrossRef]
- Rong, Y.; Wang, J.; Shen, Z.; Burgos, R.; Boroyevich, D.; Zhou, S. Distributed Control and Communication System for PEBB-based Modular Power Converters. In Proceedings of the 2019 IEEE Electric Ship Technologies Symposium, ESTS 2019, Washington, DC, USA, 14–16 August 2019; pp. 627–633. [Google Scholar] [CrossRef]
- Xia, B.; Li, Y.; Li, Z.; Konstantinou, G.; Xu, F.; Gao, F.; Wang, P. Decentralized Control Method for Modular Multilevel Converters. IEEE Trans. Power Electron. 2019, 34, 5117–5130. [Google Scholar] [CrossRef]
- Dutta, S.; Mallik, R.; Majmunovic, B.; Mukherjee, S.; Seo, G.S.; Maksimovic, D.; Johnson, B. Decentralized Carrier Interleaving in Cascaded Multilevel DC-AC Converters. In Proceedings of the 2019 IEEE 20th Workshop on Control and Modeling for Power Electronics, COMPEL 2019, Toronto, ON, Canada, 17–20 June 2019; pp. 1–6. [Google Scholar] [CrossRef]
- Sinha, M.; Poon, J.; Johnson, B.B.; Rodriguez, M.; Dhople, S.V. Decentralized Interleaving of Parallel-connected Buck Converters. IEEE Trans. Power Electron. 2019, 34, 4993–5006. [Google Scholar] [CrossRef]
- He, Y.; Liu, Y.; Lei, C.; Cheng, R.; Liu, J. CBPWM and SVPWM equivalent relationship on single-phase NPC N-level inverters with arbitrary sequence. IET Power Electron. 2020, 13, 3975–3986. [Google Scholar] [CrossRef]
- Du, S.; Wu, B.; Zargari, N.R.; Cheng, Z. A Flying-Capacitor Modular Multilevel Converter for Medium-Voltage Motor Drive. IEEE Trans. Power Electron. 2017, 32, 2081–2089. [Google Scholar] [CrossRef]
- Celikovic, J.; Das, R.; Le, H.P.; Maksimovic, D. Modeling of Capacitor Voltage Imbalance in Flying Capacitor Multilevel DC-DC Converters. In Proceedings of the 2019 IEEE 20th Workshop on Control and Modeling for Power Electronics, COMPEL 2019, Toronto, ON, Canada, 17–20 June 2019; pp. 1–8. [Google Scholar] [CrossRef]
- Da Silva Carvalho, S.; Halamíček, M.; Vukadinović, N.; Prodić, A. Digital PWM for Multi-Level Flying Capacitor Converters with Improved Output Resolution and Flying Capacitor Voltage Controller Stability. In Proceedings of the 2018 IEEE 19th Workshop on Control and Modeling for Power Electronics, COMPEL 2018, Padova, Italy, 25–28 June 2018. [Google Scholar] [CrossRef]
- Lei, Y.; Liu, W.C.; Pilawa-Podgurski, R.C.N. An analytical method to evaluate flying capacitor multilevel converters and hybrid switched-capacitor converters for large voltage conversion ratios. In Proceedings of the 2015 IEEE 16th Workshop on Control and Modeling for Power Electronics, COMPEL 2015, Vancouver, BC, USA, 12–15 July 2015. [Google Scholar] [CrossRef]
- Diao, F.; Wu, X.; Xiong, C.; Feng, X. A simplified SVPWM strategy for universal single-phase multilevel converter. In Proceedings of the 2016 IEEE 8th International Power Electronics and Motion Control Conference, IPEMC-ECCE Asia 2016, Hefei, China, 22–26 May 2016; pp. 43–46. [Google Scholar] [CrossRef]
- Sneha, K.; Das, B.M. A low switching frequency based 17 level inverter with nearest level control. In Proceedings of the 9th IEEE International Conference on Power Electronics, Drives and Energy Systems, PEDES 2020, Jaipur, India, 16–19 December 2020. [Google Scholar]
- Liu, Q.; Chen, A.; Du, C.; Zhang, C. A modified nearest-level modulation method for modular multilevel converter with fewer sub-modules. In Proceedings of the 2017 Chinese Automation Congress, CAC 2017, Jinan, China, 20–22 October 2017; pp. 6551–6556. [Google Scholar]
- Park, Y.H.; Kim, D.H.; Kim, J.H.; Han, B.M. A new scheme for nearest level control with average switching frequency reduction for modular multilevel converters. J. Power Electron. 2016, 16, 522–531. [Google Scholar] [CrossRef]
- Bute, P.R.; Mittal, S.K. Simulation Study of Cascade H-bridge Multilevel Inverter 7-Level Inverter by SHE Technique. In Proceedings of the 4th International Conference on Computing Methodologies and Communication, ICCMC 2020, Erode, India, 11–13 March 2020; pp. 670–674. [Google Scholar]
- Nguyen, M.H.; Kwak, S. Nearest-Level Control Method with Improved Output Quality for Modular Multilevel Converters. IEEE Access 2020, 8, 110237–110250. [Google Scholar] [CrossRef]
- Dhayalini, K.; Vinothini, N. Design of multilevel inverter using Nearest Level Control Technique with reduced power switches. In Proceedings of the 4th International Conference on Electrical Energy Systems, ICEES 2018, Chennai, India, 7–9 February 2018; pp. 568–571. [Google Scholar]
- Setti, M.; Ouassaid, M.; Cherkaoui, M. New power efficient seven-level inverter topology controlled by flexible nearest level modulation. In Proceedings of the 2017 International Conference on Electrical and Information Technologies, ICEIT 2017, Rabat, Morocco, 15–18 November 2017; pp. 1–6. [Google Scholar]
- Sarwar, M.I.; Sarwar, A.; Farooqui, S.A.; Tariq, M.; Fahad, M.; Beig, A.R.; Alamri, B. A Hybrid Nearest Level Combined with PWM Control Strategy: Analysis and Implementation on Cascaded H-Bridge Multilevel Inverter and its Fault Tolerant Topology. IEEE Access 2021, 9, 44266–44282. [Google Scholar] [CrossRef]
- Leon, J.I.; Vazquez, S.; Watson, A.J.; Franquelo, L.G.; Wheeler, P.W.; Carrasco, J.M. Feed-forward space vector modulation for single-phase multilevel cascaded converters with any DC voltage ratio. IEEE Trans. Ind. Electron. 2009, 56, 315–325. [Google Scholar] [CrossRef]
- Leon, J.I.; Portillo, R.; Franquelo, L.G.; Vazquez, S.; Carrasco, J.M.; Dominguez, E. New space vector modulation technique for single-phase multilevel converters. IEEE Int. Symp. Ind. Electron. 2007, 617–622. [Google Scholar] [CrossRef]
- Zhang, J. Research on Control Method of Single-Phase Inverter Power Based on SVPWM. In Proceedings of the 2015 International Conference on Intelligent Systems Research and Mechatronics Engineering, Zhengzhou, China, 11–13 April 2015; pp. 942–945. [Google Scholar] [CrossRef]
- Zhang, Z.; Xie, Y.X.; Huang, W.P.; Le, J.Y.; Chen, L. A new SVPWM method for single-phase three-level NPC inverter and the control method of neutral point voltage balance. In Proceedings of the 12th International Conference on Electrical Machines and Systems, ICEMS 2009, Tokyo, Japan, 15–18 November 2009; pp. 3–6. [Google Scholar] [CrossRef]






















| Cell_1 State | Cell_2 State | Output Voltage |
|---|---|---|
| 0 | 0 | −2 Vdc |
| 0 | 1 | −Vdc |
| 1 | 0 | −Vdc |
| 0 | 2 | 0 |
| 1 | 1 | 0 |
| 2 | 0 | 0 |
| 1 | 2 | Vdc |
| 2 | 1 | Vdc |
| 2 | 2 | 2 Vdc |
| Input | Output | ||
|---|---|---|---|
| teta − 1 | Phase, index from cell n − 1 | Vm_out | Send the reference voltage amplitude to next cell |
| teta + 1 | Phase, index from cell n + 1 | Hrf_out | Send the reference voltage frequency to next cell |
| Vm_in | Get the reference voltage amplitude from previous cell | clkout | Send the synchronous clock pulse to others cell |
| Hrf_in | Get the reference voltage frequency from previous cell | A1, A1_NOT, B1, B1_NOT | The cell’s IGBT control signal. |
| clkin | Get synchronous clock pulse from master cell | ||
| EN | Enable | ||
| Parameter | Symbol | Unit | Value |
|---|---|---|---|
| Load | L | H | 0.01 |
| R | Ω | 10 | |
| Voltage source | Vdc_1 … Vdc_6 | V | 100 |
| Switching frequency | kHz | 10 | |
| Sampling time | Ts | s | 1 × 10−6 |
| Reference voltage signal | V | 550 | |
| Reference frequency signal | Hz | 50 |
| Symbol | Pin on DSP | Parameter |
|---|---|---|
| teta | DACA | Observe the phase angle of the cell |
| in | DACB | Observe the cell’s position |
| EN | GPIO 25 | Enable |
| SPIB (GPIO 64, 65, 66) | Received the amplitude of reference voltage from previous cell | |
| SPIA (GPIO 58, 60, 61) | Transmitted the amplitude of reference voltage to next cell | |
| SCIC (GPIO 56, 139) | Received the reference frequency from the previous cell | |
| SCID (GPIO 104, 105) | Transmitted the reference frequency to the next cell | |
| SCIA (GPIO 8, 9) SCIB (GPIO 18, 19) | Transmitted and received phase angle of cell | |
| GPIO 14 | Received synchronous clock pulse PWM from master cell | |
| GPIO 15 | Received synchronous clock pulse of the reference voltage from master cell | |
| GPIO 06 | Transmitted synchronous clock pulse PWM to others cell | |
| GPIO 04 | Transmitted synchronous clock pulse of the reference voltage to others cell | |
| An | GPIO 0 | The control signal IGBT An of cell_n |
| An_NOT | GPIO 1 | The control signal IGBT An_NOT of cell_n |
| Bn | GPIO 2 | The control signal IGBT Bn of cell_n |
| Bn_NOT | GPIO 3 | The control signal IGBT Bn_NOT of cell_n |
| Component | Information |
|---|---|
| Controller board | C2000 Delfino MCUs F28379D LaunchPad Development Kit, Texas Instruments, Dallas, TX, USA |
| Power circuit | IGBT GW40N120KD |
| Driver circuit | Hybrid integrated IGBT driver MORNSUN QP12W08S-37, MORNSUN Guangzhou Science & Technology Co., Ltd, GuanDong province, China |
| Current sensor | Current Transducer LTS 15-NP I P N = 15 At-LEM Tektronix A622 AC/DC current probe |
| Symbol | Parameter | Unit | Value |
|---|---|---|---|
| Z | Load resistor | Ω | 100 |
| Load inductor | H | 0.004 | |
| Vdc1…Vdc4 | Voltage source | V | 40 |
| fsw | Switching frequency | kHz | 10 |
| Ts | Sampling time | s | 5 × 10−5 |
| Vm | Reference voltage | V | 150 |
Publisher’s Note: MDPI stays neutral with regard to jurisdictional claims in published maps and institutional affiliations. |
© 2022 by the authors. Licensee MDPI, Basel, Switzerland. This article is an open access article distributed under the terms and conditions of the Creative Commons Attribution (CC BY) license (https://creativecommons.org/licenses/by/4.0/).
Share and Cite
Nguyen, P.C.; Phan, Q.D.; Nguyen, D.T. A New Decentralized Space Vector PWM Method for Multilevel Single-Phase Full Bridge Converters. Energies 2022, 15, 1010. https://doi.org/10.3390/en15031010
Nguyen PC, Phan QD, Nguyen DT. A New Decentralized Space Vector PWM Method for Multilevel Single-Phase Full Bridge Converters. Energies. 2022; 15(3):1010. https://doi.org/10.3390/en15031010
Chicago/Turabian StyleNguyen, Phu Cong, Quoc Dung Phan, and Dinh Tuyen Nguyen. 2022. "A New Decentralized Space Vector PWM Method for Multilevel Single-Phase Full Bridge Converters" Energies 15, no. 3: 1010. https://doi.org/10.3390/en15031010
APA StyleNguyen, P. C., Phan, Q. D., & Nguyen, D. T. (2022). A New Decentralized Space Vector PWM Method for Multilevel Single-Phase Full Bridge Converters. Energies, 15(3), 1010. https://doi.org/10.3390/en15031010

