Next Article in Journal
The Diverse Roles of Monocytes in Cryptococcosis
Previous Article in Journal
Comparison Effects of Ruminal Crabtree-Negative Yeasts and Crabtree-Positive Yeasts for Improving Ensiled Rice Straw Quality and Ruminal Digestion Using In Vitro Gas Production
 
 
Font Type:
Arial Georgia Verdana
Font Size:
Aa Aa Aa
Line Spacing:
Column Width:
Background:
Article

Increasing Prevalence of Multidrug-Resistant Candida haemulonii Species Complex among All Yeast Cultures Collected by a Reference Laboratory over the Past 11 Years

by
Soraia Lopes Lima
1,
Elaine Cristina Francisco
1,
João Nóbrega de Almeida Júnior
2,
Daniel Wagner de Castro Lima Santos
1,
Fabiane Carlesse
3,
Flávio Queiroz-Telles
4,
Analy Salles de Azevedo Melo
1 and
Arnaldo Lopes Colombo
1,*
1
Division of Infectious Diseases, Escola Paulista de Medicina-Universidade Federal de São Paulo, São Paulo 04024-002, Brazil
2
Divisão de Laboratório Central-LIM03, Hospital das Clínicas da FMUSP, São Paulo 01246-100, Brazil
3
Instituto de Oncologia Pediátrica, Universidade Federal de São Paulo, São Paulo 04023-062, Brazil
4
Departamento de Saúde Pública, Universidade Federal do Paraná, Curitiba 80.060-240, Brazil
*
Author to whom correspondence should be addressed.
J. Fungi 2020, 6(3), 110; https://doi.org/10.3390/jof6030110
Submission received: 16 June 2020 / Revised: 10 July 2020 / Accepted: 13 July 2020 / Published: 15 July 2020

Abstract

There is worldwide concern with the increasing rates of infections due to multiresistant Candida isolates reported in tertiary medical centers. We checked for historical trends in terms of prevalence rates and antifungal susceptibility of the Candida haemulonii species complex in our yeast stock culture collected during the last 11 years. The isolates were identified by sequencing the rDNA internal transcribed spacer (ITS) region, and antifungal susceptibility tests for amphotericin B, voriconazole, fluconazole, anidulafungin, and 5-fluorocytosine were performed by the Clinical and Laboratory Standards Institute (CLSI) microbroth method. A total of 49 isolates were identified as Candida haemulonii sensu stricto (n = 21), followed by C. haemulonii var. vulnera (n = 15) and C. duobushaemulonii (n = 13), including 38 isolates cultured from patients with deep-seated Candida infections. The prevalence of the C. haemulonii species complex increased from 0.9% (18 isolates among 1931) in the first period (December 2008 to June 2013) to 1.7% (31 isolates among 1868) in the second period (July 2014 to December 2019) of analysis (p = 0.047). All isolates tested exhibited high minimum inhibition concentrations for amphotericin B and fluconazole, but they remained susceptible to 5-fluorocytosine and anidulafungin. We were able to demonstrate the increased isolation of the multiresistant Candida haemulonii species complex in our culture collection, where most isolates were cultured from patients with deep-seated infections.

1. Introduction

The Candida haemulonii species complex comprises emerging opportunistic yeast pathogens represented by C. haemulonii sensu stricto, C. haemulonii var. vulnera, and C. duobushaemulonii that are considered to be closely related to C. pseudohaemulonii and C. auris [1]. This species complex is able to cause superficial and deep-seated infections, including candidemia, especially in neonates, patients with cancer and/or diabetes mellitus, as well as critically ill patients exposed to invasive medical procedures and antibiotics [2,3,4].
The prevalence of C. haemulonii and C. duobushaemulonii in medical centers that use classical phenotypic identification methods (e.g., Vitek 2, Biomérieux) may be underestimated since these systems cannot accurately ascertain these species [1,2,3,4,5]. Accurate identification of this species complex has been carried out by molecular tools or by matrix-assisted laser desorption ionization time-of-flight mass spectrometry (MALDI-ToF MS) [1,5,6], and this represents a crucial step in driving antifungal therapy once these pathogens can be frequently characterized as multidrug resistant (MDR), exhibiting a high minimum inhibitory concentration (MIC) to amphotericin B (AMB) and triazoles [7,8,9,10].
The majority of publications addressing the C. haemulonii species complex are based on single-center experiences and small series [3,7,10], with the exception of three multicenter studies published in the last years that analyzed 30, 31, and 40 isolates each [1,4,11]. In order to check for historical trends in the prevalence rate of species and their antifungal susceptibility results, we checked for all C. haemulonii species complex isolates in our yeast culture collection obtained during the last 11 years, including samples collected from patients admitted in 12 medical centers.

2. Materials and Methods

2.1. Selection of C. haemulonii Species Complex Clinical Isolates

We selected a total of 49 clinical isolates of the C. haemulonii species complex that had been stored in the yeast culture collection at Laboratório Especial de Micologia, Escola Paulista de Medicina, Universidade Federal de São Paulo, São Paulo, Brazil. All clinical isolates were sent to our center by routine laboratories from 12 hospitals in Brazil including all sequential isolates that were cultured from patients assisted during the period between 2008 and 2019. The yeasts were sequentially cultured from different patients (49), including samples from diverse anatomic sites. In order to check for the prevalence rates of species within the C. haemulonii species complex in our yeast culture collection, we included, as denominator, a total of 3799 yeast isolates that were stored in our laboratory along the same period of time. Sequential isolates obtained from the same patients were excluded from the analysis. This study was approved by the ethics committee of our university (CEP-UNIFESP Number 5454270220, approved on 16 March 2020).

2.2. Molecular Identification by Sequencing of rDNA ITS

The identification of isolates was carried out as previously described [12]. PCR, for amplification of the internal transcribed spacer (ITS) rDNA region, was performed using the primer pair V9G (5′-TTACGTCCCTGCCCTTTGTA-3′) and LS266 (5′-GCATTCCCAAACAACTCGACTC-3′) [13,14]. Sequencing of the amplicons was performed using the forward primers V9G and ITS1 (5′-TCCGTAGGTGAACCTGCGG-3′) and the reverse primers LS266 and ITS4 (5′-TCCTCCGCTTATTGATATGC-3′) [14,15]. Sequences were assembled based on four reads per isolate and edited in Sequencher 4.1.4 (Gene Codes Corporation, Ann Arbor, MI, USA). The ITS sequences were aligned and edited using the muscle algorithm implemented in SeView software 4.2.12 [16] excluding 18S and 28S rDNA.
The consensus was compared to reference sequences deposited in the GenBank and ISHAM Barcoding Databases (https://blast.ncbi.nlm.nih.gov; http://its.mycologylab.org). Accurate species identification targets included an E-value of ≤10−5 and identity and coverage of ≥98% [12,13].
The final identification at species level was confirmed by phylogenetic analysis using the neighbor-joining method based on the Kimura two-parameter model with 1000 bootstrap pseudo-replicates, including type sequences of the C. haemulonii species complex in SeaView [17].
The rDNA ITS sequences of Candida haemulonii species complex clinical strains were deposited in the GenBank database. For complete information, including strain number, species name, and accession numbers, see Table S1.

2.3. Antifungal Susceptibility Tests

Antifungal susceptibility tests for AMB (Sigma Aldrich, St. Louis, MI, USA), voriconazole (VRC, Sigma), fluconazole (FLC, Sigma), anidulafungin (AFG, Sigma), and 5-fluorocytosine (5FC, Sigma) were performed using the CLSI broth microdilution method [18]. The concentrations tested ranged between 0.03 and 16 µg/mL for all drugs, except FLC (ranged from 0.125 to 64 µg/mL). MIC values were determined after 48 h of incubation as suggested by Cendejas-Bueno et al. [1].

2.4. Statistical Analysis

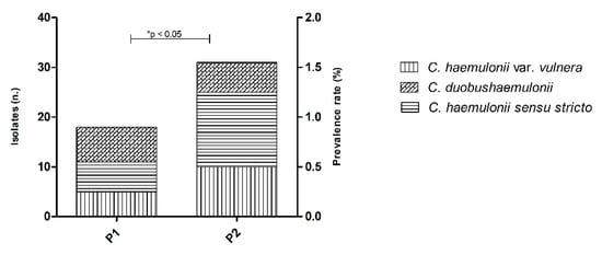
In order to check for historical trends in species distribution, prevalence rates of the C. haemulonii species complex were checked taking into consideration all yeast samples collected along two different time periods: (Ι) period 1 (P1) with 1931 yeast isolates (including 18 C. haemulonii species complex) collected between December 2008 and June 2013; (ΙΙ) period 2 (P2) with 1868 yeast isolates (including 31 C. haemulonii species complex) collected between July 2014 and December 2019. Prevalence rates in both periods (P1 vs. P2) were compared by chi-square tests. Finally, antifungal MIC values obtained for each of the three C. haemulonii cryptic species were compared by a Kruskal–Wallis test. All tests with p < 0.05 were considered statistically significant.

3. Results

3.1. Prevalence Rates of the C. haemulonii Species Complex

The 49 yeast isolates were cultured from the following clinical samples: blood/central venous catheter tips (n = 33; 67.5%), tissue biopsies (n = 4; 8%), respiratory tract fluids (n = 4; 8%), skin/vaginal samples (n = 6; 12.5%), spinal fluid (n = 1; 2%), and urine (n = 1; 2%). The 38 isolates (77.5%), collected from blood/catheter tips, tissue biopsies, and spinal fluid, were implicated in causing episodes of deep-seated Candida infections, in contrast with the 11 (22.4%) isolates recovered from the skin, vagina, urine, and respiratory tract that were considered as colonizers.
Taking all 49 isolates tested, C. haemulonii sensu stricto was the most common species found (n = 21; 43%), followed by C. haemulonii var. vulnera (n = 15; 30.5%) and C. duobushaemulonii (n = 13; 26.5%). Considering only the 38 isolates related to episodes of deep-seated Candida infections, C. haemulonii sensu stricto remained the most common species found (42%), followed by C. haemulonii var. vulnera and C. duobushaemulonii. Notably, C. haemulonii sensu stricto was present in five (45%) out 11 isolates considered as colonizers.
In terms of historical trends in species distribution documented in our yeast stock collection during the last 11 years, we noted that the prevalence of Candida haemulonii species complex isolates increased from 0.9% (18 isolates among n = 1931) in the first period to 1.7% (31 isolates among n = 1868) in the second period of analysis (p = 0.047) (Figure 1). No substantial changes in the frequency of the isolation of species within the C. haemulonii species complex were documented in both periods, and C. haemulonii sensu stricto remained as the most common species found during the 11 years (P1 n = 6; 33.4% vs. P2 n = 15; 48.3%, p > 0.05).

3.2. Antifungal Susceptibility Profiles

As summarized in Table 1, the MIC values for the 49 clinical isolates of the C. haemulonii species complex ranged from 1 to ≥16 µg/mL for AMB, 1 to ≥64 µg/mL for FLC, 0.03 to ≥16 µg/mL for VRC, 0.06 to 1 µg/mL for 5FC, and 0.03 to 0.5 µg/mL for AFG.
We were able to find some species-specific patterns of antifungal susceptibility in our collection, where C. duobushaemulonii isolates exhibited the highest AMB MIC values (GM = 3.41 μg/mL) when compared to C. haemulonii sensu stricto (GM = 1.64 μg/mL) and C. haemulonii var. vulnera (GM = 1.74 μg/mL; p < 0.05). In contrast, C. duobushaemulonii isolates presented lower VRC MIC values (GM = 0.36 μg/mL) when compared with MIC results obtained from isolates of the other two species tested (GM = 1.03 and 1.44 μg/mL, p < 0.05). Finally, regardless of the species considered, all isolates tested exhibited high FLC MICs GMss ranging from 10.42 to 17.80), but remained highly susceptible to 5FC and AFG (GMs ranging from 0.10 to 0.20 µg/mL).
Regarding the antifungal susceptibility tests performed with isolates cultured from different anatomical sites, we were not able to identify any significant differences between MICs generated with isolates from episodes of deep-seated infections when compared to those obtained by patients probably colonized by these pathogens.

4. Discussion

Despite the C. haemulonii species complex being considered among the rare human pathogens, concerns about their incidence rates and antifungal resistance appear to be increasing worldwide [1,3,11]. In the present study, we found a prevalence rate of 1.3% of the C. haemulonii species complex in our Brazilian yeast collection of 3799 clinical isolates stored over the last 11 years. Other authors have reported prevalence rates of the C. haemulonii species complex ranging between 0.01% and 0.3% of their yeast stock cultures [4,11,19,20].
Remarkably, we were able to demonstrate a substantial increase in the isolation of C. haemulonii species complex during the last 11 years, from 18 out 1931 (0.9%) isolates cultured in P1 versus 31 out 1868 (1.7%) isolates identified in P2 (p = 0.047). The facts behind the emergence of this species complex are still not completely understood, but it may be related to the increasing rates of patients submitted to invasive medical procedures, the selective pressure of prophylaxis, and empirical therapy with antifungals [1,4,21].
As reported by other authors, C. haemulonii sensu stricto was the most prevalent species found followed by C. haemulonii var. vulnera and C. duobushaemulonii when checking isolates obtained either from yeasts cultured from invasive episodes of infection or from colonized patients [1,4,11,22,23]. Otherwise, it is important to highlight that C. haemulonii var. vulnera and C. duobushaemulonii together were found in 57% (n = 28) of all isolates in our analysis.
In terms of their antifungal susceptibility, all C. haemulonii species complex isolates we tested exhibited high MIC values against AMB and FLC, a finding that was already reported by several investigators [7,8,9,10,11]. In contrast, they all exhibited low MIC50 and MIC90 values against 5FC and anidulafungin. The clinical relevance of this finding remains unclear, but most authors suggest that episodes of infections with C. haemulonii species complex should be treated with echinocandins, instead of using fluconazole and amphotericin B [4,7,11].
In regard to antifungal MICs obtained with isolates representative of different species within the C. haemulonii species complex, we found that C. duobushaemulonii presented higher AMB MIC values and lower results of VRC MICs when compared to the other species tested. This finding is in accordance with previous results reported by Kumar et al. [3] and Cendejas-bueno et al. [1].
The molecular mechanisms involved in antifungal resistance with C. haemulonii species complex isolates are not completely understood. However, initial data suggest that substitutions in the ERG11 gene, chromosomal duplications, and efflux pumps were found to be associated with azole resistance in Latin American C. haemulonii and C. duobushaemulonii isolates [23,24].
Finally, we were not able to identify any significant differences between MIC results generated by yeast isolates cultured from episodes of deep-seated infections when compared to those obtained from colonized patients. Notably, the limited number of isolates tested impairs any definitive conclusion in this regard.
In conclusion, our main findings were as follows: (Ι) prevalence rates of C. haemulonii species complex isolates increased in our yeast culture collection during the last 11 years; (ΙΙ) despite C. haemulonii sensu stricto representing the most common species found, 57% of isolates were identified as C. haemulonii var. vulnera or C. duobushaemulonii, including cultures obtained from patients with deep-seated infections; (ΙΙΙ) all species tested exhibited high MIC values against amphotericin B and fluconazole, making it clear that these fungal pathogens appear to be multiresistant, but still susceptible to echinocandins.

Supplementary Materials

The following are available online at https://www.mdpi.com/2309-608X/6/3/110/s1, Table S1: Ribosomal DNA ITS sequences of 49 Candida haemulonii species complex deposited in public sequence database. Species names, strains, and GenBank accession numbers.

Author Contributions

Conceptualization, A.L.C. and A.S.d.A.M.; Investigation, S.L.L.; Methodology, A.L.C., S.L.L. and E.C.F.; Formal Analysis, A.L.C., S.L.L., E.C.F. and A.S.d.A.M.; Data Curation, A.L.C., S.L.L. and E.C.F.; Writing—Original Draft Preparation, Review & Editing, A.L.C., S.L.L., E.C.F. and A.S.d.A.M.; Resources, A.L.C., J.N.d.A.J., D.W.d.C.L.S., F.C. and F.Q.-T., Supervision, Project Administration, and Funding Acquisition, A.L.C. All authors have read and agreed to the published version of the manuscript.

Funding

This research was funded by Fundação de Amparo à Pesquisa do Estado de São Paulo, FAPESP, grant number 2017/02203-7. S.L.L. received a scholarship from CAPES, grant number 88882.430766/2019-01.

Acknowledgments

We are very grateful to Ângela Tavares Paes from Pró-Reitoria de Pós-Graduação e Pesquisa da UNIFESP/EPM for helping with the statistical analysis.

Conflicts of Interest

Arnaldo Lopes Colombo received research grants from Astellas and Pfizer and also educational grants from Astellas, Eurofarma, Biotoscana, United Medical, Gilead, MSD, and Pfizer. The funders had no role in the design of the study; in the collection, analyses, or interpretation of data; in the writing of the manuscript, or in the decision to publish the results. All the other authors declare no conflict of interest.

References

  1. Cendejas-Bueno, E.; Kolecka, A.; Alastruey-Izquierdo, A.; Theelen, B.; Groenewald, M.; Kostrzewa, M.; Cuenca-Estrella, M.; Gómez-López, A.; Boekhout, T. Reclassification of the Candida haemulonii complex as Candida haemulonii (C. haemulonii group I.), C. duobushaemulonii sp. nov. (C. haemulonii group II), and C. haemulonii var. vulnera var. nov.: Three multiresistant human pathogenic yeasts. J. Clin. Microbiol. 2012, 50, 3641–3651. [Google Scholar] [CrossRef] [PubMed]
  2. Muro, M.D.; de Araújo Motta, F.; Burger, M.; Melo, A.S.A.; Dalla-Costa, L.M. Echinocandin resistance in two Candida haemulonii isolates from pediatric patients. J. Clin. Microbiol. 2012, 50, 3783–3785. [Google Scholar] [CrossRef]
  3. Kumar, A.; Prakash, A.; Singh, A.; Kumar, H.; Hagen, F.; Meis, J.F.; Chowdhary, A. Candida haemulonii species complex: An emerging species in India and its genetic diversity assessed with multilocus sequence and amplified fragment-length polymorphism analyses. Emerg. Microbes Infect. 2016, 25, 49. [Google Scholar] [CrossRef] [PubMed]
  4. De Almeida, J.N., Jr.; Assy, J.G.; Levin, A.S.; Del Negro, G.M.B.; Giudice, M.C.; Tringoni, M.P.; Thomaz, D.Y.; Motta, A.L.; Abdala, E.; Pierroti, L.C.; et al. Candida haemulonii Complex Species, Brazil, January 2010–March 2015. Emerg. Infect. Dis. 2016, 22, 561–563. [Google Scholar] [CrossRef] [PubMed]
  5. Colombo, A.L.; Júnior, J.N.A.; Guinea, J. Emerging multidrug-resistant Candida species. Curr. Opin. Infect. Dis. 2017, 30, 528–538. [Google Scholar] [CrossRef]
  6. Muñoz, J.F.; Gade, L.; Chow, N.A.; Loparev, V.N.; Juieng, P.; Berkow, E.L.; Farrer, R.A.; Litvintseva, A.P.; Cuomo, A.C. Genomic insights into multidrug-resistance, mating and virulence in Candida auris and related emerging species. Nat. Commun. 2018, 9, 5346. [Google Scholar] [CrossRef]
  7. Kim, S.; Ko, K.S.; Moon, S.Y.; Lee, M.S.; Lee, M.Y.; Son, J.S. Catheter-related candidemia caused by Candida haemulonii in a patient in long-term hospital care. J. Korean Med. Sci. 2011, 26, 297–300. [Google Scholar] [CrossRef]
  8. Crouzet, J.; Sotto, A.; Picard, E.; Lachaud, L.; Bourgeois, N. A case of Candida haemulonii osteitis: Clinical features, biochemical characteristics, and antifungal resistance profile. Clin. Microbiol. Infect. 2011, 17, 1068–1070. [Google Scholar] [CrossRef]
  9. Rodero, L.; Cuenca-Estrella, M.; Córdoba, S.; Cahn, P.; Davel, G.; Kaufman, S.; Guelfand, L.; Rodríguez-Tudela, J.L. Transient fungemia caused by an amphotericin B-resistant isolate of Candida haemulonii. J. Clin. Microbiol. 2002, 40, 2266–2269. [Google Scholar] [CrossRef]
  10. Khan, Z.U.; Al-Sweih, N.A.; Ahmad, S.; Al-Kazemi, N.; Khan, S.; Joseph, L.; Chandyet, R. Outbreak of fungemia among neonates caused by Candida haemulonii resistant to amphotericin B, itraconazole, and fluconazole. J. Clin. Microbiol. 2007, 45, 2025–2027. [Google Scholar] [CrossRef]
  11. Hou, X.; Xiao, M.; Chen, S.C.; Wang, H.; Cheng, J.-W.; Chen, X.-X.; Xu, Z.-P.; Fan, X.; Kong, F.; Xu, Y.-C. Identification and Antifungal Susceptibility Profiles of Candida haemulonii Species Complex Clinical Isolates from a Multicenter Study in China. J. Clin. Microbiol. 2016, 54, 2676–2680. [Google Scholar] [CrossRef] [PubMed]
  12. Merseguel, K.B.; Nishikaku, A.S.; Rodrigues, A.M.; Padovan, A.C.; e Ferreira, R.C.; Melo, A.S.A.M.; da Silva Briones, M.R.; Colombo, A.L. Genetic diversity of medically important and emerging Candida species causing invasive infection. BMC Infect. Dis. 2015, 15, 57. [Google Scholar] [CrossRef] [PubMed]
  13. Irinyi, L.; Serena, C.; Garcia-Hermoso, D.; Arabatzis, M.; Desnos-Ollivier, M.; Vu, D.; Cardinali, G.; Arthur, I.; Normand, A.-C.; Giraldo, A.; et al. International Society of Human and Animal Mycology (ISHAM)-ITS reference DNA barcoding database—The quality controlled standard tool for routine identification of human and animal pathogenic fungi. Med. Mycol. 2015, 53, 313–337. [Google Scholar] [CrossRef] [PubMed]
  14. Van Gerrits den Ende, A.H.G.; de Hoog, G.S. Variability and molecular diagnostics of the neurotropic species Cladophialophora bantiana. Stud. Mycol. 1999, 43, 151–162. [Google Scholar]
  15. White, T.J.; Bruns, T.; Lee, S.; Taylor, J.W. Amplification and direct sequencing of fungal ribosomal RNA genes for phylogenetics. In PCR Protocols: A Guide to Methods and Applications; Innis, M.A., Gelfand, D.H., Sninsky, J.J., White, T.J., Eds.; Academic Press, Inc.: New York, NY, USA, 1990; pp. 315–322. [Google Scholar]
  16. Gouyet, M.; Guindon, S.; Gascuel, O. SeaView version 4: A multiplatform graphical user interface for sequence alignment and phylogenetic tree building. Mol. Biol. Evol. 2010, 27, 221–224. [Google Scholar] [CrossRef]
  17. Saitou, N.; Nei, M. The neighbor-joining method: A new method for reconstructing phylogenetic trees. Mol. Biol. Evol. 1987, 4, 406–425. [Google Scholar] [CrossRef]
  18. Clinical and Laboratory Standards Institute (CLSI). M27-A3: Reference Method for Broth Dilution Antifungal Susceptibility Testing of Yeasts, 3rd ed.; Clinical and Laboratory Standards Institute (CLSI): Wayne, PA, USA, 2008. [Google Scholar]
  19. Pfaller, M.A.; Castanheira, M.; Messer, S.A.; Moet, G.J.; Jones, R.N. Variation in Candida spp. distribution and antifungal resistance rates among bloodstream infection isolates by patient age: Report from the SENTRY Antimicrobial Surveillance Program (2008-2009). Diagn. Microbiol. Infect. Dis. 2010, 68, 278–283. [Google Scholar] [CrossRef]
  20. Pfaller, M.A.; Diekema, D.J.; Turnidge, J.D.; Castanheira, M.; Jones, R.N. Twenty Years of the SENTRY Antifungal Surveillance Program: Results for Candida Species from 1997–2016. Open Forum Infect. Dis. 2019, 15, S79–S94. [Google Scholar] [CrossRef]
  21. Jackson, B.R.; Chow, N.; Forsberg, K.; Litvintseva, A.P.; Lockhart, S.R.; Welsh, R.; Vallabhaneni, S.; Chiller, T. On the Origins of a Species: What Might Explain the Rise of Candida auris? J. Fungi. 2019, 5, 58. [Google Scholar] [CrossRef]
  22. Kim, M.N.; Shin, J.H.; Sung, H.; Lee, K.; Kim, E.-C.; Ryoo, M.; Lee, J.S.; Jung, S.-I.; Park, K.H.; Kee, S.J.; et al. Candida haemulonii and closely related species at 5 university hospitals in Korea: Identification, antifungal susceptibility, and clinical features. Clin. Infect. Dis. 2009, 48, 57–61. [Google Scholar] [CrossRef]
  23. Ben-Ami, R.; Berman, J.; Novikov, A.; Bash, E.; Shachor-Meyouhas, Y.; Zakin, S.; Maor, Y.; Tarabia, J.; Schechner, V.; Adler, A.; et al. Multidrug-Resistant Candida haemulonii and C. auris, Tel Aviv, Israel. Emerg. Infect. Dis. 2017, 23, 195–203. [Google Scholar] [CrossRef] [PubMed]
  24. Gadi, L.; Muñhoz, J.F.; Seith, M.; Wagner, D.; Berkow, E.L.; Forsberg, K.; Jackson, B.R.; Ramos-Castro, R.; Escandón, P.; Dolande, M.; et al. Understanding the Emergence of Multidrug-Resistant Candida: Using Whole-Genome Sequencing to Describe the Population Structure of Candida haemulonii Species Complex. Front. Genet. 2020, 11. [Google Scholar] [CrossRef] [PubMed]
Figure 1. Prevalence rates of C. haemulonii species complex clinical isolates. P1: December 2008 to June 2013; P2: July 2013 to December 2019.
Figure 1. Prevalence rates of C. haemulonii species complex clinical isolates. P1: December 2008 to June 2013; P2: July 2013 to December 2019.
Jof 06 00110 g001
Table 1. Antifungal susceptibility testing of 49 C. haemulonii species complex clinical isolates.
Table 1. Antifungal susceptibility testing of 49 C. haemulonii species complex clinical isolates.
Species (n)MICsAntifungals Tested (µg/mL)
AMBFLCVRC5FCAFG
C. haemulonii sensu stricto (21)MIC50280.50.1250.125
MIC902>64>160.1250.25
GM1.6410.421.030.130.10
Range1–82–(>64)0.03–(>16)0.06–0.250.06–0.25
C. haemulonii var. vulnera (15)MIC502160.50.1250.125
MIC902>64>160.50.25
GM1.7413.931.440.200.13
Range1–41–(>64)0.03–(>16)0.125–10.03–0.25
C. duobushaemulonii (13)MIC504160.250.250.125
MIC90>163210.250.25
GM3.4117.800.360.200.10
Range1–(>16)8–(>64)0.06–(>16)0.125–0.50.03–0.5
Amphotericin B (AMB); voriconazole (VRC); fluconazole (FLC); anidulafungin (AFG); 5-fluorocytosine (5FC); minimum inhibitory concentration able to inhibit 50% of all isolates tested (MIC50); minimum inhibitory concentration able to inhibit 90% of all isolates tested (MIC90); geometric mean (GM); number of isolates tested (n).

Share and Cite

MDPI and ACS Style

Lima, S.L.; Francisco, E.C.; de Almeida Júnior, J.N.; Santos, D.W.d.C.L.; Carlesse, F.; Queiroz-Telles, F.; Melo, A.S.d.A.; Colombo, A.L. Increasing Prevalence of Multidrug-Resistant Candida haemulonii Species Complex among All Yeast Cultures Collected by a Reference Laboratory over the Past 11 Years. J. Fungi 2020, 6, 110. https://doi.org/10.3390/jof6030110

AMA Style

Lima SL, Francisco EC, de Almeida Júnior JN, Santos DWdCL, Carlesse F, Queiroz-Telles F, Melo ASdA, Colombo AL. Increasing Prevalence of Multidrug-Resistant Candida haemulonii Species Complex among All Yeast Cultures Collected by a Reference Laboratory over the Past 11 Years. Journal of Fungi. 2020; 6(3):110. https://doi.org/10.3390/jof6030110

Chicago/Turabian Style

Lima, Soraia Lopes, Elaine Cristina Francisco, João Nóbrega de Almeida Júnior, Daniel Wagner de Castro Lima Santos, Fabiane Carlesse, Flávio Queiroz-Telles, Analy Salles de Azevedo Melo, and Arnaldo Lopes Colombo. 2020. "Increasing Prevalence of Multidrug-Resistant Candida haemulonii Species Complex among All Yeast Cultures Collected by a Reference Laboratory over the Past 11 Years" Journal of Fungi 6, no. 3: 110. https://doi.org/10.3390/jof6030110

APA Style

Lima, S. L., Francisco, E. C., de Almeida Júnior, J. N., Santos, D. W. d. C. L., Carlesse, F., Queiroz-Telles, F., Melo, A. S. d. A., & Colombo, A. L. (2020). Increasing Prevalence of Multidrug-Resistant Candida haemulonii Species Complex among All Yeast Cultures Collected by a Reference Laboratory over the Past 11 Years. Journal of Fungi, 6(3), 110. https://doi.org/10.3390/jof6030110

Note that from the first issue of 2016, this journal uses article numbers instead of page numbers. See further details here.

Article Metrics

Back to TopTop