Next Article in Journal
The Asymptotic Behavior and Blow-Up Rate of a Solution with a Lower Bound on the Highest Existence Duration for Semi-Linear Pseudo-Parabolic Equations
Next Article in Special Issue
Dynamic Data-Driven Deterioration Model for Sugarcane Shredder Hammers Oriented to Lifetime Extension
Previous Article in Journal
The Time Series Classification of Discrete-Time Chaotic Systems Using Deep Learning Approaches
Previous Article in Special Issue
A Method for Predicting Tool Remaining Useful Life: Utilizing BiLSTM Optimized by an Enhanced NGO Algorithm
 
 
Font Type:
Arial Georgia Verdana
Font Size:
Aa Aa Aa
Line Spacing:
Column Width:
Background:
Article

Methodology of Shipboard Spare Parts Requirements Based on Whole Part Repair Strategy

1
Department of Basic Courses, Naval University of the Engineering, Wuhan 430033, China
2
College of Naval Architecture and Ocean Engineering, Naval University of the Engineering, Wuhan 430033, China
*
Author to whom correspondence should be addressed.
Mathematics 2024, 12(19), 3053; https://doi.org/10.3390/math12193053
Submission received: 29 August 2024 / Revised: 20 September 2024 / Accepted: 26 September 2024 / Published: 29 September 2024

Abstract

This paper introduces an assessment method for shipboard spare parts requirements based on a whole-part repair strategy, aimed at enhancing the availability and combat effectiveness of naval equipment. Addressing the shortcomings of traditional repair strategies, this study innovatively adopts a whole-part rotation repair approach to reduce repair times and improve the rapid response capability of equipment. An evaluation model for support probability and fill rate is established, and Monte Carlo simulation techniques are applied to simulate the impact of different maintenance strategies on spare parts demand and equipment availability. This study also conducts a sensitivity analysis of key parameters, including Mean Time Between Failures (MTBF), repair demand probability, and faulty part repair cycle, to assess their influence on spare parts requirements and equipment availability. The results indicate that the whole-part repair strategy can effectively reduce spare parts demand and enhance equipment availability. In conclusion, the whole-part repair strategy demonstrates a distinct advantage in shipboard spare parts management, optimizing inventory management while ensuring combat readiness. This research provides a novel analytical approach for naval logistics and maintenance planning.

1. Introduction

In recent years, the security of spare parts has become a key challenge in the research on military equipment security. Spare parts provide a material basis for the effective implementation of equipment maintenance and activities of a ship. Therefore, the accurate estimation of spare parts demand is critical for ensuring the normal operation of ship equipment, enhancing the ship readiness rate, and improving the combat readiness level of the troops [1].
To address this, several studies have developed methods for determining and forecasting spare parts requirements. Some researchers have employed historical data on spare part utilization to build forecasting models for spare parts demand, such as the exponential smoothing model, which is commonly used [2,3]. In 1972, Croston proposed Croston’s model based on the exponential smoothing model and demonstrated its superiority [4]. Syntetos et al. [5] and Teunter et al. [6] found that Croston’s method was inadequate for some cases, resulting in high demand forecasts for spare parts. Subsequently, Syntetos modified Croston’s method and developed the Syntetos–Boylan approximation method (SBA). Amirkolaii [7] utilized neural networks and the mean squared error metric in conjunction with the data from Dassault Aviation to forecast the demand for aircraft spares and showed that the demand forecasting accuracy exceeded those of Croston’s method and the exponential smoothing method. As the Markov process has the advantage of memorylessness and the ability to handle stochasticity and uncertainty in spare part demand based on a probabilistic framework, it has been widely used for demand forecasting of spares. Treharne et al. [8] demonstrated that spare parts demand can be viewed as a Markov decision process and developed a demand model. Sun et al. [9] focused on the optimal inspection/replacement Condition-Based Maintenance (CBM) strategy, employing the Markov decision framework to derive maintenance decisions that minimize maintenance costs. Using limited historical data on spare parts consumption, Cai et al. [10] developed an improved gray Markov model by fusing the gray and Markov models and used it to forecast spare parts demand. The Markov method assumes that the failure interval time and repair time of spare parts obey the exponential distribution, which is typically inconsistent with the actual patterns of spare parts usage. Moreover, establishing the state transfer probability matrix with incomplete data proves a challenge [11].
Due to the highly stochastic nature of spare parts demand, demand forecasting methods that consider historical data are typically inadequate. In the last two decades, the number of models for assessing spare parts demand based on safeguard indicator parameters of spare parts, such as reliability, repairability, safeguard probability, life, and failure rate, has significantly increased [12]. These models typically use a safeguard indicator as a quantitative metric and estimate the spare parts demand for the desired level of the safeguard indicator by analyzing the relationship between spare parts and the safeguard indicator. Nouri et al. [13] used a covariate-based reliability model to estimate spare parts demand using the reliability characteristics of the equipment. Their results showed that the covariates had a significant impact on the spare parts demand. Rodrigues and Yoneyyama [14] optimized a spare parts allocation scheme based on the equipment health management data using acquisition cost as the optimization objective and the spare parts fill rate as the constraint. Wang et al. [15] developed a spares allocation model with the single spares fill rate and system fill rate as the constraints and system utilization rate as the objective function. They used this model to determine the initial number of spares for torpedo base level and base level maintenance. Ma et al. [16] investigated the spares problem with multi-product, multi-cycle, and multi-stage assemblies with on-demand requirements considering the cost structure of spares, assembly time, and other factors. Turrini et al. [17] used the Kolmogorov–Smirnov fitting test and obtained the best-fit distribution of spares consumption based on industrial and air force spares consumption data to predict spares allocation. Liu et al. [18] developed a spare parts demand prediction model for the k/n(G) system using an exponential distribution for the spare parts and determined the spare parts demand characteristics.
Due to the complexity of these mathematical models, it is difficult to solve them using analytical mathematical methods. Conventionally, researchers utilize simulation methods such as the Monte Carlo method. Pankaj et al. [19] proposed a simulation method to model troop equipment failures using genetic algorithms (GAs) and predict spare parts requirements before and during the mission. Boutselis et al. [20] generated safeguard base data via a simulation and predicted spare parts demand for different safeguard scenarios using a Bayesian network model. Bai et al. [21] proposed a simulation-based spare parts consumption prediction model and compared the prediction results with those of other models. Their results demonstrated the effectiveness of predicting spare parts demand using simulation-based methods. Johannsmann et al. [22] addressed the issue of optimizing the utilization of spare parts warehouse space by developing a two-stage stochastic programming model. They implemented a scenario-based approach in which failures are simulated using a Monte Carlo method, ultimately determining the optimal spare parts portfolio.
A review of the existing literature reveals that most of the existing techniques for forecasting spare parts requirements are based on a replacement–repair strategy. The replacement–repair strategy involves determining the type of spare parts based on the smallest replaceable unit of the equipment. When equipment failure occurs, the failed unit is first identified, and the failure is then rectified by replacing this unit. Larbi et al. [23] proposed a methodology for numerically comparing three maintenance strategies: repair upon failure, replacement only at the first occurrence of failure, and replacement at every failure. They introduced a novel simulation algorithm to estimate the number of replacements, and ultimately demonstrated through empirical evidence that the third strategy is the most effective in reducing maintenance costs to a lower level. Li et al. [24] developed optimization models for Scheduled Maintenance (SM) at the unit level and Condition-Based Maintenance (CBM). Based on these, they established an optimization model for a preventive opportunistic maintenance strategy under a hybrid unit-level maintenance policy, which was solved using an optimization algorithm based on Monte Carlo simulation. Su et al. [25] simulated a joint preventive maintenance strategy combining Condition-Based Maintenance (CBM) and Time-Based Maintenance (TBM), introducing a novel approach termed Time-Incomplete Maintenance (TBIM) based on TBM and imperfect repairs. They further proposed a new joint preventive maintenance strategy integrating TBIM and CBM, ultimately demonstrating the superiority and effectiveness of the proposed maintenance methodology. Chen et al. [26] considered the practical factors of maintenance costs under various maintenance strategies and proposed a new significant metric based on two types of maintenance costs. This metric includes a failure-triggered replacement strategy (replacing damaged components), a life-based component preventive replacement, and a strategy for replacing components that have been in use for a period of time, as well as a hybrid strategy combining the first two. They also provided methods for calculating the importance measures of series and parallel systems based on maintenance costs.
However, the demand for spare parts is not only influenced by the ship’s equipment lifespan and mission but also by the repair strategy when the equipment fails. Studies have shown that although the conventional replacement repair strategy of using the smallest replaceable unit as spare parts minimizes the repair time for faults, when the fault is difficult to locate, disassembling and assembling the components proves challenging. In addition, the equipment debugging requirements after replacement are higher, and the replacement repair may take 60 days or longer, which severely affects equipment availability and the onboarding rate of the ship. Therefore, the estimation of spare parts demand must consider the impact of the mission requirements, spare parts specifications, and maintenance methods of a ship [27,28].
Therefore, this paper addresses equipment failures that entail lengthy component replacement times by first proposing a maintenance strategy based on the rotation repair of whole parts of the ship. Under the condition of an exponential distribution, a model for evaluating the capability of spare parts support probability and fill rates is established. Utilizing Monte Carlo simulation algorithms, the strategy simulates commonly employed naval maintenance tactics, including failure-triggered replacement and Scheduled Maintenance (SM). It calculates the required quantity of spare parts under given capability evaluation indices and further analyzes the differences in spare parts demand and equipment availability compared to traditional component replacement strategies, thereby assessing the advantages and disadvantages of the proposed maintenance strategy.
The remaining parts of this paper are organized as follows: Section 2 introduces the whole parts rotation repair strategy, including the definition of whole parts and the rotation repair process, as well as the maintenance strategy. Section 3 establishes models for spare parts support probability and fulfillment rates based on two capability evaluation indices. In Section 4, Monte Carlo methods are employed to generate failure information, simulating failure-triggered replacement and Scheduled Maintenance (SM) strategies using these models. Section 5 validates the proposed methods with a case study and analyzes the results. Finally, Section 6 summarizes the entire work and discusses potential future research directions.

2. Maintenance Strategy Based on Rotational Repair of Whole Parts

2.1. Definition of Whole Parts of the Entire Machine

The whole parts of a ship compose its functional equipment and are an important part of any ship. Typically, they include several parts and components in relatively independent modules. Common whole parts include the inertial platform, antenna base, and equipment chassis.
Determining the whole parts of a machine is based on the following two principles.
First, for maintenance projects that are difficult to carry out on-site and have a long maintenance cycle, it is appropriate to follow the composition of the equipment structure upwards to seek combinations that can be readily repaired and identify them as whole parts of the entire machine. For instance, when equipment failure occurs, it takes at least 30 days to replace a component and complete the parameter calibration, whereas it takes only 5 days to directly replace the combination of components that are a level above it. Therefore, this combination can be identified as a whole part of the machine corresponding to the failure.
Second, for maintenance projects with long fault localization times, it is appropriate to seek combinations that can be readily repaired in accordance with the composition and structure of the equipment and identify them as whole parts of the entire machine. For example, when equipment failure occurs, it takes about seven days to locate the failure on site, whereas it takes only one day to directly replace the corresponding component. In such a case, this component can be identified as a whole part of the machine corresponding to the failure.

2.2. Repair Process for the Rotation of Whole Parts of the Machine

As mentioned in Section 2.1, the repair strategy for whole parts of a machine is designed for equipment failures that are time-consuming to repair using the conventional changeover repair strategy. The exchange repair process can be divided into the following three segments.
First, the typical faults of the equipment and its corresponding machine parts are identified, and these parts are stocked as spare parts in the warehouse.
Next, when this fault occurs, the corresponding machine parts are directly removed and replaced with the stocked machine parts to ensure a quick repair.
Finally, the replaced machine with faulty parts is sent for repair and then returned to the warehouse for storage until further use after the repair is complete.

2.3. Repair Strategy for the Whole Parts of the Machine

The maintenance strategies commonly used for ships include the following two strategies:
(1)
Fault-Triggered Replacement: This strategy is inherently reactive, focusing on monitoring equipment until a failure occurs, at which point immediate action is taken. The central principle is to replace or repair a component solely upon its failure. Although this method minimizes downtime prior to actual failure, it may result in unexpected breakdowns. These breakdowns can be disruptive and expensive, particularly if they impact critical systems.
(2)
Scheduled Maintenance: Also known as preventative maintenance, this approach involves systematic, planned maintenance activities executed according to a predefined schedule. These schedules are typically based on time intervals, usage cycles, or specific performance metrics. The objective of Scheduled Maintenance is to preempt failures by maintaining equipment in an optimal working condition. This strategy helps mitigate the unpredictability and potential severity associated with fault-triggered scenarios but may inadvertently lead to over-maintenance. Over-maintenance entails replacing parts more frequently than necessary, which can escalate costs.
This study evaluates these two prevalent maintenance strategies, weighing the pros and cons of each to formulate an optimized maintenance plan that maximizes both efficiency and reliability.

3. Spare Parts Warranty Metrics Model for the Replacement Repair Strategy

To facilitate a better understanding of the various technical parameters and symbols employed in this document, please refer to Table 1.

3.1. Support Probability Models for Exponential Spare Parts

The support probability is one of the most commonly used indicators for spare parts assurance. According to the Chinese military standard GJB4355, it is defined as the probability that spare parts are available when equipment failure occurs and a replacement is needed. The mathematical expression for the support probability, when the number of spare parts is m and the assurance time is T , can be defined as follows:
P = P { N ( T ) m }
where N ( T ) is the number of failures within the time period T . Within the support period T , multiple spare part replacement actions have been carried out. The support probability can also be represented as
P = n s n
where n s denotes the number of successful spare part provisions, and n represents the total number of spare part requests.
The spare parts support probability is frequently used for the spare parts allocation of components in newly developed equipment, for which sufficient spare parts must be stocked in advance to handle failures and production reorganization. However, using the support probability to determine the spare parts support probability for ships typically yields a conservative estimate. Therefore, the support probability model is suitable for determining the number of spare parts required for a small number of more critical components.
For a single piece of equipment, assume that m spares are allocated during the coverage period ( 0 , T ] , and let the life of m spares be T 1 , T 2 , , T m , which are independent of each other and are a sequence of nonnegative continuous random variables. The distribution and density functions of each spare part are F m ( t ) and f m ( t ) , respectively. Therefore, a system composed of spare parts can be regarded as a completely reliable cold reserve system, and it is evident that the life of this system is
S m = T 1 + T 2 + T m
Thus, the lifetime distribution of the system is
F ( t ) = P { S m t } = F 1 ( t ) F 2 ( t ) F m ( t )
where F i ( t ) is the lifetime distribution of the first i cell and denotes the convolution operation.
N ( t ) = sup { m , S n t }
{ N ( t ) , t > 0 } is a time-continuous, state-discrete stochastic process with time space ( 0 , ) and state space { 0 , 1 , 2 , } . N ( t ) is the number of failures occurring in time ( 0 , t ] . The events { N ( t ) k } and { S k t } are equivalent and are expressed as the number of failures occurring in time ( 0 , t ] being greater than k ; therefore, the probability that exactly k failures occur in time ( 0 , t ] is
P { N ( t ) = k } = P { N ( t ) k } P { N ( t ) k + 1 } = P { S k t } P { S k + 1 t } = F ( k ) ( t ) F ( k + 1 ) ( t )
where F ( k ) ( t ) is the k-fold convolution of F ( t ) .
Then, the probability that the equipment will fail no more than m times in time ( 0 , T ] , i.e., the probability of safeguarding, is
P { N ( T ) m } = k = 0 m P { N ( T ) = k } = k = 0 m F ( k ) ( T ) F ( k + 1 ) ( T ) = 1 F ( m + 1 ) ( T )
For a given spare parts support probability P ( 0 < P < 1 ) , Equation (6) can be used to find the demand for spare parts at time ( 0 , T ] , as follows:
F ( m + 1 ) ( T ) = 1 P
When the parts follow an exponential distribution, the distribution function and density function are, respectively,
f ( t ) = λ e λ t , F ( t ) = 1 e λ t
where λ is the parameter of the exponential distribution f ( t ) , indicating the failure rate (the probability of a failure occurring). Then, its k th re-convolution is
F ( k ) ( t ) = e λ t i = 0 k ( λ t ) i i ! ( 1 ) k i
According to Equation (7), the relationship between the demand for spare parts and the spare parts support probability at time ( 0 , T ] can be obtained as [29,30]:
P = 1 F ( m + 1 ) = 1 e λ T i = 0 m ( λ T ) i i !

3.2. Fill Rate Model for Exponential Spare Parts

Fill rate refers to the ratio of the spare parts stocked in the ship to meet the requirements of equipment maintenance and support. It represents the extent to which spare parts can be provided for the actual failure of equipment during the ship’s training mission. Therefore, the fill rate is an important indicator to measure the number of spare parts required to meet the mission requirements of the ship [31].
Assuming that the ship carries m identical spare parts during the mission, and considering the original part on the equipment as a part as well, the actual number of parts carried by the ship is m + 1 . The working time of the parts during the mission is T , and the number of times the parts fail during the period is k . Based on these conditions, fill rate is defined as the ratio of the number of times the spare parts are replaced and repaired to the number of times the spare parts are actually required in time T , which is denoted as P f . Therefore, P f is a discrete random variable that is related to random variable k in the following way.
(1)
When 0 k m , i.e., the actual number of failures of the component is less than the number of spares, the fill rate of spares P f is 1.
(2)
When k > m , i.e., the actual number of failures of the component is greater than the number of spares carried, the fill rate of spares P f is m + 1 k + 1 . Here, the addition of 1 in the numerator signifies that the component itself is considered a spare part; further, the addition of 1 in the denominator signifies that to ensure normal operation of the equipment, the demand for spare parts should be 1 more than the number of component failures. The relationship between the fill rate P f and the number of failures k is presented in Table 2.
In summary, the relationship between the fill rate P f and the number of failures k is as follows.
P f = 1 0 k m m + 1 k + 1 m < k
Equation (11) expresses the fill rate of available spare parts during a single mission from a statistical perspective. To determine the expected guaranteed capacity of the available quantity of spare parts and calculate the quantity of spare parts based on this guaranteed capacity, the mathematical expectation of the fill rate P f is defined as the fill rate of spare parts.
For a spare part with an exponential distribution, let the failure rate be λ . Then, the spare parts fill rate is
P f ( m , T ) = E Y = 1 T 0 T P ( m , t ) d t
where P ( m , t ) is the initial support probability corresponding to the configuration of m spare parts, as expressed in Equation (10). The detailed derivation is presented in Appendix A. From the derivation process, it can be concluded that
P f ( m , T ) > P ( m , T ) , T > 0
For a given fill rate P f ( 0 < P f < 1 ) , the spare parts requirement for time ( 0 , T ] can be found using Equation (12).

4. Spare Parts Requirement Algorithm Based on the Rotation Repair Strategy for Whole Components

In the demand model for whole component spare parts, two scenarios must be considered—first, the ship fails to perform spare parts replacement and repair during the mission, and second, the ship carries out regular repairs [32]. The spare parts supply system is appropriately simplified. When a component failure occurs, if the component is stocked with spare parts for replacement, the faulty parts are immediately sent for repair, and the repair time is not tracked. If there are no spare parts, the equipment is shut down while waiting for the faulty parts to be repaired and returned before restarting the operation. This principle is depicted in Figure 1.
The simulation principle for the whole spare parts demand of the ship is presented in Figure 2.
To ensure the estimation accuracy of support probability P in the Monte Carlo simulation method, the number of simulations must be maximized. According to the central limit theorem, when the number of simulations n is large enough, the distribution of the simulation error ε > 0 converges to a normal distribution with the parameters ( 0 , σ 2 ) . According to the characteristics of the normal distribution, the 95% probability range is within ±1.96 times the standard deviation from the mean, i.e.,
1.96 σ ε
The relationship between the standard deviation σ and the number of simulations n is σ = σ 0 / n , where σ 0 is the overall standard deviation. Substituting this into Equation (14), the number of simulations n must satisfy
n ( 1.96 σ 0 / ε ) 2
This accuracy requirement can be guaranteed. Most of the equipment in the ship are combined electromechanical systems, and the Chinese national standard stipulates that the value of σ 0 for electromechanical equipment is generally in the range of (0.5, 1.3) [33]. If ε = 1 % , the range of n is n 9604 .
Equipment availability is the ratio of the time duration in which a particular piece of equipment can be used normally to the total time duration. It can be calculated based on its definition as [34]
A = M T B F M T B F + M T T R
where M T B F and M T T R are the mean time between failures and the mean time to repair the equipment, respectively.

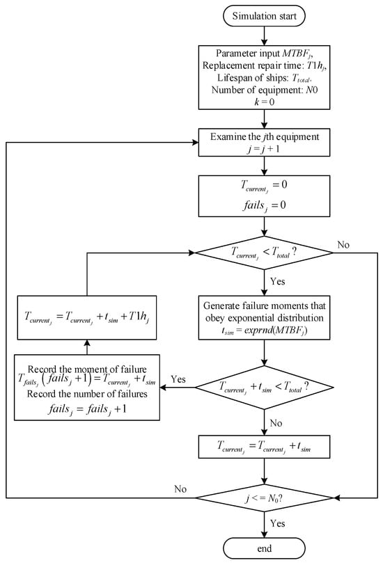
4.1. Equipment Failure Simulation

In the rotational repair strategy for whole parts of the entire machine, the ship fails to perform spare parts replacement and repair during the mission. This principle is depicted in Figure 3. A simulation is performed according to the law of equipment failure to predict the consumption of spare parts.
The simulation method comprises the following steps.
Step 1: The parameters, mean time between failures MTBF, replacement repair time T 1 h , and ship service life T t o t a l are specified.
Step 2: Fault moments t s i m that obey the exponential distribution are generated. The fault moments T f a i l s and the number of faults f a i l s are recorded. Next, the different distribution laws are simulated by changing the M T B F . For exponential spares whose distribution function is expressed in Equation (8), simulated fault time random data are generated such that they obey the exponential distribution, as follows:
t sim = 1 λ ln ( 1 R ( t ) )
Here, F ( t ) [ 0 , 1 ] and λ = 1 / M T B F . The algorithm generates a random number R ( t ) in the range of [ 0 , 1 ] . Substituting this into Equation (17) yields fault moment data that obey the exponential distribution.
Step 3: The current mission time T c u r r e n t is updated. If the current mission time is less than the service life of the ship T t o t a l , Step 2 is repeated; if not, the simulation ends.
This simulation algorithm is depicted in Figure 4.
In the case of a base-level repair facility, spare parts are stocked to meet the requirements of multiple ships at the base. That is, the spares requirement for a whole component j is the sum of the requirements for the component j for multiple ships in the base.

4.2. Grade Repair Simulation

Class repairs currently utilize a regular repair model based on calendar time repair requirements. The regular repair model involves the following: first, the different types of ship repair are carried out according to predetermined repair intervals expressed in calendar time; second, the basic repair intervals and the probability of class repair are determined primarily based on the type of the ship. The existing ship repair categories are mainly divided into three categories—first-class, second-class, and third-class repair. A schematic of grade repair is shown in Figure 5.
The following steps are involved in this process.
Step 1: The parameters, equipment class repair schedule D j = [ D 1 i , D 2 i , , D n i ] , ( i = 1 , 2 , 3 ) , and probability of repair requirements for Classes I, II, and III of the ship type p i ( i = 1 , 2 , 3 ) are specified.
Step 2: If the equipment must be repaired at the instant D j , the number of failures f a i l s 2 and the repair time T f a i l s 2 are recorded; if not, Step 3 begins.
Step 3: If the maximum number of level repairs has been reached, the simulation is terminated; if not, Step 2 is repeated.
This simulation algorithm is summarized in Figure 6.
For a whole component, two statuses exist for level repair—needing repair and not needing repair. That is, for the part j , there are two states, namely X j = 0 or X j = 1 . If X j = 0 , the component j does not need to be repaired; if X j = 1 , the component j must be repaired. Therefore, the binomial distribution B ( 1 , p ) can be used to represent the state of the whole part at the repair level. Assuming that the probability of demand for a major component at a certain level of repair moment is p , the probability distribution law of whether the component needs to be repaired at this level of repair moment is
P ( X j ) = p X j = 1 1 p X j = 0
Subsequently, the random number function is used to generate a random number such that the probability of generating 0 is 1 p and the probability of generating 1 is p .

4.3. Statistics of Spare Parts Requirements

Obtaining the statistics of spare parts requirements involves the following steps.
Step 1: The parameters, number of spare parts m , and total number of times a fault occurs that requires replacement f a i l s j + f a i l s 2 j are specified. For part j , the moment of failure of the part T f a i l s and the time of the level repair T f a i l s 2 are merged. Next, the list is sorted to form a new fault sequence list t i m e 0 .
Step 2: The spare parts requirement based on the fault sequence list t i m e 0 and the number of times a component fails and needs replacement D e m are calculated.
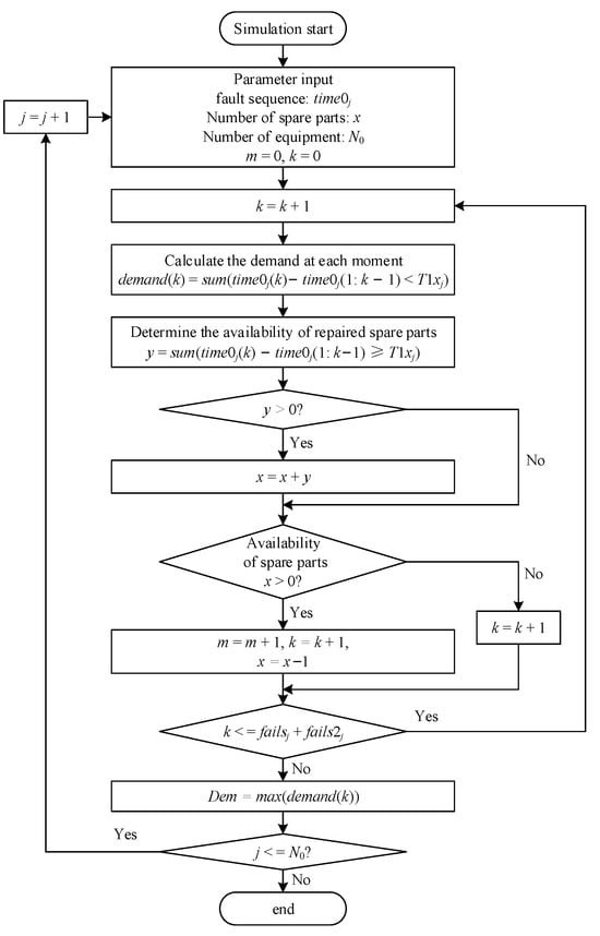
Step 3: For each replacement, if there are available spare parts, the number of spare parts is reduced by 1 to indicate a replacement. Conversely, if there is no replaceable spare part, the spare part fulfillment fails. This algorithm is depicted in Figure 7.
Step 4: If after traversing all the faults, the number of repairs must be changed, the simulation is terminated; if not, Step 2 is repeated.
When the interval between two failures of part j is greater than the equipment workshop repair time T 1 x , i.e., t i m e 0 ( j , k ) t i m e 0 ( j , 1 : k 1 ) < T 1 x ( j ) , the defective part exchanged in the last failure can be considered as repaired and used as a spare part, as shown in Figure 8.
These steps are repeated n times, and the number of times the spare parts requirement is less than or equal to the number of spare parts n s = i = 1 n ( d e m x ) is counted. The number of instances of successful fulfillment for each time n f and the total number of failures requiring replacement f a i l s j + f a i l s 2 j are then calculated. According to the law of large numbers, for a sufficiently large number of trials, the spare parts support probability can be expressed as
P = n s n
The spare parts fill rate can be expressed as
P f = 1 n i = 1 n n f f a i l s + f a i l s 2
The equipment availability can be expressed as
A j = 1 n f T 1 h j + ( f a i l s j + f a i l s 2 j n f ) T 1 x j T t o t a l j
The pseudo code for the key part of the simulation algorithm is found in Appendix B.

5. Example Analysis

5.1. Model Sensitivity Test

In this experiment, we take two major whole parts of a certain model of shipboard radar equipment—the antenna pedestal and the antenna—as examples to conduct spare parts demand forecasting and sensitivity analysis. Initially, by evaluating the maintenance metric parameters of these components, we obtained parameter indicators Mean Time Between Failures (MTBF), Repair level Demand probability (p), faulty part repair cycle (T1x), and replacement repair cycle (T1h) as shown in Table 3.
The service life of this ship is 10,950 days, and the timing of level repairs during the service period is as shown in Table 4.
We conducted a sensitivity analysis of support probability and fill rate, focusing on the impact of Mean Time Between Failures (MTBF), Repair level Demand probability (p), faulty part repair cycle (T1x), and the number of simulations (n) on system output.1. Impact of MTBF.
We adjusted the value of MTBF, varying it through a series of multiplier factors (e.g., 0.8, 1.0, 1.2 times) to assess its impact on support probability and fill rate.
The experiments showed that an increase in MTBF generally led to an improvement in support probability, as a longer mean time between failures reduced component failure frequency. Similarly, a higher MTBF also improved fill rate, indicating that the system is more manageable in terms of resource demand.
Figure 9 displayed curves of support probability and fill rate under different MTBF factors to visually demonstrate the impact of parameter changes.

5.1.1. Impact of Repair Level Demand Probability (p)

We adjusted the probabilities of different levels of repair demand separately and observed their impact on system performance.
The experiments revealed that an increase in the probability of level repairs demand had an adverse effect on support probability, as more frequent repairs led to increased spare parts demand. Similarly, higher level repair probabilities also reduced fill rate, as it becomes more challenging to fulfill all repair tasks with limited resources.
Figure 10 compared support probability and fill rate under different repair level demand probabilities through multiple curves to demonstrate the effectiveness of repair strategies.

5.1.2. Impact of Faulty Part Repair Cycle (T1x)

Varied faulty part repair cycle using different scaling factors to test its impact on system metrics.
The experiments found that longer faulty part repair cycles typically reduced support probability due to slower resource recovery. The impact on fill rate could also be negative, as delayed repairs might result in insufficient spare parts available for component replacement.
Figure 11 displayed curves of support probability and fill rate under different faulty part repair cycle conditions to highlight the importance of faulty part repair cycle management.

5.1.3. Impact of Number of Simulations (n)

Experiments were conducted using multiple sets of simulation numbers (1000, 5000, 10,000) to test the effect of sample size on result stability and accuracy.
The experiments showed that with an increase in the number of simulations, the curves of support probability and fill rate tended to become smoother and more stable, indicating improved repeatability and accuracy of results. Under conditions of low simulation numbers, the results might be significantly affected by randomness.
Figure 12 compared result curves under different numbers of simulations to emphasize the impact of sample size on result confidence.

5.2. Impact of Repair Strategies on Metrics

In this experiment, a base is responsible for maintaining four ships of the same model, whose Inertial Navigation Systems (INSs) have Inertial Measurement Unit (IMU) components with a mean time between failures (MTBF) of 3650 days, following an exponential life distribution. Data provided by maintenance experts indicate that the repair cycle for whole parts replacement is 3 days, while the repair cycle for faulty components is 270 days. Based on the echelon repair times shown in Table 2, the demand probabilities for level I, II, and III repairs are 0.7, 0.3, and 0, respectively. These parameters were input into the simulation algorithm, with 10,000 simulations conducted to evaluate the relationship between spare parts demand and support probability and fill rate under the complete unit replacement maintenance strategy. According to the crew’s experience, the total time for locating the IMU fault, disassembling, and replacing the faulty component is approximately 30 days. Under the normal maintenance strategy, we also calculated the relationship between spare parts demand and support probability and fill rate. A comparative analysis of the results from the two maintenance strategies is visually presented in Figure 13.
Subsequently, the availability of the Inertial Navigation System during the ships’ service period, given different spare parts quantities under the two strategies, was calculated. The results are presented in Table 5.
As shown in Table 5, a clear difference exists between the impacts of the whole component changeover method and the normal changeover method on equipment availability. This difference is illustrated in Figure 14.

5.3. Impact of Repair Strategies on Multiple Types of Equipment

In this experiment, to validate the effectiveness and applicability of the simulation algorithm in predicting spare parts demand for various equipment, this study selected four types of critical equipment units from this class of ships as test subjects. During the service period of the ships, all equipment reliability metrics are required to remain above 0.9. By applying the simulation algorithm, we determined the spare parts demand for different types of equipment. The specific equipment parameters and simulation results have been compiled in Table 6 for further analysis and discussion.
To evaluate the impact of different maintenance strategies on the availability of four different types of equipment, we implemented various replacement strategies for each equipment type based on the spare parts quantity conditions corresponding to the fulfillment rate indicator (which requires fewer spare parts) listed in Table 5. Under these conditions, we calculated the availability of each equipment type. These calculations aim to reveal how different maintenance strategies affect the operational availability of equipment at specific spare parts supply levels. The detailed availability data have been compiled in Table 7 and Figure 15.
The following conclusions can be drawn from these results.
(1)
From Experiment 1, it can be observed that in the prediction and sensitivity analysis of spare parts demand for naval radar equipment, increasing the mean time between failures (MTBF) and shortening the repair cycle can effectively enhance the system’s assurance probability and fulfillment rate. Meanwhile, moderately controlling the probability of depot-level repair demand can prevent excessive growth in spare parts demand, thereby maintaining system stability. Additionally, increasing the number of simulations can significantly improve the accuracy and stability of the results, ensuring the reliability of the analytical conclusions.
(2)
When comparing the curves of support probability and fulfillment rate, we observed that the fulfillment rate is generally higher than the support probability at the same spare parts inventory level. This phenomenon is particularly pronounced when the number of spare parts is small, especially when there are only 1 to 2 items. In such cases, the support probability reflects a spare parts support capability that appears overly conservative, potentially leading to spare parts overstock, increased inventory costs, and management complexity.
Furthermore, the support probability curve shows a steep increase when the number of spare parts reaches three to four items, which is particularly evident in Experiment 1. This steep rise may pose challenges for support personnel in determining the optimal spare parts inventory level, as the abrupt change in the curve could obscure the true pattern of spare parts demand, thereby impacting the rational allocation of maintenance resources and the accuracy of decision-making.
(3)
In Figure 13, it is observable that there is a significant correlation between the demand for spare parts and the maintenance strategy employed, under the same performance metrics. This difference is particularly pronounced when the number of spare parts is two or three. Specifically, under the implementation of a complete unit replacement strategy, the maintenance cycle is shortened, allowing components to quickly regain functionality. This results in an extended actual operational time for the components over the entire lifespan of the ship. As the operational time of the components increases, the probability of failure also rises, leading to a corresponding increase in the demand for spare parts.
(4)
Figure 14 shows that the complete component replacement strategy can significantly enhance the availability of the inertial navigation system, especially when the number of spare parts is limited. According to Table 7 and Figure 15, under the specified requirement conditions, the complete component replacement strategy demonstrates higher availability across all types of equipment examined. For example, for navigation equipment, the availability with the complete replacement strategy is 98.4%, compared to 88.9% with normal maintenance, a difference of 9.39%. Similar trends are observed for reconnaissance equipment, weapon systems, and communication devices, where the availability under the complete component replacement strategy is 98.8%, 98.9%, and 97.7%, respectively, compared to 92.6%, 93.3%, and 85.2% under the normal maintenance strategy, resulting in differences of 6.32%, 5.56%, and 12.5%, respectively.

6. Qualitative Analysis of Maintenance Strategy Costs

The cost differences between whole part replacement and normal repair can be analyzed from several perspectives:
  • Procurement Costs:
Whole part Replacement: Requires the procurement of entire components or assemblies, which typically incurs higher costs as purchasing complete units is often more expensive than buying individual parts.
Normal Repair: Usually only requires the replacement of faulty parts, resulting in lower procurement costs.
2.
Inventory Costs:
Whole part Replacement: Necessitates a larger inventory of whole parts, leading to higher inventory costs, including storage fees and potential obsolescence.
Normal Repair: Involves a diverse range of parts with smaller quantities per part, potentially resulting in lower overall inventory costs.
3.
Repair Time and Labor Costs:
Whole part Replacement: Offers faster replacement times with lower labor costs, reducing equipment downtime.
Normal Repair: May require longer repair times with higher labor costs, resulting in extended equipment downtime.
4.
Equipment Downtime Costs:
Whole part Replacement: Due to quicker repair times, downtime is minimized, thereby reducing production losses or service interruptions.
Normal Repair: ** Longer downtime can lead to higher production or service interruption costs.
5.
Skills and Training Costs:
Whole part Replacement: Requires relatively lower skill levels, leading to reduced training costs.
Normal Repair: Demands higher technical skills, resulting in higher training costs for specialized expertise.
6.
Long-Term Economic Benefits:
Whole part Replacement: Although it may increase costs in the short term, it can potentially reduce overall operational costs in the long term by minimizing downtime and enhancing equipment availability.

7. Discussion and Conclusions

7.1. Discussion

This study presents a comprehensive analysis of the maintenance strategy based on the rotational repair of whole parts for shipboard equipment. Through the application of Monte Carlo simulations and a systematic evaluation of spare parts requirements, the research provides valuable insights into the operational readiness and maintenance efficiency of naval vessels.
  • Impact of Maintenance Strategy on Spare Parts Demand:
The findings indicate that the whole parts replacement strategy significantly influences the demand for spare parts. This strategy, compared to traditional repair methods, not only expedites the repair process but also leads to a moderate increase in the number of spare parts required. This increase is justified by the enhanced equipment availability and reduced downtime, which are critical for maintaining operational readiness.
2.
Simulation Accuracy and Practical Implications:
The Monte Carlo simulation method employed in this study demonstrates high accuracy in predicting spare parts demand and equipment availability. This method’s effectiveness is particularly evident in scenarios where traditional forecasting models fall short due to the stochastic nature of equipment failures. The practical application of these findings can lead to more informed decision-making in inventory management and maintenance planning.
3.
Equipment Availability and Operational Readiness:
The research underscores the importance of equipment availability in determining the operational readiness of ships. The whole parts replacement strategy, despite requiring a higher initial investment in spare parts, results in superior availability rates. This outcome is crucial for military and commercial fleets where downtime can have significant operational and financial implications.
4.
Economic Considerations:
While the whole parts replacement strategy may incur higher procurement and inventory costs initially, the long-term economic benefits in terms of reduced downtime and maintenance costs are substantial. This strategy aligns with the shift towards proactive maintenance practices that prioritize system reliability and longevity over immediate cost savings.

7.2. Conclusions

  • Superiority of Whole Parts Replacement Strategy:
The study concludes that the whole parts replacement strategy is superior in enhancing equipment availability and reducing downtime compared to traditional repair methods. This strategy aligns with modern maintenance practices that focus on system efficiency and operational readiness.
2.
Validation of Simulation Methodology:
The Monte Carlo simulation methodology used in this research proves to be a reliable tool for predicting spare parts demand and evaluating maintenance strategies. Its accuracy and flexibility in handling stochastic variables make it a valuable asset in maintenance planning and resource allocation.
3.
Economic Benefits of Proactive Maintenance:
The economic analysis suggests that despite the higher upfront costs associated with the whole parts replacement strategy, the long-term benefits in terms of operational efficiency and reduced maintenance overheads justify its implementation. This conclusion supports the adoption of proactive maintenance strategies that prioritize long-term system health over immediate cost considerations.
4.
Recommendations for Future Research:
Future research should explore the integration of advanced predictive analytics and machine learning algorithms to further refine spare parts demand forecasting. Additionally, studies on the environmental impact and lifecycle costs associated with different maintenance strategies could provide a more comprehensive evaluation framework for maintenance decision-making.
In conclusion, this research presents a robust analytical framework for evaluating maintenance strategies and spare parts management in naval applications. The findings advocate for a shift towards more proactive and system-oriented maintenance practices that enhance operational readiness and long-term economic viability.

Author Contributions

Conceptualization, H.L. and H.W.; methodology, S.S.; software, H.W.; validation, H.L. and H.W.; formal analysis, H.W.; investigation, S.S.; resources, Z.Z.; data curation, H.W.; writing—original draft preparation, H.W.; writing—review and editing, Z.Z. and S.S. All authors have read and agreed to the published version of the manuscript.

Funding

This research received no external funding.

Institutional Review Board Statement

Not applicable.

Informed Consent Statement

Not applicable.

Data Availability Statement

The data presented in this study are available on request from the corresponding author. The data are not publicly available due to privacy.

Acknowledgments

We extend our deepest appreciation to Wang Zhuo for his invaluable guidance, unwavering support, and mentorship throughout this research.

Conflicts of Interest

The authors declare no conflicts of interest.

Appendix A

The discrete random variable X obeys the Poisson distribution, which is expressed as
P ( X = k ) = ( λ T ) k k ! e λ T
Then, the mathematical expectation of the fill rate Y is
P f ( m , T ) = E Y = i = 0 m P ( X = i ) + i = m + 1 m + 1 i + 1 P ( X = i ) = P ( m , T ) + i = m + 1 m + 1 i + 1 ( λ T ) i i ! e λ T = P ( m , T ) + m + 1 λ T i = m + 1 ( λ T ) i + 1 ( i + 1 ) ! e λ T = P ( m , T ) + m + 1 λ T i = m + 2 ( λ T ) i i ! e λ T
As i = 0 ( λ T ) i i ! = e λ T , Equation (A1) reduces to
P f ( m , T ) = P ( m , T ) + e λ T m + 1 λ T e λ T i = 0 m + 1 ( λ T ) i i ! = P ( m , T ) + m + 1 λ T 1 P ( m + 1 , T )
where P ( m + 1 , T ) is the initial spare parts support probability for m + 1 spare parts during the task time T .
To simplify the fill rate model, P ( m + 1 , T ) in Equation (A2) can be split, as follows.
( m + 1 ) P ( m + 1 , T ) = ( m + 1 ) 1 + λ T + ( λ T ) 2 2 ! + + ( λ T ) m m ! + ( λ T ) m + 1 ( m + 1 ) ! e λ T = ( m + 1 ) + m λ T + ( m 1 ) ( λ T ) 2 2 ! + ( m 2 ) ( λ T ) 3 3 ! + + 2 ( λ T ) m 1 ( m 1 ) ! + ( λ T ) m m ! e λ T + λ T 1 + λ T + ( λ T ) 2 2 ! + + ( λ T ) m 1 ( m 1 ) ! + ( λ T ) m m ! e λ T
Substituting Equation (A3) into Equation (A1) yields
P f ( m , T ) = m + 1 ( m + 1 ) + m λ T + ( m 1 ) ( λ T ) 2 2 ! + ( m 2 ) ( λ T ) 3 3 ! + + 2 ( λ T ) m 1 ( m 1 ) ! + ( λ T ) m m ! e λ T = 1 T ( m + 1 ) 1 λ ( e λ T 1 ) m T e λ T ( m 1 ) λ T 2 2 ! e λ T ( m 2 ) λ 2 T 3 3 ! e λ T 2 λ m 2 T m 1 ( m 1 ) ! e λ T λ m 1 T m m ! e λ T
In Equation (A4), 1 λ e λ T 1 = 0 T e λ t d t can be combined with Equation (A5),
x n e a x d x = 1 a x n e a x n a x n 1 e a x d x
to obtain
P f ( m , T ) = 1 T 0 T e λ t d t + m 0 T e λ t d t T e λ T ( m 1 ) ( λ T ) 2 2 ! e λ T ( m 2 ) λ 2 T 3 3 ! e λ T 2 λ m 2 T m 1 ( m 1 ) ! e λ T λ m 1 T m m ! e λ T = 1 T 0 T e λ t d t + 0 T λ t e λ t d t + ( m 1 ) 0 T λ t e λ t d t λ T 2 2 ! e λ T ( m 2 ) λ 2 T 3 3 ! e λ T 2 λ m 2 T m 1 ( m 1 ) ! e λ T λ m 1 T m m ! e λ T = 1 T 0 T e λ t d t + 0 T λ t e λ t d t + 0 T ( λ t ) 2 2 ! e λ t d t + + 0 T ( λ t ) m m ! e λ t d t = 1 T 0 T P ( m , t ) d t

Appendix B

Algorithm A1: main
  • For each simulation i from 1 to n
  •         For each type of whole part j from 1 to N1
  •                 Initialize variables
  •                 For each equipment k from 1 to N0(j)
  •                         Set the current task time of the equipment T_current(k) to 0
  •                         Set the failure count of the equipment n_fail(k) to 0
  •                         Initialize an array rec_fail_T to record the failure moments of the current equipment as a zero array
  •                         While T_current(k) < T_total
  •                                 Generate a failure moment t_sim
  •                                 If T_current(k) + t_sim < T_total
  •                                         Record the failure moment
  •                                         Update the task time T_current(k)
  •                                         Increment the failure count n_fail(k)
  •                                 Else
  •                                         Update the task time T_current(k)
  •                                 end
  •                           end
  •                 end
  •                 Record and sort all failure moments for the jth type of whole part
  •                 Count the total number of failures for each type of whole part
  •         end
  •         Initialize failure moments and counts for level repair
  •         For each type of whole part j from 1 to N1
  •                 For each level repair moment m
  •                         Decide based on probability whether maintenance is needed
  •                         If maintenance is needed
  •                                 Record the failure count and the maintenance moment
  •                         end
  •                 end
  •         end
  •         Merge and sort all moments of failure
  •         For each type of whole part
  •                 Calculate the demand based on failure moments and specified time intervals
  •                 Calculate the support probability
  •                 Calculate the fill rate
  •         end
  • end

References

  1. Wang, R.; Li, H.; Li, Q.; Peng, Y.; Wei, H. Optimal allocation of spare parts based on mission reliability of ship formation. Ordnance Ind. Autom. 2011, 30, 15. [Google Scholar]
  2. Gardner, E.S., Jr. Exponential smoothing: The state of the art. J. Forecast. 1985, 4, 1–28. [Google Scholar] [CrossRef]
  3. Gardner, E.S., Jr. Exponential smoothing: The state of the art—Part II. Int. J. Forecast. 2006, 22, 637–666. [Google Scholar] [CrossRef]
  4. Croston, J.D. Forecasting and stock control for intermittent t demands. J. Oper. Res. Soc. 1972, 23, 289–303. [Google Scholar] [CrossRef]
  5. Syntetos, A.; Boylan, J.E. On the bias of intermittent demand estimates. Int. J. Prod. Econ. 2001, 71, 457–466. [Google Scholar] [CrossRef]
  6. Teunter, R.; Sani, B. On the bias of Croston’s forecasting method. Eur. J. Oper. Res. 2009, 194, 177–183. [Google Scholar] [CrossRef]
  7. Amirkolaii, K.N.; Baboli, A.; Shahzad, M.K.; Tonadre, R. Demand forecasting for irregular demands in business aircraft spare parts supply chains by using artificial intelligence (AI). IFAC-PapersOnLine 2017, 50, 15221–15226. [Google Scholar] [CrossRef]
  8. Treharne, J.T.; Sox, C.R. Adaptive inventory control for nonstationary demand and partial information. Manag. Sci. 2002, 48, 607–624. [Google Scholar] [CrossRef]
  9. Sun, Q.; Ye, Z.S.; Chen, N. Optimal inspection and replacement policies for multi-unit systems subject to degradation. IEEE Trans. Reliab. 2017, 67, 401–413. [Google Scholar] [CrossRef]
  10. Cai, Z.; Wang, S. Radar spare parts demand prediction based on improved grey Markov model. Mod. Inf. Technol. 2022, 6, 86–89. [Google Scholar] [CrossRef]
  11. Ding, G.; Liu, X.; Wang, D.; Wu, Y.; Shi, C.; Chen, P. Review of research status of spare parts demand forecasting methods. Value Eng. 2020, 39, 296–298. [Google Scholar] [CrossRef]
  12. Kontrec, N.; Panić, S. Spare Parts Forecasting Based on Reliability. In System Reliability; InTechOpen: London, UK; pp. 113–127.
  13. Qarahasanlou, A.N.; Barabadi, A.; Ataei, M.; Einian, V. Spare part requirement prediction under different maintenance strategies. Int. J. Min. Reclam. Environ. 2019, 33, 169–182. [Google Scholar] [CrossRef]
  14. Rodrigues, L.R.; Yoneyama, T. A spare parts inventory control model based on Prognostics and Health monitoring data under a fill rate constraint. Comput. Ind. Eng. 2020, 148, 106724. [Google Scholar] [CrossRef]
  15. Wang, X.; Cao, X.; Kou, X.; Zhang, G. Torpedo maintenance spare parts initial configuration scheme. J. Unmanned Undersea Syst. 2017, 25, 464–469. [Google Scholar] [CrossRef]
  16. Ma, S.; Wang, W.; Liu, L. Commonality and postponement in multistage assembly systems. Eur. J. Oper. Res. 2002, 142, 523–538. [Google Scholar] [CrossRef]
  17. Turrini, L.; Meissner, J. Spare parts inventory management: New evidence from distribution fitting. Eur. J. Oper. Res. 2019, 273, 118–130. [Google Scholar] [CrossRef]
  18. Liu, H.; Shao, S.; Zhang, Z. Mission-based ship spare parts demand prediction for k/n (G) systems. Syst. Eng. Electron. 2021, 43, 2189–2196. [Google Scholar]
  19. Sharma, P.; Kulkarni, M.S.; Yadav, V. A simulation based optimization approach for spare parts forecasting and selective maintenance. Reliab. Eng. Syst. Saf. 2017, 168, 274–289. [Google Scholar] [CrossRef]
  20. Boutselis, P.; McNaught, K. Using Bayesian Networks to forecast spares demand from equipment failures in a changing service logistics context. Int. J. Prod. Econ. 2019, 209, 325–333. [Google Scholar] [CrossRef]
  21. Bai, Y.; Wang, W. Research on simulation prediction of spare parts demand under periodic inspection strategy. Syst. Simulat. Technol. 2019, 15, 107–109. [Google Scholar] [CrossRef]
  22. Johannsmann, L.M.; Craparo, E.M.; Dieken, T.L.; Fügenschuh, A.R.; Seitner, B.O. Stochastic mixed-integer programming for a spare parts inventory management problem. Comput. Oper. Res. 2022, 138, 105568. [Google Scholar] [CrossRef]
  23. Larbi Rebaiaia, M.; Ait-Kadi, D. Maintenance policies with minimal repair and replacement on failures: Analysis and comparison. Int. J. Prod. Res. 2021, 59, 6995–7017. [Google Scholar] [CrossRef]
  24. Li, X.; Ran, Y.; Chen, B.; Chen, F.; Cai, Y.; Zhang, G. Opportunistic maintenance strategy optimization considering imperfect maintenance under hybrid unit-level maintenance strategy. Comput. Ind. Eng. 2023, 185, 109624. [Google Scholar] [CrossRef]
  25. Su, H.; Li, Y.; Cao, Q. A stochastic model of preventive maintenance strategies for wind turbine gearboxes considering the incomplete maintenance. Sci. Rep. 2024, 14, 5700. [Google Scholar] [CrossRef]
  26. Chen, L.; Cheng, C.; Dui, H.; Xing, L. Maintenance cost-based importance analysis under different maintenance strategies. Reliab. Eng. Syst. Saf. 2022, 222, 108435. [Google Scholar] [CrossRef]
  27. Yeh, R.H.; Chen, M.-Y.; Lin, C.-Y. Optimal periodic replacement policy for repairable products under free-repair warranty. Eur. J. Oper. Res. 2007, 176, 1678–1686. [Google Scholar] [CrossRef]
  28. Hasni, M.; Aguir, M.S.; Babai, M.Z.; Jemai, Z. Spare parts demand forecasting: A review on bootstrapping methods. Int. J. Prod. Res. 2019, 57, 4791–4804. [Google Scholar] [CrossRef]
  29. Xue, H.; Liu, G.; Liu, T.; Liu, L. Probabilistic distribution of spare parts support and its demand forecasting model based on combat mission. J. Acad. Armored Force Eng. 2018, 22–27. [Google Scholar] [CrossRef]
  30. Yi, Y.; Fu, J.; Wang, C.; Zhang, Z. Exponential life parts demand forecasting model. J. Ordnance Equip. Eng. 2017, 38, 89–92. [Google Scholar] [CrossRef]
  31. The PLA General Armament Department. In Spares Provisioning Requirement; National Defense Industry Press: Beijing, China, 2003.
  32. Zhu, S. Research and practice on the reform of ship grade repair mode. Strat. Study CAE 2015, 17, 4–9. [Google Scholar] [CrossRef]
  33. Shao, S.; Hu, G.; Zhang, Q. Forecasting method of ship spare parts demand based on rotation repair. Ship Electron. Eng. 2022, 42, 140–143. [Google Scholar]
  34. Zhai, Y.; Zhang, Z.; Li, G. Operational readiness model based on limited spare parts. Syst. Eng. Electron. 2019, 41, 1043–1048. [Google Scholar] [CrossRef]
Figure 1. Schematic of the spare parts rotation repair strategy.
Figure 1. Schematic of the spare parts rotation repair strategy.
Mathematics 12 03053 g001
Figure 2. Schematic of the simulation of spare parts requirements.
Figure 2. Schematic of the simulation of spare parts requirements.
Mathematics 12 03053 g002
Figure 3. Schematic of an equipment failure scenario.
Figure 3. Schematic of an equipment failure scenario.
Mathematics 12 03053 g003
Figure 4. Equipment failure simulation.
Figure 4. Equipment failure simulation.
Mathematics 12 03053 g004
Figure 5. Schematic of grade repair.
Figure 5. Schematic of grade repair.
Mathematics 12 03053 g005
Figure 6. Algorithm for the simulation of level repair requirements.
Figure 6. Algorithm for the simulation of level repair requirements.
Mathematics 12 03053 g006
Figure 7. Statistics of spare parts requirements.
Figure 7. Statistics of spare parts requirements.
Mathematics 12 03053 g007
Figure 8. Schematic of spare parts replacement.
Figure 8. Schematic of spare parts replacement.
Mathematics 12 03053 g008
Figure 9. MTBF Sensitivity Analysis: (a) relationship between MTBF and support probability; (b) relationship between MTBF and fill rate.
Figure 9. MTBF Sensitivity Analysis: (a) relationship between MTBF and support probability; (b) relationship between MTBF and fill rate.
Mathematics 12 03053 g009
Figure 10. p Sensitivity Analysis: (a) relationship between p and support probability; (b) relationship between p and fill rate.
Figure 10. p Sensitivity Analysis: (a) relationship between p and support probability; (b) relationship between p and fill rate.
Mathematics 12 03053 g010
Figure 11. T1x Sensitivity Analysis: (a) relationship between T1x and support probability; (b) relationship between T1x and fill rate.
Figure 11. T1x Sensitivity Analysis: (a) relationship between T1x and support probability; (b) relationship between T1x and fill rate.
Mathematics 12 03053 g011
Figure 12. Impact of the number of simulations on the results: (a) support probability; (b) fill rate.
Figure 12. Impact of the number of simulations on the results: (a) support probability; (b) fill rate.
Mathematics 12 03053 g012
Figure 13. Spare parts support probability and fill rate for different maintenance strategies. (a) support probability; (b) fill rate.
Figure 13. Spare parts support probability and fill rate for different maintenance strategies. (a) support probability; (b) fill rate.
Mathematics 12 03053 g013
Figure 14. Impacts of different maintenance strategies on availability.
Figure 14. Impacts of different maintenance strategies on availability.
Mathematics 12 03053 g014
Figure 15. Equipment Availability for Different Types of Equipment.
Figure 15. Equipment Availability for Different Types of Equipment.
Mathematics 12 03053 g015
Table 1. Annotation Table.
Table 1. Annotation Table.
m Number of spare parts A Equipment availability
T m The lifespan of the m-th spare part M T B F Mean Time Between Failures
S m The lifespan of a system consisting of m spare parts T 1 h Spare parts replacement repair time
F m ( t ) The lifespan distribution function of the m-th spare part T 1 x Equipment workshop repair time
f m ( t ) The probability density function of the m-th spare part T t o t a l Ship service life
N ( t ) The number of failures within time t t s i m Simulate failure time
F ( k ) ( t ) The k-fold convolution of F ( t ) f a i l s Number of failures during the mission
P Spare part support probability T f a i l s Failure time during the mission
P f Spare part fill rate f a i l s 2 Number of failures during the level repair period
p Level repair requirement probability T f a i l s 2 Failure time during the level repair period
λ The parameter of the exponential distribution
Table 1 meticulously details the symbols, definitions, and applications of all critical variables.
Table 2. Relationship between fill rate and number of failures.
Table 2. Relationship between fill rate and number of failures.
X 01 m m + 1 m + 2
Y 11 1 m + 1 ( m + 1 ) + 1 m + 1 ( m + 2 ) + 1
Table 3. Component repair parameters.
Table 3. Component repair parameters.
ComponentMTBFT1xT1h
Component1antenna pedestal1825602
Component2antenna10951501
Table 4. Schedule of level repairs.
Table 4. Schedule of level repairs.
Repair LevelIIIIIIIIIIIIIIIIIIIIIIII
Repair window1095219036504745584073008395949010,585
Demand probability0.20.20.50.20.20.80.20.20.2
Table 5. Distribution of equipment availability.
Table 5. Distribution of equipment availability.
n012345≥6
Whole parts replacement and repair0.7070.8820.9150.9410.9570.9660.974
Normal exchange and repair0.7070.7990.8280.8450.8560.8620.868
Table 6. Parameters and spare parts requirements for different types of equipment.
Table 6. Parameters and spare parts requirements for different types of equipment.
Serial NumberEquipment TypeMTBF/DayReplacement Repair Cycle/DayRepair Cycle Time for Defective Parts/DayDemand/Unit for Support Probability ≥ 0.9Requirements/Unit for Fill Rate ≥ 0.9
1Navigation device12171024065
2Reconnaissance equipment2283159033
3Armament3350618044
4Communications equipment1460820054
Table 7. Equipment availability for different types of equipment.
Table 7. Equipment availability for different types of equipment.
Serial NumberEquipment TypeWhole Parts Exchange AvailabilityNormal Repair AvailabilityDifference
1Navigation device0.9840.8899.39%
2Reconnaissance equipment0.9880.9266.32%
3Armament0.9890.9335.56%
4Communications equipment0.9770.85212.5%
Disclaimer/Publisher’s Note: The statements, opinions and data contained in all publications are solely those of the individual author(s) and contributor(s) and not of MDPI and/or the editor(s). MDPI and/or the editor(s) disclaim responsibility for any injury to people or property resulting from any ideas, methods, instructions or products referred to in the content.

Share and Cite

MDPI and ACS Style

Wang, H.; Liu, H.; Shao, S.; Zhang, Z. Methodology of Shipboard Spare Parts Requirements Based on Whole Part Repair Strategy. Mathematics 2024, 12, 3053. https://doi.org/10.3390/math12193053

AMA Style

Wang H, Liu H, Shao S, Zhang Z. Methodology of Shipboard Spare Parts Requirements Based on Whole Part Repair Strategy. Mathematics. 2024; 12(19):3053. https://doi.org/10.3390/math12193053

Chicago/Turabian Style

Wang, Houxiang, Haitao Liu, Songshi Shao, and Zhihua Zhang. 2024. "Methodology of Shipboard Spare Parts Requirements Based on Whole Part Repair Strategy" Mathematics 12, no. 19: 3053. https://doi.org/10.3390/math12193053

APA Style

Wang, H., Liu, H., Shao, S., & Zhang, Z. (2024). Methodology of Shipboard Spare Parts Requirements Based on Whole Part Repair Strategy. Mathematics, 12(19), 3053. https://doi.org/10.3390/math12193053

Note that from the first issue of 2016, this journal uses article numbers instead of page numbers. See further details here.

Article Metrics

Back to TopTop