Abstract
One of the essential factors of project success is selecting the proper delivery method. This study aimed to provide a new hybrid decision-making framework to assist project stakeholders in evaluating and selecting the most appropriate Project Delivery System (PDS) and documenting the decision process. For this purpose, the selection factors of PDSs were obtained from a literature review, and critical selection factors were screened based on the fuzzy Delphi method, whereby expert feedback was on Information and Communication Technology (ICT) projects was obtained. Subsequently, the ICT project risks were identified and categorized into six competitive constraints, including time, cost, quality, reputation, value, and scope, and the risk factors were prioritized in each area. Then, the effect of project risks on the decision criteria was investigated using a fuzzy cognitive map (FCM). Finally, the PDSs were ranked through Fuzzy Technique for Order of Preference by Similarity to Ideal Solution (FTOPSIS). This article researched a novel multi-layer decision system combining the FCM and FTOPSIS techniques. The decision criteria received their weights from the evaluation of the causal relationships between PDS selection factors and project risks. Thus, PDSs were ranked based on different project characteristics, the opinions of stakeholders, and the effect of project risks on the decision-making process; this increased the likelihood of project success. The results showed that the impact of the most critical project risks on the selection factors was so severe that they changed the weight of the criteria in the decision matrix and, subsequently, changed the ranking of decision options.
Keywords:
Project Delivery Systems (PDSs); risk analysis; fuzzy cognitive maps (FCMs); ICT projects; FCM-FTOPSIS MSC:
90B50; 94D05; 91B05
1. Introduction
The selection of a Project Delivery System (PDS) is challenging because of the many decision criteria involved [1,2]. Since the choice of a PDS is a complex task and fraught with risk, it is better to perform it at the beginning of the project development process [3,4]. A PDS determines the roles and obligations of parties engaged with the related projects [5]. It further distributes the risk of stakeholders and builds frames for the execution of projects [6]. Therefore, a vital component for project achievement is the use of appropriate PDSs [1,6,7,8,9,10]. In this regard, some researchers [11] have shown that applying a proper PDS can raise a construction project’s efficiency and success rate [12]. In contrast, using improper PDSs may disrupt project performance and even lead to project failure. It is widely acknowledged (e.g., [13]) that no single optimal method of delivery exists; however, there is an ideal strategy for each project [6,12].
PDSs are essential to all stakeholders involved in the project, regardless of industry [14]; however, very few articles have evaluated this issue in the Information and Communication Technology (ICT) industry. The ICT industry is deeply integrated into all industries, from healthcare to construction [15], due to their increasing dependence on technology, and performance challenges have been seen in all sectors of the ICT industry [16]. ICT is one of the primary elements affecting efficiency and productivity. International experience shows that the establishment of ICT plays a severe role in creating added value and economic growth, particularly in economic sub-sectors that rely more on ICT. Since the 1990s, ICT has dramatically impacted the growth of the Gross Domestic Product (GDP) and increased labor productivity in developing and developed countries. As an arising economy, Iran has attempted to make a profit from ICT applications in recent years. According to the latest statistics of the National Statistics Center of Iran, the ICT sector’s value-added shares in Iran’s GDP were approximately 7% up to 2017 [17]. The findings of past research (e.g., [18]) have shown that projects encounter a large number of challenges and problems during implementation, and solutions are sought to minimize the obstacles and increase project success [19]. Therefore, organizations can achieve a competitive advantage through the proper implementation of ICT projects, increasing market share, enhancing efficiency, and lowering costs [20]. To execute the strategies of organizations and produce strategic value, it is essential to have successful projects [21]. Despite PM processes, tools, and systems having significantly advanced, according to past studies on project management (PM), managers face enormous challenges when it comes to project success [18]. The Standish Group’s report on CHAOS (2015) shows that projects have always encountered complex challenges. A total of 19% of the projects, for example, failed before completion or were never used, while 52% struggled with challenges (that is, they did not meet the criteria of budget, time, or satisfactory results), and 29% only were able to succeed [22]. Furthermore, 43% of the projects were shown by another PMI research study to be over budget, while 48% were overdue, and 31% failed to accomplish what they had originally set out to achieve [23]. The proper selection of the delivery method, as a result, is deemed necessary to boost the chances of a project succeeding.
Many scientists have explored the potential elements impacting PDS determination [9,11]. However, decision makers are still involved in figuring out which component ought to be viewed as the most significant, because there are so many factors that cannot be esteemed similarly. Thus, analyzing the importance of elements impacting PDS determination to help them select the most suitable PDS has turned into a critical need [1]. Several PDS selection techniques have been proposed with different selection factors across industries such as transit, construction, transportation, etc. For example, several decision-aided models have been developed by researchers based on probabilistic methodologies [3] for choosing a proper delivery method. Despite risk assessment playing a vital role in finding the appropriate delivery method, when the probabilistic risk analysis and the delivery decision process are set apart, understanding how risk impacts project delivery performance becomes significantly limited. As a result of this limitation, the probability of selecting the wrong delivery method may increase, and each method’s potential advantages may be impeded [2].
Furthermore, some of them have proposed quantitative techniques such as unascertained models (e.g., [2,6,8,24]) and integrated decision frameworks (e.g., [25]), though risk assessment has a significant impact on determining a proper delivery method. Separating the probabilistic risk analysis and the delivery decision process prompts a restricted comprehension of how project delivery performance will be affected by risk. Such a restriction may not just increment the possibility of selecting an improper delivery method but also impair potential advantages related to every strategy [3]. Besides depending on the quantitative attributes of the project, the process of decision making in project delivery also tends to depend upon qualitative criteria such as subjective decisions and experts’ opinions deriving from their experience in previously completed similar projects [2]. A challenge actually exists, as a consequence, in decision situations where a mix of qualitative (project risks) and quantitative (based on experts’ opinions) inputs leads to a comprehensive and precise decision in uncertain conditions.
To increase the chances of project success, owners must seek an appropriate PDS based on their requirements to meet their needs. So, according to the organization’s and the project’s conditions, a particular PDS might be better than the others. Selecting project delivery methods involves assessing the trade-offs between the project risks and selection factors, the relationships of complicated nature among the variables, and numerous decision choices. The quantity of variables engaged with project delivery decisions is, in fact, of high complexity, and to the best of our knowledge, few scholars have applied them [12]. To address the knowledge gap, the primary purpose of this paper is to identify and evaluate factors influential in selecting the most appropriate PDS in ICT projects with the emergence of the impact of project risks on the selection criteria. The paper brings up in detail how the proposed framework supports the selection of an appropriate delivery method in each project through the following phases:
- I.
- Identifying and screening key selection factors;
- II.
- Identifying and screening ICT project risks within all competitive constraints;
- III.
- Assessing the cause–effect relations of selection factors and ICT project risks;
- IV.
- Ranking the PDS alternatives (Design–Bid–Build (DBB), Design–Build (DB), Construction Manager at Risk (CMR), and Integrated Project Delivery (IPD)).
In the remainder of this article, in Section 2, definitions and concepts of the kinds of PDSs, as well as the related literature review, are presented. In Section 3, the proposed integrated framework is introduced, and in Section 4, the analysis and results of using this framework are presented. Finally, Section 5 presents the conclusions.
2. Literature Review
The term PDS refers to the entire range of contractual relations, roles, and responsibilities related to the entities in a project. TxDOT’s definition of PDS is as follows: “A project delivery system is a procurement approach, which defines relationships, roles, and responsibilities of the members of the project team, and which defines the sequences of activities that must be conducted for the completion of a project” [26]. Thus, different PDSs are characterized by how the contracts among the owner, the designer, and the builder are formed and the technical connections among parties inside those contracts.
The Construction Industry Institute (CII) believes that there are just three fundamental PDSs, DB, DBB, and CMR (Construction Industry Institute, 1997), yet a renewed focus of owners on the cooperation between contractors and designers is being evidenced in the rising interest in Integrated Project Delivery (IPD) and the employment of softer criteria for selection (for instance, communication skills) for the determination of contract awards [10]. Building Industry Consulting Service International (BICSI), whose roles include defining standards in the fields of information technology and telecommunications (ITTs), nonetheless considers all the four types of PDSs employed in ICT [27]. In this paper, the authors define PDSs as processes that the project owner uses.
Design–Bid–Build (DBB): DBB is mainly known as the traditional PDS. The owner manages two independent contracts, one with the contractor and one with the designer. It is often considered a linear process. Construction in DBB only starts when a design is 100% complete [9]. When the procedure is complete, the project’s general contractors are invited to tender, and the execution contract is awarded to the lowest bidder. This linear process sidesteps opportunities to lessen the general program by means of overlapping activities [28].
Design–Build (DB): In DB projects, there is only a single contract between the owner and the design-builder; the design-builder might be a company that offers in-house design, engineering, and construction services, or it may be a firm composed of teamed design and contracting companies. The owner chooses the design-builders only according to their qualifications or a proposal that combines costs and technical aspects [10]. DB is a system for providing design and execution through a contract with a design executive. The owner determines the project’s requirements and scope [28]. According to this method, therefore, an owner can obtain both design and construction services through a single entity, which is usually alluded to as a design-builder. As with CMR, DB is typically granted based on the contractor’s qualifications [29].
Construction Manager at Risk (CMR): In the CMR system, the owner manages two independent contracts with a designer and a contractor. In addition, CMR, the construction manager, is expected to coordinate with the designer and actively participate in the design phase [28]. A two-part contract is awarded to the CMR. The first part of the contract is meant for advisory services, in which management should closely coordinate with the designer to give constructability guidance, scheduling services, and estimation. The second part is meant for construction services, possibly awarded as an extension of the CM’s first contract or completed with other contractors. Each of these two parts may start as cost reimbursable, but it tends to be converted, later in the project, to a Guaranteed Maximum Price (GMP) lump sum [10].
Integrated Project Delivery (IPD): The IPD framework is based on the philosophy of collaborative interaction and trust among all participants [30]. On the one hand, this space is created through the careful selection of the designer and the contractor by the employer; on the other hand, through the incentives in the contract, the goal is to maximize the value of the project for the whole team. As a result, it transforms a fragmented process into an integrated process. Hence, a piece of software must reflect the team structure, so regular and reciprocal data exchange is essential. IPD contracts are usually more complex than traditional ones. Because participants’ financial gain and loss stem from achieving the set goals, these goals must be described very clearly to avoid any possible dispute. Therefore, the contract contains a detailed description of the values with accurate measurement methods based on cost and timing and the intervals when it is executed. The contract form applied to an IPD is called a multilateral contract [31].
One of the primary fronts on which the industry attempts to combat systemic fragmentation is the evolution of different PDSs. In this sense, a PDS defines the relationship and timing of the involvement among other contracting parties in construction [5]. Numerous PDS models and frameworks exist, with different selection factors across various industries, such as transit, construction, transportation, and airport. However, these methods are not always consistent with holistic evaluations. Additionally, none focus on selecting the proper delivery method for ICT projects. This knowledge gap was identified and regarded as the motivation for this study. Accordingly, the main objective of this study was to address this gap by proposing a fuzzy hybrid decision-making framework to prioritize PDSs in the ICT industry. The scientific and industrial literature review revealed that various tools have been offered to select and rank the PDSs. Moreover, the types of PDSs, features, and advantages/disadvantages have been examined in some articles. A brief review of the related literature is shown in Table 1.
Table 1.
Literature review.
It is worth noting that no paper has ever reviewed PDSs in the ICT industry (neither the criteria ranking nor the Alternative Project Delivery ranking under uncertainty conditions). However, some studies (e.g., [39]) not focusing on a specific industry have only evaluated the performance of PDSs with analytical methods. Moreover, using statistical techniques, Ibrahim et al. [5] investigated the performance of four main PDSs. The present research study intended to rank PDSs, specifically in the ICT industry. However, according to some theory-based articles (e.g., [9]), none of the main primary PDSs is considered ideal and appropriate for any project because each project is unique. Numerous reports (e.g., [1,11,20]) have identified PDS selection factors and assessed project risks. This study employed a survey method on existing sources; ICT industry experts were interviewed, and a questionnaire was used to identify the selection factors.
Additionally, an independent questionnaire identified different risks and influential factors in this type of project’s failure. Then, the fuzzy Delphi method was used to screen the identified risks. Nevertheless, few articles (e.g., [40]) have ranked PDSs.
Many researchers have previously used different combination methods (e.g., AHP-TOPSIS [41] and ELECTRE III-PROMETHEE II [42]); however, Meshref [43] and Feghaly [9] have proposed a list of methods and tools to choose the project delivery method. In summary, the types of PDSs, features, and advantages/disadvantages have been examined in some articles. Nonetheless, to address the gap mentioned above, this paper combined the FCM method and the FTOPSIS model to determine the impact of project risks on selection criteria in the ICT industry.
3. Methodology
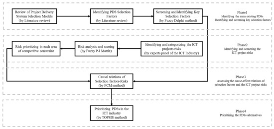
This research study encompassed four phases: identifying and screening PDS selection factors, identifying and prioritizing the risks affecting the project, integrating project risks and PDS selection factors based on the fuzzy cognitive map (FCM), and performing the analysis and prioritization of PDSs. Figure 1 illustrates an overview of the proposed framework.
Figure 1.
Research methodology.
Phase 1 consisted of a two-step process. At first, a review of the academic literature and the state of the industry was performed to find the PDSs. In the second stage, all the PDSs selection factors obtained from the reviewed literature and the critical selection factors were screened using the fuzzy Delphi method specifically for the ICT industry. Phase 2 included two stages; in the first stage, the ICT project risks in six competitive constraints were identified. In the second stage, the risk factors were prioritized in each area. In phase 3, the cause–effect of selection factors and the ICT project risks were examined using the FCM. Finally, in phase 4, the PDSs were ranked, and the most appropriate PDS was suggested to the project owners.
- Phase 1: Identifying the main existing PDSs/identifying and screening key selection factors.
According to the academic literature (e.g., [5,44]) and industry publications (e.g., [27]), the main PDSs are DBB, DB, CMR, and IPD. Which method of project delivery is the most appropriate depends on many factors, such as the main constraints of the owner (time, cost, quality, etc.), project specifications, the experience and readiness of the owner, the level of competition in the market, environmental conditions, etc. In this phase, more than 22 scientific and industrial publications, published since 2010 in various industries (transportation, highway and buildings, airports, etc.), are reviewed. Finally, 34 criteria are listed in Table 2, sorted according to their popularity among scholars.
Table 2.
Literature of PDS selection factors since 2009.
However, this method is not appropriate and definitive in identifying the most important criteria for selecting a project delivery method for all industries, especially the ICT industry. Therefore, the requirements for setting a PDS are screened using the experts’ opinions in the ICT field using the fuzzy Delphi method. The combination of the Delphi method with fuzzy theory is presented to consider the uncertainty in the real environment. This method is a popular method that is systematically used to collect, evaluate, and analyze the experts’ opinions without gathering people at the same time and place. It involves a panel of 5 to 15 experts who provide their opinion by responding to a questionnaire. In the fuzzy Delphi approach, answering the questionnaire is simple to understand. In addition, it is a popular method for moderating factors. This approach considers the uncertainty using a triangular fuzzy number to transfer linguistic terms into quantitative values [58]. There are various linguistic terms, such as the trapezoidal fuzzy number and the triangular fuzzy number. We used the TFN because it is more common and popular [59].
Recently, some researchers have used the Delphi method to prioritize decision criteria based on interval-valued fuzzy-rough numbers [60]. Some researchers have applied the intuitionistic fuzzy Delphi (IFD) approach to eliminate the challenges of indicators’ interactions [61]. Among various fuzzy sets to handle the hesitancy representation issue, spherical fuzzy (SF) sets have been developed in multiple criteria decision making (MCDM) problems. This approach uses the SF-Delphi technique to derive a valid set of critical criteria based on qualitative information and linguistic preferences [62].
The steps of this algorithm are described below [59]:
1. Experts’ opinions are based on a linguistic spectrum. These terms, i.e., fully insignificant, moderately insignificant, medium, moderately significant, and fully significant, translate into one of the triangular fuzzy numbers (TFNs): (0, 0, 0.25), (0, 0.25, 0.5), (0.25, 0.5, 0.75), (0.5, 0.75, 1), and (0.75, 1, 1), respectively.
2. Fuzzy values are used in Equation (1):
where is the average value of a factor upon experts’ opinions, indicate the TFNs determined by experts, and i denotes the expert number (i.e., an index) [59].
3. The values calculated in the previous step are defuzzified using Equation (2) (Minkowski method):
where γ is the defuzzified value of the factor in question.
4. The criteria are accepted if their defuzzified average value (γ) is greater than the threshold (S) [59].
- Phase 2: Identifying and screening the ICT project risks in six competitive constraints.
The risks of ICT projects are identified (Table 3) through interviews and surveys or published literature sources and categorized into six competing constraints. In this study, we use the expertise of a panel in the ICT industry to identify the project risks, as presented in Table 4.
Table 3.
Key selection factors.
Table 4.
The most important risks in each competing constraint.
In the traditional approach, project constraints are named triple constraints, which include time, cost, and performance. Performance can be in the area of technology, quality, or scope. These are primary constraints, often used as measures of project success. From the stakeholders’ perspective, the final criteria for measuring the project’s success may differ from the initial criteria due to trade-offs. Today, we know that there are several constraints on a project, and instead of using the term triple constraints, we pay attention to competing constraints. At best, we make trade-offs on any or all competing constraints to satisfy the success criteria [63].
After ensuring that we have enough information about all the risks identified in the previous step, the probability and impact of each risk must be determined. Probability is the likelihood of a risk occurring. The consequence is the risk’s effect on the project if it appears. If we consider the probability of a risk arising in the range of real numbers between 1 and 10 and the risk has a probability rating of 9 or 10, it is not a risk but a fact. Likewise, the risks that take the value of 1 are no longer risks and will not happen [64]. Generally, the risk increases with the rising probability of the impact. In risk management, both the probability and the effect should be considered [63]. One of the most common methods of combining probability and risk impact is to use a risk assessment matrix or a probability and impact (P-I) matrix. Finally, a dimensionless-number risk score is used to prioritize the identified risks. The amount of risk is a number between 0 and 1, which is obtained by multiplying the probability value by the impact [65].
- Phase 3: Assessing the cause–effect relations of selection factors and ICT project risks.
In this phase, the effect of project risks on the decision criteria is investigated to weigh the decision criteria in the decision-making matrix. For a more intelligent decision and a comprehensive review of the criteria and risks affecting the project, the weights of these criteria are assigned by applying an FCM to determine the decision-making matrix in the next phase.
According to the literature, some extensions of the FCM have been designed to enhance the performance of the traditional FCM proposed by Kosko. Fuzzy Grey Cognitive Map (FGCM), Intuitionistic FCM (iFCM), Belief-Degree-Distributed FCM (BDD-FCM), Rough Cognitive Map (RCM), Dynamical Cognitive Networks (DCN), Evolutionary FCM (E-FCM), Fuzzy Time Cognitive Map (FTCM), Dynamic Random FCM (DRFCM), Rule-Based FCM (RB-FCM), Fuzzy Rules Incorporated in FCM (FRI-FCM), and Generalized FCM (GFCM) are some extended formats of the traditional FCM [66].
Triangular and trapezoidal fuzzy numbers are traditionally used to describe the weights of the causal relationships among factors. Recently, an enhanced fuzzy decision map was proposed in 2022; it uses heptagonal fuzzy numbers to define causality among the factors [67]. An FCM can show the causal relationships among the contributing factors via a network structure and use symbolic representation to describe the state of complex systems. In a decision-making system, an FCM, as an analytical tool, shows the causality among contributing factors by employing a graph structure; in this graph, nodes represent the concepts and connections that demonstrate causality among them [68].
Kosko first introduced the concept of centrality for the description and understanding of the role of a node in an FCM. Kosko employed the measure of degree centrality to show a node’s significance (that is, a node with a higher degree value is more significant for the causal flow of information in the FCM). Özesmi [69] and Keshavarz [70] later used degree centrality to describe the most critical nodes of their social FCMs for the comprehension and analysis of the structure of the FCMs. Of equal significance is that key nodes are more critical in an FCM because they have more influence on other nodes or are more influenced by them [71].
The degree-centrality measure is more straightforward than any other in analyzing a social network. The in-degree- and out-degree-centrality measures are utilized in a directed graph to detect a node’s degree centrality. In signed weighted digraphs, such as FCMs, a node’s in-degree centrality is equal to the sum of the absolute weights of its incoming connections from its neighbors:
where shows the number of nodes connected to node in an FCM, is the input connection weight from node to node , and means the in-degree centrality of node , with each node being either a criterium or a risk factor. In contrast, the out-degree centrality of a node in an FCM is equal to the sum of its absolute outgoing connection weights to its neighbors:
where the out-degree centrality of node represented by . The overall degree centrality of a node in an FCM is calculated based on the sum of its in-degree and out-degree values:
where is the degree centrality of node .
- Phase 4: Prioritization of PDS alternatives.
In the final phase, before ranking the delivery methods, the weight of proper factors (criteria) is calculated using Equation (6):
Then, we use the TOPSIS method for ranking the PDSs, one of the multiple-criterium methods for decision making. TOPSIS assumes that the selected alternatives should have the most significant Euclidean distance from the negative ideal solution (NIS) and the shortest Euclidean distance from the positive ideal solution (PIS) from a geometric point of view. This method considers the sum of the best values that can be obtained for each attribute as the positive ideal solution, and the sum of the worst values calculated for each attribute is called the negative ideal solution. TOPSIS considers the distance of both PIS and NIS with relative closeness to the positive optimal solution [72]. This method is commonly employed to complete the decision-making process because of its simplicity, understandability, efficient computation, and the ability to measure the relative performance of decision alternatives.
Various approaches have implemented fuzzy TOPSIS, such as simple fuzzy sets, hesitant fuzzy sets (HFSs), and intuitionistic fuzzy sets (IFSs). Other methods, such as the fuzzy Analytic Hierarchic Process (AHP), have usually been combined with FTOPSIS to determine its criteria weights [73].
The steps in calculating the TOPSIS method are as follows [74]:
- Forming the fuzzy decision matrix according to appropriate linguistic variables for the alternatives [75];
- Calculating the weighted normalized decision matrix:where is the weight of the criteria for all ;
- Determining the ideal solution matrix of positive ideal solution and negative ideal solution via Equations (8) and (9):
- Calculating the Euclidean distances of each alternative from the positive and negative ideal solutions:where and are alternative distances from the positive and negative ideal solutions, respectively, and ;
- Calculating the relative proximity of each alternative to the ideal solution with the C function:
- Alternative rank: Ranking the alternatives according to the relative closeness to the ideal solution.
Alternative is ranked from the most considerable value to the smallest value. The highest value of is the best alternative [75].
4. Findings and Results
ICT is one of the primary elements influencing efficiency and productivity. According to the supplier’s perspective, international experience in economic growth shows that the deployment of ICT plays an essential role in creating added value, particularly in economic sub-sectors, which are more focused on ICT. As an arising economy, Iran has also endeavored to make a profit from the applications of ICT in recent years. Official statistics from the Iran National Statistics Center (INSC) indicate that the percentage of ICT-sector value-added shares in Iran’s economy is gradually increasing [17,70]. In this study, the most appropriate PDS following the specific conditions of companies that are active in ICT infrastructure development are proposed to stakeholders.
Step 1: Identifying and screening the critical selection factors.
The most common PDSs were identified through the literature review (Table 2). In addition, 35 criteria were identified for selecting a PDS in various industries; the criteria and defined codes for this research study are reported in Table 3. However, to screen the delivery criteria of ICT projects, the most important selection criteria were identified using the fuzzy Delphi method and experts’ opinions. To this end, the experts (consisting of 11 experts and project managers of the ICT industry with more than five years of experience and presence in at least two successful projects) were asked to rate the indicators from “Fully insignificant” (0, 0, 0.25) to “Fully significant” (0.75, 1, 1).
According to the Pareto principle, a threshold of 0.64 was set to obtain the most essential criteria that impacted decision making. Thus, the six criteria having the highest weight value were included: “Quality”, “Project schedule”, “Risk avoidance”, “Technological capabilities”, “Project scope transparency”, and “Value engineering”; these were almost equivalent to 20% of the total number of criteria. Therefore, in this paper, S was considered to be 0.64.
The summary of the obtained results is presented in Table 3.
Step 2: Identifying and screening the ICT project risks.
To capture the influential factors and causal relationships of the PDS selection factors and project risks in a holistic view in the next step, the most important risks (having the highest priority) in each competing constraint were determined. For this purpose, a linguistic questionnaire was distributed among the ICT experts. The results are reported in Table 4.
According to the experts’ opinions, the most important risks in the constraints of time, cost, quality, reputation, value, and scope were: “Lack of timely delivery of equipment”, “Exchange rate change”, “Failure to deliver the project in the expected quality”, “Non-supply of spare parts by the main supplier”, “CRA requirements”, and “Failure to meet all owner expectations within the project”, respectively.
Step 3: Assessing the cause–effect relations.
In this step, to clarify the concept of causal relationships and prevent any misinterpretation and interpretation, instead of distributing a questionnaire, the intensity of the causal relationship between the components and the linguistic spectrum was collected through face-to-face interviews with the experts (defuzzified average value of collective experts’ opinions).
As mentioned, an FCM was used to evaluate the significance of the factors according to their position in the causal-relationship network. The resulting graph, visualized with NetDraw software, is revealed in Figure 2, where each circle relates to a PDS selection factor. The arrow connecting factor i to factor j shows that factor i is effective in creating factor j. On the other hand, factor i can be considered one of the reasons for creating factor j. The type and level of causal impacts were recognized by the members of the focus group consisting of 11 experts and project managers (8 males and 3 females; aged between 30 and 55 years) of the ICT industry with more than five years of experience and presence in at least two successful projects according to their academic backgrounds (BA, BSc, MBA, MSc, and PhD in engineering or management) and practical experience (at least five years) in deploying various projects. The number above each arrow shows the influence amount of node i in creating node j. The adjacency matrix of connection weights is reported in Table 5.
Figure 2.
Causal-relationship network from the FCM.
Table 5.
Adjacency matrix.
According to the causal-relationship network of CEM challenges in social commerce, the centrality measures (in-degree and out-degree) were calculated based on Equations (3) and (5) and using UCINET software. The results are presented in Table 6.
Table 6.
Centrality measures of the FCM.
In this article, we intended to detect and weigh the most effective selection factors. Therefore, the fuzzy-weighted normalized scores were calculated for factor clusters, equal to the weight value of degree centrality. The degree-centrality measure is the summation of its in-degree and out-degree values. Finally, the weights of the criteria were calculated for use in the next step (Table 7). As depicted in Table 8, “Risk avoidance” gained more weight after considering the risks. “Value engineering” and “Project scope transparency” were in successive positions.
Table 7.
Decision matrix.
Table 8.
Weights of PDSs’ selection criteria—with and without risk contribution.
Step 4: Prioritizing the PDS alternatives.
As mentioned in Step 4, we used the TOPSIS technique to rank the PDSs. It selected the best option by considering the best and worst hypothetical answers and calculating the closeness relative to these two points. This meant that there was a trade-off among the criteria; in other words, the strength or weakness of one option in a decision criterium covered the strength or weakness of that option in other criteria, respectively. For this purpose, the decision matrix and the weight vectors of the factors were needed.
Decision matrix: To create the decision matrix, eight experts of the organization under study scored each of the criteria, such as quality, project delivery speed, etc., related to different alternative options, such as DBB, DB, etc., using fuzzy linguistic terms. After collecting the questionnaires, Excel software calculated the average value of a factor upon experts’ opinions and its fuzzy value.
As shown in Table 7, the nature of all indexes was positive. It is worth noting that the “Risk avoidance” index was different from the “risk” index, which had a negative nature. In the present research study, “Risk avoidance” meant the risk distribution of each PDS. Thus, the higher the risk distribution in each PDS, the more favorable it was from the owners’ point of view.
Weighted vectors of criteria: The weight vectors of the criteria (based on the FCM output) are indicated in Table 8. All steps of the TOPSIS method, including normalizing and determining the positive and negative ideal solutions, were performed using Equations (8) and (9). In addition, the calculation of the relative closeness to the ideal solution was performed using Equation (12). The ranking of the preference order of PDSs is illustrated in Table 9. As shown, the IPD was selected as the best PDS for our case study of the ICT industry project due to its shorter distance from the ideal positive solution.
Table 9.
Comparison of the rankings of PDSs—with and without risk contribution.
5. Discussion and Implications
The most important reason for using the fuzzy Delphi method to screen the decision criteria is that it provides a resilient framework to handle the lack of precision and clarity. Furthermore, the FDM is tailored to the fuzzy environment to address imprecise descriptions and human subjectivity. Therefore, it is the best method for assessing and unifying the most effective criteria on a high-flexibility scale. Moreover, all vital information is considered without data loss because the membership degree effectively considers all experts’ preferences. The FCM method is also used to investigate the causal relationships between project risk factors and decision criteria. Its advantages include adaptability to a particular application domain, interpretability in the decision process, and superb transparency. The problems associated with manual development in this method, as one of its drawbacks, have recently encouraged researchers to work on semi-automated or automated tools for learning FCM models from historical data.
Furthermore, the ranking of PDSs with FTOPSIS benefits from being idealistic. It simultaneously considers fuzzy PIS and fuzzy NIS. FTOPSIS is simple to understand and provides the possibility of adding more criteria during the process. This approach has some disadvantages, such as rank reversal, which may question the model’s validity. Adding an alternative to the hierarchy or removing it may change the ranking. In addition, there are no consistency and reliability checks, while these aspects are more relevant in decision making and may lead to misleading results.
Moreover, the linguistic terms in fuzzy TOPSIS must be translated and quantified within a previously established value scale. Therefore, the uncertain information provided by linguistic terms is considered a challenge of this method. The most obvious weakness of all mentioned methodologies is that they do not consider the hesitation and intuition of experts.
Here, to analyze the effect of the contribution of the risks on the PDS ranking, the weights of the criteria without risk contribution were replaced with the weights gained using the FCM method in the decision matrix. Therefore, the ranking of PDSs without considering risks is presented in Table 8.
According to the fourth phase, all steps of TOPSIS were implemented by constructing the decision matrix and determining the positive and negative ideal solutions before applying the effects of the risks. Table 9 indicates that IPD again had priority as the most appropriate PDS.
The results showed that regardless of the weights of the criteria, IPD was still preferred by the ICT industry experts. Nevertheless, weighting due to combining selection factors and project risks intensely impacted prioritizing the choice of PDS ranking. If the stakeholders decided not to use IPD for any reason, CMR would be the most appropriate PDS due to its higher risk distribution compared with other methods. As illustrated in Table 8, the weight of the “Risk Avoidance” factor was much higher than others due to its higher effectiveness, measured using degree centrality.
The main difference between IPD and traditional methods is the loss of the bidding stage, because the contractor is selected from the beginning. The performance of the four main PDSs (DB, DB, CMR, and IPD) was evaluated via the statistical analysis of 109 construction projects by Ibrahim [5], and the results showed that IPD outperformed the other delivery methods. Among the six criteria evaluated, the three factors of cost, schedule, and quality were similar to the criteria selected in this article. Similarly, some scholars did not gain a significant difference in cost performance after comparing IPD projects with traditional delivery systems in the United States; however, IPD projects excelled in quality, communication, delivery time, and the number of changes. The similarity between the statistical results and the proposed quantitative decision-making framework indicates the outperformance of this method.
Nevertheless, these results are not inclusive because they were not obtained from evaluating identical industries. Additionally, these results are inconclusive because they were not obtained by evaluating equivalent sectors. Moreover, the method proposed in this article is mainly based on experts’ opinions, so it may provide different results when considering other projects or experts. Accordingly, a sensitivity analysis could be implemented for a further comparison between the proposed and the traditional approaches based on their robustness in future studies. Furthermore, a sensitivity analysis could give clear ideas regarding the influence of industry dynamics and decision criteria on the ranking process. Therefore, a sensitivity analysis of the ranking obtained using different models could verify the robustness of the proposed framework.
Furthermore, the sensitivity analysis results could identify the potential PDS for a reliable solution. Feghaly [9] conducted a literature review to identify key PDS selection factors across the different industries; interestingly, our most important selection factors were among their top ten results, which included quality, project schedule, risk avoidance, technological capabilities, project scope transparency, and value engineering. Some articles (e.g., [35]) identified and analyzed the risks of a particular PDS. Still, we identified the project risks, which was the main difference between the current research approach and the above studies. Thus, the authors believe that the proposed framework is tailor-made for any project. The comparison of Table 3 and Table 7 illustrates that the selection factors do not affiliate with the project industry; these factors change according to the goals of organizations and stakeholders. For example, the quality factor in phase one (screening key selection factors) comes first, whereas it is in the seventh position among the prioritized selection factors in the construction industry.
The present research study introduces a hybrid decision-making framework for ranking PDSs to help ICT project owners to choose the most appropriate PDS for their most important project requirements. This decision-making method provides clear and defensible documentation of the decision process, which is essential for explaining how decisions are made to project stakeholders, especially if an alternative delivery method is chosen. This article examines the application of the proposed framework in the ICT industry; however, it is designed to be expert-driven and applicable in any project and industry. The validation in different sectors is one of the limitations of this research project; future research could fulfill this task.
6. Conclusions and Future Recommendations
This study aimed to provide a new hybrid decision framework to assist project stakeholders in evaluating and selecting the most appropriate PDS and documenting the decision process. The proposed method considered four main PDSs: DB, DBB, CMR, and IPD. To construct a decision matrix for selecting the best PDS, the selection factors were identified by thoroughly searching the literature and interviewing experts. Then, they were screened with the fuzzy Delphi technique. Next, the project risks were identified and prioritized in six competitive constraints: cost, time, quality, reputation, value, and scope. The criterium weights in the decision matrix were determined using the FCM technique and the cause–effect relationships between the most critical factors and project risks were evaluated. Finally, the PDSs were ranked using the FTOPSIS technique. This article addressed the gap in the body of knowledge regarding not considering the risks in the decision-making process or just using risk analysis in decision making by applying the impact of project risks on the selection criteria. In the last part, the proposed framework was implemented in the Iranian ICT industry, and six criteria were selected from the 34 identified criteria (threshold number: 0.64). Eventually, IPD was recognized as the most appropriate project delivery method by determining the weights of the criteria and solving the decision matrix.
The proposed framework was designed and applied with a quantitative approach to help ICT-industry decision makers. Although this method may apply to any other project due to its expert-driven nature, one of the limitations was that it solely focused on the ICT industry and was not validated or appropriately adapted in other industries. Future research could apply the proposed framework to various industries (such as construction) to adjust the findings. In addition, the performance of the proposed hybrid decision-making method was not thoroughly verified. Thus, future research could evaluate the proposed method by using other methods in each phase (e.g., using different techniques such as DEMATEL, ISM-MICMAC, and DEMATEL-ANP to assess the causal relationships and relevance of criteria; using the literature review to identify project risks instead of publishing a field questionnaire; using other MADM techniques such as LINMAP, VIKOR, and COPRAS instead of the TOPSIS technique). Project owners always look for a benchmark in their field for reference when making decisions. Evaluating the maturity of PDSs in Iran and comparing the outcome with the results of this study could be one of the future research areas. Furthermore, since the proposed model does not appraise the level of the organizational maturity, technical capabilities, managerial ability, and readiness of the owner to choose the most appropriate delivery method, the decisions would be much more accurate if a significant relationship were identified between organizational maturity and PDSs.
Author Contributions
Conceptualization, M.J.B.; methodology, M.J.B. and H.S.; software, M.J.B.; validation, M.J.B. and H.S.; formal analysis, M.J.B.; investigation, M.J.B. and H.S.; data curation, M.J.B., H.A.M., E.K.Z. and J.A.; writing—original draft preparation, M.J.B., H.A.M., E.K.Z. and J.A.; writing—review and editing, H.A.M., E.K.Z., J.A. and M.J.B. All authors have read and agreed to the published version of the manuscript.
Funding
This research study received no external funding.
Data Availability Statement
Not applicable.
Conflicts of Interest
The authors declare no conflict of interest.
References
- Liu, B.; Fu, M.; Shen, G.; Tai, S.; Zhang, S. Research on Factors Influencing Project Delivery System Selection for Construction Projects. In Proceedings of the International Conference on Construction and Real Estate Management, Guangzhou, China, 10–12 November 2017; pp. 292–302. [Google Scholar]
- Nguyen, P.H.; Tran, D.Q.; Lines, B.C. Empirical inference system for highway project delivery selection using fuzzy pattern recognition. J. Constr. Eng. Manag. 2020, 146, 04020141. [Google Scholar] [CrossRef]
- Tran, D.Q.; Molenaar, K.R. Risk-based project delivery selection model for highway design and construction. J. Constr. Eng. Manag. 2015, 141, 04015041. [Google Scholar] [CrossRef]
- Bypaneni, S.P.; Tran, D.Q. Empirical identification and evaluation of risk in highway project delivery methods. J. Manag. Eng. 2018, 34, 04018007. [Google Scholar] [CrossRef]
- Ibrahim, M.W.; Hanna, A.; Kievet, D. Quantitative comparison of project performance between project delivery systems. J. Manag. Eng. 2020, 36, 04020082. [Google Scholar] [CrossRef]
- Li, H.; Qin, K.; Li, P. Selection of project delivery approach with unascertained model. Kybernetes 2015, 44, 238–252. [Google Scholar] [CrossRef]
- Zuber, S.; Nawi, M.; Nifa, F.; Bahaudin, A. An overview of project delivery methods in construction industry. Int. J. Supply Chain Manag. 2018, 7, 177–182. [Google Scholar]
- Al Nahyan, M.T.; Hawas, Y.E.; Raza, M.; Aljassmi, H.; Maraqa, M.A.; Basheerudeen, B.; Mohammad, M.S. A fuzzy-based decision support system for ranking the delivery methods of mega projects. Int. J. Manag. Proj. Bus. 2018, 11, 122–143. [Google Scholar] [CrossRef]
- Feghaly, J.; El Asmar, M.; Ariaratnam, S.; Bearup, W. Selecting project delivery methods for water treatment plants. Eng. Constr. Archit. Manag. 2020, 27, 936–951. [Google Scholar] [CrossRef]
- Franz, B.; Molenaar, K.R.; Roberts, B.A. Revisiting project delivery system performance from 1998 to 2018. J. Constr. Eng. Manag. 2020, 146, 04020100. [Google Scholar] [CrossRef]
- Liu, B.; Huo, T.; Shen, Q.; Yang, Z.; Meng, J.; Xue, B. Which owner characteristics are key factors affecting project delivery system decision making? Empirical analysis based on the rough set theory. J. Manag. Eng. 2015, 31, 05014018. [Google Scholar] [CrossRef]
- Tran, D.Q.; Molenaar, K.R.; Alarcön, L.F. A hybrid cross-impact approach to predicting cost variance of project delivery decisions for highways. J. Infrastruct. Syst. 2016, 22, 04015017. [Google Scholar] [CrossRef]
- Touran, A.; Gransberg, D.D.; Molenaar, K.R.; Ghavamifar, K. Selection of project delivery method in transit: Drivers and objectives. J. Manag. Eng. 2011, 27, 21–27. [Google Scholar] [CrossRef]
- Engebø, A.; Klakegg, O.J.; Lohne, J.; Lædre, O. A collaborative project delivery method for design of a high-performance building. Int. J. Manag. Proj. Bus. 2020, 13, 1141–1165. [Google Scholar] [CrossRef]
- Nikmehr, B.; Hosseini, M.R.; Martek, I.; Zavadskas, E.K.; Antucheviciene, J. Digitalization as a strategic means of achieving sustainable efficiencies in construction management: A critical review. Sustainability 2021, 13, 5040. [Google Scholar] [CrossRef]
- Kashiwagi, I. A global study on ICT project performance. J. Adv. Perform. Inf. Value 2018, 10, 8–27. [Google Scholar] [CrossRef]
- Mozayani, A.H.; Moradhassel, N. How much has ICT contributed to Iran economic growth. Int. J. New Political Econ. 2020, 1, 57–68. [Google Scholar] [CrossRef]
- Mir, F.A.; Pinnington, A.H. Exploring the value of project management: Linking project management performance and project success. Int. J. Proj. Manag. 2014, 32, 202–217. [Google Scholar] [CrossRef]
- Soltani, E. Business and project strategy alignment: ICT project success in Iran. Technol. Soc. 2020, 63, 101404. [Google Scholar] [CrossRef]
- Fenech, K.; De Raffaele, C. Overcoming ICT project failures-A practical perspective. In Proceedings of the 2013 World Congress on Computer and Information Technology (WCCIT), Sousse, Tunisia, 22–24 June 2013; pp. 1–6. [Google Scholar]
- Asgharizadeh, E.; Jooybar, S.; Mahdiraji, H.A.; Garza-Reyes, J.A. A Novel Travel Time Estimation Model for Modeling a Green Time-Dependent Vehicle Routing Problem in Food Supply Chain. Sustainability 2022, 14, 8633. [Google Scholar] [CrossRef]
- Hastie, S.; Wojewoda, S. Standish Group 2015 Chaos Report-Q&A with Jennifer Lynch. 2015. Available online: https://www.infoq.com/articles/standish-chaos-2015/ (accessed on 31 May 2018).
- PMI. Success in Disruptive Times; Project Management Institute (PMI): Newtown Square, PA, USA, 2018. [Google Scholar]
- Zhu, X.; Meng, X.; Chen, Y. A novel decision-making model for selecting a construction project delivery system. J. Civ. Eng. Manag. 2020, 26, 635–650. [Google Scholar] [CrossRef]
- Fadiya, O.; Georgakis, P.; Chinyio, E.; Nwagboso, C. Decision-making framework for selecting ICT-based construction logistics systems. J. Eng. Des. Technol. 2015, 13, 260–281. [Google Scholar] [CrossRef]
- Touran, A.; Gransberg, D.D.; Molenaar, K.R.; Ghavamifar, K.; Mason, D.; Fithian, L.A. A guidebook for the evaluation of project delivery methods. In Transit Cooperative Research Program Report 131; Transportation Research Board: Washington, DC, USA, 2009. [Google Scholar]
- BICSI. Telecommunications Project Management Manual, 1st ed.; Building Industry Consulting Services International (BICSI): Tampa, FL, USA, 2016. [Google Scholar]
- Papajohn, D.; El Asmar, M. Impact of Alternative Delivery on the Response Time of Requests for Information for Highway Projects. J. Manag. Eng. 2021, 37, 04020098. [Google Scholar] [CrossRef]
- Bearup, W.; Kenig, M.; O’Donnell, J. Alternative delivery methods, a primer. In Proceedings, ACI-NA Project Delivery Summit II, Airport Board Members and Commissioners Annual Conference; Airports Council International-North America: Chicago, IL, USA, 2007. [Google Scholar]
- Guo, S.; Wang, J. Profit distribution in IPD projects based on weight fuzzy cooperative games. J. Civ. Eng. Manag. 2022, 28, 68–80. [Google Scholar] [CrossRef]
- Demkin, J.A. The Architect’s Handbook of Professional Practice; John Wiley & Sons: Hoboken, NJ, USA, 2001. [Google Scholar]
- Shrestha, P.P.; Batista, J.R. Transition from traditional to alternative project delivery methods in water and wastewater project: Executive decision-makers’ perspective. Eng. Constr. Archit. Manag. 2021, 29, 2665–2688. [Google Scholar] [CrossRef]
- ADEED. Project Delivery Method Handbook; State of Alaska Department of Education and Early Development: Juneau, AK, USA, 2017. [Google Scholar]
- Washington State Department of Transportation (WSDOT). Project Delivery Selection Guidance; Washington State Department of Transportation: Olympia, WA, USA, 2016. [Google Scholar]
- Tran, D.Q.; Molenaar, K.R. Impact of risk on design-build selection for highway design and construction projects. J. Manag. Eng. 2014, 30, 153–162. [Google Scholar] [CrossRef]
- CMAA. An Owner’s Guide to project Delivery Methods; Club Management Association of America (CMAA): Alexandria, VA, USA, 2012. [Google Scholar]
- AIA-AGC. Primer on Project Delivery, 2nd ed.; American Institute of Architects: Washington, DC, USA; The Associated General Contractors of America: Arlington, VA, USA, 2012. [Google Scholar]
- Touran, A. A Guidebook for Selecting Airport Capital Project Delivery Methods; Transportation Research Board: Washington, DC, USA, 2009; Volume 21. [Google Scholar]
- Sharma, D.K.; Mishra, P.K.; Lekhi, R. A Bayesian network framework for comparing project delivery methods. Int. J. Civ. Eng. 2020, 18, 519–537. [Google Scholar] [CrossRef]
- Arashpour, M.; Abbasi, B.; Arashpour, M.; Hosseini, M.R.; Yang, R. Integrated management of on-site, coordination and off-site uncertainty: Theorizing risk analysis within a hybrid project setting. Int. J. Proj. Manag. 2017, 35, 647–655. [Google Scholar] [CrossRef]
- Soltanikarbaschi, N.; Hammad, A. An Integrated AHP-TOPSIS Methodology for Selecting Suitable Project Delivery Method for Construction Projects. In Proceedings of the Canadian Society of Civil Engineering Annual Conference, Virtual, 26–29 May 2021; pp. 599–609. [Google Scholar]
- Balali, V.; Zahraie, B.; Roozbahani, A. Integration of ELECTRE III and PROMETHEE II decision-making methods with an interval approach: Application in selection of appropriate structural systems. J. Comput. Civ. Eng. 2014, 28, 297–314. [Google Scholar] [CrossRef]
- Meshref, A.N.; Elkasaby, E.; Wageh, O. Innovative reliable approach for optimal selection for construction infrastructures projects delivery systems. Innov. Infrastruct. Solut. 2020, 5, 1–10. [Google Scholar] [CrossRef]
- Khalifa, R.I.; Daim, T.U. Project assessment tools evaluation and selection using the hierarchical decision modeling: Case of state departments of transportation in the United States. J. Manag. Eng. 2021, 37, 05020015. [Google Scholar] [CrossRef]
- Fredell, J.; Riley, K.; Higgins, D. On Time and Under Budget: How Southern Colorado’s Water Delivery Project Engineered Success. J. Am. Water Work. Assoc. 2016, 108, 43–53. [Google Scholar] [CrossRef]
- Water Design-Build Council. Water and Wastewater Design-Build Handbook; Water Design-Build Council: Edgewater, MD, USA, 2016. [Google Scholar]
- Cannon, J.; Hildebrand, M. Alternative project delivery selection framework. In Proceedings of the Utility Management Conference, San Diego, CA, USA, 24–27 February 2016. [Google Scholar]
- Giachino, J.; Cecil, M.; Husselbee, B.; Matthews, C. Alternative project delivery: Construction management at risk, design-build and public-private partnerships. Proc. Water Environ. Fed. 2015, 2015, 1–11. [Google Scholar] [CrossRef]
- Gates, S.; Bonner, L.; Batista, J.; Shrestha, P. Lessons Learned by Owners Using Design-Build Project Delivery; Water Design-Build Council: Edgewater, MD, USA, 2015. [Google Scholar]
- DBIA. Choosing A Project Delivery Method, A Design-Build Done Right Primer; Design Build Institute of America: Washington, DC, USA, 2015. [Google Scholar]
- Liu, J.; Love, P.E.; Davis, P.R.; Smith, J.; Regan, M. Conceptual framework for the performance measurement of public-private partnerships. J. Infrastruct. Syst. 2015, 21, 04014023. [Google Scholar] [CrossRef]
- CDOT. Project Delivery Selection Approach; Colorado Department of Transportation Business: Denver, CO, USA, 2014.
- Benson, L.; Bodniewicz, B.; Vittands, J.P.; Carr, J.; Watson, K. Innovative design-build procurement approach for large wastewater facility. In Proceedings of the 86th Annual Water Environment Federation, Chicago, IL, USA, 5–9 October 2013. [Google Scholar]
- Shorney-Darby, H. How Do Design-Bid-Build and Design-Build Differ? Opflow 2012, 38, 6–7. [Google Scholar] [CrossRef]
- ACINA. Airport Owners’ Guide to Project Delivery Systems, 2nd ed.; Airports Council International-North America: Washington, DC, USA, 2012. [Google Scholar]
- Culp, G. Alternative project delivery methods for water and wastewater projects: Do they save time and money? Leadersh. Manag. Eng. 2011, 11, 231–240. [Google Scholar] [CrossRef]
- Comstock, K. Using design-build to create the next generation water reuse facility: The Johns Creek environmental campus. In Proceedings of the 2011 Annual Conference Proceedings, American Water Works Association, Washington, DC, USA, 12–16 June 2011. [Google Scholar]
- Razavi Hajiagha, S.H.; Ahmadzadeh Kandi, N.; Amoozad Mahdiraji, H.; Jafari-Sadeghi, V.; Hashemi, S.S. International entrepreneurial startups’ location under uncertainty through a heterogeneous multi-layer decision-making approach: Evidence and application of an emerging economy. Int. J. Entrep. Behav. Res. 2022, 28, 767–800. [Google Scholar] [CrossRef]
- Mahdiraji, H.A.; Hafeez, K.; Kord, H.; Kamardi, A.A. Analysing the voice of customers by a hybrid fuzzy decision-making approach in a developing country’s automotive market. Manag. Decis. 2020, 60, 399–425. [Google Scholar] [CrossRef]
- Deveci, M.; Özcan, E.; John, R.; Covrig, C.-F.; Pamucar, D. A study on offshore wind farm siting criteria using a novel interval-valued fuzzy-rough based Delphi method. J. Environ. Manag. 2020, 270, 110916. [Google Scholar] [CrossRef]
- Dolatabad, A.H.; Mahdiraji, H.A.; Babgohari, A.Z.; Garza-Reyes, J.A.; Ai, A. Analyzing the key performance indicators of circular supply chains by hybrid fuzzy cognitive mapping and Fuzzy DEMATEL: Evidence from healthcare sector. Environ. Dev. Sustain. 2022, 1–27. [Google Scholar] [CrossRef]
- Nguyen, P.-H. Spherical Fuzzy Decision-Making Approach Integrating Delphi and TOPSIS for Package Tour Provider Selection. Math. Probl. Eng. 2022, 2022, 4249079. [Google Scholar] [CrossRef]
- Kerzner, H. Project Management: A Systems Approach to Planning, Scheduling, and Controlling; John Wiley & Sons: Hoboken, NJ, USA, 2017. [Google Scholar]
- Mulcahy, R. Risk Management: Tricks of the Trade® for Project Managers: And PMI-RMP Exam Prep Guide: A Course in a Book; Rajkot Municipal Corporation (RMC): Rajkot, India, 2010.
- PMI. The Standard for Risk Management in Portfolios, Programs and Projects; Project Management Institute: Newtown Square, PA, USA, 2019. [Google Scholar]
- Karthik, S.; Felix, A.; Selvaraj, A.; Gunasekar, T. An Improved Linguistic Haar Fuzzy Decision Maps. In Proceedings of the 2022 International Conference on Electronic Systems and Intelligent Computing (ICESIC), Chennai, India, 22–23 April 2022; pp. 58–62. [Google Scholar]
- Orang, O.; Guimarães, F.G. Time Series Forecasting Using Fuzzy Cognitive Maps: A Survey. arXiv 2022, arXiv:2201.02297. [Google Scholar]
- Poczeta, K.; Papageorgiou, E.I.; Gerogiannis, V.C. Fuzzy cognitive maps optimization for decision making and prediction. Mathematics 2020, 8, 2059. [Google Scholar] [CrossRef]
- Özesmi, U.; Özesmi, S.L. Ecological models based on people’s knowledge: A multi-step fuzzy cognitive mapping approach. Ecol. Model. 2004, 176, 43–64. [Google Scholar] [CrossRef]
- Keshavarz-Ghorabaee, M.; Amiri, M.; Hashemi-Tabatabaei, M.; Zavadskas, E.K.; Kaklauskas, A. A new decision-making approach based on Fermatean fuzzy sets and WASPAS for green construction supplier evaluation. Mathematics 2020, 8, 2202. [Google Scholar] [CrossRef]
- Obiedat, M.; Samarasinghe, S. A novel semi-quantitative Fuzzy Cognitive Map model for complex systems for addressing challenging participatory real life problems. Appl. Soft Comput. 2016, 48, 91–110. [Google Scholar] [CrossRef]
- Ghorui, N.; Ghosh, A.; Algehyne, E.A.; Mondal, S.P.; Saha, A.K. AHP-TOPSIS inspired shopping mall site selection problem with fuzzy data. Mathematics 2020, 8, 1380. [Google Scholar] [CrossRef]
- Mahdiraji, H.A.; Kamardi, A.A.; Beheshti, M.; Razavi Hajiagha, S.H.; Rocha-Lona, L. Analysing supply chain coordination mechanisms dealing with repurposing challenges during Covid-19 pandemic in an emerging economy: A multi-layer decision making approach. Oper. Manag. Res. 2022, 1–20. [Google Scholar] [CrossRef]
- Dahooie, J.H.; Razavi Hajiagha, S.H.; Farazmehr, S.; Zavadskas, E.K.; Antucheviciene, J. A novel dynamic credit risk evaluation method using data envelopment analysis with common weights and combination of multi-attribute decision-making methods. Comput. Oper. Res. 2021, 129, 105223. [Google Scholar] [CrossRef]
- Ulutaş, A.; Popovic, G.; Stanujkic, D.; Karabasevic, D.; Zavadskas, E.K.; Turskis, Z. A new hybrid MCDM model for personnel selection based on a novel grey PIPRECIA and grey OCRA methods. Mathematics 2020, 8, 1698. [Google Scholar] [CrossRef]
Publisher’s Note: MDPI stays neutral with regard to jurisdictional claims in published maps and institutional affiliations. |
© 2022 by the authors. Licensee MDPI, Basel, Switzerland. This article is an open access article distributed under the terms and conditions of the Creative Commons Attribution (CC BY) license (https://creativecommons.org/licenses/by/4.0/).

