Examination of Abnormal Behavior Detection Based on Improved YOLOv3
Abstract
1. Introduction
2. Materials and Methods
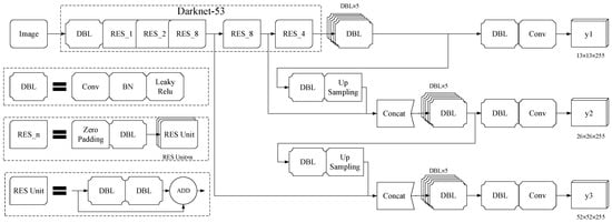
2.1. Methodology YOLOv3
2.2. Obtaining the Optimal Anchor Boxes
2.3. Improved Backbone Darknet32
2.4. Loss Function
2.5. Frame-Alternate Dual-Thread Detection Method
3. Results and Discussion
3.1. Experimental Environment and Data Set
3.2. Evaluation Index of the Model
3.3. Analysis of Results
3.3.1. Analysis of Detection Accuracy
3.3.2. Analysis of Detection Speed
3.3.3. Performance Comparison of Different Algorithms
4. Conclusions
- (1)
- The use of GIoUloss and focal loss to optimize the loss function of the YOLOv3 algorithm, and the use of the K-Means algorithm to cluster the bounding boxes in the data set to obtain the best anchor boxes can improve the algorithm’s detection accuracy of abnormal behavior in the examination.
- (2)
- The use of the backbone Darknet32 proposed in this paper for abnormal behavior detection in the examination can improve the detection speed and reduce memory consumption of the computer while ensuring high detection accuracy.
- (3)
- The frame-alternate dual thread detection method can greatly increase the speed of abnormal behavior detection in the examination without consuming a large amount of memory, and this method meets the need of real-time detection.
Author Contributions
Funding
Conflicts of Interest
References
- Michałowska, J.; Mazurek, P.A.; Gad, R.; Chudy, A.; Kozieł, J. Identification of the Electromagnetic Field Strength in Public Spaces and During Travel. In 2019 Applications of Electromagnetics in Modern Engineering and Medicine (PTZE); IEEE: Piscataway Township, NJ, USA, 2019; pp. 121–124. [Google Scholar]
- Wang, J.; Kochan, O.; Przystupa, K.; Su, J. Information-measuring system to study the thermocouple with controlled temperature field. Meas. Sci. Rev. 2019, 19, 161–169. [Google Scholar] [CrossRef]
- Lonkwic, P.; Przystupa, K.; Krakowski, T.; Ruta, H. Case Study of Support Frame Optimization Using a Distant Load. Sustainability 2020, 12, 974. [Google Scholar] [CrossRef]
- Rahman, S.; Ali, F.; Smagor, A.; Muhammad, F.; Habib, U.; Glowacz, A.; Mursal, S.N.F. Mitigation of nonlinear distortions for a 100 Gb/s radio-over-fiber-based WDM network. Electronics 2020, 9, 1796. [Google Scholar] [CrossRef]
- Przystupa, K. Jakość kształcenia w uczelni wyższej. Autobusy Tech. Eksploat. Syst. Transp. 2017, 18, 1770–1775. [Google Scholar]
- Kozieł, J.; Wac-Włodarczyk, A.; Śniadkowski, M. IT education at the faculty of electrotechnology: Quality analysis and evaluation. In Proceedings of the 29th Annual Conference of the European Association for Education in Electrical and Information Engineering (EAEEIE), Ruse, Bulgaria, 4–6 September 2019; pp. 1–4. [Google Scholar]
- Han, J.; Yang, Z.; Xu, H.; Hu, G.; Zhang, C.; Li, H.; Zeng, H. Search Like an Eagle: A Cascaded Model for Insulator Missing Faults Detection in Aerial Images. Energies 2020, 13, 713. [Google Scholar] [CrossRef]
- Jin, B.; Xu, D.D. Enhancing education of credit and honesty of medical students in terms of cheating on exams. Chin. J. Med Educ. 2011, 31, 93–94+122. [Google Scholar]
- Kim, S.H.; Choi, H.L. Convolutional Neural Network-Based Multi-Target Detection and Recognition Method for Unmanned Airborne Surveillance Systems. Int. J. Aeronaut. Space Sci. 2019, 20, 1038–1046. [Google Scholar] [CrossRef]
- Kou, Z.; Wu, J.; Wang, H.; Ruan, W. Obstacle visual sensing based on deep learning for low-altitude small unmanned aerial vehicles. Sci. Sin. Inf. 2020, 50, 692–703. [Google Scholar]
- Zhao, J.H.; Zhang, X.G.; Yang, L. Ship detection in remote sensing based on deep learning. Sci. Surv. Mapp. 2020, 45, 110–116+134. [Google Scholar]
- Zeng, X.; Wen, L.; Liu, B.; Qi, X. Deep learning for ultrasound image caption generation based on object detection. Neurocomputing 2020, 392, 132–141. [Google Scholar] [CrossRef]
- Redmon, J.; Farhadi, A. Yolov3: An incremental improvement. arXiv 2018, arXiv:1804.02767. [Google Scholar]
- Pang, L.; Liu, H.; Chen, Y.; Miao, J. Real-time Concealed Object Detection from Passive Millimeter Wave Images Based on the YOLOv3 Algorithm. Sensors 2020, 20, 1678. [Google Scholar] [CrossRef] [PubMed]
- Park, M.; Ko, B.C. Two-step real-time night-time fire detection in an urban environment using Static ELASTIC-YOLOv3 and Temporal Fire-Tube. Sensors 2020, 20, 2202. [Google Scholar] [CrossRef] [PubMed]
- Kuznetsova, A.; Maleva, T.; Soloviev, V. Using YOLOv3 algorithm with pre-and post-processing for apple detection in fruit-harvesting robot. Agronomy 2020, 10, 1016. [Google Scholar] [CrossRef]
- Kulikajevas, A.; Maskeliūnas, R.; Damaševičius, R.; Ho, E.S. 3D object reconstruction from imperfect depth data using extended YOLOv3 network. Sensors 2020, 20, 2025. [Google Scholar] [CrossRef]
- Valiati, G.R.; Menotti, D. Detecting Pedestrians with YOLOv3 and Semantic Segmentation Infusion. In Proceedings of the 2019 International Conference on Systems, Signals and Image Processing (IWSSIP), Osijek, Croatia, 5–7 June 2019; pp. 95–100. [Google Scholar]
- Novak, B.; Ilić, V.; Pavković, B. YOLOv3 Algorithm with additional convolutional neural network trained for traffic sign recognition. In Proceedings of the 2020 Zooming Innovation in Consumer Technologies Conference (ZINC), Novi Sad, Serbia, 26–27 May 2020; pp. 165–168. [Google Scholar]
- Xue, J.W.; Li, Z.H.; Fukuda, M.; Takahashi, T.; Suzuki, M.; Mae, Y.; Arai, Y.; Aoyagi, S. Application of garbage detection based on improved YOLOv3 algorithm. J. Optoelectron. Laser 2020, 31, 928–938. [Google Scholar]
- Shi, J.W.; Zhang, Y. License plate recognition system based on improved YOLOv3 and BGRU. Comput. Eng. Des. 2020, 41, 2345–2351. [Google Scholar]
- Qi, Z.G.; LI, Y.Y.; Li, B.; Yuan, X. Simulation of small object detection based on Tiny-YOLOv3. Exp. Technol. Manag. 2020, 37, 38–41. [Google Scholar]
- Li, M.K.; Zhang, T.; Cui, W.N. Research of Infrared Small Pedestrian Target Detection Based on YOLOv3. Infrared Technol. 2020, 42, 176–181. [Google Scholar]
- Sun, S.; Przystupa, K.; Wei, M.; Yu, H.; Ye, Z.; Kochan, O. Fast bearing fault diagnosis of rolling element using Levy Moth-Flame optimization algorithm and Naive Bayes. Eksploat. I Niezawodn.-Maint. Reliab. 2020, 22, 730–740. [Google Scholar] [CrossRef]
- Hong, G.S.; Kim, B.G.; Hwang, Y.S.; Kwon, K.K. Fast multi-feature pedestrian detection algorithm based on histogram of oriented gradient using discrete wavelet transform. Multimed. Tools Appl. 2016, 75, 15229–15245. [Google Scholar] [CrossRef]
- Lowe, D.G. Distinctive image features from scale-invariant keypoints. Int. J. Comput. Vis. 2004, 60, 91–110. [Google Scholar] [CrossRef]
- Zhang, L.; Zhang, D.; Sun, J.; Wei, G.; Bo, H. Salient object detection by local and global manifold regularized SVM model. Neurocomputing 2019, 340, 42–54. [Google Scholar] [CrossRef]
- Mohemmed, A.; Johnston, M.; Zhang, M. Particle swarm optimisation based AdaBoost for object detection. Soft Comput. 2011, 15, 1793–1805. [Google Scholar] [CrossRef]
- Yin, F.; Zheng, L.; Chen, T.T. Chinese text localization based on Adaboost algorithm in natural images. Comput. Eng. Appl. 2017, 53, 200–204. [Google Scholar]
- Lu, X.; Liu, K.; Cheng, Y.X. Non-Motor Vehicle Target Detection Based on Deep Learning. Comput. Eng. Appl. 2019, 55, 182–188+214. [Google Scholar]
- Girshick, R.; Donahue, J.; Darrell, T.; Malik, J. Region-based convolutional networks for accurate object detection and segmentation. IEEE Trans. Pattern Anal. Mach. Intell. 2015, 38, 142–158. [Google Scholar] [CrossRef]
- Girshick, R. Fast r-cnn. In Proceedings of the IEEE International Conference on Computer Vision, Santiago, Chile, 7–13 December 2015; pp. 1440–1448. [Google Scholar]
- Jiao, L.; Zhang, F.; Liu, F.; Yang, S.; Li, L.; Feng, Z.; Qu, R. A survey of deep learning-based object detection. IEEE Access 2019, 7, 128837–128868. [Google Scholar] [CrossRef]
- He, K.; Zhang, X.; Ren, S.; Sun, J. Spatial pyramid pooling in deep convolutional networks for visual recognition. IEEE Trans. Pattern Anal. Mach. Intell. 2015, 37, 1904–1916. [Google Scholar] [CrossRef]
- Ren, S.; He, K.; Girshick, R.; Sun, J. Faster r-cnn: Towards real-time object detection with region proposal networks. In Proceedings of the Advances in Neural Information Processing Systems, Montreal, QC, Canada, 7–12 December 2015; pp. 91–99. [Google Scholar]
- Redmon, J.; Divvala, S.; Girshick, R.; Farhadi, A. You only look once: Unified, real-time object detection. In Proceedings of the Ieee Conference on Computer Vision And Pattern Recognition, Las Vegas, NV, USA, 27–30 June 2016; pp. 779–788. [Google Scholar]
- Liu, W.; Anguelov, D.; Erhan, D.; Szegedy, C.; Reed, S.; Fu, C.Y.; Berg, A.C. Ssd: Single shot multibox detector. In European Conference on Computer Vision; Springer: Cham, Switzerland, 2016. [Google Scholar]
- Redmon, J.; Farhadi, A. YOLO9000: Better, faster, stronger. In Proceedings of the IEEE Conference on Computer Vision and Pattern Recognition, Honolulu, HI, USA, 21–26 July 2017; pp. 7263–7271. [Google Scholar]
- Hu, H.; Zeng, C. Vehicle detection method based on improved R-FCN. Comput. Eng. Des. 2020, 41, 1164–1168. [Google Scholar]
- Bodla, N.; Singh, B.; Chellappa, R.; Davis, L.S. Soft-NMS--improving object detection with one line of code. In Proceedings of the IEEE International Conference on Computer Vision, Venice, Italy, 22–29 October 2017; pp. 5561–5569. [Google Scholar]
- Zhao, B.K.; Li, J.W.; Yang, F. A deep learning based object detection algorithm for remote sensing images. Comput. Eng. Sci. 2019, 41, 2166–2172. [Google Scholar]
- Li, X.X.; Zhu, L.Q.; Yu, Z.J. Adaptive Foreground Object Detection in Railway Scene. J. Transp. Syst. Eng. Inf. Technol. 2020, 20, 83–90. [Google Scholar]
- Qiao, T.; Su, H.S.; Liu, G.H. Object Detection Algorithm Based on Improved Feature Extraction Network. Laser Optoelectron. Prog. 2019, 56, 134–139. [Google Scholar]
- Lin, Y.Z.; Wu, X.Y.; Li, H.J. Cheating behavior detection in examination room based on background subtraction. J. Univ. Jinan 2015, 29, 406–409. [Google Scholar]
- Dai, J.B.; Long, M.L.; Zhao, H.W.; Chen, F.J. Algorithm of the exam abnormal behavior detection. J. Jilin Univ. 2012, S1. Available online: https://www.researchgate.net/publication/296589532_Algorithm_of_the_exam_abnormal_behavior_detection (accessed on 10 December 2020).
- Lin, T.Y.; Dollár, P.; Girshick, R.; He, K.; Hariharan, B.; Belongie, S. Feature pyramid networks for object detection. In Proceedings of the IEEE Conference on Computer Vision and Pattern Recognition, Honolulu, HI, USA, 21–26 July 2017; pp. 2117–2125. [Google Scholar]
- He, K.; Zhang, X.; Ren, S.; Sun, J. Deep residual learning for image recognition. In Proceedings of the IEEE Conference on Computer Vision and Pattern Recognition, Las Vegas, NV, USA, 27–30 June 2016; pp. 770–778. [Google Scholar]
- Saroj, T. Kavita, R: Review: Study on simple k mean and modified K mean clustering technique. Int. J. Sci. Eng. Comput. Technol. 2016, 6, 279–281. [Google Scholar]
- Xu, H.; Przystupa, K.; Fang, C.; Marciniak, A.; Kochan, O.; Beshley, M. A Combination Strategy of Feature Selection Based on an Integrated Optimization Algorithm and Weighted K-Nearest Neighbor to Improve the Performance of Network Intrusion Detection. Electronics 2020, 9, 1206. [Google Scholar] [CrossRef]
- Jun, S.; Przystupa, K.; Beshley, M.; Kochan, O.; Beshley, H.; Klymash, M.; Pieniak, D. A Cost-Efficient Software Based Router and Traffic Generator for Simulation and Testing of IP Network. Electronics 2020, 9, 40. [Google Scholar] [CrossRef]
- Hezatofighi, H.; Tsoi, N.; Gwak, J.; Sadeghian, A.; Reid, I.; Savarese, S. Generalized intersection over union: A metric and a loss for bounding box regression. In Proceedings of the IEEE Conference on Computer Vision and Pattern Recognition, Long Beach, CA, USA, 16–20 June 2019; pp. 658–666. [Google Scholar]
- Lin, T.Y.; Goyal, P.; Girshick, R.; He, K.; Dollár, P. Focal loss for dense object detection. In Proceedings of the IEEE International Conference on Computer Vision, Venice, Italy, 22–29 October 2017; pp. 2980–2988. [Google Scholar]











| Anchor | 0 | 1 | 2 | 3 | 4 | 5 | 6 | 7 | 8 |
|---|---|---|---|---|---|---|---|---|---|
| YOLOv3 | (10,13) | (16,30) | (33,23) | (30,61) | (62,45) | (59,119) | (116,90) | (156,198) | (373,326) |
| Improved YOLOv3 | (45,50) | (57,66) | (89,53) | (89,79) | (108,104) | (125,135) | (131,69) | (166,97) | (237,131) |
| Model | Backbone | AP (%) | mAP (%) | FPS | |||
|---|---|---|---|---|---|---|---|
| Bend over the Desk | Deliver Things | Hand under the Table | Look Around | ||||
| SSD300 | VGG16 | 66.34 | 71.12 | 76.755 | 35.53 | 62.44 | 44 |
| SSD512 | VGG16 | 84.74 | 94.03 | 87.86 | 52.01 | 79.66 | 25 |
| SSD-MobileNet | MobileNet | 87.72 | 85.42 | 81.09 | 60.71 | 78.73 | 29 |
| YOLOv3 | DarkNet53 | 89.92 | 92.47 | 88.46 | 62.39 | 83.31 | 32 |
| YOLOv3_G_KM_D32 | DarkNet32 | 91.59 | 94.51 | 90.51 | 77.52 | 88.53 | 42 |
Publisher’s Note: MDPI stays neutral with regard to jurisdictional claims in published maps and institutional affiliations. |
© 2021 by the authors. Licensee MDPI, Basel, Switzerland. This article is an open access article distributed under the terms and conditions of the Creative Commons Attribution (CC BY) license (http://creativecommons.org/licenses/by/4.0/).
Share and Cite
Fang, M.-t.; Chen, Z.-j.; Przystupa, K.; Li, T.; Majka, M.; Kochan, O. Examination of Abnormal Behavior Detection Based on Improved YOLOv3. Electronics 2021, 10, 197. https://doi.org/10.3390/electronics10020197
Fang M-t, Chen Z-j, Przystupa K, Li T, Majka M, Kochan O. Examination of Abnormal Behavior Detection Based on Improved YOLOv3. Electronics. 2021; 10(2):197. https://doi.org/10.3390/electronics10020197
Chicago/Turabian StyleFang, Meng-ting, Zhong-ju Chen, Krzysztof Przystupa, Tao Li, Michal Majka, and Orest Kochan. 2021. "Examination of Abnormal Behavior Detection Based on Improved YOLOv3" Electronics 10, no. 2: 197. https://doi.org/10.3390/electronics10020197
APA StyleFang, M.-t., Chen, Z.-j., Przystupa, K., Li, T., Majka, M., & Kochan, O. (2021). Examination of Abnormal Behavior Detection Based on Improved YOLOv3. Electronics, 10(2), 197. https://doi.org/10.3390/electronics10020197

