Abstract
This paper addresses the issue of fatigue in grid structures, a topic of interest in engineering and academia. The goal is to establish a practical fatigue design calculation method for weld toes in welded hollow spherical joints (WHSJs). The study focuses on commonly used steel tube-WHSJs in grid structures, conducting 25 constant amplitude and four variable amplitude fatigue tests on tube–sphere joints (TSJs) to derive corresponding S-N curves. Using ANSYS, the hot spot stress concentration coefficient Kh at the weld toes in 22 TSJs was calculated, resulting in a numerical solution for Kh ranging from 2.0550 to 4.8600. Based on this, fatigue design methods were established using nominal stress amplitude and hot spot stress amplitude as fundamental parameters. Within a fatigue design reference period of two million cycles, the allowable nominal stress amplitude for TSJs is 22 N/mm2, and the allowable hot spot stress amplitude is 66 N/mm2. The study also conducted macroscopic and microscopic analyses on fatigue fractures of TSJs, revealing that the weld toe in the sphere of TSJs is the primary site for fatigue crack initiation. This research provides practical calculation methods for fatigue design in WHSJ grid structures, contributing to their broader application.
1. Introduction
Welded hollow spherical joints (WHSJs) have found extensive application in industrial structures such as factories, owing to their simplistic structure, high structural stiffness, and substantial load-bearing capacity. Figure 1 illustrates a typical WHSJ grid structure. Given the functional requirements of industrial buildings, the installation of overhead cranes is often a necessity. Figure 2 depicts the suspension points of WHSJs. The long-term alternating load from overhead crane operations induces fatigue issues in WHSJs, which have received significant attention both in academia and the engineering sector [1,2]. Studies indicate that the dynamic impacts incurred during crane lifting operations are significant, suggesting that the number of lifting operations should be estimated at 1.5 to 3.5 times the actual operational count to account for these impacts [3].
Figure 1.
Grid structure of an aircraft maintenance hangar.
Figure 2.
Schematic of suspension points in a welded hollow sphere.
However, the existing Standard for Design of Steel Structures [4], International Institute of Welding (IIW) [5], and Eurocode 3 [6] lack a designated category for tube–sphere joints (TSJs) within the classification of components and connections for fatigue calculations. As stipulated by the Technical Specification for Space Frame Structures [7] in China, specialized testing is required when conducting fatigue calculations. This gap in standards or specifications constrains the application of grid structures with overhead cranes. Consequently, it is pivotal to develop a fatigue calculation method for TSJs, as this can lay a foundation for enhancing existing standards.
Presently, bolted spherical joints (BSJs), as another commonly utilized type of joint, have been extensively studied. For example, Qiu et al. [8,9] conducted fatigue tests under constant and variable amplitude conditions on M30 high-strength bolts used in spatial grids, deriving the corresponding fatigue S-N curves. Moreover, to comprehensively investigate the fatigue performance of BSJs, fatigue tests were carried out on M20, M39, and M60 high-strength bolts [10,11,12].
Numerous investigations have been carried out on the fatigue behavior of welded joints [13,14,15], but there is a scarcity of literature that specifically focuses on WHSJs. Nevertheless, the fatigue research on WHSJs remains relatively underexplored. Regarding TSJs, Qin [16] performed finite element analysis on over 50 WHSJs of varying geometric sizes, investigating the stress distribution at the intersection of steel tubes and hollow spheres. Following this, Lei [17] turned the research focus towards the static and associated fatigue performance of WHSJ grids, establishing two fatigue calculation formulas based on hot spot stress and hot spot stress amplitude on hollow spheres. Advancing further, Xu et al. [18] conducted fatigue tests on the entire model of WHSJ grids. By employing scanning electron microscopy, they conducted microscopic analysis on fatigue fractures and proposed methods to extend the fatigue life of industrial grid structures. Moreover, Zhang et al. [19,20] examined the fatigue behavior at the weld toes of TSJs. Through a series of 20 constant amplitude tests, coupled with the application of infrared thermography, they recorded the surface temperature of specimens, deducing that infrared thermography could unveil the probable location of fatigue failure. Transitioning to welded cross plate–hollow sphere joints, Jiao et al. [21,22,23] undertook 19 constant and 14 variable amplitude fatigue tests, establishing the corresponding S-N curves. In terms of structural reinforcement, Duan et al. [24] discovered that post-CFRP reinforcement shifted the fatigue fracture from the tube–sphere connection weld to the tube–endplate connection. However, there remains a void in research regarding the fatigue performance of the weld toes in the sphere of TSJs.
In this study, a series of constant and variable amplitude fatigue tests were performed on TSJs to derive the corresponding S-N curves. Utilizing the capabilities of ANSYS, a numerical solution was formulated to ascertain the hot spot stress concentration coefficient. With this foundation, fatigue design methodologies for TSJs were devised, employing nominal stress amplitude and hot spot stress amplitude as the primary parameters. Subsequent macroscopic and microscopic analyses of fatigue fractures in TSJs were executed to reveal the underlying fatigue failure mechanisms of these joints.
2. Fatigue Testing
2.1. TSJ Specimens
The quality control for hollow sphere products adheres to the stipulations outlined in the standard JGJ/T 11-2009: Welded Hollow Spherical Node of Space Grid Structures [25]. When it comes to overhead cranes from the lower chord joints of grids, the utilization of cross plate joints, typically constructed from material Q235B, is a common practice. The connections between the steel tube and the welded hollow sphere, as well as between the cross plate and the welded hollow sphere, are facilitated through groove welds. The welding process employs E43 type manual welding rods or carbon steel gas shielded welding wire. In terms of weld quality, the grading is designated as follows: groove welds are assigned a grade of level two, while fillet welds receive a grade of level three.
Utilizing the aforementioned materials and connection methods, 11 different specifications encompassing a total of 136 WHSJ fatigue specimens were fabricated. To accurately determine the fatigue life at the weld toes in the sphere of WHSJs, it is advisable to select specimens wherein the tube exhibits greater strength compared to the sphere. Consequently, five specifications totaling 29 specimens among the 136 WHSJ fatigue specimens were chosen for fatigue testing in this study. The specifications of these specimens are listed in Table 1, with their detailed dimensions illustrated in Figure 3. On-site photographs of the specimens are shown in Figure 4.
Table 1.
WHSJ fatigue specimens and their specifications (unit: mm).
Figure 3.
WHSJ specimens KQ-1–6 (unit: mm).
Figure 4.
Photographs of WHSJ specimens.
2.2. Loading Device and Scheme
A specialized fatigue testing loading device was designed to examine TSJs. This apparatus consists of a loading frame, an actuator, two loading beams (Loading Beam 1 and Loading Beam 2), and specimen supports, as schematically illustrated in Figure 5. The fatigue tests utilized an AMSLER fatigue testing machine, with a maximum load capacity of 1000 kN, as the primary loading equipment for TSJs. The loading beams, crafted for fatigue testing, are fabricated from material Q235-B. Although the bolt connection between the loading beams and the loading frame is integral, it is not depicted in Figure 5. Affixed to both sides of Loading Beam 2 are hydraulic jacks, each with a maximum fatigue load of 500 kN, positioned accordingly, with supports stationed at the mid-span. Concurrently, at the mid-span of Loading Beam 1, the fatigue specimen is securely mounted and linked to the top support via pins, which not only facilitates fatigue loading but also ensures the self-balancing feature of the device. To enable force transmission, cushion blocks are inserted to bridge the gap between the hydraulic jacks and Loading Beam 2. The loading protocol is outlined in Table 2.
Figure 5.
Illustration of the simultaneous loading scheme on both sides.
Table 2.
Constant amplitude fatigue testing loading protocol.
2.3. Fatigue Failure Modes
Throughout the fatigue tests conducted in this study, data from a total of 29 fatigue failure samples were collected, encompassing 25 constant amplitude fatigue failure samples and four variable amplitude fatigue failure samples. Representative fatigue failure specimens are illustrated in Figure 6. Upon the failure of the TSJ specimens, the fractures consistently manifested near the weld toes in the sphere of the tube–sphere connection welds, exhibiting a relatively regular fatigue fracture surface.
Figure 6.
Photographs of fatigue failure of WHSJ specimens: (a) KQ1-13; (b) KQ2-11; (c) KQ5-9; and (d) KQ5-17.
2.4. Statistical Analysis of Variable Amplitude and Constant Amplitude Fatigue Data
In this experiment, variable amplitude fatigue data of specimens KQ-5-2, KQ-5-12, KQ-6-2, and KQ-6-16 were obtained. Utilizing Miner’s rule, these data were converted into equivalent stress amplitude data for statistical analysis. Miner’s rule is expressed as:
where DM denotes the total fatigue damage, and ni and Ni represent the number of cycles and fatigue life in the ith loading period, respectively. The subscript i refers to the loading sequence number.
According to Miner’s rule, fatigue fracture occurs when DM = 1.0. The equivalent stress amplitudes for variable amplitude fatigue were calculated using Equation (1), and the results are shown in Table 3.
Table 3.
Calculation of equivalent stress amplitudes for variable amplitude fatigue of TSJs.
Through regression analysis conducted on 25 constant amplitude fatigue data samples from TSJs (where one sample did not exhibit failure, with N = 2.39 × 106) and four variable amplitude fatigue data samples from TSJs (utilizing equivalent stress amplitudes), the overall S-N curve was derived, as depicted in Figure 7. In Figure 7, CA represents constant amplitude fatigue failure, while VA signifies variable amplitude fatigue failure. The results demonstrate that the data points of variable amplitude fatigue, once equated for stress amplitude, are essentially distributed within the dispersion band of the constant amplitude fatigue S-N curve, showcasing a consistent trend. The regression equation is represented in Equation (2).
Figure 7.
Stress–life curve of TSJ specimens.
The hollow sphere sizes of φ400 × 10 as shown in Figure 7 indicate that the variations in the steel pipe outer diameter from 127 to 159 and the changes in steel pipe wall thickness from 8 mm to 10 mm have a minor influence on the fatigue strength of the spherical weld toe at the pipe–sphere connection node. Consequently, for nodes with steel pipe dimensions within this range, the weld toe on the spherical surface can undergo fatigue analysis using the method outlined in this paper.
2.5. Evaluation of Fatigue Fracture
Macroscopic analysis was conducted on the fatigue fracture of the TSJs, and microscopic analysis was carried out using the EVOMA15 scanning electron microscope (ZEISS, Jena, Germany). A representative fatigue fracture from specimen KQ-2-7 is presented, which underwent fatigue failure after 628,800 cycles at a stress amplitude of 45 N/mm². The macroscopic fracture is shown in Figure 8a–c, occurring at the weld toe in the sphere of the tube–hollow sphere connection weld. The fracture extends circumferentially along the weld toe, exhibiting clear characteristics of fatigue failure.
Figure 8.
Specimen KQ-2-7: (a) Fractured specimen; (b) Macroscopic fracture 1; (c) Macroscopic fracture 2; (d) Magnified 20×; (e) Magnified 200×; and (f) Magnified 500×.
A selected sample from the fatigue fracture, showing multiple sets of beach marks in the fatigue source region alongside a final rupture zone, mirrors the characteristics typically observed in static tensile loading fractures. When the fatigue source region is magnified 20 times, as depicted in Figure 8d, radiating traces expanding outward from the fatigue source become apparent, with the image highlighting the simultaneous expansion of multiple fatigue microcracks. Advancing to a 200 times magnification of the fatigue propagation zone in Figure 8e, fatigue striations come into view; and at a 500 times magnification in Figure 8f, a discernible fatigue striation, accompanied by smaller pores and secondary cracks (indicative of crystal fracture), occupies the central portion of the image.
Fatigue fractures in TSJs typically occur on the hollow sphere, extending in a relatively regular circular manner along the weld toe of the tube–hollow sphere connection weld. The initiation of fatigue cracks primarily occurs at the weld toe on the surface of the hollow sphere, often manifesting multiple fatigue sources. Once a crack initiates, the joint experiences eccentric tension. At this moment, the crack primarily propagates along the thickness of the hollow sphere, expanding to both sides upon reaching the inner wall of the sphere, and merges with adjacent fatigue propagation zones, thus forming a relatively regular circular shape. Due to the different positions of fatigue sources and the metallographic differences around them, fatigue steps appear. Visible fatigue sources are often more than one, hence multiple fatigue steps are observed.
The fatigue fracture exhibits three distinct regions: the fatigue crack source region, fatigue crack propagation region, and the final rupture region, characterized by typical fatigue fracture features—”beach” or “shell” shaped striations. The final rupture region of the macroscopic fracture exhibits typical features of static tensile failure—rough bright grains in the fibrous area.
Multiple fatigue sources are present in the fatigue fractures of TSJs, each with varying degrees of defects such as internal microcracks, pores, inclusions, surface undercuts, and arc pits, as shown in Figure 9. These fatigue sources undergo varying degrees of expansion, eventually merging with adjacent fatigue propagation zones, collectively propelling the fatigue expansion forward. The propagation zone exhibits typical features observed during microscopic examination of fatigue fractures—bright fatigue striations; secondary cracks appear when the material lacks toughness. The final rupture region often exhibits fracture lips formed during the final fracture caused by shear stresses.
Figure 9.
Apparent defects in the weld seam of TSJs: (a) Poor joint; (b) Surface slag inclusions; (c) Arc scratches; and (d) Undercuts.
As the fatigue propagation zone enlarges, the remaining cross-section becomes insufficient to withstand the cyclic stress under static load effects, causing immediate tearing, as observed in specimen KQ-2-11 (Figure 6b) with fatigue failure. The fatigue fracture fails to form a complete circular shape, primarily because the expansion of the fatigue crack proceeds from the outer surface of the hollow sphere along its thickness. Before the final rupture occurs, the TSJ is already in a severe eccentric tension state.
3. Hot Spot Stress Analysis of WHSJ Specimens
Design parameters and welding details significantly influence fatigue performance [26]. Therefore, it is crucial to examine their impact on fatigue performance through experimental investigations as extensively as possible. However, conducting extensive fatigue testing demands substantial resources and funding, making it infeasible to cover all specimen types. Consequently, fatigue testing often incorporates finite element simulation to yield more comprehensive research findings [27,28]. This section strives to derive a numerical solution for the hot spot stress concentration coefficient at the weld toes in the sphere of TSJs. This endeavor aids in formulating a fatigue design method based on hot spot stress, which will be discussed in the subsequent sections.
3.1. Verification of Finite Element Models
3.1.1. Static Test
To investigate the stress distribution pattern of the spherical joint and verify the accuracy of the finite element model, static tests were carried out on two variations of welded hollow spherical joints. The steel pipes selected included seamless pipes of two specifications: φ76 × 4.5 and φ102 × 5, both composed of Q235-B material. The welded hollow spherical joint utilized had dimensions of φ220 × 8 and was also made of Q235-B material, as illustrated in Figure 10.
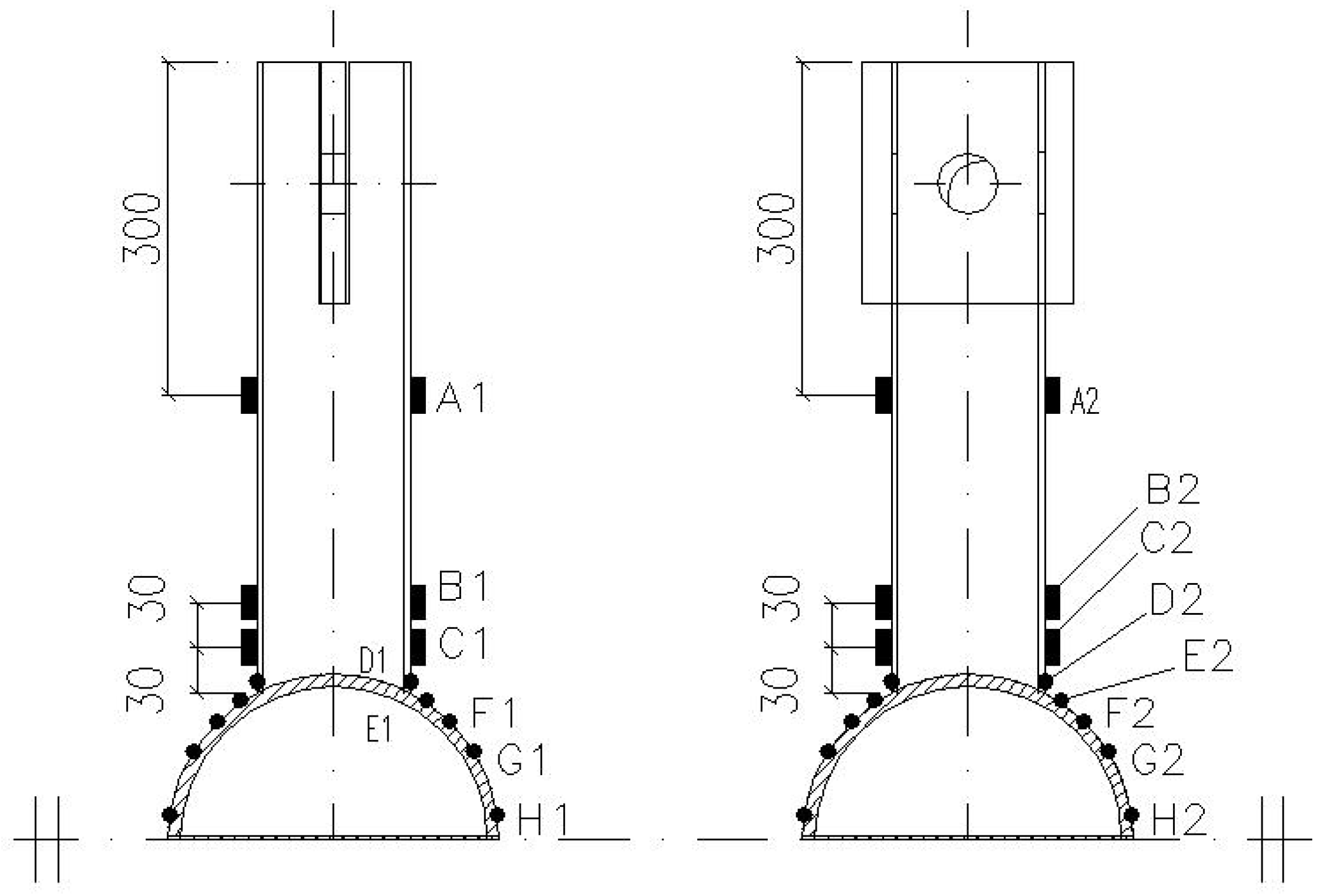
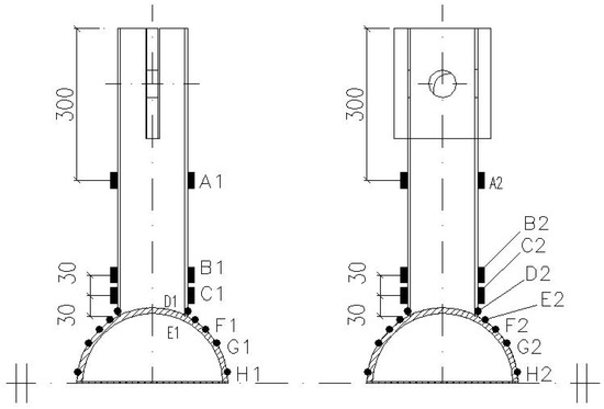
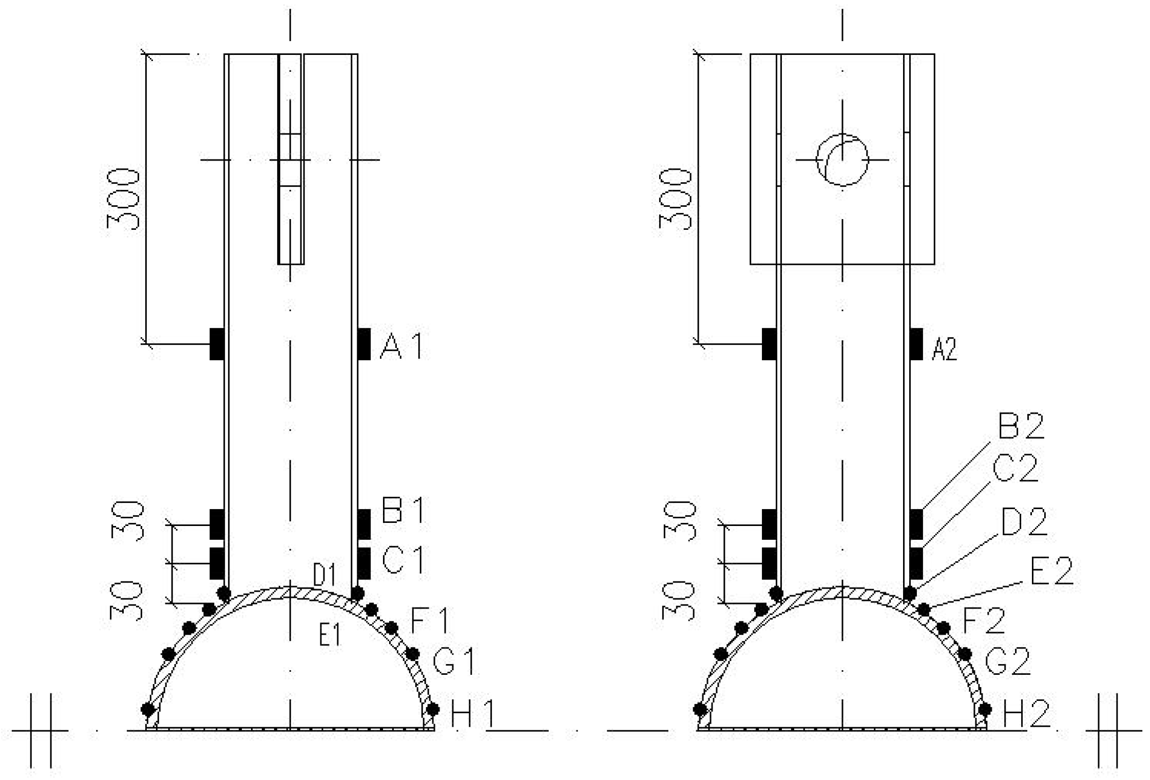
Figure 10.
Measurement Point Numbers of Test Pieces.
The measurement points are arranged as shown in Figure 10 (only half of the structure is shown due to the symmetry of the static test piece). The static test piece is numbered from top to bottom as A, B, …, H. At the same elevation, the measurement points are equally distributed along the circumferential direction of the static test piece and are labeled as A1, A2, and so on. The final stress is the average of the measurements at the same height. Dual directional strain gauges are placed on both sides of the weld toe, denoted as D and D′, and are required to be placed as close to the root of the weld as possible. At the remaining measurement points, one single-directional strain gauge is placed. A total of 32 measurement points and 40 strain gauges are arranged on one test piece.
3.1.2. Comparison between Experiment and FEM
The measured values of two specimens under static loads of 20 kN and 50 kN are shown in Table 4. Simultaneously establish the corresponding finite element model to obtain the stress values at the corresponding positions and the relative error with the measured values. The relative error is (FEM-TEST)/TEST. The detailed finite element modeling process can be found in Section 3.2.
Table 4.
Comparison of stress test values with finite element method (N/mm2).
According to Table 4, the stress at the weld toe of the spherical joint (point E) is the highest, resulting in it being the most prone to fatigue failure, whether it is from the experimental values or the FEM. The static measured values of the joint show a relative error of less than 5% for the majority when compared with the finite element analysis results, with a few cases exceeding 5%. The stress gradient at the weld toe on both sides of the weld leads to a few cases where the relative error of the measured values is greater than 10%. Overall, the finite element model aligns well with the test results and can be utilized for the parameter analysis in Section 3.2.
3.2. Finite Element Model of the Tube–Sphere Connection
3.2.1. TSJs
The specifications for the specimens used in finite element modeling in this study were selected based on the Technical Specification for Space Frame Structures [7]. The chosen specimen parameters are detailed in Table 5. The weld size, denoted by w, between the steel tube and the hollow sphere is specified as 4 mm for t ≤ 5, 6 mm for 5 < t ≤ 8, and 8 mm for t > 8. Figure 11 illustrates the weld connection between the steel tube and the hollow sphere.
Table 5.
Specifications of TSJs for finite element modeling (unit: mm).
Figure 11.
Illustration of the weld connection between the steel tube and the hollow sphere: (a) Geometric design diagram; and (b) Photographs of a representative weld connection (unit: mm).
3.2.2. Finite Element Model of TSJs
Given the analysis objective of this study and the mechanical behavior of the actual structure, simplification is necessary for the multi-member connections at the TSJs. Therefore, a finite element model (FEM) of a single steel tube connected to a hollow sphere was created using ANSYS 2021. Taking advantage of the model’s symmetry, a half-model of the TSJs was employed to allow for a more refined meshing.
In this analysis, the center of the hollow sphere was aligned with the origin of the coordinate system, while the axis of the TSJ specimen was synchronized with the Z-axis of the global Cartesian coordinate system, positioning the tube opening towards the positive direction of the Z-axis. A total of 22 different specifications of FEMs, as detailed in Table 5, were established. Focusing on the hot spot stress-sensitive area, the actual weld shape was accurately replicated at the weld toe, and chamfering was performed to ensure a smooth transition. The boundary of the hemisphere was designated as a fixed constraint. At the end of the steel tube, a surface load of 50 N/mm2 was applied along the cross-section, aligning with the positive direction of the global Cartesian coordinate system’s Z-axis.
The elastic modulus was set at 2.06 × 105 N/mm2, and Poisson’s ratio was designated as 0.3. Utilizing the 3D8 solid element—SOLID45 facilitated the modeling process. The experimental study found that the heat concentration stress is concentrated at the toe of the spherical weld in the connection between the steel tube and the welded hollow sphere. During the modeling process, the boundary at the weld toe is established as the node location for grid division, and subsequently, with grid optimization, the heat concentration stress is precisely extracted. For the weld and the heat-affected zone (HAZ) of TSJs, a method of mapped meshing with hexahedral elements was employed. Along the thickness, the sphere was segmented into four layers of elements, aiming to strike a balance between achieving the requisite accuracy and managing computational expenses. Figure 12 elucidates the comprehensive FEM of the TSJs along with the detailing of local meshing.
Figure 12.
Illustration of meshing for (a) FEM of half TSJs; and (b) Localized tube–sphere connection area.
With the center of the welded hollow sphere as the coordinate origin, a spherical coordinate system as shown in Figure 13 was established. In the TSJs, the normal stress, circumferential stress, and radial stress at the weld toe in the sphere of TSJs are denoted as Sx, Sy, and Sz, respectively.
Figure 13.
Spherical coordinate system of TSJs.
3.3. Impact of Various Parameters on the Stress Concentration Coefficient of TSJs
In this section, the influence of various factors on the hot spot stress concentration coefficient will be analyzed and presented. These factors include (d + 2w)/D, t/T, and T/D.
3.3.1. Influence of (d + 2w)/D on Kh
As shown in Figure 14, to facilitate the analysis of modeling results, two auxiliary lines are introduced in this study—the line connecting the weld toe at the tube–sphere connection to the center of the sphere, and the line connecting the weld toe to the center of the tube. Additionally, a line connecting the center of the sphere to the center of the tube is drawn, forming a right triangle with the previous two lines. Based on the geometric relationships, it follows that , thus, . In this manner, once the specifications of the tube and hollow sphere are selected, i.e., when D, d, and w are known, the point of maximum stress will be at the weld toe in the sphere of TSJs, which is also the location of the fracture during fatigue failure of the TSJs. Hence, in fitting the hot spot stress concentration coefficient Kh at the weld toes in the sphere of TSJs, analysis should be conducted using as the parameter.
Figure 14.
Geometric correspondence of d, w, D, and θ.
Maintaining T and t constant, different specifications of samples were analyzed to extract corresponding values of D, d, and w, based on the details in Table 6, to perform stress concentration analysis on the TSJ specimens. This analysis helped in identifying the maximum stress values at the weld toe in the sphere of TSJs, denoted as hot spot stress , following which the stress concentration coefficient Kh was computed. The results of these computations are presented in Table 6. A regression analysis was then performed to derive the influence curve of (d + 2w)/D on Kh, as shown in Figure 15a, which also presents the equation of the regression curve.
Table 6.
Impact of (d + 2w)/D on Kh.

Figure 15.
Impact of various parameters on Kh: (a) (d + 2w)/D; (b) t/T; and (c) T/D.
3.3.2. Influence of t/T on Kh
Under constant values of D, d, and w, an array of samples were analyzed (refer to Table 7) to evaluate stress concentration. Following the identification of maximum stress values at the weld toe, denoted as hot spot stress , the stress concentration coefficient Kh was computed and presented in Table 7. The influence curve of t/T on Kh is depicted in Figure 15b along with the equation of the regression curve.
Table 7.
Impact of t/T on Kh.
3.3.3. Influence of T/D on Kh
With d, t, and w maintained, the analysis was extended to different specifications of samples (refer to Table 8) to ascertain stress concentration on the TSJ specimens. Post identification of hot spot stress , the stress concentration coefficient Kh was computed, and the results are tabulated in Table 8. Figure 15c shows the influence curve of T/D on Kh, along with the equation of the regression curve.
Table 8.
Impact of T/D on Kh.
3.4. Numerical Solution for Stress Concentration Coefficient at the Weld Toes in the Sphere of TSJs
Following the analysis described earlier, stress concentration coefficients for 22 TSJ models were derived, which are the ratios of the hot spot stress at the weld toe to the nominal stress on the steel tube (see Table 9).
Table 9.
Stress concentration coefficients at the weld toes in the sphere of various TSJ specimens.
Through regression analysis on the data in Table 9, a numerical solution for the stress concentration coefficient Kh at the weld toes in the sphere of TSJs was obtained, incorporating (d + 2w)/D, t/T, and T/D as the fundamental parameters:
By employing Equation (3), once the specifications for the steel tube and hollow sphere are confirmed, the stress concentration coefficient Kh for the joint can be determined, which can then be utilized in fatigue design, where the parameter is the hot spot stress amplitude. The range of the stress concentration coefficient Kh obtained here varies from 2.0550 to 4.8600.
4. Discussion
4.1. Fatigue Design Method Based on Nominal Stress Amplitude
To facilitate the usage of the fatigue calculation method proposed in this article by engineering designers, a fatigue calculation method for TSJs is established, using the nominal stress amplitude as the basic parameter. When the stress cycle has a variable amplitude, the variable amplitude is converted to a constant amplitude for the relevant fatigue calculations [4].
To ensure a 95% confidence interval for fatigue strength, the lower limit of Equation (2) is taken, resulting in:
The allowable nominal stress amplitude corresponding to a stress cycle count of n = 2 × 106 is derived as:
This leads to the fatigue design method based on nominal stress:
where represents the nominal stress amplitude of the steel tube (N/mm2); denotes the allowable nominal stress amplitude of TSJs corresponding to the stress cycle count n (N/mm2); if n = 2 × 106 is taken as the design reference period, then 22 ; n stands for the number of stress cycles during the design reference period; N symbolizes the nominal axial force in the steel tube (N); and A is gross cross-sectional area of the steel tube (mm2).
4.2. Fatigue Design Method Based on Hot Spot Stress Amplitude
Through the theoretical analysis of TSJs, it is known that the weld toe in the sphere of the tube–sphere connection weld is the point of maximum stress, hence the most severe stress concentration location. In this paper, among the 29 TSJ fatigue specimens that underwent fatigue testing, except for one specimen KQ-5-7 which did not fail after 2.39 × 106 cycles at the end of the test, the fatigue fractures of the remaining 28 specimens all occurred on the base material at the weld toe in the sphere, indicating that this location is the hot spot for fatigue failure. The stress at the weld toe in the sphere (i.e., the maximum equivalent stress) is defined as the hotspot stress , with Kh representing the stress concentration coefficient at the weld toe in the sphere. Hence, the hot spot stress amplitude is expressed as:
where denotes the hot spot stress at the weld toe in the sphere of the TSJ (N/mm2); and Kh represents the stress concentration coefficient at the weld toe in the sphere of the TSJ, according to Equation (3).
From Table 9, it is known that the range of Kh is 2.0550 to 4.8600. Taking Kh = 3 and if n = 2 × 106 is taken as the design reference period, then 66 . Accordingly, the following equation is used for fatigue calculations:
where represents the hot spot stress amplitude at the weld toe in the sphere of the TSJ (N/mm2); denotes the allowable hot spot stress amplitude at the weld toe in the sphere of the TSJ (N/mm2); and n is the number of stress cycles.
In addressing fatigue issues in TSJs under the action of overhead cranes, it is advisable to utilize Equation (8) for calculations. This method presents a straightforward formulaic approach, facilitating ease of use for engineering designers. Particularly in the context of WHSJ grid structures, the employment of the hot spot stress amplitude method significantly enhances the accuracy in reflecting the stress state at the fatigue fracture locations, thereby rendering a more rational approach for fatigue analysis and design.
5. Conclusions
Given the lack of established guidelines for fatigue design in WHSJ grid structures, this study focused on a common structural element in grid frameworks, the steel tube–WHSJ, and conducted fatigue tests on TSJs. Utilizing the nominal stress amplitude and the hot spot stress amplitude as fundamental parameters, practical fatigue calculation methods for TSJs were developed. The key findings are as follows:
- (1)
- With the aid of the AMSLER fatigue testing machine, 25 constant amplitude fatigue failure samples and four variable amplitude fatigue failure samples were obtained. The S-N curve for the TSJs was derived, laying the groundwork for establishing a fatigue calculation method for these joints.
- (2)
- Employing ANSYS 2021 software, the hot spot stress concentration coefficient Kh at the weld toes in the sphere of 22 TSJs was calculated. Through fitting, the numerical solution for Kh was obtained, ranging from 2.0550 to 4.8600. This numerical solution used , , and as the fundamental parameters.
- (3)
- Assuming a design reference period of n = 2 × 106, the allowable nominal stress amplitude 22 was obtained. Additionally, the allowable hot spot stress amplitude 66 for TSJs was derived. For WHSJ grid structures, employing the hot spot stress amplitude provides a more accurate reflection of the stress state at the fatigue fracture location, and hence is deemed more rational.
- (4)
- Both macroscopic and microscopic analyses were carried out on the fatigue fractures of the TSJs. Various fundamental characteristics and failure mechanisms of the fatigue fractures were elucidated. It was found that the weld toe in the sphere of TSJs is the primary site for fatigue crack initiation. The fatigue fractures typically extend circumferentially along the weld toe, exhibiting typical ductile fracture characteristics.
Author Contributions
Conceptualization, Y.Y.; methodology, Y.Y. and Z.Z.; software, Y.Y.; validation, Y.Y.; formal analysis, Y.Y. and S.G.; investigation, Y.Y.; resources, Y.Y.; data curation, Y.Y. and S.G.; writing—original draft preparation, Y.Y. and S.G.; writing—review and editing, Y.Y., Z.Z. and S.G.; visualization, Y.Y. and S.G.; supervision, Y.Y. and Z.Z.; project administration, Y.Y.; funding acquisition, Y.Y. All authors have read and agreed to the published version of the manuscript.
Funding
This research was funded by National Nature Science Foundation of China, grant number No. 51178286.
Institutional Review Board Statement
Not applicable.
Informed Consent Statement
Not applicable.
Data Availability Statement
All data generated or analyzed in this research were included in this published article. Additionally, readers can access all data used to support the conclusions of the current study from the corresponding author upon request.
Conflicts of Interest
The authors declare no conflicts of interest.
References
- Lei, H.G.; Fu, Q.; Liu, X.J. Research progress of steel structure fatigue in past 30 years in China. J. Build. Struct. 2010, 30 (Suppl. 1), S84–S91. (In Chinese) [Google Scholar]
- Lei, H.G.; Yin, D. Research progress on fatigue of grid structure with suspension cranes. Space Struct 2008, 14, 32–36+52. (In Chinese) [Google Scholar]
- Xu, G.B.; Cui, J. Fatigue of Space Trusses and Its Fatigue Life Calculation. J. Build. Struct. 1994, 15, 25–34. (In Chinese) [Google Scholar]
- GB50017-2017; Standard for Design of Steel Structures. China Architecture and Building Press: Beijing, China, 2017.
- International Institute of Welding. Recommendations for Fatigue Design of Welded Joints and Components; IIW Joint Working Group, 2nd IIW-2259-15; International Institute of Welding: Genoa, Italy, 2016. [Google Scholar]
- Eurocode3. Design of Steel Structures-Part 1.9: Fatigue, CEN; European Committee for Standardization: Brussels, Belgium, 2003. [Google Scholar]
- JGJ 7-2010; Technical Specification for Space Frame Structures. China Architecture & Building Press: Beijing, China, 2010.
- Qiu, B.; Yang, X.; Zhou, Z.; Lei, H. Experimental study on fatigue performance of M30 high-strength bolts in bolted spherical joints of grid structures. Eng. Struct. 2020, 205, 110123. [Google Scholar] [CrossRef]
- Qiu, B.; Lei, H.; Yang, X.; Zhou, Z.; Wang, G. Variable amplitude fatigue test of M30 high-strength bolt in bolt-sphere joint grid structures. Steel Compos. Struct. Int. J. 2019, 33, 433–444. [Google Scholar]
- Yang, X.; Lei, H.G. Constant amplitude fatigue test of high strength bolts in grid structures with bolt-sphere joints. Steel Compos. Struct. 2017, 25, 571–579. [Google Scholar] [CrossRef]
- Zhou, Z.; Lei, H.; Yang, X.; Qiu, B. Experimental Study of Constant-Amplitude Fatigue Performance of M39 High-Strength Bolts in Grid Structures with Bolt-Sphere Joints. Mob. Inf. Syst. 2022, 1–8. [Google Scholar] [CrossRef]
- Zhou, Z.; Lei, H.; Qiu, B.; Zhang, S.; Wang, G. Experimental Study on Fatigue Performance of M60 High-Strength Bolts with a Huge Diameter under Constant Amplitude Applied in Bolt–Sphere Joints of Grid Structures. Appl. Sci. 2022, 12, 8639. [Google Scholar] [CrossRef]
- Bao, K.; Zhang, Q.; Liu, Y.; Dai, J. Fatigue life of the welding seam of a tracked vehicle body structure evaluated using the structural stress method. Eng. Fail. Anal. 2021, 120, 105102. [Google Scholar] [CrossRef]
- Trupiano, S.; Belardi, V.G.; Fanelli, P.; Gaetani, L.; Vivio, F. A novel modeling approach for multi-passes butt-welded plates. J. Therm. Stress. 2021, 44, 829–849. [Google Scholar] [CrossRef]
- Lu, W.; Sun, J.L.; Su, H. Experimental research and numerical analysis of welding residual stress of butt welded joint of thick steel plate. Case Stud. Constr. Mater. 2023, 18, e01991. [Google Scholar] [CrossRef]
- Qin, D.Q. Finite element investigation for hollow spherical joint of space tpuss. Eng. Mech. 1990, 7, 34–39. (In Chinese) [Google Scholar]
- Lei, H.G. Research on static and fatigue behavior of welded spherical joints in space trusses. J. Build. Struct. 1993, 14, 2–7. (In Chinese) [Google Scholar]
- Xu, G.B.; Zhao, J.; Li, M.G. Analysis of Break Section of Integral Fatigue Failure in Space Truss with Welded Ball Joints. Space Struct. 1999, 3, 54–60. (In Chinese) [Google Scholar]
- Zhang, J.L.; Jin, S.H.; Lei, G.H. Research on fatigue test of welded hollow spherical joints in grid structure based on infrared thermography. Infrared Laser Eng. 2018, 47, 183–188. [Google Scholar]
- Zhang, J.L.; Lei, G.H.; Jin, H.S. Experimental Study on Constant-Amplitude Fatigue Performance of Weld Toe in Steel Tube of Welded Hollow Spherical Joints in Grid Structures. Adv. Mater. Sci. Eng. 2019, 1–12. [Google Scholar] [CrossRef]
- Jiao, J.F.; Lei, H.G.; Wu, H.; Liu, Y. Constant Amplitude Fatigue Calculative Method of Welded Hollow Spherical Joint with Cross-Board in Steel Plate-Type Grid Structure. Appl. Mech. Mater. 2012, 1799, 166–169. [Google Scholar] [CrossRef]
- Jiao, J.F.; Lei, H.G.; Frank, C.Y. Numerical simulation and experimental study on constant amplitude fatigue behavior of welded cross plate-hollow sphere joints. J. Southeast Univ. (Engl. Ed.) 2018, 34, 62–70. [Google Scholar]
- Jiao, J.F.; Lei, H.G.; Frank, C.Y. Experimental Study on Variable-Amplitude Fatigue of Welded Cross Plate-Hollow Sphere Joints in Grid Structures. Adv. Mater. Sci. Eng. 2018, 2018, 8431584. [Google Scholar] [CrossRef]
- Duan, Y.T.; Lei, H.G.; Jin, S.H. Experimental Study on Fatigue Performance of Welded Hollow Spherical Joints Reinforced by CFRP. Coatings 2022, 12, 1585. [Google Scholar] [CrossRef]
- JGJ/T 11-2009; Welded Hollow Spherical Node of Space Grid Structures. Standards Press of China: Beijing, China, 2009.
- Pecnik, M.; Nagode, M.; Seruga, D. Influence of geometry and safety factor on fatigue damage predictions of a cantilever beam. Struct. Eng. Mech. 2019, 70, 33–41. [Google Scholar]
- Wei, Z.; Jin, H.; Chen, G. Traction Structural Stress Analysis of Fatigue Behaviors of Girth Butt Weld within Welded Cast Steel Joints; Elsevier: Amsterdam, The Netherlands, 2020. [Google Scholar] [CrossRef]
- Korin, I.; Ipina, J.P. Experimental evaluation of fatigue life and fatigue crack growth in a tension bolt–nut threaded connection. Int. J. Fatigue 2011, 33, 166–175. [Google Scholar] [CrossRef]
Disclaimer/Publisher’s Note: The statements, opinions and data contained in all publications are solely those of the individual author(s) and contributor(s) and not of MDPI and/or the editor(s). MDPI and/or the editor(s) disclaim responsibility for any injury to people or property resulting from any ideas, methods, instructions or products referred to in the content. |
© 2023 by the authors. Licensee MDPI, Basel, Switzerland. This article is an open access article distributed under the terms and conditions of the Creative Commons Attribution (CC BY) license (https://creativecommons.org/licenses/by/4.0/).















