Optimized Reliability Based Upgrading of Rubble Mound Breakwaters in a Changing Climate
Abstract
1. Introduction
1.1. Literature Review
1.2. Scope of Work
2. Methodology for Optimized Reliability-Based Upgrading of Rubble Mound Breakwaters
2.1. Proposed Upgrading Scheme
- Fitting appropriate cumulative distribution functions (CDFs) to stochastic variables of the marine climate, i.e., offshore wave height and sea level due to storm surge for present climate conditions.
- Transfer extracted CDFs to the selected breakwater site.
- Definition of CDFs for future sea states considering climate change scenarios or assumptions.
- Investigation of the ability of selected breakwaters to withstand impacts due to future sea states, given their design characteristics.
- Definition of different mitigation options for rubble mound breakwaters to limit damages under future climate conditions.
- Creation of a fault tree that gives a logical succession of all events leading to port/harbor downtime for each alternative mitigation option (or combination of options if applicable).
- Investigation of both Ultimate Limit States (ULS) and Serviceability Limit States (SLS) of the rubble mound breakwater to define its total probability of failure.
- Generation of a large number of possible alternative geometries for each upgrading concept.
- Definition of an acceptable flooding probability.
- Selection of an optimal geometry from the sample of acceptable geometries for each upgrading concept, minimizing the total costs of protection. The methodology described above is schematically presented in Figure 1.
- Failure or instability of the seaside armor layer (e.g., [56]),
- Failure of the rear-side slope (e.g., [57]),
- Scouring of the toe structure (e.g., [58]),
- Excessive overtopping (e.g., [59]),
- The slip cycle (e.g., [60]),
- Sliding and tilting of existing superstructure/crown-wall (e.g., [61]),
- Excessive settlement (e.g., [62]).
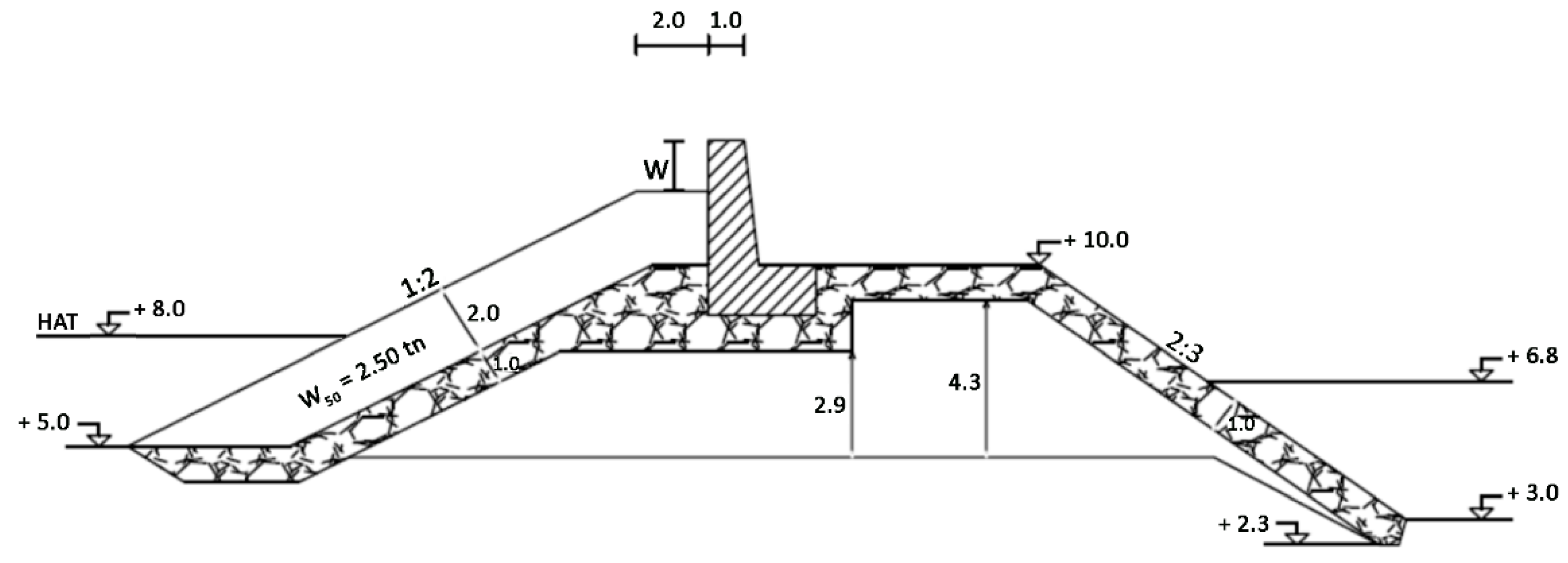
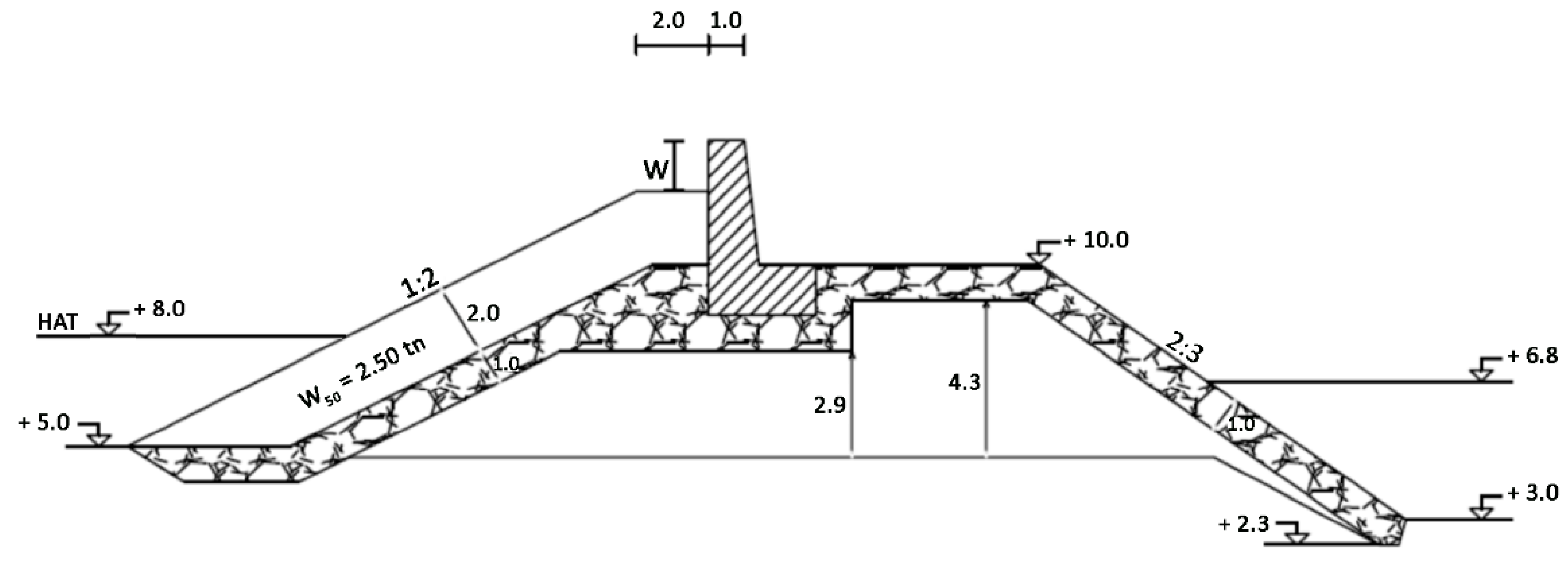
- Increasing the breakwater crest level by adding a crown wall or existing crest elements being heightened and strengthened.
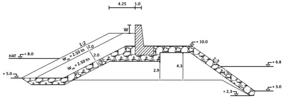
- Adding a new protective layer of armor units on the windward slope of the studied rubble mound breakwater combined with new or elevated existing crest elements.
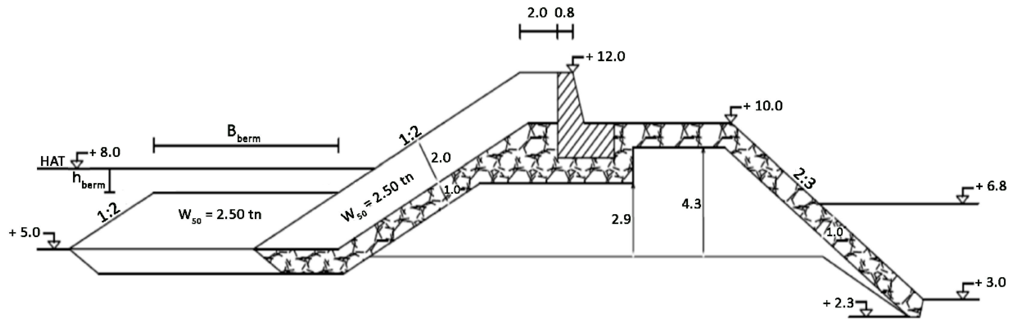
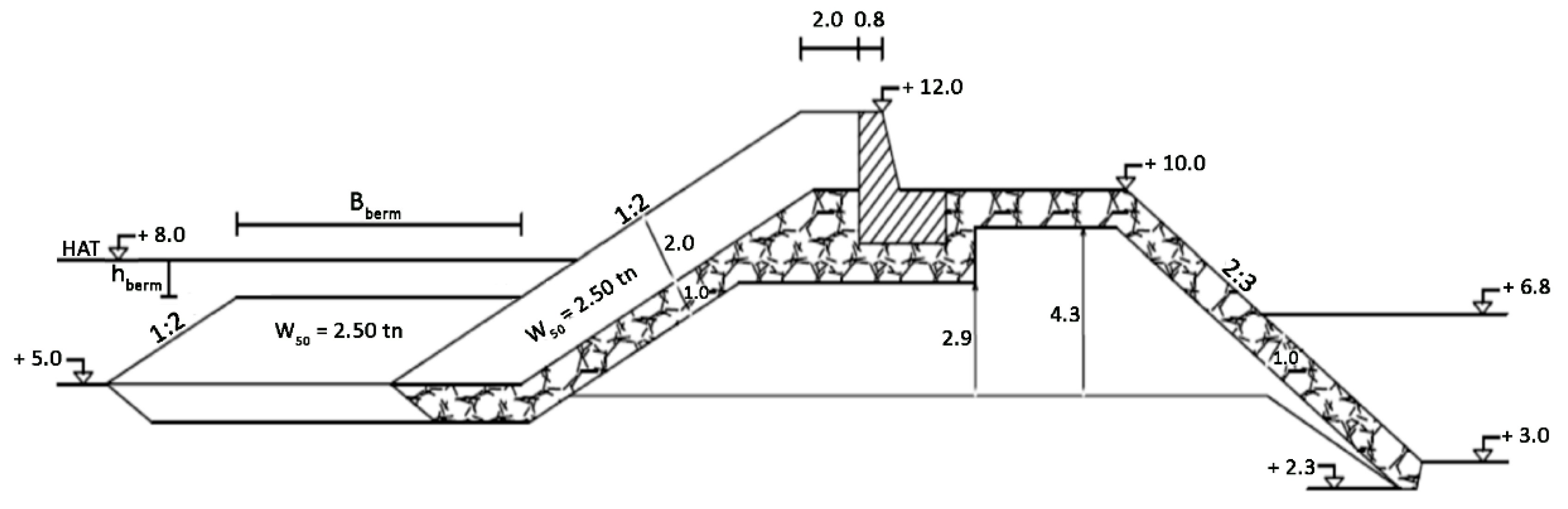
- Construction of a berm structure in front of the seaside slope.
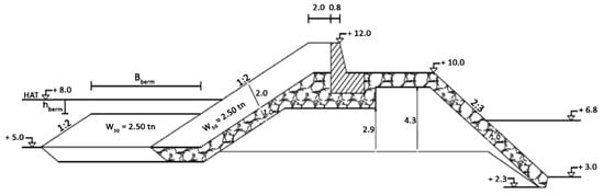
- Construction of a low-crested structure in the windward front of the existing breakwater.
2.2. Probability Distribution Functions for Variables of the Marine Climate
2.3. Reliability Functions for Upgrading Options
2.3.1. Addition of a Crown Wall or Heightening of an Existing Crest Element
2.3.2. Addition of A Third Protective Armor Layer Combined with Heightening Crest Elements
2.3.3. Construction of a Berm Structure in Front of the Breakwater Seaside Slope
2.3.4. Construction of A Low-crested Structure in Front of Existing Breakwater
2.3.5. Serviceability Limit State of a Rubble Mound Breakwater
2.4. Quantification of Total Costs
3. Upgrading of A Rubble Mound Breakwater in the Port of Deauville
- an optimistic scenario of +40 cm,
- a pessimistic scenario of +60 cm,
- an extreme scenario of +1 m, compared to the year 2000.
- 1500 € for a parapet wall being strengthened and heightened by 50 cm,
- 2500 € for adding a third rock layer on the primary armor layer of the studied breakwater,
- 5000 € for constructing a berm at the seaside slope of the existing structure,
- 25,000 € for constructing a low-crested structure in front of the studied breakwater.
3.1. Results of Mitigation Option 1: Crest/Crown Elements
3.2. Results of Mitigation Option 2: Additional Armour Layer with Enahncement of Crest/Crown Elements
3.3. Results of Mitigation Option 3: Additional Berm
3.4. Results of Mitigation Option 4: Detached Low-Crested Structure
4. Summary and Conclusions
List of Symbols (in order of appearance)
| Gθ | Generalized Extreme Value (GEV) distribution function |
| θ | Vector of GEV parameters |
| μ | Location parameter of the GEV |
| σ | Scale parameter of the GEV |
| ξ | Shape parameter of the GEV |
| x | Arbitrary variable of GEV distribution function (e.g., annual maxima of wave heights or storm surge) |
| CV | Coefficient of variation |
| Γ(∙) | Gamma Cumulative Distribution Function (CDF) |
| z100 | Design event value for any parameter (e.g., wave height) for a 100-year return period |
| p | Probability of 1 in T years [1/yrs] |
| T | Return period [yrs] |
| Fθ | Rayleigh CDF |
| Hsu | Significant wave height (design wave height at the toe of the structure) [m] |
| Δ | Dimensionless relative buoyant density of rock [= (ρr/ρw) − 1] |
| ρr | Rock density [ton/m3] |
| ρw | Water density [ton/m3] |
| Dn | Mean nominal diameter of armor elements of the rubble mound breakwater [m] |
| θ | Seaward slope angle of the breakwater [°] |
| KD | Dimensionless stability coefficient of the Hudson formula |
| Z | Reliability function for a limit state |
| Zij | Reliability function for mitigation option i and failure mechanism j |
| i | Index of the mitigation option (i = 1–4) |
| j | Index of the failure mechanism (j = 1–4) |
| RZ | Resistance of the structure |
| SZ | Loading of the structure |
| n | Total number of simulations |
| nf | Number of simulations for which the condition Z ≤ 0 is valid |
| Pf | Failure probability |
| Z11 | Reliability function for breakwater stability under mitigation option 1 |
| P | Permeability coefficient of breakwater structure |
| N | Number of waves |
| S | Damage level (ratio of area eroded in a given cross-section) |
| ξm | Surf similarity parameter (Irribaren number) |
| som | Average wave steepness |
| Lp | Wave length corresponding to Tp [m] |
| Tp | Peak spectral wave period [sec] |
| Q’ | Dimensionless wave overtopping rate |
| Rc2 | Height of the crown element with respect to crest level [m] |
| Gc | Crest width in front of the crest element [m] |
| NL | Nose length of crest element [m] |
| qm | Overtopping discharge per linear meter [m2/s] |
| Rc | Crest freeboard height [m] |
| γf | Influence factor for roughness |
| z12 | Reliability function for wave overtopping of the breakwater under mitigation option 1 |
| qallow | Maximum allowable overtopping discharge per linear meter [m2/s] |
| hb | Water depth at the breakwater toe as sum of MSL, tide and storm surge [m] |
| Nodtoe | Number of displaced units within a strip of width Dn at the breakwater toe |
| Z13 | Reliability function for breakwater toe stability under mitigation option 1 |
| Z21 | Reliability function for breakwater’s primary armor layer stability under mitigation option 2 |
| Cr | Reduction factor due to the effect of armored crest berm |
| Gc | Crest berm width [m] |
| Z22 | Reliability function for excessive wave overtopping of the breakwater under mitigation option 2 |
| Z23 | Reliability function for breakwater toe stability under mitigation option 2 |
| Z31 | Reliability function for breakwater’s primary armor layer stability under mitigation option 3 |
| Kt | Wave transmission coefficient (for low-crested structures) |
| B | Berm width [m] |
| ξ | Surf similarity parameter or Irribaren number (=tanθ/s0.5) |
| s | Irregular wave steepness (=Hsu/Lp) |
| Z32 | Reliability function for excessive wave overtopping of the breakwater under mitigation option 3 |
| γb | Berm coefficient |
| Bberm | Berm width [m] |
| Lberm | Length consisting of Bberm and two horizontal distances corresponding to projection of Hsu above and below the berm reference level [m] |
| hberm | Reference level of the berm width with respect to sea water level [m] |
| xberm | Horizontal distance equal to 2Hsu if berm is below still water level (SWL) and Ru2% if berm is above SWL [m] |
| Ru2% | Run-up height (of 2% probability) above SWL [m] |
| Z33 | Reliability function for breakwater toe stability under mitigation option 3 |
| Z41 | Reliability function for breakwater’s primary armor layer stability under mitigation option 4 |
| Z42 | Reliability function for excessive wave overtopping of the breakwater under mitigation option 4 |
| Z43 | Reliability function for breakwater toe stability under mitigation option 4 |
| Rcdet | Freeboard height of the low-crested structure [m] |
| Dn50det | Mean nominal diameter of the rock armor of the low-crested structure [m] |
| Z44 | Reliability function for selection of Dn50 of low-crested structures under mitigation option 4 |
| ZSLS | Reliability function for the representation of SLS |
| Hallow | Maximum allowable wave height inside the protected basin [m] |
| Hss | Incident significant wave height corresponding to SLS of the studied breakwater [m] |
| Ktrans | Wave transmission coefficient for sub-aerial breakwaters |
| Kdif | Wave diffraction coefficient for sub-aerial breakwaters |
| smax | Maximum directional concentration parameter due to wave refraction in shallow water |
| smax,o | Maximum directional concentration parameter in deep water |
| θ | Wave diffraction angle [rad] |
| WD | Diffraction parameter |
| D | Set of acceptable geometries |
| z | Vector of design variables in each upgrading mitigation option |
| Pf | Failure probability of the rubble mound breakwater |
| Pf,max | Maximum acceptable failure probability of the rubble mound breakwater |
| L | Structure length [m] |
| A | Area of the cross section of the breakwater layers [m2] |
| I | Respective costs by volume [€] |
| Icons | Upgrading costs [€] |
| Ifailure | Costs of failure [€] |
| CULS | Damage costs under ULS [€] |
| CSLS | Damage costs under SLS [€] |
| Pf,ULS | Probabilities of failure in case of ULS |
| Pf,SLS | Probabilities of failure in case of SLS |
| r | Interest rate [%] |
| M | Reference period for ULS and SLS failure [yrs] |
| W50 | Weight of armor rock corresponding to Dn50det [ton] |
| N(∙) | Normal distribution function |
| HAT | Highest astronomical tide [m] |
| Itot | Minimum total cost [€] |
| Wopt | Optimized weight of armor rock [ton] |
| Bbermopt | Optimized berm width [m] |
| Dn50opt | Optimized mean nominal diameter of the rock armor of the low-crested structure [m] |
| Bopt | Optimized crest width of the detached low-crested structure [m] |
Author Contributions
Funding
Acknowledgments
Conflicts of Interest
References
- IPCC. Climate change 2007: The Scientific Basis, Contribution of Working Group I to the Fourth Assessment Report of the Intergovernmental Panel on Climate change; Cambridge University Press: New York, NY, USA, 2007. [Google Scholar]
- IPCC. Managing the Risks of Extreme Events and Disasters to Advance Climate change Adaptation, A Special Report of Working Groups I and II of the Intergovernmental Panel on Climate change; Cambridge University Press: Cambridge, UK; New York, NY, USA, 2012. [Google Scholar]
- WASA-Group. Changing waves and storms in the Northeast Atlantic? Bull. Am. Meteorol. Soc. 1998, 79, 741–760. [Google Scholar] [CrossRef]
- Alexandersson, H.; Tuomenvirta, H.; Schmith, T.; Iden, K. Trends of storms in NW Europe derived from an updated pressure data set. Clim. Res. 2000, 14, 71–73. [Google Scholar] [CrossRef]
- Woth, K.; Weisse, R.; Storch, H. Climate change and North Sea storm surge extremes: An ensemble study of storm surge extremes expected in a changed climate projected by four different regional climate models. Ocean Dyn. 2006, 56, 3–15. [Google Scholar] [CrossRef]
- Weisse, R.; von Storch, H.; Niemeyer, H.D.; Knaack, H. Changing North Sea storm surge climate: An increasing hazard? Ocean Coast. Manag. 2012, 68, 58–68. [Google Scholar] [CrossRef]
- De Winter, R.C.; Sterl, A.; de Vries, J.W.; Weber, S.L.; Ruessink, G. The effect of climate change on extreme waves in front of the Dutch coast. Ocean Dyn. 2012, 62, 1139–1152. [Google Scholar] [CrossRef]
- Wolf, J.; Woolf, D.K. Waves and climate change in the north-east Atlantic. Geophys. Res. Lett. 2006, 33. [Google Scholar] [CrossRef]
- Wang, X.; Swail, V. Climate change signal and uncertainty in projections of ocean wave heights. Clim. Dyn. 2006, 26, 109–126. [Google Scholar] [CrossRef]
- Debernard, J.; Roed, L. Future wind, wave and storm surge climate in the Northern Seas: A revisit. Tellus 2008, 60, 427–438. [Google Scholar] [CrossRef]
- Cid, A.; Castanedo, S.; Abascal, A.J.; Menéndez, M.; Medina, R. A high resolution hindcast of the meteorological sea level component for Southern Europe: The GOS dataset. Clim. Dyn. 2014, 43, 2167–2184. [Google Scholar] [CrossRef]
- Vousdoukas, M.I.; Voukouvalas, E.; Annunziato, A.; Giardino, A.; Feyen, L. Projections of extreme storm surge levels along Europe. Clim. Dyn. 2016, 47, 3171–3190. [Google Scholar] [CrossRef]
- Vousdoukas, M.I.; Mentaschi, L.; Voukouvalas, E.; Verlaan, M.; Feyen, L. Extreme sea levels on the rise along Europe’s coasts. Earths Future 2017, 5, 304–323. [Google Scholar] [CrossRef]
- Galiatsatou, P.; Makris, C.; Prinos, P.; Kokkinos, D. Nonstationary joint probability analysis of extreme marine variables to assess design water levels at the shoreline in a changing climate. Nat. Hazards 2018. submitted. [Google Scholar]
- FLOODsite. Language of Risk—Project Definitions; Report T32-04-01; HR Wallingford Ltd: Wallingford, Oxfordshire, UK, 2009. [Google Scholar]
- Townend, I.; Burgess, K. Methodology for Assessing the Impact of Climate Change upon Coastal Defence Structures. In Proceedings of the 29th ICCE, Lisbon, Portugal, 19–24 September 2004; pp. 3953–3965. [Google Scholar]
- Okayasu, A.; Sakai, K. Effect of Sea Level Rise on Sliding Distance of a Caisson Breakwater: Optimisation with Probabilistic Design Method. In Proceedings of the 30th ICCE, San Diego, CA, USA, 3–8 September 2006; World Scientific: Singapore, 2006; pp. 4883–4893. [Google Scholar]
- Olabarrieta, M.; Medina, R.; Losada, I.J.; Mendez, F.J. Potential Impact of Climate Change on Coastal Structures: Application to the Spanish Littoral. In Proceedings of the Coastal Structures Conference, Venice, Italy, 2–4 July 2007; pp. 1728–1739. [Google Scholar]
- Suh, K.D.; Kim, S.W.; Mori, N.; Mase, H. Effect of climate change on performance-based design of caisson breakwaters. J. Waterw. Port Coast. Ocean Eng. 2011, 138, 215–225. [Google Scholar] [CrossRef]
- Becker, A.; Inoue, S.; Fischer, M.; Schwegler, B. Climate change impacts on international seaports: Knowledge, perceptions, and planning efforts among port administrators. Clim. Chang. 2012, 110, 5–29. [Google Scholar] [CrossRef]
- Suh, K.D.; Kim, S.W.; Kim, S.; Cheon, S. Effects of climate change on stability of caisson breakwaters in different water depths. Ocean Eng. 2013, 71, 103–112. [Google Scholar] [CrossRef]
- Sánchez-Arcilla, A.; García-León, M.; Gracia, V.; Devoy, R.; Stanica, A.; Gault, J. Managing coastal environments under climate change: Pathways to adaptation. Sci. Total Environ. 2016, 572, 1336–1352. [Google Scholar] [CrossRef] [PubMed]
- Chini, N.; Stansby, P.K. Extreme values of coastal wave overtopping accounting for climate change and sea level rise. Coast. Eng. 2012, 65, 27–37. [Google Scholar] [CrossRef]
- Mase, H.; Tsujio, D.; Yasuda, T.; Mori, N. Stability analysis of composite breakwater with wave-dissipating blocks considering increase in sea levels, surges and waves due to climate change. Ocean Eng. 2013, 71, 58–65. [Google Scholar] [CrossRef]
- Hoshino, S.; Esteban, M.; Mikami, T.; Takabatake, T.; Shibayama, T. Climate Change and Coastal Defences in Tokyo Bay. In Proceedings of the 33rd ICCE, Santander, Spain, 1–6 July 2012; Volume 1, p. 19. [Google Scholar]
- Sekimoto, T.; Isobe, M.; Anno, K.; Nakajima, S. A new criterion and probabilistic approach to the performance assessment of coastal facilities in relation to their adaptation to global climate change. Ocean Eng. 2013, 71, 113–121. [Google Scholar] [CrossRef]
- Isobe, M. Impact of global warming on coastal structures in shallow water. Ocean Eng. 2013, 71, 51–57. [Google Scholar] [CrossRef]
- Lee, C.E.; Kim, S.W.; Park, D.H.; Suh, K.D. Risk assessment of wave run-up height and armor stability of inclined coastal structures subject to long-term sea level rise. Ocean Eng. 2013, 71, 130–136. [Google Scholar] [CrossRef]
- THESEUS. Innovative Technologies for Safer European Coasts in a Changing Climate. Contract Number: 244104, 2009–2013. Available online: http://www.theseusproject.eu/ (accessed on 20 July 2018).
- Burcharth, H.F.; Andersen, T.L.; Lara, J.L. Upgrade of coastal defence structures against increased loadings caused by climate change: A first methodological approach. Coast. Eng. 2014, 87, 112–121. [Google Scholar] [CrossRef]
- CCSEAWAVS (2012–2015). Estimating the Effects of Climate Change on Sea Level and Wave Climate of the Greek Seas, Coastal Vulnerability and Safety of Coastal and Marine Structures. Available online: http://www.thalis-ccseawavs.web.auth.gr/en (accessed on 20 June 2018).
- Karambas, T.; Koftis, T.; Tsiaras, A.; Spyrou, D. Modelling of Climate Change Impacts on Coastal Structures-Contribution to their Re-Design. In Proceedings of the CEST 2015, Rhodes, Greece, 3–5 September 2015. [Google Scholar]
- Koftis, T.; Prinos, P.; Galiatsatou, P.; Karambas, T. An Integrated Methodological Approach for the Upgrading of Coastal Structures due to Climate Change Effects. In Proceedings of the 36th IAHR World Congress, The Hague, The Netherlands, 28 June–3 July 2015. [Google Scholar]
- Schanze, J. A conceptual framework for flood risk management research. In Flood Risk Management Research from Extreme Events to Citizens Involvement, Proceedings of the EFRM Dresden, Germany 6–7 February 2007; Leibniz Institute of Ecological and Regional Development (IOER): Dresden, Germany, 2007; pp. 1–10. [Google Scholar]
- Voortman, H.G. Risk-Based Design of Large Scale Flood Defence System. Ph.D. Thesis, Delft University of Technology, Delft, The Netherlands, 2003. [Google Scholar]
- Vrijling, J.K. Probabilistic design of flood defence systems in the Netherlands. Reliab. Eng. Syst. Saf. 2001, 74, 337–344. [Google Scholar] [CrossRef]
- Mai, C.V.; van Gelder, P.H.A.J.M.; Vrijling, J.K. Safety of coastal defences and flood risk analysis. Saf. Reliab. Manag. Risk 2006, 2, 1355–1366. [Google Scholar]
- Mai, C.V.; van Gelder, P.H.A.J.M.; Vrijling, H.; Stive, M. Reliability- and risk-based design of coastal flood defences. Coast. Eng. 2008, 10, 4276–4288. [Google Scholar]
- Jonkman, S.N.; Kok, M.; Van Ledden, M.K.; Vrijling, J.K. Risk-based design of flood defence systems: A preliminary analysis of the optimal protection level for the New Orleans metropolitan area. J. Flood Risk Manag. 2009, 12, 170–181. [Google Scholar] [CrossRef]
- FLOODsite. Integrated Flood Risk Analysis and Management Methodologies. Contract Number: GOCE-CT-2004-505420, 2004–2009. Available online: www.floodsite.net (accessed on 20 July 2018).
- Buijs, F.A.; van Gelder, P.H.A.J.M.; Vrijling, J.K.; Vrouwenvelder, A.C.W.M.; Hall, J.W.; Sayers, P.B.; Wehrung, M.J. Application of Dutch Reliability-Based Flood Defence Design in the UK. In Proceedings of the ESREL Conference, Maastricht, The Netherlands, 15–18 June 2003; Volume 1, pp. 311–319. [Google Scholar]
- Burcharth, H.F.; Sørensen, J.D. On Optimum Safety Levels of Breakwaters. In Proceedings of the 31st PIANC Congress, Estoril, Portugal, 14–18 May 2006; pp. 634–648. [Google Scholar]
- Stedinger, J.R. Expected probability and annual damage estimators. J. Water. Resour. Plan. Manag. 1997, 132, 125–135. [Google Scholar] [CrossRef]
- Steenbergen, H.M.G.M.; Lassing, B.L.; Vrouwenvelder, A.C.W.M.; Waarts, P.H. Reliability analysis of flood defence systems. Heron 2004, 49, 51–73. [Google Scholar]
- Castillo, C.; Mínguez, R.; Castillo, E.; Losada, M.A. An optimal engineering design method with failure rate constraints and sensitivity analysis. Application to composite breakwaters. Coast. Eng. 2006, 53, 1–25. [Google Scholar] [CrossRef]
- Dai Viet, N.; Verhagen, H.J.; van Gelder, P.H.A.J.M.; Vrijling, J.K. Conceptual Design for the Breakwater System of the South of Doson Naval Base: Optimization versus Deterministic Design. In Proceedings of the PIANC-COPEDEC VII: 7th International Conference on Coastal and Port Engineering in Developing Countries. “Best Practises in the Coastal Environment”, Dubai, United Arab Emirates, Paper No. 053. 24–28 February 2008. [Google Scholar]
- Prasad Kumar, B. Reliability based design method for coastal structures in shallow seas. Indian J. Geo-Mar. Sci. 2010, 39, 605–615. [Google Scholar]
- Galiatsatou, P.; Prinos, P. Reliability-based design optimization of a rubble mound breakwater in a changing climate. In Comprehensive Flood Risk Management: Research for Policy and Practice; Klijn, F., Schweckendiek, T., Eds.; CRC Press: London, UK; Balkema: London, UK, 2013; ISBN 978-0-41-562144-1. [Google Scholar]
- Naty, S.; Viviano, A.; Foti, E. Feasibility Study of a WEC Integrated in the Port of Giardini Naxos, Italy. In Proceedings of the 35th International Conference on Coastal Engineering, Antalya, Turkey, 17–20 November 2016. [Google Scholar]
- Van Gelder, P.; Buijs, F.; Horst, W.; Kanning, W.; Mai Van, C.; Rajabalinejad, M.; de Boer, E.; Gupta, S.; Shams, R.; van Erp, N.; et al. Reliability analysis of flood defence structures and systems in Europe. In Flood Risk Management: Research and Practice; Samuels, P., Huntington, S., Allsop, W., Harrop, J., Eds.; Taylor & Francis Group: London, UK, 2009; ISBN 978-0-415-48507-4. [Google Scholar]
- Buijs, F.A.; Hall, J.W.; Sayers, P.B.; van Gelder, P.H.A.J.M. Time-dependent reliability analysis of flood defences. Reliab. Eng. Syst. Saf. 2009, 94, 1942–1953. [Google Scholar] [CrossRef]
- Kim, T.M.; Suh, K.D. Reliability analysis of breakwater armor blocks: Case study in Korea. Coast. Eng. J. 2010, 52, 331–350. [Google Scholar] [CrossRef]
- Naulin, M.; Kortenhaus, A.; Oumeraci, H. Reliability Analysis and Breach Modelling of Coastal and Estuarine Flood Defences. In Proceedings of the ISGSR 2011, Munich, Germany, 2–3 June 2011; Vogt, N., Schuppener, B., Straub, D., Bräu, G., Eds.; Bundesanstalt für Wasserbau: Karlsruhe, Germany, 2011; ISBN 978-3-93-923001-4. [Google Scholar]
- Naulin, M.; Kortenhaus, A.; Oumeraci, H. Reliability-based flood defense analysis in an integrated risk assessment. Coast Eng. J. 2015, 57, 1540005. [Google Scholar] [CrossRef]
- Nepal, J.; Chen, H.P.; Simm, J.; Gouldby, B. Time-dependent reliability analysis of Flood defence assets using generic fragility curve. In E3S Web of Conferences (7); EDP Sciences: Les Ulis, France, 2016. [Google Scholar]
- Van der Meer, J.W. Deterministic and probabilistic design of breakwater armor layers. J. Waterw. Port Coast. Ocean Eng. 1988, 114, 66–80. [Google Scholar] [CrossRef]
- Van Gent, M.R.; Pozueta, B. Rear-side stability of rubble mound structures. In Proceedings of the 29th ICCE, Lisbon, Portugal, 19–24 September 2004; pp. 3481–3493. [Google Scholar]
- Van der Meer, J.W.; D’Angremond, K.; Gerding, E. Toe structure stability of rubble mound breakwaters. In Proceedings of the Advances in Coastal Structures and Breakwaters Conference, London, UK, 27–29 April 1995; Institution of Civil Engineers, Thomas Telford Publishing: London, UK, 1995; pp. 308–321. [Google Scholar]
- EurOtop. Manual on Wave Overtopping of Sea Defences and Related Structures. An Overtopping Manual Largely Based on European Research, but for Worldwide Application. Van der Meer, J.W., Allsop, N.W.H., Bruce, T., de Rouck, J., Kortenhaus, A., Pullen, T., Zanuttigh, B., Eds.; 2016. Available online: www.overtopping-manual.com (accessed on 25 May 2018).
- Schiereck, G.J. Introduction to Bed, Bank and Shore Protection; CRC Press: Boca Raton, FL, USA, 2003. [Google Scholar]
- Nørgaard, J.Q.H.; Andersen, L.V.; Andersen, T.L.; Burcharth, H.F. Displacement of Monolithic Rubble-Mound Breakwater Crown-Walls. In Proceedings of the 33rd ICCE, Santander, Spain, 1–6 July 2012; Volume 1. [Google Scholar]
- De Rouck, J.; Van Doorslaer, K.; Goemaere, J.; Verhaeghe, H. Geotechnical design of breakwaters in Ostend on very soft soil. In Proceedings of the 32nd International Conference on Coastal Engineering (ICCE), Shangai, China, 30 June–5 July 2010; Volume 1, p. 67. [Google Scholar]
- Coles, S.; Heffernan, J.; Tawn, J. Dependence measures of extreme value analysis. Extremes 1999, 2, 339–365. [Google Scholar] [CrossRef]
- Suh, K.D.; Kwon, H.D.; Lee, D.Y. Some statistical characteristics of large deepwater waves around the Korean Peninsula. Coast. Eng. 2010, 57, 375–384. [Google Scholar] [CrossRef]
- Thornton, E.B.; Guza, R.T. Transformation of wave height distribution. J. Geophys. Res. Oceans 1983, 88, 5925–5938. [Google Scholar] [CrossRef]
- CIRIA, CUR, CETMEF. The Rock Manual. The Use of Rock in Hydraulic Engineering, 2nd ed.; CIRIA: London, UK, 2007; Volume 683. [Google Scholar]
- Tuan, T.Q.; Vu, M.C.; Le, H.T. Experimental Study on Wave Overtopping at Seadikes with Vertical Crown-Wall. In Proceedings of the 5th International Conference on Asian and Pacific Coasts, Singapore, 22–25 September 2009; World Scientific: Singapore, 2009; pp. 79–85. [Google Scholar]
- Gómez Pina, G.; Valdés, J.M. Experiments on Coastal Protection Submerged Breakwaters: A Way to Look at the Results. In Proceedings of the 22th International Conference on Coastal Engineering, Delft, The Netherlands, 2–6 July 1990; pp. 1592–1605. [Google Scholar]
- U.S. Army Corps of Engineers (USACE). Coastal Engineering Manual; Chapter VI-5—Fundamentals of Design; Burcharth, H.F., Hughes, S.A., Eds.; U.S. Army Corps of Engineers: Washington, DC, USA, 2006.
- Van der Meer, J.W. Stability of Breakwater Armour Layers-Design Formulae. Coast. Eng. 1987, 11, 219–239. [Google Scholar] [CrossRef]
- Coeveld, E.M.; Busnelli, M.M.; van Gent, M.R.A.; Wolters, G. Wave Overtopping of Rubble Mound Breakwaters with Crest Elements. In Proceedings of the 30th International Conference on Coastal Engineering, San Diego, CA, USA, 3–8 September 2006; Volume 5, pp. 4592–4604. [Google Scholar]
- EurOtop. Wave Overtopping of Sea Defences and Related Structures: Assessment Manual; Pullen, T., Allsop, N.W.H., Bruce, T., Kortenhaus, A., Schüttrumpf, H., van der Meer, J.W., Eds.; Environment Agency (EA): Bristol, UK; Expertise Netwerk Waterkeren (ENW): Utrecht, The Netherlands; Kuratorium für Forschung im Küsteningenieurwesen (KFKI): Hamburg, Germany, 2007. [Google Scholar]
- D’Angremond, K.; van der Meer, J.W.; de Jong, R.J. Wave Transmission at Low-Crested Structures. In Proceedings of the 25th International Conference on Coastal Engineering, Orlando, FL, USA, 2–6 September 1996; pp. 2418–2426. [Google Scholar]
- Van der Meer, J.W.; Briganti, R.; Zanuttigh, B.; Wang, B. Wave transmission and reflection at low-crested structures: Design formulae, oblique wave attack and spectral change. Coast. Eng. 2005, 52, 915–929. [Google Scholar] [CrossRef]
- Briganti, R.; van der Meer, J.W.; Buccino, M.; Calabrese, M. Wave Transmission behind Low-Crested Structures. In Proceedings of the Coast Structures Conference, Portland, OR, USA, 26–30 August 2003; ASCE: Reston, VA, USA, 2003; pp. 580–592. [Google Scholar]
- Makris, C.V.; Memos, C.D. Wave Transmission over Submerged Breakwaters: Performance of Formulae and Models. In Proceedings of the 17th International Offshore and Polar Engineering Conference (ISOPE), Lisbon, Portugal, 1–6 July 2007; pp. 2613–2620. [Google Scholar]
- Vicinanza, D.; Cáceres, I.; Buccino, M.; Gironella, X.; Calabrese, M. Wave disturbance behind low crested structures: Diffraction and overtopping effects. Coast. Eng. 2009, 56, 1173–1185. [Google Scholar] [CrossRef]
- Delos. D 59 Design Guidelines: Environment Design Guidelines of Low Crested Coastal Defence Structures; Burcharth, H., Lamberti, A., Eds.; Pitagora Editrice Bologna: Bologna, Italy, 2004. [Google Scholar]
- Kraus, N.C. Estimate of breaking wave height behind structures. J. Waterw. Port Coast. Ocean Eng. 1984, 110, 276–282. [Google Scholar] [CrossRef]
- Goda, Y. Random Seas and Design of Maritime Structures, 1st ed.; University of Tokyo Press: Tokyo, Japan, 1985. [Google Scholar]
- Karambas, T.V.; Memos, C.D. Boussinesq model for weakly nonlinear fully dispersive water waves. J. Waterw. Port Coast. Ocean Eng. 2009, 135, 187–199. [Google Scholar] [CrossRef]
- Memos, C.D.; Karambas, T.V.; Avgeris, I. Irregular wave transformation in the nearshore zone: Experimental investigations and comparison with a higher order Boussinesq model. Ocean Eng. 2005, 32, 1465–1485. [Google Scholar] [CrossRef]
- Viviano, A.; Musumeci, R.E.; Foti, E. A nonlinear rotational, quasi-2DH, numerical model for spilling wave propagation. Appl. Math. Model. 2015, 39, 1099–1118. [Google Scholar] [CrossRef]
- Prevot, G.; Kergadallan, X.; Sergent, P. Overtopping Evolution due to the Climate Change and Consequences on the Structures with an Analytical Method and a Statistical Method. In Proceedings of the AIPCN-France Third Mediterranean Days of Coastal and Port Engineering, Marseilles, France, 22–24 May 2013. [Google Scholar]
- Sergent, P.; Prevot, G.; Mattarolo, G.; Brossard, J.; Morel, G.; Mar, F.; Benoît, M.; Ropert, F.; Kergadallan, X.; Trichet, J.-J.; et al. Adaptation of coastal structures to mean sea level rise. La Houille Blanche 2014, 6, 54–61. [Google Scholar] [CrossRef]
- Hawkes, P.J.; Gouldby, B.P.; Tawn, J.A.; Owen, M.W. The joint probability of waves and water levels in coastal engineering design. J. Hydraul. Res. 2002, 40, 241–251. [Google Scholar] [CrossRef]
- Benoît, M.; Lafon, F.; Goasguen, G. Constitution et exploitation d’une base de données d’états de mer le long des côtes françaises par simulation numérique sur 23 ans. Base ANEMOC en Atlantique-Manche-Mer du Nord. Eur. J. Environ. Civ. Eng. 2012, 12, 35–50. [Google Scholar] [CrossRef]
- Morellato, D.; Benoît, M. Vagues et Changement Climatique-Simulation des états de mer dans l’Océan Atlantique de 1960 à 2100 pour trois Scénarios de Changement Climatique. In Proceedings of the Les 8èmes Journées Scientifiques et Techniques, Brest, France, 8–9 December 2010. [Google Scholar] [CrossRef]
- ONERC. Synthèse n°2, Prise en Compte de L'élévation du Niveau de la mer en vue de L'estimation des Impacts du Changement Climatique et des Mesures D'adaptation Possibles; Direction Générale Energie et Climat Grande Arche: Paroi nord 92 055 La Défense Cedex, France, 2010; 6p.
- Hosking, J.R.M. L-moments: Analysis and estimation of distribution using linear combination of order statistics. J. R. Stat. Soc. B 1990, 52, 105–124. [Google Scholar]
- LiCCo. Two Countries, One Sea—A Cross Channel Perspective on Climate Change and the Coast. Report of the LiCCo Project, Interreg IVA France (Channel)—England Programme. 2014. Available online: http://www.licco.eu (accessed on 20 July 2018).
















© 2018 by the authors. Licensee MDPI, Basel, Switzerland. This article is an open access article distributed under the terms and conditions of the Creative Commons Attribution (CC BY) license (http://creativecommons.org/licenses/by/4.0/).
Share and Cite
Galiatsatou, P.; Makris, C.; Prinos, P. Optimized Reliability Based Upgrading of Rubble Mound Breakwaters in a Changing Climate. J. Mar. Sci. Eng. 2018, 6, 92. https://doi.org/10.3390/jmse6030092
Galiatsatou P, Makris C, Prinos P. Optimized Reliability Based Upgrading of Rubble Mound Breakwaters in a Changing Climate. Journal of Marine Science and Engineering. 2018; 6(3):92. https://doi.org/10.3390/jmse6030092
Chicago/Turabian StyleGaliatsatou, Panagiota, Christos Makris, and Panayotis Prinos. 2018. "Optimized Reliability Based Upgrading of Rubble Mound Breakwaters in a Changing Climate" Journal of Marine Science and Engineering 6, no. 3: 92. https://doi.org/10.3390/jmse6030092
APA StyleGaliatsatou, P., Makris, C., & Prinos, P. (2018). Optimized Reliability Based Upgrading of Rubble Mound Breakwaters in a Changing Climate. Journal of Marine Science and Engineering, 6(3), 92. https://doi.org/10.3390/jmse6030092
