A Case Study on Structural Serviceability Subjected to Railway-Induced Vibrations at TOD Developed Metro Depot
Abstract
:1. Introduction
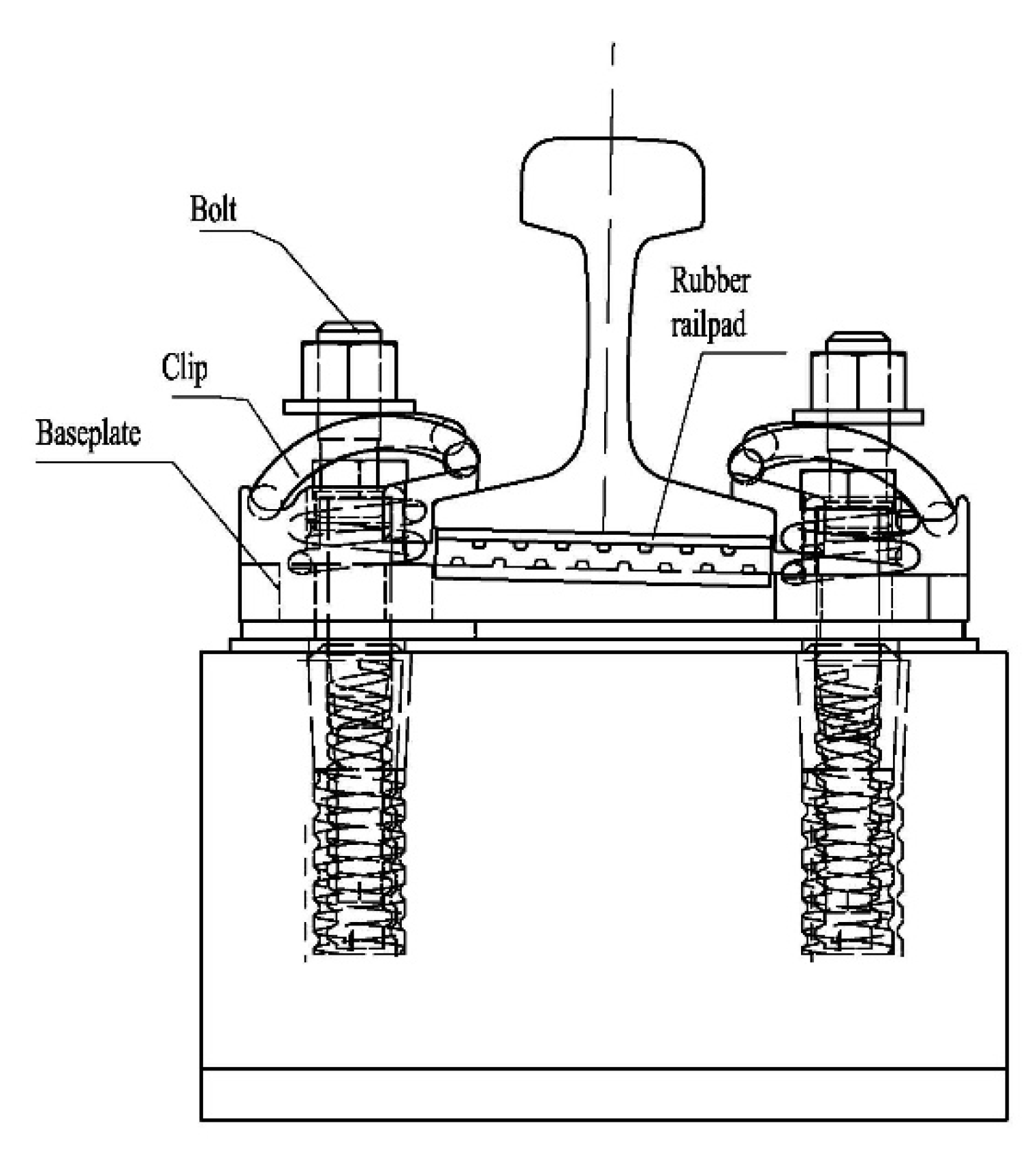
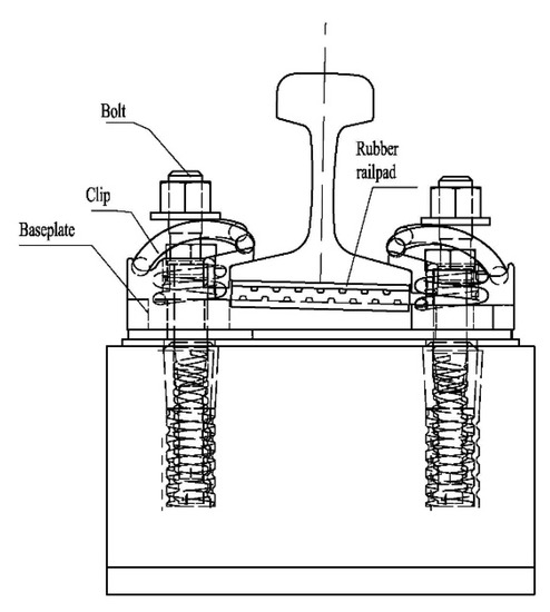
2. Description of Metro Depot and Over-Track Building and Vibration Measurement
3. Vibration Response Result Analysis
3.1. Track Effect on Vibration Response
3.2. Floor Effect on Vibration Response
4. Evaluation of Vibration Impact on Human Comfort
4.1. Human Comfort Analysis with Vibration Velocity as Evaluation Index
4.1.1. Annoyance Rate Analysis Based on Vibration Dosage-Response Curve Released by USA
4.1.2. Annoyance Rate Analysis Based on Vibration Exposure–Response Curve Released by Norway
- Disturbance when watching TV or listening to the radio;
- Disturbance during the rest period;
- Waking up too early;
- Waking up during the night;
- Disturbance during telephone usage;
- Disturbance during conversations;
- Difficulty in falling asleep.
4.2. Human Comfort Analysis with Vibration Acceleration as Evaluation Index
4.2.1. Annoyance Rate Analysis Based on Vibration Exposure–Response Curve Released by Europe
- (1)
- Vdir,max: Maximum wk-weighted fast exponentially filtered rms velocity over the entire evaluation period;
- (2)
- rms: wk-weighted rms acceleration over the entire evaluation period;
- (3)
- VDV: wk-weighted vibration intensity over the entire evaluation period.
- (1)
- The annoyance rate during peak hours of train operation
- (2)
- The annoyance rate in a single-train operation
4.2.2. Annoyance Rate Analysis Using the Set-Value Statistical Method and Psychological Annoyance Rate
5. Findings and Discussion
5.1. The Particularity of Railway Vibration at Tod Developed Depot
5.2. Human Comfort Analysis with Vibration Velocity as Evaluation Index
5.3. Analysis of Human Comfort Using Train Acceleration as Evaluation Index
6. Conclusions
- (1)
- It was clear that the neighborhood residents were indeed suffering from the railway-induced vibrations under certain circumstances. However, the results indicated that 90% of the occupants were not highly annoyed by the train-induced vibrations;
- (2)
- The vibration events that happened at the TOD depot related to many factors, such as the train speed, building structure, and the track location that the trains were running on. It is possible to reduce the vibration effect by using a particular solution;
- (3)
- At the particular situation of the metro depot, the main negative effect on human comfort was that the high level vibrations regularly happened in the rush hours, very early in the morning and very late at night, which would cause an interruption in sleep. Therefore, the evaluation index should consider more factors related to sleep difficulties and the awake threshold value;
- (4)
- Based on the review of the current available standards, there are differences in terms of the single-figure or comprehensive indexes’ descriptors, frequency weightings, measurement methods, and the guidelines’ values for detailed impact. However, the current descriptors were insufficient to assess the effect of the vibrations on human comfort in such a particular situation, as it is difficult to derive exposure–response relationships or threshold values for impact on sleep and other living activities. Future studies should therefore focus on self-reported sleep difficulties and the impact on activities undertaken when awake from the residents living in TOD developed metro depots.
Author Contributions
Funding
Institutional Review Board Statement
Informed Consent Statement
Data Availability Statement
Conflicts of Interest
References
- Overview of Urban Rail Transit Lines in Mainland China in 2021. Available online: https://www.camet.org.cn/xxfb/9283 (accessed on 2 April 2022).
- GB 50157-2013; Code for Design of Metro. Ministry of Housing and Urban-Rural Development of the People’s Republic of China: Beijing, China, 2013.
- Tao, Z.; Hu, Z.; Wu, G.; Huang, C.; Zou, C.; Ying, Z. Train-Induced Vibration Predictions Based on Data-Driven Cascaded State-Space Model. Buildings 2022, 12, 114. [Google Scholar] [CrossRef]
- Newman, P.W.; Kenworthy, J.R. The land use—Transport connection: An overview. Land Use Policy 1996, 13, 1–22. [Google Scholar] [CrossRef]
- Handy, S. Smart Growth and The Transportation-Land Use Connection: What Does the Research Tell Us? Int. Reg. Sci. Rev. 2005, 28, 146–167. [Google Scholar] [CrossRef]
- He, W. Field measurement and evaluation of noise and vibrations induced by bridge cranes in full-scale over-track buildings. Environ. Sci. Pollut. Res. Int. 2019, 26, 36515–36537. [Google Scholar] [CrossRef]
- Ma, M.; Li, M.; Qu, X.; Zhang, H. Effect of passing metro trains on uncertainty of vibration source intensity: Monitoring tests. Measurement 2022, 193, 110992. [Google Scholar] [CrossRef]
- Xu, L.H.; Ma, M. Dynamic response of the multilayered half-space medium due to the spatially periodic harmonic moving load. Soil Dyn. Earthq. Eng. 2022, 157, 107246. [Google Scholar] [CrossRef]
- Kouroussis, G.; Connolly, D.P.; Verlinden, O. Railway-induced ground vibrations-a review of vehicle effects. Int. J. Rail Transp. 2014, 2, 69–110. [Google Scholar] [CrossRef] [Green Version]
- Ziyu, T.; James, A.M.; Masoud, S.; Yimin, W.; Chao, Z. Train-induced floor vibration and structure-borne noise predictions in a low-rise over-track building. Eng. Struct. 2022, 255, 113914. [Google Scholar]
- Chao, Z.; Yimin, W.; Peng, W.; Jixing, G. Measurement of ground and nearby building vibration and noise induced by trains in a metro depot. Sci. Total. Environ. 2015, 536, 761–773. [Google Scholar]
- Chao, Z.; Yimin, W.; James, A.M.; Masoud, S. Train-induced field vibration measurements of ground and over-track buildings. Sci. Total. Environ. 2017, 575, 1339–1351. [Google Scholar]
- Zhiliang, C.; Tong, G.; Zhiqiang, Z.; Aiqun, L. Measurement and analysis of vibrations in a residential building constructed on an elevated metro depot. Measurement 2018, 125, 394–405. [Google Scholar]
- Connolly, D.P.; Marecki, G.P.; Kouroussis, G.; Thalassinakis, I.; Woodward, P.K. The growth of railway ground vibration problems—A review. Sci. Total Env. 2016, 568, 1276–1282. [Google Scholar] [CrossRef] [PubMed]
- Beben, D.; Maleska, T.; Bobra, P.; Duda, J.; Anigacz, W. Influence of Traffic-Induced Vibrations on Humans and Residential Building-A Case Study. Environ. Res. Public Health 2022, 19, 5441. [Google Scholar] [CrossRef] [PubMed]
- Waddington, D.; Woodcock, J.; Smith, M.G.; Janssen, S.; Persson Waye, K. CargoVibes: Human response to vibration due to freight rail traffic. Int. J. Rail Transp. 2015, 3, 233–248. [Google Scholar] [CrossRef] [Green Version]
- Arnberg, P.W.; Bennerhult, O.; Eberhardt, J.L. Sleep disturbances caused by vibrations from heavy road traffic. J. Acoust. Soc. Am. 1990, 88, 1486–1493. [Google Scholar] [CrossRef] [Green Version]
- Klæboe, R.; Turunen-Rise, I.H.; Hårvik, L.; Madshus, C. Vibration in dwellings from road and rail traffic—Part II: Exposure–effect relationships based on ordinal logit and logistic regression models. Appl. Acoust. 2003, 64, 89–109. [Google Scholar] [CrossRef]
- Michael, G.S.; Ilona, C.; Mikael, O.; Kerstin, P.W. On the influence of freight trains on humans: A laboratory investigation of the impact of nocturnal low frequency vibration and noise on sleep and heart rate. PLoS ONE 2013, 8, e55829. [Google Scholar]
- Croy, I.; Smith, M.G.; Waye, K.P. Effects of train noise and vibration on human heart rate during sleep: An experimental study. BMJ Open 2013, 3, e002655. [Google Scholar] [CrossRef] [Green Version]
- Smith, M.G.; Croy, I.; Hammar, O.; Persson, W.K. Vibration from freight trains fragments sleep: A polysomnographic study. Sci. Rep. 2016, 6, 24717. [Google Scholar] [CrossRef] [Green Version]
- Waye, K.P.; Smith, M.G.; Croy, I.; Hammar, O.; Ögren, M. D1.4 Final Report of the Results of the Sleep Disturbance Study; CargoVibes: Delft, The Netherlands, 2013. [Google Scholar]
- Waddington, D.C.; Woodcock, J.; Peris, E.; Condie, J.; Steele, A. Human response to vibration in residential environments. J. Acoust. Soc. Am. 2014, 135, 182–193. [Google Scholar] [CrossRef] [Green Version]
- Öhrström, E.; Gidlöf Gunnarsson, A.; Ögren, M.; Jerson, T. Effects of railway noise and vibration in combination: Field and laboratory studies. In Proceedings of the 8th European Conference on Noise Control, Edinburgh, UK, 26–28 October 2009; pp. 1204–1213. [Google Scholar]
- Guski, R.; Felscher-Suhr, U.; Schuemer, R. The concept of noise annoyance: How international experts see it. J. Sound Vib. 1999, 223, 513–527. [Google Scholar] [CrossRef]
- Peris, E.; Woodcock, J.; Sica, G.; Moorhouse, A.T.; Waddington, D.C. Annoyance due to railway vibration at different times of the day. J. Acoust. Soc. Am. 2012, 131, L191–L196. [Google Scholar] [CrossRef] [Green Version]
- Peris, E.; Woodcock, J.; Sica, G.; Sharp, C.; Moorhouse, A.T.; Waddington, D.C. Effect of situational, attitudinal and demographic factors on railway vibration annoyance in residential areas. J. Acoust. Soc. Am. 2014, 135, 194–204. [Google Scholar] [CrossRef] [PubMed] [Green Version]
- Janssen, S.A.; Vos, H.; Koopman, A. Deliverable D1.2-Exposure Response Relationships and Factors Influencing These Relationships; TNO: Delft, The Netherlands, 2013. [Google Scholar]
- USA Department of Transportation Federal Transit Administration. Transit Noise and Vibration Impact Assessment; USA Department of Transportation Federal Transit Administration: Washington, DC, USA, 2006.
- USA Department of Transportation Federal Railroad Administration. High-Speed Ground Transportation Noise and Vibration; USA Department of Transportation Federal Railroad Administration: Washington, DC, USA, 2012.
- NS 8176(2005); Vibration and Shock—Measurement of Vibration in Buildings from Landbased Transport and Guidance to Evaluation of Effects on Human Beings. Standard Norge: Oslo, Norway, 2005.
- Ruihe, T.; Danqun, F. Evaluation of urban residents’ subjective responses to environmental vibration using fuzzy mathematical principles. China Environ. Sci. 1990, 10, 356–359. [Google Scholar]
- Zhigang, S. A New Annoyance-based Vibration Comfort Design Theory on Engineering Structures. Ph.D. Thesis, Zhejiang University, Hangzhou, China, 2003. [Google Scholar]
- Xia, H.; Cao, Y.; Guido, R.D.; Geert, D. Environmental problems of vibrations induced by railway traffic. Front. Struct. Civ. Eng. 2007, 1, 142–152. [Google Scholar] [CrossRef]
- Griffin, M.J.; Whitham, E.M. Individual variability and its effect on subjective and biodynamic response to whole-body vibration. J. Sound Vib. 1978, 58, 239–250. [Google Scholar] [CrossRef]


















| Effect | Significant Findings | |
|---|---|---|
| Biological changes | Change in cardiovascular activity | Increase in heart rate [19,20] |
| Change in sleep structure | Reduction in REM sleep [17] | |
| Greater number of sleep stage shifts [22] | ||
| Shorter period between falling asleep and first awakening [22] | ||
| Shorter maximum length of uninterrupted time spent in slow wave sleep [22] | ||
| EEG awakening | Increase in probability of EEG awakening [22] | |
| Sleep quality | Waking in the night/too early | Increase of reported awakenings/waking too early (Figure E.2 in [18]) |
| Difficulty in getting back to sleep | Greater difficulty in getting back to sleep once awoken for higher amplitudes of vibration [22] | |
| Self-reported sleep disturbance from vibrations | Increase in proportion of people reporting sleep disturbances (Figure E.2 in [18] and Figure E.3 in [23]) | |
| Self-reported sleep disturbances related to vibration amplitude [22] | ||
| Decrease in self-reported sleep quality [22] | ||
| Self-reported sleep disturbances from noise | Vibration related to increase in proportion of people reporting sleep disturbances from noise [24] | |
| Decreased restoration | Decrease in self-reported restoration [22] |
| Factor | Significant Findings | |
|---|---|---|
| Time of day | Evening | Annoyance greater during the evening than during the day at the same level of vibration exposure [26] |
| Night | Annoyance is greater during the night than during the day and evening at the same level of vibration exposure [26] | |
| Situational | Situational | Annoyance greater if the source is visible [27,28] |
| Time spent at home | Annoyance greater for people who spend less than 10 h per day at home [27] | |
| Type of area | Annoyance greater for people living in rural areas [27] | |
| Attitudinal | Concern of damage | Annoyance greater for those concerned that vibrations are damaging their property or belongings [26,28] |
| Expectation regarding future vibrations | Annoyance greater for those expecting vibrations to get worse in the future [27] | |
| Necessity of source | Annoyance greater for those considering the source unnecessary [28] | |
| Noise sensitivity | Annoyance from vibrations greater for those considering themselves as noise sensitive [28] | |
| Sociodemographic | Age | Annoyance greater for those in the middle age group in [26], no significant effect in [28] |
| Rail Types | Rail Weight | Train Speed | Fastener |
|---|---|---|---|
| Long sleeper embedded ballast less track | 60 kg/m | The warehouse door-10 km/h | Type I separate fastener |
| The middle of the operating depot-5 km/h |
| Track | Drawing Room-3F Lν (dB) | Bed Room-3F Lν (dB) | Drawing Room-7F Lν (dB) | Bed Room-7F Lν (dB) |
|---|---|---|---|---|
| 14-track entrance | 57.81 | 58.29 | 60.02 | 61.03 |
| 14-track exits | 57.89 | 55.10 | 59.35 | 59.16 |
| 15-track entrance | 67.01 | 62.92 | 65.20 | 66.62 |
| 15-track exits | 64.22 | 63.27 | 63.20 | 65.10 |
| 16-track entrance | 66.60 | 64.04 | 77.17 | 70.68 |
| 16-track exits | 66.42 | 65.10 | 77.26 | 67.27 |
| 17-track entrance | 66.90 | 63.32 | 65.71 | 70.77 |
| 17-track exits | 70.34 | 64.34 | 67.57 | 69.60 |
| 18-track entrance | 68.61 | 62.14 | 67.21 | 68.08 |
| 18-track exits | 66.78 | 59.09 | 69.66 | 67.88 |
| Floors and Rooms | Velocity Level Mean + 2σ (dB) | Probability of Highly Annoyed | Probability of Moderately or Highly Annoyed |
|---|---|---|---|
| Drawing room-3F | 73.24 | 0.062 | 0.112 |
| Bed room-3F | 67.85 | 0.035 | 0.065 |
| Drawing room-7F | 78.93 | 0.090 | 0.175 |
| Bed room-7F | 73.99 | 0.065 | 0.115 |
| Table. | Drawing Room νw,max (mm/s) | Bed Room νw,max (mm/s) | Drawing Room νw,max (mm/s) | Bed Room νw,max (mm/s) |
|---|---|---|---|---|
| 14-track entrance | 0.0385 | 0.03777 | 0.14 | 0.09 |
| 14- track exits | 0.0319 | 0.03178 | ||
| 15-track entrance | 0.0777 | 0.064694 | ||
| 15- track exits | 0.06817 | 0.057754 | ||
| 16-track entrance | 0.10331 | 0.087049 | ||
| 16- track exits | 0.0839 | 0.065383 | ||
| 17-track entrance | 0.0873 | 0.067918 | ||
| 17- track exits | 0.1266 | 0.079552 | ||
| 18-track entrance | 0.11804 | 0.056475 | ||
| 18- track exits | 0.11611 | 0.040929 |
| Track | Drawing Room νw,max (mm/s) | Bed Room νw,max (mm/s) | Drawing Room νw,95 (mm/s) | Bed Room νw,95 (mm/s) |
|---|---|---|---|---|
| 14-track entrance | 0.0461 | 0.0404 | 0.23 | 0.15 |
| 14-track exits | 0.0411 | 0.0374 | ||
| 15-track entrance | 0.0862 | 0.0831 | ||
| 15-track exits | 0.0760 | 0.0695 | ||
| 16-track entrance | 0.3093 | 0.1378 | ||
| 16-track exits | 0.1076 | 0.0929 | ||
| 17-track entrance | 0.0939 | 0.1263 | ||
| 17-track exits | 0.0939 | 0.1326 | ||
| 18-track entrance | 0.1013 | 0.0907 | ||
| 18-track exits | 0.1095 | 0.0940 |
| Single Peak Hour | Test Room-3F | %HA | %A | %SA |
|---|---|---|---|---|
| 10:30 p.m. to 11:30 p.m. | Drawing room | 4.24 | 12.07 | 26.46 |
| 11:30 p.m. to 12:30 p.m. | Drawing room | 6.30 | 16.09 | 32.36 |
| 4:30 a.m. to 5:30 a.m. | Drawing room | 5.18 | 13.95 | 29.28 |
| 5:30 a.m. to 6:30 a.m. | Drawing room | 8.27 | 19.69 | 37.31 |
| 10:30 p.m. to 11:30 p.m. | Bed room | 8.71 | 20.47 | 38.34 |
| 10:30 p.m. to 12:30 p.m. | Bed room | 7.91 | 19.05 | 36.45 |
| 4:30 a.m. to 5:30 a.m. | Bed room | 7.96 | 19.14 | 36.57 |
| 5:30 a.m. to 6:30 a.m. | Bed room | 8.49 | 20.08 | 37.82 |
| Single Peak Hour | Test Room-7F | %HA | %A | %SA |
|---|---|---|---|---|
| 10:30 p.m. to 11:30 p.m. | Bed room | 0.59 | 3.13 | 10.28 |
| 10:30 p.m. to 12:30 p.m. | Bed room | 0.69 | 3.49 | 11.13 |
| 4:30 a.m. to 5:30 a.m. | Bed room | 0.58 | 3.09 | 10.18 |
| 5:30 a.m. to 6:30 a.m. | Bed room | 0.84 | 3.98 | 12.22 |
| A Single Car | Test Room-3F | %HA | %A | %SA |
|---|---|---|---|---|
| 14-track entrance | Drawing room | 4.70 | 12.99 | 27.85 |
| 14-track exits | Drawing room | 2.80 | 8.99 | 21.55 |
| 15-track entrance | Drawing room | 6.98 | 17.37 | 34.15 |
| 15-track exits | Drawing room | 5.00 | 13.59 | 28.75 |
| 16-track entrance | Drawing room | 5.26 | 14.10 | 29.49 |
| 16-track exits | Drawing room | 6.56 | 16.59 | 33.06 |
| 17-track entrance | Drawing room | 6.03 | 15.58 | 31.64 |
| 17-track exits | Drawing room | 5.91 | 15.36 | 31.33 |
| 18-track entrance | Drawing room | 8.31 | 19.77 | 37.41 |
| 18-track exits | Drawing room | 7.59 | 18.48 | 35.68 |
| 14-track entrance | Bed room | 4.88 | 13.36 | 28.41 |
| 14-track exits | Bed room | 2.58 | 8.48 | 20.69 |
| 15-track entrance | Bed room | 5.24 | 14.07 | 29.45 |
| 15-track exits | Bed room | 3.92 | 11.39 | 25.41 |
| 16-track entrance | Bed room | 3.68 | 10.90 | 24.64 |
| 16-track exits | Bed room | 3.72 | 10.98 | 24.76 |
| 17-track entrance | Bed room | 3.44 | 10.39 | 23.83 |
| 17-track exits | Bed room | 3.21 | 9.90 | 23.04 |
| 18-track entrance | Bed room | 4.36 | 12.31 | 26.82 |
| 18-track exits | Bed room | 3.33 | 10.15 | 23.45 |
| A Single Car | Test Room-7F | %HA | %A | %SA |
|---|---|---|---|---|
| 14-track entrance | Bed room | 2.38 | 8.02 | 19.90 |
| 14-track exits | Bed room | 1.20 | 5.04 | 14.41 |
| 15-track entrance | Bed room | 3.23 | 9.93 | 23.09 |
| 15-track exits | Bed room | 2.44 | 8.16 | 20.15 |
| 16-track entrance | Bed room | 5.92 | 15.37 | 31.34 |
| 16-track exits | Bed room | 3.60 | 10.72 | 24.36 |
| 17-track entrance | Bed room | 4.15 | 11.87 | 26.16 |
| 17-track exits | Bed room | 4.72 | 13.03 | 27.91 |
| 18-track entrance | Bed room | 4.36 | 12.31 | 26.83 |
| 18-track exits | Bed room | 2.58 | 8.49 | 20.70 |
| A Single Car | Test Room-3F | Annoyance Rate |
|---|---|---|
| 14-track entrance | Drawing room | 0.086% |
| 14-track exits | Drawing room | 0.14% |
| 15-track entrance | Drawing room | 15.89% |
| 15-track exits | Drawing room | 6.16% |
| 16-track entrance | Drawing room | 19.82% |
| 16-track exits | Drawing room | 17.41% |
| 17-track entrance | Drawing room | 21.75% |
| 17-track exits | Drawing room | 51.71% |
| 18-track entrance | Drawing room | 37.2% |
| 18-track exits | Drawing room | 21.19% |
| 14-track entrance | Bed room | 0.00059% |
| 14-track exits | Bed room | 0.0003% |
| 15-track entrance | Bed room | 0.16% |
| 15-track exits | Bed room | 0.088% |
| 16-track entrance | Bed room | 0.29% |
| 16-track exits | Bed room | 0.35% |
| 17-track entrance | Bed room | 0.11% |
| 17-track exits | Bed room | 0.2% |
| 18-track entrance | Bed room | 0.072% |
| 18-track exits | Bed room | 0.00018% |
| A Single Car | Test Room-7F | Annoyance Rate |
|---|---|---|
| 14-track entrance | Bed room | 0.001% |
| 14-track exits | Bed room | 0.000% |
| 15-track entrance | Bed room | 0.0159% |
| 15-track exits | Bed room | 0.0089% |
| 16-track entrance | Bed room | 0.1479% |
| 16-track exits | Bed room | 0.0207% |
| 17-track entrance | Bed room | 0.1713% |
| 17-track exits | Bed room | 0.0898% |
| 18-track entrance | Bed room | 0.0508% |
| 18-track exits | Bed room | 0.0498% |
Publisher’s Note: MDPI stays neutral with regard to jurisdictional claims in published maps and institutional affiliations. |
© 2022 by the authors. Licensee MDPI, Basel, Switzerland. This article is an open access article distributed under the terms and conditions of the Creative Commons Attribution (CC BY) license (https://creativecommons.org/licenses/by/4.0/).
Share and Cite
Liao, Y.; Zhang, P.; Wu, Q.; Zhang, H. A Case Study on Structural Serviceability Subjected to Railway-Induced Vibrations at TOD Developed Metro Depot. Buildings 2022, 12, 1070. https://doi.org/10.3390/buildings12081070
Liao Y, Zhang P, Wu Q, Zhang H. A Case Study on Structural Serviceability Subjected to Railway-Induced Vibrations at TOD Developed Metro Depot. Buildings. 2022; 12(8):1070. https://doi.org/10.3390/buildings12081070
Chicago/Turabian StyleLiao, Yingying, Peijie Zhang, Qiong Wu, and Hougui Zhang. 2022. "A Case Study on Structural Serviceability Subjected to Railway-Induced Vibrations at TOD Developed Metro Depot" Buildings 12, no. 8: 1070. https://doi.org/10.3390/buildings12081070
APA StyleLiao, Y., Zhang, P., Wu, Q., & Zhang, H. (2022). A Case Study on Structural Serviceability Subjected to Railway-Induced Vibrations at TOD Developed Metro Depot. Buildings, 12(8), 1070. https://doi.org/10.3390/buildings12081070
