The Perceived Restorative Quality of Viewing Various Types of Urban and Rural Scenes: Based on Psychological and Physiological Responses
Abstract
1. Introduction
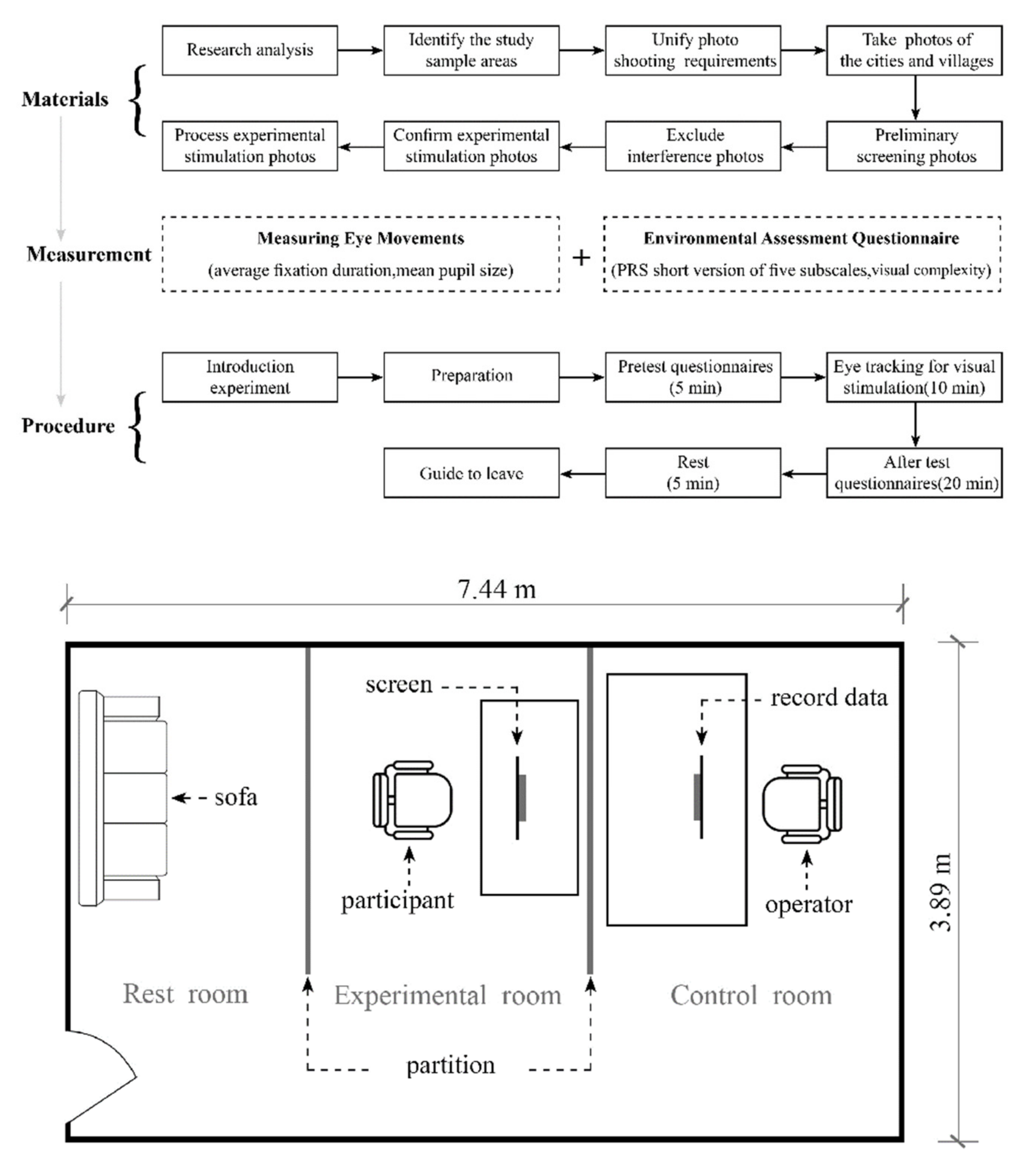
2. Materials and Methods
2.1. Study Sample and Photographic Stimuli
2.2. Participants
2.3. Apparatus
2.4. Measurement
2.4.1. Measuring Eye Movements
2.4.2. Environmental Assessment Questionnaire
2.5. Image Analysis Index
2.6. Procedure
2.7. Data Analysis
3. Results
3.1. PRS
3.2. Perception Complexity
3.3. Characteristics of Visual Perception
3.4. Relationship between Landscape Composition and PRS Score
3.5. Relationship between Landscape Composition and Visual Perception
4. Discussion
4.1. The Effect of Different Environmental Pictures on Visual Evaluation and Visual Perception
4.2. The Effect of Different Environments and Visual Perceptions
4.3. The Relationship between Typical Landscape Element Indices and Visual Evaluations
4.4. The Relationship between Typical Landscape Element Indices and Visual Perceptions
4.5. Limitations and Future Research
5. Conclusions
Author Contributions
Funding
Institutional Review Board Statement
Informed Consent Statement
Conflicts of Interest
References
- Franěk, M.; Šefara, D.; Petružálek, J.; Cabal, J.; Myška, K. Differences in eye movements while viewing images with various levels of restorativeness. J. Environ. Psychol. 2018, 57, 10–16. [Google Scholar] [CrossRef]
- Kaplan, R.; Kaplan, S. The Experience of Nature: A Psychological Perspective; Cambridge University Press: New York, NY, USA, 1989. [Google Scholar]
- Kaplan, S. The restorative benefits of nature: Toward an integrative framework. J. Environ. Psychol. 1995, 15, 169–182. [Google Scholar] [CrossRef]
- Laumann, K.; Gärling, T.; Stormark, K.M. Selective attention and heart rate responses to natural and urban environments. J. Environ. Psychol. 2003, 23, 125–134. [Google Scholar] [CrossRef]
- Conniff, A.; Craig, T. A methodological approach to understanding the wellbeing and restorative benefits associated with greenspace. Urban For. Urban Green. 2016, 19, 103–109. [Google Scholar] [CrossRef]
- Hartig, T.; Korpela, K.; Evans, G.W.; Gärling, T. Validation of a measure of perceived environmental restorativeness. Göteborg Psychol. Rep. 1996, 26, 1–64. [Google Scholar]
- Laumann, K.; Gärling, T.; Stormark, K.M. Rating scale measures of restorative components of environments. J. Environ. Psychol. 2001, 21, 31–44. [Google Scholar] [CrossRef]
- Hauru, K.; Lehvävirta, S.; Korpela, K.; Kotze, D.J. Closure of view to the urban matrix has positive effects on perceived re-storativeness in urban forests in Helsinki, Finland. Landsc. Urban Plan. 2012, 107, 361–369. [Google Scholar] [CrossRef]
- Pasini, M.; Berto, R.; Brondino, M.; Hall, R.; Ortner, C. How to Measure the Restorative Quality of Environments: The PRS-11. Proc. Soc. Behav. Sci. 2014, 159, 293–297. [Google Scholar] [CrossRef]
- Berto, R. Assessing the restorative value of the environment: A study on the elderly in comparison with young adults and adolescents. Int. J. Psychol. 2007, 42, 331–341. [Google Scholar] [CrossRef]
- Berto, R.; Massaccesi, S.; Pasini, M. Do eye movements measured across high and low fascination photographs differ? Ad-dressing Kaplan’s fascination hypothesis. J. Environ. Psychol. 2008, 28, 185–191. [Google Scholar] [CrossRef]
- Chang, C.-Y.; Hammitt, W.E.; Chen, P.-K.; Machnik, L.; Su, W.-C. Psychophysiological responses and restorative values of natural environments in Taiwan. Landsc. Urban Plan. 2008, 85, 79–84. [Google Scholar] [CrossRef]
- Ivarsson, C.T.; Hagerhall, C.M. The perceived restorativeness of gardens—Assessing the restorativeness of a mixed built and natural scene type. Urban For. Urban Green. 2008, 7, 107–118. [Google Scholar] [CrossRef]
- Abdulkarim, D.; Nasar, J.L. Are livable elements also restorative? J. Environ. Psychol. 2014, 38, 29–38. [Google Scholar] [CrossRef]
- Wang, X.; Rodiek, S.; Wu, C.; Chen, Y.; Li, Y. Stress recovery and restorative effects of viewing different urban park scenes in Shanghai, China. Urban For. Urban Green. 2016, 15, 112–122. [Google Scholar] [CrossRef]
- Garg, R.; Couture, R.T.; Ogryzlo, T.; Schinke, R. Perceived psychosocial benefited associated with perceived restorative po-tential of wilderness river-rafting trips. Psychol. Rep. 2010, 107, 213–226. [Google Scholar] [CrossRef] [PubMed]
- Takayama, N.; Fujiwara, A.; Saito, H.; Horiuchi, M. Management Effectiveness of a Secondary Coniferous Forest for Landscape Appreciation and Psychological Restoration. Int. J. Environ. Res. Public Health 2017, 14, 800. [Google Scholar] [CrossRef]
- Peschardt, K.K.; Stigsdotter, U.K. Associations between park characteristics and perceived restorativeness of small public urban green spaces. Landsc. Urban Plan. 2013, 112, 26–39. [Google Scholar] [CrossRef]
- Nordh, H.; Hagerhall, C.M.; Holmqvist, K. Tracking Restorative Components: Patterns in Eye Movements as a Consequence of a Restorative Rating Task. Landsc. Res. 2013, 38, 101–116. [Google Scholar] [CrossRef]
- Tomao, A.; Secondi, L.; Carrus, G.; Corona, P.; Portoghesi, L.; Agrimi, M. Restorative urban forests: Exploring the relationships between forest stand structure, perceived restorativeness and benefits gained by visitors to coastal Pinus pinea forests. Ecol. Indic. 2018, 90, 594–605. [Google Scholar] [CrossRef]
- Tabrizian, P.; Baran, P.K.; Smith, W.R.; Meentemeyer, R. Exploring perceived restoration potential of urban green enclosure through immersive virtual environments. J. Environ. Psychol. 2018, 55, 99–109. [Google Scholar] [CrossRef]
- Ren, X. Consensus in factors affecting landscape preference: A case study based on a cross-cultural comparison. J. Environ. Manag. 2019, 252, 109622. [Google Scholar] [CrossRef] [PubMed]
- Kaplan, S.; Kaplan, R. Humanscape: Environments for People; Duxbury Press: North Scituate, CA, USA, 1982. [Google Scholar]
- Kaplan, R. The Role of Nature in the Urban Context. In Behaviour and the Natural Environment; Altman, I., Wohlwill, J.F., Eds.; Plenum Press: New York, NY, USA, 1983. [Google Scholar]
- Coeterier, J. Dominant attributes in the perception and evaluation of the Dutch landscape. Landsc. Urban Plan. 1996, 34, 27–44. [Google Scholar] [CrossRef]
- van den Berg, A.E.; Koole, S.L.; van der Wulp, N.Y. Environmental preference and restoration: (How) Are they related? J. Environ. Psychol. 2003, 23, 135–146. [Google Scholar] [CrossRef]
- Mikel, S.; Kalevi, K.; Tytti, P. Still not that bad for the grey city: A field study on the restorative effects of built open urban places. Cities 2021, 111, 103081. [Google Scholar]
- Berman, M.G.; Hout, M.C.; Kardan, O.; Hunter, M.; Yourganov, G.; Henderson, J.M.; Hanayik, T.; Karimi, H.; Jonides, J. The Perception of Naturalness Correlates with Low-Level Visual Features of Environmental Scenes. PLoS ONE 2014, 9, e114572. [Google Scholar] [CrossRef]
- Kardan, O.; Demiralp, E.; Hout, M.; Hunter, M.; Karimi, H.; Hanayik, T.; Yourganov, G.; Jonides, J.; Berman, M. Is the pref-erence of natural versus man-made scenes driven by bottom-up processing of the visual features of nature? Front. Psychol. 2015, 6, 471. [Google Scholar] [CrossRef]
- Ulrich, R.S.; Simons, R.F.; Losito, B.D.; Fiorito, E.; Miles, M.A.; Zelson, M. Stress recovery during exposure to natural and urban environments. J. Environ. Psychol. 1991, 11, 201–230. [Google Scholar] [CrossRef]
- Pazhouhanfar, M.; Kamal, M.S.M. Effect of predictors of visual preference as characteristics of urban natural landscapes in increasing perceived restorative potential. Urban For. Urban Green. 2014, 13, 145–151. [Google Scholar] [CrossRef]
- Huang, A.S.-H.; Lin, Y.-J. The effect of landscape colour, complexity and preference on viewing behaviour. Landsc. Res. 2019, 45, 214–227. [Google Scholar] [CrossRef]
- Franěk, M.; Petružálek, J.; Šefara, D. Eye movements in viewing urban images and natural images in diverse vegetation periods. Urban For. Urban Green. 2019, 46, 126477. [Google Scholar] [CrossRef]
- Liu, Q.; Zhu, Z.; Zeng, X.; Zhuo, Z.; Ye, B.; Fang, L.; Huang, Q.; Lai, P. The impact of landscape complexity on preference ratings and eye fixation of various urban green space settings. Urban For. Urban Green. 2021, 66, 127411. [Google Scholar] [CrossRef]
- De Lucio, J.; Mohamadian, M.; Ruiz, J.; Banayas, J.; Bernaldez, F. Visual landscape exploration as revealed by eye movement tracking. Landsc. Urban Plan. 1996, 34, 135–142. [Google Scholar] [CrossRef]
- Berto, R. Exposure to restorative environments helps restore attentional capacity. J. Environ. Psychol. 2005, 25, 249–259. [Google Scholar] [CrossRef]
- Dupont, L.; Ooms, K.; Duchowski, A.T.; Antrop, M.; Van Eetvelde, V. Investigating the visual exploration of the rural-urban gradient using eye-tracking. Spat. Cogn. Comput. 2017, 17, 65–88. [Google Scholar] [CrossRef]
- Martínez-Soto, J.; de la Fuente Suárez, L.A.; Gonzáles-Santos, L.; Barrios, F.A. Observation of environments with different restorative potential results in differences in eye patron movements and pupillary size. IBRO Rep. 2019, 7, 52–58. [Google Scholar] [CrossRef]
- Valtchanov, D.; Ellard, C.G. Cognitive and affective responses to natural scenes: Effects of low level visual properties on preference, cognitive load and eye-movements. J. Environ. Psychol. 2015, 43, 184–195. [Google Scholar] [CrossRef]
- Sun, M.; Herrup, K.; Shi, B.; Hamano, Y.; Liu, C.; Goto, S. Changes in visual interaction: Viewing a Japanese garden directly, through glass or as a projected image. J. Environ. Psychol. 2018, 60, 116–121. [Google Scholar] [CrossRef]
- Cottet, M.; Vaudor, L.; Tronchère, H.; Roux-Michollet, D.; Augendre, M.; Brault, V. Using gaze behavior to gain insights into the impacts of naturalness on city dwellers’ perceptions and valuation of a landscape. J. Environ. Psychol. 2018, 60, 9–20. [Google Scholar] [CrossRef]
- Elsadek, M.; Sun, M.; Sugiyama, R.; Fujii, E. Cross-cultural comparison of physiological and psychological responses to different garden styles. Urban For. Urban Green. 2018, 38, 74–83. [Google Scholar] [CrossRef]
- Nordh, H.; Hagerhall, C.; Holmqvist, K. Exploring view pattern and analysing pupil size as a measure of restorative qualities in park photos. Acta Hortic. 2010, 881, 767–772. [Google Scholar] [CrossRef]
- Ode Sang, Å.; Tveit, M.S.; Pihel, J.; Hägerhäll, C.M. Identifying cues for monitoring stewardship in Swedish pasture landscapes. Land Use Policy 2016, 53, 20–26. [Google Scholar] [CrossRef]
- Spiers, H.J.; Maguire, E.A. The dynamic nature of cognition during wayfinding. J. Environ. Psychol. 2008, 28, 232–249. [Google Scholar] [CrossRef]
- Amati, M.; Parmehr, E.G.; McCarthy, C.; Sita, J. How eye-catching are natural features when walking through a park? Eye-tracking responses to videos of walks. Urban For. Urban Green. 2018, 31, 67–78. [Google Scholar] [CrossRef]
- Liu, L.; Qu, H.; Ma, Y.; Wang, K.; Qu, H. Restorative benefits of urban green space: Physiological, psychological restoration and eye movement analysis. J. Environ. Manag. 2021, 301, 113930. [Google Scholar] [CrossRef] [PubMed]
- Dupont, L.; Ooms, K.; Antrop, M.; Van Eetvelde, V. Comparing saliency maps and eye-tracking focus maps: The potential use in visual impact assessment based on landscape photographs. Landsc. Urban Plan. 2016, 148, 17–26. [Google Scholar] [CrossRef]
- Shen, J.; Saijo, T. Reexamining the relations between socio-demographic characteristics and individual environmental concern: Evidence from Shanghai data. J. Environ. Psychol. 2008, 28, 42–50. [Google Scholar] [CrossRef]
- Nielsen, A.B.; Heyman, E.; Richnau, G. Liked, disliked and unseen forest attributes: Relation to modes of viewing and cognitive constructs. J. Environ. Manag. 2012, 113, 456–466. [Google Scholar] [CrossRef]
- Qiu, L.; Lindberg, S.; Nielsen, A.B. Is biodiversity attractive?—On-site perception of recreational and biodiversity values in urban green space. Landsc. Urban Plan. 2013, 119, 136–146. [Google Scholar] [CrossRef]
- Hartig, T.; Kaiser, F.G.; Bowler, P.A. Further Development of a Measure of Perceived Environmental Restorativeness; Working Paper, No. 5; Uppsala University: Gävle, Sweden, 1997; pp. 78–85. [Google Scholar]
- Nordh, H.; Hartig, T.; Hagerhall, C.M.; Fry, G. Components of small urban parks that predict the possibility for restoration. Urban For. Urban Green. 2009, 8, 225–235. [Google Scholar] [CrossRef]
- Henderson, J.; Ferreira, F. The interface of language, vision, and action: Eye movements and the visual world. In Scene Perception for Psycholinguists; Henderson, J., Ferreira, F., Eds.; Psychology Press: New York, NY, USA, 2004. [Google Scholar]
- Kang, Y.; Kim, E.J. Differences of Restorative Effects While Viewing Urban Landscapes and Green Landscapes. Sustainability 2019, 11, 2129. [Google Scholar] [CrossRef]
- Jorgensen, A. The social and cultural context of ecological plantings. In The Dynamic Landscape: Design, Ecology and Management of Naturalistic Urban Planting; Dunnett, N., Hitchmough, J., Eds.; Taylor and Francis: London, UK, 2004; Volume 1, pp. 416–459. [Google Scholar]
- Jorgensen, A.; Anthopoulou, A. Enjoyment and fear in urban woodlands—Does age make a difference? Urban For. Urban Green. 2007, 6, 267–278. [Google Scholar] [CrossRef]
- Jansson, M.; Fors, H.; Lindgren, T.; Wiström, B. Perceived personal safety in relation to urban woodland vegetation—A review. Urban For. Urban Green. 2013, 12, 127–133. [Google Scholar] [CrossRef]
- Witkin, H.; Goodenough, J. Cognitive Styles: Essence and Origins; International Universities Press: New York, NY, USA, 1981. [Google Scholar]
- Baker, M.A.; Loeb, M. Implications of measurement of eye fixations for a psychophysics of form perception. Percept. Psychophys. 1973, 13, 185–192. [Google Scholar] [CrossRef][Green Version]
- Underwood, G.; Foulsham, T. Visual saliency and semantic incongruency influence eye movements when inspecting pictures. Q. J. Exp. Psychol. 2006, 59, 1931–1949. [Google Scholar] [CrossRef] [PubMed]
- White, M.; Smith, A.; Humphryes, K.; Pahl, S.; Snelling, D.; Depledge, M. Blue space: The importance of water for preference, affect, and restorativeness ratings of natural and built scenes. J. Environ. Psychol. 2010, 30, 482–493. [Google Scholar] [CrossRef]
- Schroeder, H.W.; Anderson, L.M. Perception of Personal Safety in Urban Recreation Sites. J. Leis. Res. 1984, 16, 178–194. [Google Scholar] [CrossRef]
- Jorgensen, A.; Hitchmough, J.; Calvert, T. Woodland spaces and edges: Their impact on perception of safety and preference. Landsc. Urban Plan. 2002, 60, 135–150. [Google Scholar] [CrossRef]
- Herzog, T.R.; Bryce, A.G. Mystery and Preference in Within-Forest Settings. Environ. Behav. 2007, 39, 779–796. [Google Scholar] [CrossRef]
- Stephen, J.D.; Frederick, T.L.L. Volunteer Bias and the Five-Factor Model. J. Psychol. Interdiscip. Appl. 1993, 127, 29–36. [Google Scholar]






| Gender | Ethnic | Nationality | ||||||||
|---|---|---|---|---|---|---|---|---|---|---|
| Male | Female | Han | China | |||||||
| Number | 26 | 93 | 119 | 119 | ||||||
| Education Level | Birthplace | Current Living Area | ||||||||
| Undergraduate | Postgraduate | Urban | Rural | Urban | Rural | |||||
| Number | 110 | 9 | 109 | 10 | 119 | 0 | ||||
| Age | ||||||||||
| 17 | 18 | 19 | 20 | 21 | 24 | 25 | 26 | 27 | 28 | |
| Number | 5 | 15 | 43 | 31 | 16 | 4 | 2 | 1 | 1 | 1 |
| UAS 1 | UNS 2 | RAS 3 | RNS 4 | F | p | η2 | 1 − β | |
|---|---|---|---|---|---|---|---|---|
| Mean ± SD | Mean ± SD | Mean ± SD | Mean ± SD | |||||
| Being away | 2.91 ± 0.15 | 3.93 ± 0.13 | 4.29 ± 0.16 | 4.23 ± 0.17 | 22.66 | 0.001 | 0.47 | 1.00 |
| Fascination | 3.46 ± 0.16 | 3.78± 0.15 | 3.98 ± 0.15 | 4.24 ± 0.21 | 6.42 | 0.001 | 0.20 | 0.96 |
| Coherence | 4.70 ± 0.19 | 4.03 ± 0.14 | 4.92 ± 0.16 | 4.13 ± 0.20 | 7.80 | 0.001 | 0.26 | 0.99 |
| Scope | 4.50 ± 1.02 | 4.43 ± 1.00 | 4.61 ± 0.93 | 4.48 ± 1.11 | 3.27 | 0.021 | 0.14 | 0.72 |
| Compatibility | 3.97 ± 0.24 | 4.48 ± 0.24 | 3.75 ± 0.24 | 3.97 ± 0.24 | 0.39 | 0.760 | 0.02 | 0.12 |
| Perception complexity | 3.94 ± 0.08 | 3.32 ± 0.07 | 3.74 ± 0.06 | 3.96 ± 0.08 | 4.138 | 0.011 | 0.22 | 1.00 |
| Type | Subscale | Element | Constant | B | R | R2 | F | p | CI | VIF |
|---|---|---|---|---|---|---|---|---|---|---|
| Being away | waterscape | 0.004 | 0.40 | 0.38 | 0.14 | (1,44), 7.42 | <0.05 | 0.01; 0.07 | 1.00 | |
| Fascination | waterscape | 3.58 | 2.66 | 0.76 | 0.58 | (2,43), 30.10 | <0.01 | 1.89; 3.44 | 1.05 | |
| paddy | 1.45 | 0.86; 2.05 | 1.05 | |||||||
| Coherence | weed | 4.7 | −1.95 | 0.50 | 0.25 | (2,43), 7.01 | <0.01 | −3.09; −0.81 | 1.05 | |
| soil | −1.47 | −2.84; −0.11 | 1.05 | |||||||
| Scope | N | |||||||||
| Compatibility | soil | 4.42 | −2.67 | 0.91 | 0.84 | (4,41), 51.77 | <0.01 | −3.17; −2.16 | 1.24 | |
| weed | −1.73 | −2.19; −1.27 | 1.47 | |||||||
| hardscape | −1.16 | −1.51; −0.82 | 1.13 | |||||||
| shrub | 4.63 | 0.63; 8.63 | 1.35 | |||||||
| RNS | Being away | weed | 5.11 | −1.28 | 0.99 | 0.97 | (2,9), 154.62 | <0.01 | −1.58; −0.99 | 1.44 |
| sky | −1.85 | −2.47; −1.22 | 1.44 | |||||||
| Fascination | arbor | 4.02 | 1.17 | 0.60 | 0.36 | (1,10), 5.72 | <0.05 | 0.81; 2.27 | 1.00 | |
| Coherence | weed | 5.41 | −4.62 | 0.98 | 0.95 | (1,10), 202.32 | <0.01 | −5.34; −3.90 | 1.00 | |
| Scope | N | |||||||||
| Compatibility | weed | 4.46 | −2.15 | 0.98 | 0.95 | (1,10), 207.48 | <0.01 | −2.49; −1.82 | 1.00 | |
| RAS | Being away | soil | 4.26 | −1.61 | 0.91 | 0.82 | (1,10), 45.03 | <0.01 | −2.14; −1.08 | 1.00 |
| Fascination | paddy | 3.38 | 1.74 | 0.89 | 0.79 | (2,9), 16.88 | <0.01 | 0.98; 0.25 | 1.01 | |
| weed | −3.52 | 0.80; 6.23 | 1.01 | |||||||
| Coherence | N | |||||||||
| Scope | N | |||||||||
| Compatibility | soil | 4.27 | −2.48 | 0.97 | 0.94 | (1,10), 150.84 | <0.01 | −2.93; −2.03 | 1.00 | |
| UNS | Being away | waterscape | 3.76 | 2.34 | 0.95 | 0.90 | (2,8), 35.72 | <0.01 | 1.70; 2.98 | 1.34 |
| lawn | 0.88 | 0.31; 1.46 | 1.34 | |||||||
| Fascination | waterscape | 3.66 | 2.32 | 0.96 | 0.93 | (2,8), 49.60 | <0.01 | 1.70; 2.94 | 1.06 | |
| weed | −58.34 | −106.20; −10.49 | 1.06 | |||||||
| Coherence | hardscape | 4.56 | 2.05 | 0.96 | 0.91 | (1,9), 93.59 | <0.01 | 1.57; 2.52 | 1.00 | |
| Scope | N | |||||||||
| Compatibility | N | |||||||||
| UAS | Being away | building | 2.5 | 1.84 | 0.99 | 0.97 | (2,8), 143.03 | <0.01 | 1.59; 2.09 | 1.11 |
| shrub | −10.29 | −16.23; −4.36 | 1.11 | |||||||
| Fascination | weed | 4.1 | −3.32 | 0.97 | 0.94 | (2,8), 59.95 | <0.01 | −4.02; −2.62 | 1.67 | |
| hardscape | −1.01 | −1.40; −0.62 | 1.67 | |||||||
| Coherence | weed | 4.33 | 3.00 | 0.94 | 0.89 | (1,9), 73.49 | <0.01 | 2.21; 3.80 | 1.00 | |
| Scope | shrub | 3.66 | 124.53 | 0.75 | 0.56 | (1,9), 11.61 | <0.01 | 41.84; 207.22 | 1.00 | |
| Compatibility | building | 3.6 | 1.51 | 0.95 | 0.91 | (1,9), 91.24 | <0.01 | 1.16; 1.87 | 1.00 | |
| Type | Subscale | Element | Constant | B | R | R2 | F | p | CI | VIF |
|---|---|---|---|---|---|---|---|---|---|---|
| Total | Fixation | hardscape | 21.86 | 3.71 | 0.75 | 0.56 | (3,42), 18.03 | <0.01 | 2.62; 4.79 | 1.11 |
| building | 3.17 | 1.58; 4.76 | 1.12 | |||||||
| waterscape | 1.91 | 0.26; 3.57 | 1.13 | |||||||
| Average fixation duration (ms) | hardscape | 375.26 | −60.51 | 0.71 | 0.50 | (3,42), 14.16 | <0.01 | −83.76; −37.26 | 1.05 | |
| building | −60.49 | −94.35; −26.62 | 1.04 | |||||||
| shrub | 121.59 | 109.53; 600.28 | 1.04 | |||||||
| Fixation duration (ms) | N | |||||||||
| Pupil size (μm) | arbor | 1660.6 | 478.29 | 0.72 | 0.52 | (2,43), 22.90 | <0.01 | 325.36; 631.23 | 1.01 | |
| paddy | 133.58 | −221.45; −45.72 | 1.01 | |||||||
| RNS | Fixation | N | ||||||||
| Average fixation duration (ms) | N | |||||||||
| Fixation duration (ms) | N | |||||||||
| Pupil size (μm) | N | |||||||||
| RAS | Fixation | hardscape | 22.41 | 4.81 | 0.67 | 0.45 | (1,10), 8.14 | < .05 | 1.05; 8.56 | 1.00 |
| Average fixation duration (ms) | hardscape | 392.08 | −176.46 | 0.86 | 0.75 | (2,9), 13.29 | < .01 | −256.43; −96.50 | 2.08 | |
| building | −251.54 | −462.33; −40.76 | 2.08 | |||||||
| Fixation duration (ms) | paddy | 7424.1 | −302.68 | 0.61 | 0.37 | (1,10), 5.85 | <0.05 | −581.50; −23.86 | 1.00 | |
| Pupil size (μm) | building | 1775.4 | −1226.86 | 0.85 | 0.56 | (2,9), 11.79 | <0.01 | −1805.01; −648.71 | 1.12 | |
| paddy | 128.67 | 1.64; 255.70 | 1.12 | |||||||
| UNS | Fixation | lawn | 22.94 | −1.68 | 0.61 | 0.37 | (1,9), 5.35 | 0.05 | −3.31; −0.04 | 1.00 |
| Average fixation duration (ms) | arbor | 263.91 | 327.19 | 0.92 | 0.85 | (3,7), 12.92 | <0.01 | 185.21; 469.17 | 1.61 | |
| weed | −2528.72 | −4368.19; −692.24 | 1.04 | |||||||
| sky | 104.48 | 5.13; 203.84 | 1.63 | |||||||
| Fixation duration (ms) | shrub | 7110.9 | 5876.05 | 0.62 | 0.39 | (1,9), 5.75 | <0.05 | 330.43; 11421.67 | 1.00 | |
| Pupil size (μm) | sky | 1873.4 | −441.74 | 0.69 | 0.48 | (1,9), 8.31 | <0.05 | −788.33; −95.14 | 1.00 | |
| UAS | Fixation | N | ||||||||
| Average fixation duration (ms) | N | |||||||||
| Fixation duration (ms) | N | |||||||||
| Pupil size (μm) | N | |||||||||
Publisher’s Note: MDPI stays neutral with regard to jurisdictional claims in published maps and institutional affiliations. |
© 2022 by the authors. Licensee MDPI, Basel, Switzerland. This article is an open access article distributed under the terms and conditions of the Creative Commons Attribution (CC BY) license (https://creativecommons.org/licenses/by/4.0/).
Share and Cite
Li, C.; Yuan, Y.; Sun, C.; Sun, M. The Perceived Restorative Quality of Viewing Various Types of Urban and Rural Scenes: Based on Psychological and Physiological Responses. Sustainability 2022, 14, 3799. https://doi.org/10.3390/su14073799
Li C, Yuan Y, Sun C, Sun M. The Perceived Restorative Quality of Viewing Various Types of Urban and Rural Scenes: Based on Psychological and Physiological Responses. Sustainability. 2022; 14(7):3799. https://doi.org/10.3390/su14073799
Chicago/Turabian StyleLi, Chang, Yu Yuan, Changan Sun, and Minkai Sun. 2022. "The Perceived Restorative Quality of Viewing Various Types of Urban and Rural Scenes: Based on Psychological and Physiological Responses" Sustainability 14, no. 7: 3799. https://doi.org/10.3390/su14073799
APA StyleLi, C., Yuan, Y., Sun, C., & Sun, M. (2022). The Perceived Restorative Quality of Viewing Various Types of Urban and Rural Scenes: Based on Psychological and Physiological Responses. Sustainability, 14(7), 3799. https://doi.org/10.3390/su14073799

