Torsional Behavior of Waste Fiber-Reinforced Concrete
Abstract
1. Introduction
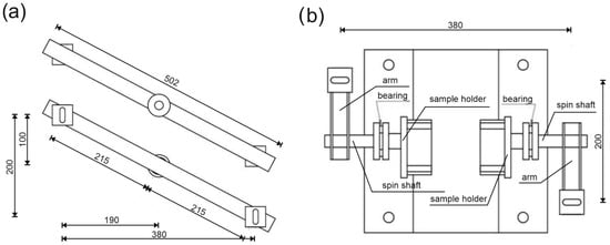
2. Materials and Methods
3. Research Test Results
4. Discussion
5. Conclusions
- The addition of steel fibers has little effect on compressive strength of the tested cement composites;
- The type of mixture has little effect on the cracking moment;
- Fibers significantly affect the destruction process of the cement composite, turning it from a brittle material to quasi-plastic one;
- The shape of the sample has an influence on the value of the cracking moment and the tangential stress;
- The torsional failure of the composite with the addition of steel fibers is slower in comparison to the composite without fibers. Torsional stress is partially transferred through the fibers.
Author Contributions
Funding
Data Availability Statement
Conflicts of Interest
References
- Desta, E.; Jun, Z. A Review on Ground Granulated Blast Slag GGBS in Concrete. In Proceedings of the 8th International Conference on Advances in Civil and Structural Engineering, Kuala Lumpur, Malaysia, 4 February 2018. [Google Scholar]
- Kadir, A.A.; Hassan, M.I.H. An Overview of Fly Ash and Bottom Ash Replacement in Self Compaction Concrete. Key Eng. Mater. 2014, 594–595, 465–470. [Google Scholar] [CrossRef]
- Rumman, R.; Bari, M.S.; Manzur, T.; Kamal, M.R.; Noor, M.A. A Durable Concrete Mix Design Approach Using Combined Aggregate Gradation Bands and Rice Husk Ash Based Blended Cement. J. Build. Eng. 2020, 30, 101303. [Google Scholar] [CrossRef]
- Katzer, J.; Grzybowski, P.; Kobaka, J. Selected Properties of Reinforcing Composite Bars for Concrete Elements Prepared from Waste Polyethylene Terephthalate (PET) Bottles. Rocz. Ochr. Sr. 2023, 25, 188–197. [Google Scholar] [CrossRef]
- Pajak, M.; Krystek, M.; Zakrzewski, M.; Domski, J. Laboratory Investigation and Numerical Modelling of Concrete Reinforced with Recycled Steel Fibers. Materials 2021, 14, 1828. [Google Scholar] [CrossRef] [PubMed]
- Zarzycki, P.K.; Katzer, J.; Domski, J. Fast Classification of Fibres for Concretebased on Multivariate Statistics. Comput. Concr. 2017, 20, 23–29. [Google Scholar] [CrossRef]
- Katzer, J.; Domski, J. Quality and Mechanical Properties of Engineered Steel Fibres Used as Reinforcement for Concrete. Constr. Build. Mater. 2012, 34, 243–248. [Google Scholar] [CrossRef]
- Kotsovos, M.D. Concrete. A Brittle Fracturing Material. Matériaux Constr. 1984, 17, 107–115. [Google Scholar] [CrossRef]
- Sellier, A.; Millard, A. A Homogenized Formulation to Account for Sliding of Non-Meshed Reinforcements during the Cracking of Brittle Matrix Composites: Application to Reinforced Concrete. Eng. Fract. Mech. 2019, 213, 182–196. [Google Scholar] [CrossRef]
- Molaei Raisi, E.; Vaseghi Amiri, J.; Davoodi, M.R. Influence of Rice Husk Ash on the Fracture Characteristics and Brittleness of Self-Compacting Concrete. Eng. Fract. Mech. 2018, 199, 595–608. [Google Scholar] [CrossRef]
- Cui, H.Z.; Lo, T.Y.; Memon, S.A.; Xu, W. Effect of Lightweight Aggregates on the Mechanical Properties and Brittleness of Lightweight Aggregate Concrete. Constr. Build. Mater. 2012, 35, 149–158. [Google Scholar] [CrossRef]
- Kobaka, J. A statistical model of fibre distribution in a steel fibre reinforced concrete. Materials 2021, 14, 7297. [Google Scholar] [CrossRef] [PubMed]
- Yazıcı, Ş.; İnan, G.; Tabak, V. Effect of Aspect Ratio and Volume Fraction of Steel Fiber on the Mechanical Properties of SFRC. Constr. Build. Mater. 2007, 21, 1250–1253. [Google Scholar] [CrossRef]
- Głodkowska, W.; Kobaka, J. The Model of Brittle Matrix Composites for Distribution of Steel Fibres. J. Civ. Eng. Manag. 2012, 18, 145–150. [Google Scholar] [CrossRef][Green Version]
- Katzer, J.; Kobaka, J.; Ponikiewski, T. Influence of Crimped Steel Fibre on Properties of Concrete Based on an Aggregate Mix of Waste and Natural Aggregates. Materials 2020, 13, 1906. [Google Scholar] [CrossRef] [PubMed]
- Zhao, C.; Wang, Z.; Zhu, Z.; Guo, Q.; Wu, X.; Zhao, R. Research on Different Types of Fiber Reinforced Concrete in Recent Years: An Overview. Constr. Build. Mater. 2023, 365, 130075. [Google Scholar] [CrossRef]
- Wu, F.; Yu, Q.; Chen, X. Effects of Steel Fibre Type and Dosage on Abrasion Resistance of Concrete against Debris Flow. Cem. Concr. Compos. 2022, 134, 104776. [Google Scholar] [CrossRef]
- Ismail El-kassas, A.; Ali Bashandy, A.; Mohamed Eied, F.A.; Abd El-Salam Arab, M. Effect of Fibers Type on the Behavior of Fibrous High-Strength Self-Compacted Reinforced Concrete Flat Slabs in Punching with and without Shear Reinforcement. Constr. Build. Mater. 2022, 360, 129625. [Google Scholar] [CrossRef]
- de Alencar Monteiro, V.M.; de Andrade Silva, F. On the Design of the Fiber Reinforced Shotcrete Applied as Primary Rock Support in the Cuiabá Underground Mining Excavations: A Case Study. Case Stud. Constr. Mater. 2021, 15, e00784. [Google Scholar] [CrossRef]
- Fattouh, M.S.; Tayeh, B.A.; Agwa, I.S.; Elsayed, E.K. Improvement in the Flexural Behaviour of Road Pavement Slab Concrete Containing Steel Fibre and Silica Fume. Case Stud. Constr. Mater. 2023, 18, e01720. [Google Scholar] [CrossRef]
- Oliveira, J.M.; Vieira, C.S.; Silva, M.F.; Amorim, D.L. Fracture Modelling of Steel Fibre Reinforced Concrete Structures by the Lumped Damage Mechanics: Application in Precast Tunnel Segments. Eng. Struct. 2023, 278, 115487. [Google Scholar] [CrossRef]
- Domingo, M.; Ramos, G.; Aparicio, Á.C. Use of Fiber Reinforced Concrete in Bridges—Metrorrey Line 2 Case Study. Eng. Struct. 2023, 276, 115373. [Google Scholar] [CrossRef]
- Xiang, D.; Liu, S.; Li, Y.; Liu, Y. Improvement of Flexural and Cyclic Performance of Bridge Deck Slabs by Utilizing Steel Fiber Reinforced Concrete (SFRC). Constr. Build. Mater. 2022, 329, 127184. [Google Scholar] [CrossRef]
- Kangu, A.N.; Shitote, S.M.; Onchiri, R.O.; Matallah, M. Effects of Waste Tyre Steel Fibres on the Ultimate Capacity of Headed Studs in Normal Concrete. Case Stud. Constr. Mater. 2023, 18, e02166. [Google Scholar] [CrossRef]
- Yıldızel, S.A.; Özkılıç, Y.O.; Bahrami, A.; Aksoylu, C.; Başaran, B.; Hakamy, A.; Arslan, M.H. Experimental Investigation and Analytical Prediction of Flexural Behaviour of Reinforced Concrete Beams with Steel Fibres Extracted from Waste Tyres. Case Stud. Constr. Mater. 2023, 19, e02227. [Google Scholar] [CrossRef]
- Zia, A.; Zhang, P.; Holly, I. Experimental Investigation of Raw Steel Fibers Derived from Waste Tires for Sustainable Concrete. Constr. Build. Mater. 2023, 368, 130410. [Google Scholar] [CrossRef]
- Mohammed, T.J.; Abu Bakar, B.H.; Muhamad Bunnori, N. Torsional Improvement of Reinforced Concrete Beams Using Ultra High-Performance Fiber Reinforced Concrete (UHPFC) Jackets—Experimental Study. Constr. Build. Mater. 2016, 106, 533–542. [Google Scholar] [CrossRef]
- Wang, X.; Liu, B.; Zhang, C. Seismic Behavior of Recycled Aggregate Concrete Beams under Cyclic Torsion. Constr. Build. Mater. 2016, 129, 193–203. [Google Scholar] [CrossRef]
- Tibhe, S.B.; Rathi, V.R. Comparative Experimental Study on Torsional Behavior of RC Beam Using CFRP and GFRP Fabric Wrapping. Procedia Technol. 2016, 24, 140–147. [Google Scholar] [CrossRef]
- Behera, G.C.; Rao, T.D.G.; Rao, C.B.K. Torsional Behaviour of Reinforced Concrete Beams with Ferrocement U-Jacketing-Experimental Study. Case Stud. Constr. Mater. 2016, 4, 15–31. [Google Scholar] [CrossRef]
- Kobaka, J. Principal component analysis as a statistical tool for concrete mix design. Materials 2021, 14, 2668. [Google Scholar] [CrossRef]
- EN 197-1:2011; Cement. Composition, Specifications and Conformity Criteria for Common Cements. BSI Standards Publication: London, UK, 2011.
- EN 1008:2002; Mixing Water for Concrete. Specification for Sampling, Testing and Assessing the Suitability of Water, Including Water Recovered from Processes in the Concrete Industry, as Mixing Water for Concrete. BSI Standards Publication: London, UK, 2002; Volume 3.
- EN 933-2; Tests for Geometrical Properties of Aggregates. BSI Standards Publication: London, UK, 1999.
- Popovics, S. Concrete Materials. Properties, Specifications and Testing, 2nd ed.; Noyes Publications: Norwich, NJ, USA, 1992; ISBN 0-8155-1308-9. [Google Scholar]
- Katzer, J. Median Diameter as a Grading Characteristic for Fine Aggregate Cement Composite Designing. Constr. Build. Mater. 2012, 35, 884–887. [Google Scholar] [CrossRef]
- EN 1097-3; Tests for Mechanical and Physical Properties of Aggregates—Part 3: Determination of Loose Bulk Density and Voids. British Standard Institution: London, UK, 1998.
- EN 1097-6; Tests for Mechanical and Physical Properties of Aggregates—Part 6: Determination of Particle Density and Water Absorption. BSI Standards Publication: London, UK, 2000; Volume 3.
- EN 196-1:2016; Methods of Testing Cement—Part 1: Determination of Strength. British Standard: London, UK, 2016.
- ACI (American Concrete Institute). Building Code Requirements for Structural Concrete and Commentary; ACI 318-19; American Concrete Institute: Farmington Hills, MI, USA, 2019. [Google Scholar]
- Hassan, R.F.; Al-Salim, N.H.; Mohammed, N.S.; Hussein, H.H. Experimental study and theoretical prediction on torsional strength with different steel fiber reinforced concretes and Cross-Section areas. Eng. Struct. 2022, 251, 113559. [Google Scholar] [CrossRef]
- Hsu, T.T.C.; Mo, Y.L. Softening of Concrete in Torsional Members-Theory and Tests. ACI J. 1985, 82, 290–303. [Google Scholar] [CrossRef]
- Okay, F.; Engin, S. Torsional behavior of steel fiber reinforced concrete beams. Constr. Build. Mater. 2012, 28, 269–275. [Google Scholar] [CrossRef]
















| Fiber Type | Diameter (mm) | Length (mm) | Tensile Strength (MPa) |
|---|---|---|---|
| Factory made steel fiber | 0.4 1 | 14.0 1 | 2800 1 |
| WTSF | 0.3 2 | 13.3 2 | 1789 2 |
| Component | CM | SFRC | WTSFRC |
|---|---|---|---|
| Cement | 450 | 450 | 450 |
| Fine aggregate | 1350 | 1350 | 1350 |
| Water | 225 | 225 | 225 |
| Steel fiber | - | 60 | 60 |
| Fineness Modulus via | Median | Bulk Density | Water | |
|---|---|---|---|---|
| Abrams | Diameter | Loose | Compacted | Absorptivity |
| (-) | (mm) | (g/cm3) | (g/cm3) | (%) |
| 2.77 | 0.84 | 1.70 | 1.84 | 9.2 |
| Composite Name | Compressive Strength (MPa) | Flexural Strength (MPa) |
|---|---|---|
| CM | 43.4 (1.1) 1 | 8.5 (0.3) 1 |
| SFRC | 55.2 (0.8) 1 | 14.4 (1.6) 1 |
| WTSFRC | 48.2 (2.0) 1 | 9.7 (0.3) 1 |
| Specimen Cross-Section Shape, Moment | CM | SFRC | WTSFRC |
|---|---|---|---|
| Rectangular, MR (N·m) | 26.17 (2.8) 1 | 26.08 (1.9) 1 | 24.35 (2.2) 1 |
| Circular, MC (N·m) | 19.31 (1.4) 1 | 17.40 (1.5) 1 | 16.13 (2.4) 1 |
| Aspect ratio MR/MC | 1.36 | 1.50 | 1.51 |
| Calculation Methods | Equations | CM | SFRC | WTSFRC | |||
|---|---|---|---|---|---|---|---|
| MR | MC | MR | MC | MR | MC | ||
| ACI 318-19 [40] | 14.82 | 11.64 | 16.72 | 13.12 | 15.62 | 12.26 | |
| Okay and Engin [43] | 47.74 | 45.04 | 80.87 | 76.30 | 54.48 | 51.40 | |
| Hassan et al. [41] | 18.23 | 14.31 | 22.00 | 17.27 | 20.92 | 16.42 | |
| Hsu and Mo [42] | 22.15 | 17.38 | 24.97 | 19.61 | 23.34 | 18.32 | |
| Moment or Torsion Angle | CM | SFRC | WTSFRC | |||
|---|---|---|---|---|---|---|
| MCR | 2.5° | MCR | 2.5° | MCR | 2.5° | |
| Rectangular cross-section TR (MPa) | 4.36 (0.60) 1 | - - | 4.34 (0.34) 1 | 2.18 (0.59) 1 | 3.96 (0.34) 1 | 1.85 (0.59) 1 |
| Circular cross-section TC (MPa) | 3.62 (0.23) 1 | - - | 3.23 (0.27) 1 | 1.78 (0.39) 1 | 2.93 (0.44) 1 | 1.13 (0.23) 1 |
| Aspect ratio TR/TC | 1.20 | - | 1.34 | 1.22 | 1.35 | 1.64 |
Disclaimer/Publisher’s Note: The statements, opinions and data contained in all publications are solely those of the individual author(s) and contributor(s) and not of MDPI and/or the editor(s). MDPI and/or the editor(s) disclaim responsibility for any injury to people or property resulting from any ideas, methods, instructions or products referred to in the content. |
© 2024 by the authors. Licensee MDPI, Basel, Switzerland. This article is an open access article distributed under the terms and conditions of the Creative Commons Attribution (CC BY) license (https://creativecommons.org/licenses/by/4.0/).
Share and Cite
Sanok, A.; Domski, J.; Kobaka, J.; Logoń, D. Torsional Behavior of Waste Fiber-Reinforced Concrete. Materials 2024, 17, 3269. https://doi.org/10.3390/ma17133269
Sanok A, Domski J, Kobaka J, Logoń D. Torsional Behavior of Waste Fiber-Reinforced Concrete. Materials. 2024; 17(13):3269. https://doi.org/10.3390/ma17133269
Chicago/Turabian StyleSanok, Artur, Jacek Domski, Janusz Kobaka, and Dominik Logoń. 2024. "Torsional Behavior of Waste Fiber-Reinforced Concrete" Materials 17, no. 13: 3269. https://doi.org/10.3390/ma17133269
APA StyleSanok, A., Domski, J., Kobaka, J., & Logoń, D. (2024). Torsional Behavior of Waste Fiber-Reinforced Concrete. Materials, 17(13), 3269. https://doi.org/10.3390/ma17133269

