Effect of Fabrication Parameters on the Performance of 0.5 wt.% Graphene Nanoplates-Reinforced Aluminum Composites
Abstract
1. Introduction
2. Experiments
2.1. Materials
2.2. Fabrication of the 0.5 wt.% GNP/Al Composite Powder
2.3. Orthogonal Test Design of the Fabrication Parameters
2.4. Powder Metallurgy (PM)
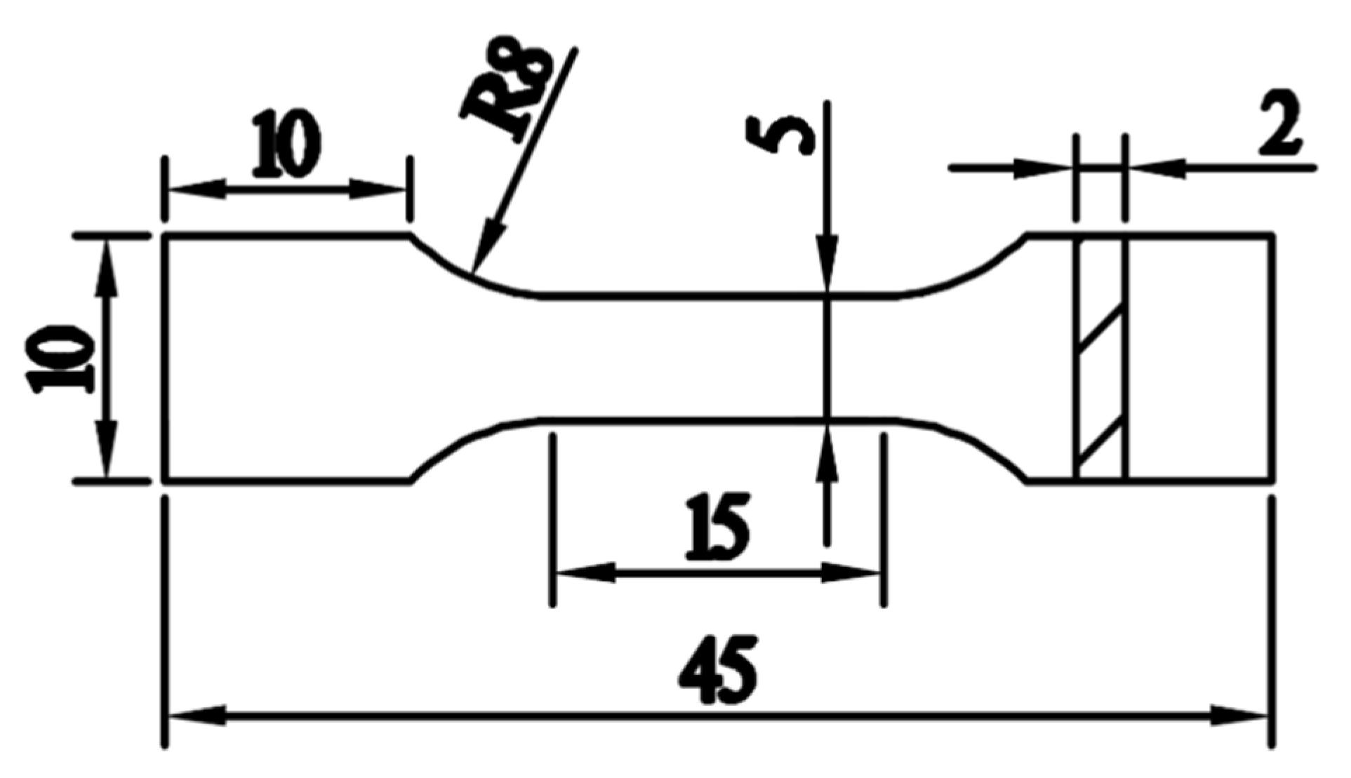
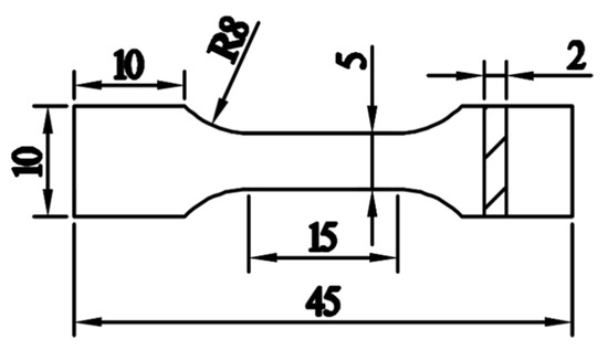
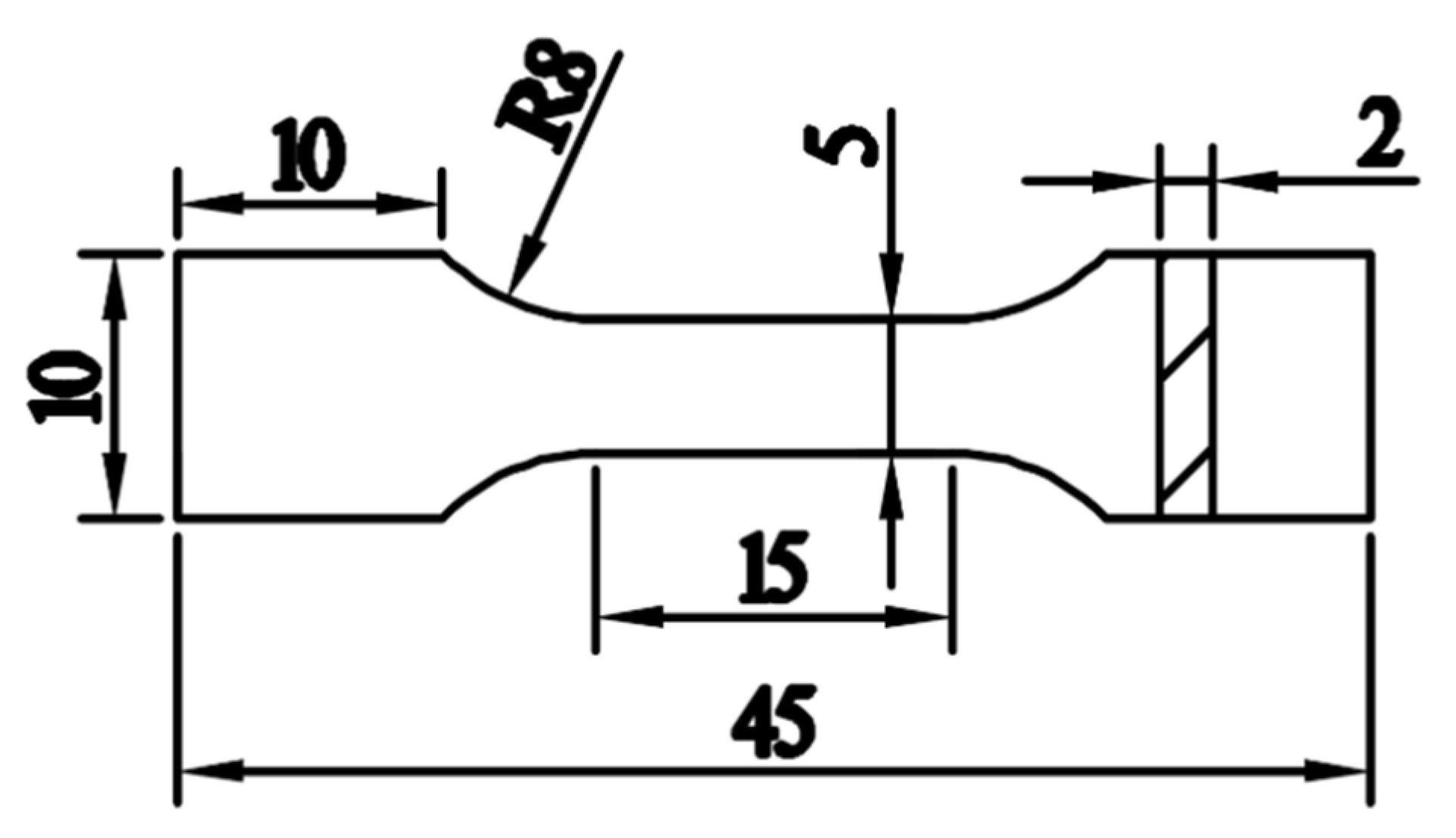
2.5. Mechanical Property Tests and Microstructural Experiments
3. Results and Discussion
3.1. Effect of Ultrasonication Time (X4) on the Dispersion of Graphene
3.2. Effects of Ball Milling Time (X1) and Ball Milling Speed (X2)
3.2.1. Microstructural Morphology of the Composite Powder
3.2.2. Impact on the Structural Integrity of GNPs
3.2.3. Cold-Pressed Composite
3.2.4. Vacuum Hot-Pressed Composite
3.2.5. Mechanical Properties and Fracture Mechanism
3.3. Fracture Mode Analysis
4. Conclusions
- (1)
- The density of 0.5 wt.% GNP/Al prepared by cold pressing + vacuum hot pressing is high, and the interface bonding is perfect. No obvious oxidation phenomenon and Al4C3 were found in the composite. Graphene distributed on the grain boundaries can effectively hinder the growth of the grain during the vacuum hot-pressing sintering and play a role in grain refinements.
- (2)
- Ball milling time, ball milling speed, and ultrasonic time have great influences on the performance of 0.5 wt.% GNP/Al composites.
- (3)
- Adding 0.5% percentage of graphene in weight can obviously increase the strength of the Al matrix. When the ball milling speed was 300 r/min, the ball milling time was 6 h, the B-P ratio was 5:1, the graphene ultrasonic time was 90 min, and the stearic acid content was 1.5%, the graphene nanoplates were uniformly distributed in the Al matrix without being destroyed. The composite had the best comprehensive mechanical properties, with a tensile strength of 156.8 MPa, which is 56.6% higher than that of pure aluminum fabricated by the same process (100.1MPa), while the elongation is 19.9%, which is 39.8% lower than that of pure aluminum (33.1%).
Author Contributions
Funding
Conflicts of Interest
References
- El-Ghazaly, A.; Anis, G.; Salem, H.G. Effect of graphene addition on the mechanical and tribological behavior of nanostructured AA2124 self-lubricating metal matric composite. Compos. Part A Appl. Sci. Manuf. 2017, 95, 325–336. [Google Scholar] [CrossRef]
- Liu, G.L.; Zhao, N.Q.; Shi, C.S.; Liu, E.Z.; He, F.; Ma, L.Y.; Li, Q.Y.; Li, J.J.; He, C.N. In-Situ synthesis of graphene decorated with nickel nanoparticles for fabricating reinforced 6061Al matrix composites. Mater. Sci. Eng. A 2017, 699, 185–193. [Google Scholar] [CrossRef]
- Baradeswaran, A.; Elaya, P.A. Influence of B4C on the tribological and mechanical properties of Al 7075-B4C composites. Compos. Part B Eng. 2013, 54, 146–152. [Google Scholar] [CrossRef]
- Li, J.L.; Xiong, Y.C.; Wang, X.D.; Yan, S.J.; Yang, C.; He, W.W.; Chen, J.Z.; Wang, S.Q.; Zhang, X.Y.; Dai, S.L. Microstructure and tensile properties of bulk nanostructured aluminum/graphene composites prepared via cryomilling. Mater. Sci. Eng. A 2015, 626, 400–405. [Google Scholar] [CrossRef]
- Berman, D.; Erdemir, A.V.; Sumant, A. Graphene: A new emerging lubricant. Mater. Today 2014, 17, 31–42. [Google Scholar] [CrossRef]
- Zhai, W.Z.; Shi, X.L.; Yao, J.; Xu, Z.S.; Zhu, Q.S.; Xiao, Y.C.; Ibrahim, A.M.M.; Chen, L.; Zhang, Q. Investigation of mechanical and tribological behaviors of multilayer graphene reinforced Ni3Al matrix composites. Compos. Part B Eng. 2015, 70, 149–155. [Google Scholar] [CrossRef]
- Zhai, W.Z.; Shi, X.L.; Wang, M.; Wang, M.; Xu, Z.S.; Yao, J.; Song, S.Y.; Wang, Y. Grain refinement: A mechanism for graphene nanoplateles to reduce friction and wear of Ni3Al matrix self-lubricating composites. Wear 2014, 310, 33–40. [Google Scholar] [CrossRef]
- Iacob, G.; Ghica, V.G.; Buzatu, M.; Buzatu, T.; Petrescu, M.I. Studies on wear rate and hardness of the Al/Al2O3/Gr hybrid composites produced via powder metallurgy. Compos. Part B Eng. 2015, 69, 603–611. [Google Scholar] [CrossRef]
- Xu, Z.; Shi, X.; Zhai, W.; Shi, X.L.; Zhai, W.Z.; Yao, J.; Song, S.Y.; Zhang, Q.X. Preparation and tribological properties of TiAl matrix composites reinforced by multi-layer graphene. Carbon 2014, 67, 168–177. [Google Scholar] [CrossRef]
- Fan, Y.; Wang, L.; Li, J.; Li, J.Q.; Sun, S.K.; Chen, F.; Chen, L.; Jiang, W. Preparation and electrical properties of graphene nanoplate/Al2O3 composites. Carbon 2010, 48, 1743–1749. [Google Scholar] [CrossRef]
- Al-Saleh, M.H. Electrical and mechanical properties of graphene/carbon nanotube hybrid nanocomposites. Synth. Metals 2015, 209, 41–46. [Google Scholar] [CrossRef]
- Yun, C.; Feng, Y.; Qiu, T.; Yang, J.; Li, X.Y.; Yu, L. Mechanical, electrical, and thermal properties of graphene nanoplate/aluminum nitride composites. Ceram. Int. 2015, 41, 8643–8649. [Google Scholar] [CrossRef]
- Song, Y.; Yu, J.; Yu, L.; Alam, F.E.; Dai, W.; Li, C.Y.; Jiang, N. Enhancing the thermal electrical and mechanical properties of silicone rubber by addition of graphene nanoplatelets. Mater. Des. 2015, 88, 950–957. [Google Scholar] [CrossRef]
- Shin, S.E.; Choi, H.J.; Shin, J.H.; Bae, D.H. Strengthening behavior of few-layered graphene/aluminum composites. Carbon 2014, 82, 143–151. [Google Scholar] [CrossRef]
- Bustamante, R.P.; Morales, D.B.; Martinez, J.B.; Guel, I.E.; Sanchez, R.M. Microstructural and hardness behavior of graphene-nanoplateles/aluminum composites synthesized by mechanical alloying. J. Alloys Compd. 2014, 615, 5578–5582. [Google Scholar] [CrossRef]
- Yan, S.J.; Dai, S.L.; Zhang, X.Y.; Yang, C.; Hong, Q.H.; Chen, J.Z.; Lin, Z.M. Investigating aluminum alloy reinforced by graphene nanoflakes. Mater. Sci. Eng. A 2014, 612, 440–444. [Google Scholar] [CrossRef]
- Boostani, A.F.; Tahamtan, S.; Jiang, Z.Y.; Wei, D.; Yazdani, S.; Khosroshahi, R.A.; Mousavian, R.T.; Xu, J.; Zhang, X.; Gong, D. Enhanced tensile properties of aluminum matrix composites reinforced with graphene encapsulated SiC nanoparticles. Compos. Part A Appl. Sci. Manuf. 2015, 68, 155–163. [Google Scholar] [CrossRef]
- Shin, S.E.; Bae, D.H. Deformation behavior of aluminum alloy matrix composites reinforced with few-layer graphene. Compos. Part A Appl. Sci. Manuf. 2015, 78, 42–47. [Google Scholar] [CrossRef]
- Rashad, M.; Pan, F.; Hu, H.; Asif, M.; Hussain, S.; She, J. Enhanced tensile properties of magnesium composites reinforced with graphene nanoplatelets. Mater. Sci. Eng. A 2015, 630, 36–44. [Google Scholar] [CrossRef]
- Rashad, M.; Pan, F.; Asif, M.; Tang, A. Powder metallurgy of Mg-1%Al-1%Sn alloy reinforced with low content of graphene nanoplatelets. Ind. Eng. Chem. 2014, 20, 4250–4255. [Google Scholar] [CrossRef]
- Rashad, M.; Pan, F.; Tang, A.; Lu, Y.; Asif, M.; Hussain, S.; She, J.; Gou, J.; Mao, J. Effect of graphene nanoplatelets (GNPs) addition on strength and ductility of magnesium-titanium alloys. J. Magnes. Alloys 2013, 1, 242–248. [Google Scholar] [CrossRef]
- Chen, L.Y.; Konishi, H.; Fehrenbacher, A.; Ma, C.; Xu, J.-Q.; Choi, H.; Xu, H.-F.; Pfefferkorn, F.E.; Li, X.-C. Novel nanoprocessing route for bulk graphene nanoplatelets reinforced metal matrix nano composites. Scripta Mater. 2012, 67, 29–32. [Google Scholar] [CrossRef]
- Bastwros, M.; Kim, G.Y.; Zhu, C.; Zhang, K.; Wang, S.; Tang, X.D.; Wang, X. Effect of ball milling on graphene reinforced Al6061 composite fabricated by semi-solid sintering. Compos. Part B Eng. 2014, 60, 111–118. [Google Scholar] [CrossRef]
- Bakshi, S.R.; Lahiri, D.; Agarwal, A. Carbon nanotube reinforced metal matrix composites—A review. Int. Mater. Rev. 2010, 55, 41–64. [Google Scholar] [CrossRef]
- Saheb, N.; Iqbal, Z.; Khalil, A.; Hakeem, A.S.; Aqeeli, N.A.; Laoui, T.; Al-Qutub, A.; Kirchner, R. Spark plasma sintering of metals and metal matrix nanocomposites: A review. J Nanomater. 2012, 18, 1–13. [Google Scholar] [CrossRef]
- Tjong, S.C. Recent progress in the development and properties of novel metal matrix nanocomposites reinforced with carbon nanotubes and graphene nanoplates. Mater. Sci. Eng. R Rep. 2013, 74, 281–350. [Google Scholar] [CrossRef]
- Guan, R.; Wang, Y.; Zheng, S.; Su, N.; Ji, Z.; Liu, Z.; An, Y.; Chen, B. Fabrication of aluminum matrix composites reinforced with Ni-coated graphene nanoplates. Mater. Sci. Eng. A 2019, 754, 437–446. [Google Scholar] [CrossRef]
- Yang, W.; Zhao, Q.; Xin, L.; Qiao, J.; Zou, J.; Shao, P.; Yu, Z.; Zhang, Q.; Wu, G. Microstructure and mechanical properties of graphene nanoplates reinforced pure Al matrix composites prepared by pressure infiltration method. J Alloys Compd. 2018, 732, 748–758. [Google Scholar] [CrossRef]
- Zou, J. The Preparation and Properties of Graphene Reinforced Pure Aluminum Composites; Harbin Institute of Technology: Harbin, China, 2015. [Google Scholar]
- Zhang, H.; Xu, C.; Xiao, W.; Ameyama, K.; Ma, C. Enhanced mechanical properties of Al5083 alloy with graphene nanoplates prepared by ball milling and hot extrusion. Mat. Sci. Eng. A 2016, 658, 8–15. [Google Scholar] [CrossRef]
- Wang, J.; Guo, L.N.; Lin, W.M.; Chen, J.; Liu, C.L.; Chen, S.D.; Zhang, S.; Zhen, T.T. Ettect of the graphene content on the microstructures and properties of graphene/aluminum composites. New Carbon Mater. 2019, 34, 275–285. [Google Scholar] [CrossRef]
- Ye, J.C.; He, J.H.; Schoenung, J.M. Cryomilling for the fabrication of a particulate B4C reinforced Al nanocomposite: Part, I. Effects of process conditions on structure. Metall. Mater. Trans. A 2006, 37, 3099–3109. [Google Scholar] [CrossRef]
- Xiao, R. Study of fabrication and properties of graphene and graphene-reinforced Al-20Si composites. Master’s Thesis, Harbin Institute of Technology, Harbin, China, 2014. [Google Scholar]
- Lee, C.; Wei, X.; Li, Q.; Carpick, R.; Kysar, J.W.; Hone, J. Elastic and frictional properties of graphene. Phys. Status Solidi B 2009, 246, 2562–2567. [Google Scholar] [CrossRef]
- Zhang, J.; Yang, S.; Chen, Z.; Wu, H.; Zhao, J.; Jiang, Z. Graphene encapsulated SiC nanoparticles as tribology-favoured nanofilles in aluminium composite. Compos. Part B Eng. 2019, 162, 445–453. [Google Scholar] [CrossRef]






















| Numbering | Time (h) | Speed (r/min) | B-P Ratio | Ultrasonicatinnon Time (min) | Stearic Acid Content (%) |
|---|---|---|---|---|---|
| 1 | 2 | 200 | 5:1 | 60 | 1.5 |
| 2 | 2 | 300 | 10:1 | 90 | 3 |
| 3 | 4 | 200 | 5:1 | 90 | 3 |
| 4 | 4 | 300 | 10:1 | 60 | 1.5 |
| 5 | 6 | 200 | 10:1 | 60 | 3 |
| 6 | 6 | 300 | 10:1 | 90 | 1.5 |
| 7 | 8 | 200 | 5:1 | 90 | 1.5 |
| 8 | 8 | 300 | 5:1 | 60 | 3 |
| Level | Factors | ||||
|---|---|---|---|---|---|
| X1 (h) | X2 (r/min) | X3 | X4 (min) | X5 (%) | |
| 1 | 2 | 200 | 5:1 | 60 | 1.5 |
| 2 | 4 | 300 | 10:1 | 90 | 3 |
| 3 | 6 | - | - | - | - |
| 4 | 8 | - | - | - | - |
| Factors | Sum of SDV | Mean Value of SDV | ||||||
|---|---|---|---|---|---|---|---|---|
| Level 1 | Level 2 | Level 3 | Level 4 | Level 1 | Level 2 | Level 3 | Level 4 | |
| X1 | 0.78 | 4.0 | 0.11 | 3.55 | 0.39 | 2.0 | 0.055 | 1.775 |
| X2 | 14.07 | 8.26 | - | - | 3.52 | 2.065 | - | - |
| X3 | 11.61 | 10.70 | - | - | 2.90 | 2.675 | - | - |
| X4 | 8.75 | 13.6 | - | - | 2.19 | 3.40 | - | - |
| X5 | 10.33 | 11.02 | - | - | 2.58 | 2.76 | - | - |
© 2020 by the authors. Licensee MDPI, Basel, Switzerland. This article is an open access article distributed under the terms and conditions of the Creative Commons Attribution (CC BY) license (http://creativecommons.org/licenses/by/4.0/).
Share and Cite
Lou, S.M.; Qu, C.D.; Guo, G.X.; Ran, L.W.; Liu, Y.Q.; Zhang, P.P.; Su, C.J.; Wang, Q.B. Effect of Fabrication Parameters on the Performance of 0.5 wt.% Graphene Nanoplates-Reinforced Aluminum Composites. Materials 2020, 13, 3483. https://doi.org/10.3390/ma13163483
Lou SM, Qu CD, Guo GX, Ran LW, Liu YQ, Zhang PP, Su CJ, Wang QB. Effect of Fabrication Parameters on the Performance of 0.5 wt.% Graphene Nanoplates-Reinforced Aluminum Composites. Materials. 2020; 13(16):3483. https://doi.org/10.3390/ma13163483
Chicago/Turabian StyleLou, Shu Mei, Chuan Dong Qu, Guang Xin Guo, Ling Wei Ran, Yong Qiang Liu, Ping Ping Zhang, Chun Jian Su, and Qing Biao Wang. 2020. "Effect of Fabrication Parameters on the Performance of 0.5 wt.% Graphene Nanoplates-Reinforced Aluminum Composites" Materials 13, no. 16: 3483. https://doi.org/10.3390/ma13163483
APA StyleLou, S. M., Qu, C. D., Guo, G. X., Ran, L. W., Liu, Y. Q., Zhang, P. P., Su, C. J., & Wang, Q. B. (2020). Effect of Fabrication Parameters on the Performance of 0.5 wt.% Graphene Nanoplates-Reinforced Aluminum Composites. Materials, 13(16), 3483. https://doi.org/10.3390/ma13163483
