Next Article in Journal
Study on the Dynamic Characteristics of a Wind Turbine Tower Based on Wind Tunnel Experiments
Next Article in Special Issue
Review of Research on the Present Situation of Development and Resource Potential of Wind and Solar Energy in China
Previous Article in Journal
High Current Density Operation of a Proton Exchange Membrane Fuel Cell with Varying Inlet Relative Humidity—A Modeling Study
Previous Article in Special Issue
Advancing Renewable Energy Forecasting: A Comprehensive Review of Renewable Energy Forecasting Methods
 
 
Font Type:
Arial Georgia Verdana
Font Size:
Aa Aa Aa
Line Spacing:
Column Width:
Background:
Article

Multi-Objective Sensitivity Analysis of a Wind Turbine Equipped with a Pumped Hydro Storage System Using a Reversible Hydraulic Machine

by
Lorenzo Dambrosio
* and
Stefano Pio Manzari
Department of Mechanics, Mathematics and Management (DMMM), Politecnico di Bari, Via Orabona 4, 70125 Bari, Italy
*
Author to whom correspondence should be addressed.
Energies 2024, 17(16), 4078; https://doi.org/10.3390/en17164078
Submission received: 13 June 2024 / Revised: 29 July 2024 / Accepted: 10 August 2024 / Published: 16 August 2024

Abstract

A typical wind system captures wind energy and converts it into electricity, which is then converted to DC for battery storage using an AC/DC converter; an inverter then supplies AC electricity at the grid frequency. However, this solution involves losses in electronic components and incurs costs and environmental impacts associated with battery storage. To address these issues, a different wind system layout configuration is considered, where the energy storage duties are assumed by a hydro storage system employing a reversible hydraulic pump (referred to as a Pump as Turbine). This solution utilises an elevated reservoir connected to the Pump as Turbine to compensate for fluctuations in wind and load; this approach offers lower costs, a longer lifespan, reduced maintenance, and a smaller waste management cost. This study focuses on a comprehensive sensitivity analysis of the new wind system power layout, considering multiple objectives. Specifically, the analysis targets the net change in the mass of water (potential energy) stored in the pumped hydro system, the captured wind energy, and the torque provided in hydraulic turbine mode. On the other hand, the design variables are represented by the Pump as Turbine-specific speed, the hydraulic system gearbox ratio, and the pump head. To assess how solutions are affected by random changes in wind speed and external load, the sensitivity analysis considers the multi-objective optimisation problem showing for both the wind speed and the external load a stochastic contribution.

1. Introduction

The concept of energy transition has gained significant momentum in recent years as reported by numerous authors. Potrč et al. [1] and Erat et al. [2] explore the gradual transition to a renewable energy system in the coming decades, while Griffiths [3], Haas [4], and Zhang [5] offer a political and economic perspective on the energy transition challenge. This increased attention is largely due to the urgent need to reduce greenhouse gas emissions, especially those originating from fossil fuel-powered plants. Muryshev et al. [6] analyse the correlation between changes in global temperature and atmospheric CO2 content and Mohammed et al. [7] study the effects of anthropogenic greenhouse gas emissions. The rising concern about global warming highlights the importance of addressing this issue promptly.
Exploring various renewable energy solutions, wind power emerges as a leading option due to its sustainability and vast deployment potential. The recent growth of wind energy production has been remarkable, leading to significant advancements in wind turbine technology. To name a few, Chen et al. [8] investigate the reliability of offshore wind farms, Sharma et al. [9] propose an open-source CFD model for wind turbines, Hassanpour et al. [10] and Ma et al. [11] suggest optimal design methods for wind farms, and finally Huang et al. [12] investigate the effect of the wind turbine installation on the power characteristics. Moreover, regarding case studies, Li et al. [13] provide an overview of offshore wind turbine installations in China, while Boudounit and Saifaoui [14] propose a wind farm design approach based on the Dakhla Site in Morocco. Finally, Poudyal [15] analyses potential strategies for addressing the energy crisis in Nepal.
Wind turbines capture the wind’s kinetic energy and convert it into electricity driving an AC generator. The generated AC current is then transformed into DC by a converter, suitable for battery storage. An inverter subsequently converts the DC electricity back to AC to supply power to the grid or directly power AC loads. Pan et al. [16] propose a battery/supercapacitor hybrid energy storage, while Reddy et al. [17] study a RBFN controller grid-tied wind energy conversion system.
This configuration facilitates the attainment of nominal frequency tolerances exclusively through solid-state power electronics while also ensuring a degree of power supply continuity by utilising battery storage. However, this conventional approach faces inherent challenges like the energy dissipation in solid-state power components and the costs and environmental concerns surrounding battery storage systems. To address these limitations, this study presents an alternative system configuration that eliminates the battery system or significantly reduces its size. A pumped hydro storage system employing a reversible hydraulic pump (referred to as a Pump as Turbine) is utilised for energy storage. Regarding the PAT model, Marre et al. [18] and Stefanizzi et al. [19] provide experimental studies for performance prediction, while Liu et al. [20] offer a theoretical model. On the other hand, Rossi et al. [21] describe a case study of an aqueduc PAT application. In this system configuration, when the wind energy exceeds the demand, the PAT, in pump mode, stores this excess in the storage reservoir. Conversely, when wind speed is insufficient, the PAT can operate in turbine mode to assist in meeting the wind turbine’s external load. This alternative plant layout offers numerous advantages like decreased installation and operational costs, prolonged PAT lifespan, and diminished waste management expenses. Nevertheless, this alternative plant configuration necessitates a suitable sizing of the reversible hydraulic machine to maximize the wind turbine’s performance under fluctuating wind speeds and external loads.
A comprehensive sensitivity study of a multi-objective analysis applied to a wind farm integrated with hydro storage is presented in this paper. In [22], Fornarelli et al. describe a multi-objective sensitivity analysis of a thermal energy storage system, while in [23] they propose a multi-objective optimal design method for a thermal energy storage system. The optimisation problem seeks to maximise three key objectives:
  • the net change in the mass of water (potential energy) stored by the PAT in the pumped hydro system, ( Δ M );
  • the captured wind energy, ( E T E );
  • the extra torque provided by the PAT in hydraulic turbine mode in order to handle heavier loads ( C P A T ).
However, since wind speed and external electric generator load are inherently random (stochastic), the optimisation results should consider a variety of temporal patterns for both variables. Therefore, in the present study, deterministic time series data for wind speed and external load generated based on Weibull distributions are first used since they provide the best representation of the frequency distribution of both wind speed and load. Akgül et al. [24], Wais [25] and Shin et al. [26] provide alternative statistical methods for the Weibull distribution applied to wind energy using different approaches, while Jahan et al. [27] analyse Weibull and truncated Weibull distribution of wind speed in Bangladesh. Stochastic components are then superimposed on these time series to evaluate their influence on the system’s behaviour. To achieve this goal, a multi-objective optimisation approach is employed not only to the initial specific time trends but also to the perturbed ones.
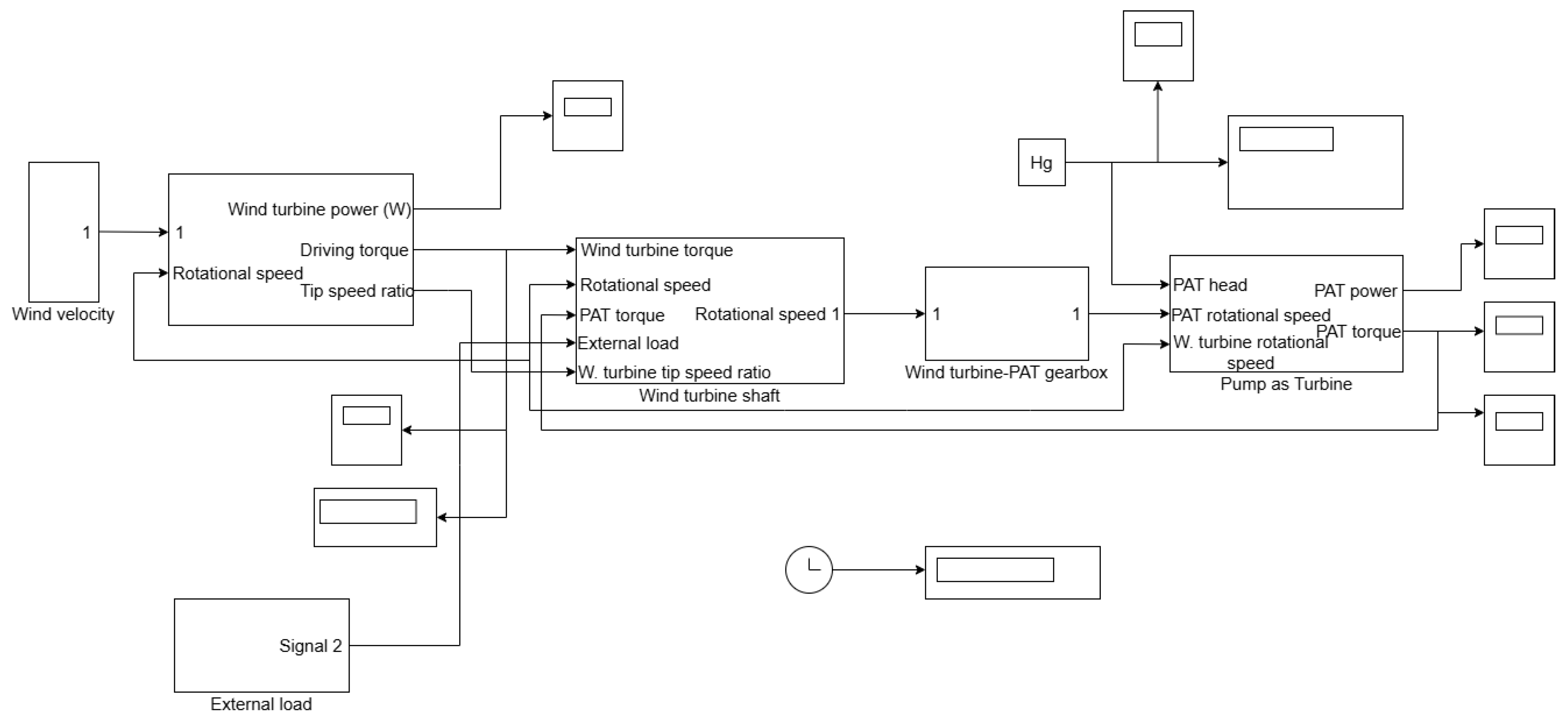
The wind power system dynamics was simulated using the MATLAB/Simulink software suite R2023b, which allowed the construction of a block diagram of the wind turbine connected to the PAT via a constant ratio gearbox as illustrated in Figure 1 and Figure 2. It is noteworthy that the electric generator model was intentionally omitted from the simulated power scheme for simplicity. Nevertheless, the power plant model incorporates a time-varying torque load to represent the electric generator’s demand on the wind turbine shaft. Due to its reversible operational mode, the Pump-As-Turbine (PAT) system was simulated both in hydraulic turbine mode and in centrifugal pump mode.
The forthcoming paragraphs delineate such an analysis scheme, and subsequently, in the Results section, the outcomes of the conducted analyses are presented.

2. Wind System Theoretical Model

A comprehensive model of a wind power system was developed using the MATLAB/Simulink software suite. As depicted in Figure 2, wind speed and wind turbine angular speed serve as inputs to the wind turbine component, which generates a driving torque directed to the shaft block.
The shaft block ensures that the wind turbine system remains in dynamic equilibrium. This is achieved by accounting for the driving torque generated by the wind turbine blades, the resistant torque that represents the load from the electric generator, and the torque originating from the PAT. The generator load torque was modelled with a time-varying trend based on a Weibull distribution to simulate varying user demands, as supported by Akgül et al. [24], Wais [25], and Shin et al. [26].
When the available wind energy exceeds the demand, the PAT, in pump mode, stores this excess (in the form of potential energy) by pumping a specific quantity of water into an elevated reservoir. Instead, if the external load exceeds the maximum torque achievable by the wind turbine, the PAT changes its operation and functions as a hydraulic turbine. Conversely, if the load approaches the maximum power point ( C P m a x ), then the PAT is mechanically decoupled from the turbine. Of course, in order to implement such a PAT management strategy, an algorithm capable of tracking the maximum power point of the wind turbine is required. However, in this work, the algorithm is merely postulated and not implemented, primarily because the main objective of this research is to evaluate which PAT systems exhibit sustained performance in response to perturbations introduced to temporal patterns of the wind velocity and the AC generator torque. However, S. Yan et al. [28,29] developed some interesting works based on the Memory-Event-Triggered Fuzzy control algorithm for maximum power point tracking in wind turbines. Finally, it is worth noting that in the described approach, a constant value of the wind turbine to PAT speed ratio (design variable) is chosen.

2.1. Wind Turbine

A three-bladed horizontal-axis wind turbine (HAWT) is selected for analysis purpose in this study. The Blade Element Method (BEM) to describe the aerodynamic turbine blade element interactions is adopted. This method discretises the flow field into stream-tubes to assess both axial and tangential momentum conservation as detailed in Hidayanti et al. [30] and Laalej et al. [31]. By referencing the airfoil aerodynamic properties, such as lift and drag coefficients, as can be found in Wolfe et al. [32] and Coder et al. [33], the Blade Element Method (BEM) determines thrust and torque forces acting on each infinitesimal blade element ( d r ) at any radial distance (r) [34]:
d T = ρ π r σ 1 a 2 V 0 2 C L c o s ϕ s i n 2 ϕ 1 + C L C D t a n ϕ d r , d Q = ρ π r 2 σ 1 a 2 ( Ω r ) 2 C L s i n ϕ c o s 2 ϕ 1 C D C L 1 t a n ϕ d r
in the context provided, ρ denotes air density, while a, a and ϕ indicate the induced axial and tangential velocity coefficients and inflow angle, respectively. Moreover, A represents the swept area, while A b denotes the total blade area; the solidity ratio σ is given by σ = A b / A . Finally, V 0 denotes the undisturbed wind speed and Ω represents the rotor angular velocity. Thus, from Equations (1), the torque ( Q T ) and power (P) generated by the wind turbine can be expressed as follows [34]:
Q T = R m i n R m a x d Q , P = Ω Q T
where R m i n e R m a x are the minimum and maximum blade radius values, respectively. Using Equation (2), the power coefficient [34], C P , of the wind turbine can be determined in the following manner:
C p = P 1 2 ρ A P 0 3
The following are the main data of the wind turbine used in this study: diameter D = 20 m, moment of inertia I = 2000 kg m 2 , and maximum tip speed ratio (defined as λ = Ω r / V 0 ) λ = 8 . Figure 3 shows the power coefficient, C P , versus tip speed ratio, λ , based on BEM theory.

2.2. Pump as Turbine

The Pump as Turbine is a centrifugal pump capable of operating as a hydraulic turbine by reversing the direction of rotation of the impeller and consequently the fluid flow direction. Reversible centrifugal pumps, called Pump as Turbine, offer a unique advantage. By simply reversing the impeller’s rotation, they can be converted into hydraulic turbines, changing the direction of fluid flow. The adoption of PATs offers lower costs and reduced maintenance requirements compared to typical hydraulic turbines. However, their implementation, especially in turbine mode, is made more difficult due to the lack of data of PAT manufactures. As previously observed, Marre et al. [18] and Stefanizzi et al. [19] provide an experimental-based predictive performance analysis, while Liu et al. [20] offer a theoretical one. Furthermore, Liu et al. [35] and Stefanizzi et al. [36] propose two different optimal design approaches for PAT in more recent works for specific applications. One of the simplest methods to predict the performance of such hydraulic machinery when used as hydraulic turbines, also considered in this study, utilises flow rate Q p , efficiency η p , and head H p as a key parameters at the Best Efficiency Point (BEP) of the reversible centrifugal pump (pump mode) and then calculating the corresponding parameters when operating as a hydraulic turbine. Several studies report semi-empirical correlations capable of approximating these associations. Conversely, other studies have proposed alternative relationships based on the pump specific speed as can be found in Binama et al. [37] and in Bogdanović et al. [38].
This work adopts the approach described in Rossi et al. [39] to evaluate the operational characteristics of the reversible hydraulic machine in turbine mode through empirical formulas, applicable not only at the maximum efficiency point (BEP), but also for various operating conditions. This procedure requires as the initial step to select the design working point (BEP) of the PAT operating as a pump. Moreover, to determine the hydraulic turbine(PAT) curve, it is essential to have data regarding the corresponding centrifugal pump characteristic map. Fortunately, this requirement is often met since the pump manufacturers typically include this data. In this specific study, a generic centrifugal pump map is considered. This allows the derivation of the operating maps of any pump simply by scaling the values of the design flow rate, the design head, the efficiency and speed value curves according to their corresponding BEP values. This approach facilitates the execution of a multi-objective sensitivity analysis for four different centrifugal pump families, each characterised by distinct specific speeds.
The operational maps of the reversible hydraulic machine (modeled in Matlab-Simulink) are presented in Figure 4 for the pump and the turbine mode, respectively. The four examined PAT families are listed in Table 1.

3. Multi-Objective Optimisation

Numerous authors have discussed the theoretical framework of multi-objective optimisation analysis and the concept of Pareto optimality (non-dominated solutions) as reported by Periaux et al. [40] and Caramia et al. [41]. Single-objective optimisation involves finding the absolute minimum or maximum value of a function with one or more variables. This function represents the single objective that needs to be optimised. In this case, there is a clear best solution that optimises the single objective. On the other hand, multi-objective optimisation deals with problems where there are multiple, often conflicting, objectives to be optimized simultaneously. These objectives are represented by a mathematical function with multiple variables. Since achieving the best outcome for all objectives simultaneously is often impossible, the goal is to detect the Pareto front, which represents the set of non-dominated solutions. These solutions represent the best trade-offs between the different objectives.
Considering X = [ X 1 , X 2 , , X N ] as the vector of design variables and Y = [ Y 1 , Y 2 , , Y M ] as the vector of corresponding output performance variables, we let X 1 and X 2 be two distinct design variable vectors with corresponding objective function vectors Y 1 and Y 2 . For simplicity, let us consider the case where all independent objective functions must be maximised [42]. It follows that if
i 1 , , M Y i 1 > Y i 2
the design vector X 2 is identified as dominated by X 1 . Conversely, if
i 1 , , M Y i 1 < Y i 2
then the solution X 2 is labelled as non-dominated by X 1 . Finally, if
i , j 1 , , M i j Y i 1 < Y i 2 , Y j 1 > Y j 2
the two solutions do not dominate each other. Equations (4) and (5) enable the identification of non-dominated solutions by those dominated, while Equation (6) concerns the dominance relation between two non-dominated solutions. Employing Equations (4)–(6), dominance for all the solutions under consideration can be assessed, and therefore it is possible to determine a first approximation of the Pareto front. It represents the set of optimal, non-dominated solutions, i.e., those solutions for which there is no solution that is simultaneously better for all the objectives considered. However, there are more efficient strategies rather than an exhaustive evaluation of dominance relations (Equations (4)–(6)) across all conceivable design variable values which allow to identify the Pareto front. One of the most established and effective methods is Design of Experiments (Doe). It facilitates the determination of output performances Y i by systematically varying the independent input variables ( X i ) following a predetermined scheme, like a Cartesian grid approach as adopted by Dambrosio et al. [43] and Dambrosio et al. [44].
However, applying dominance checks (Equation (4)) only to DoE points within the design variable space provides an initial estimate of the Pareto frontier. To achieve a more accurate representation of the Pareto front, a multi-objective optimisation approach is required. This process is focused on finding, within the design variable domain, the directions that lead to improvements in performance variables based on the specific optimisation problem, as in the methodology proposed by Dambrosio et al. [23]. Nevertheless, since wind speed and external electric load are inherently random (stochastic), the optimisation results should account for various temporal patterns in both variables. Therefore, this investigation first considers fixed temporal patterns for both the stochastic variables (illustrated in Figure 5), as previously implemented by Dambrosio, but limited to four PATs [45]. Based on these reference profiles, random perturbations of 10 % with respect to the baseline value, characterised by a pseudo-random number with normal distribution, are added to simulate realistic operating conditions. It is important to emphasise that a single perturbation of the wind velocity and external load is not sufficient to adequately represent the complexity of the operating conditions. For this reason, three distinct variations for both variables are examined, appropriately compared with the initial reference cases. The temporal variations of reference wind speed and external load, along with their perturbed counterparts, are graphically illustrated in Figure 5, Figure 6, Figure 7 and Figure 8. The reference profiles are represented by purple lines, while the newly generated profiles are shown in blue.

4. Results

This paragraph summarises the key findings from a multi-objective approach aimed at evaluating the robustness of the Pareto front for a wind power unit incorporating a pumped hydro storage system with a PAT system (depicted in Figure 1 and Figure 2). This analysis, conducted using the MATLAB/Simulink software suite, aimed to maximise three wind system performances: the net change in the mass of water (potential energy) stored in the pumped hydro system, the captured wind energy, and the extra torque provided by the PAT in hydraulic turbine mode. However, the main objective of this research was to evaluate which PAT systems exhibit sustained performance in response to perturbations introduced to temporal patterns of the wind velocity and the AC generator torque that can be considered as stochastic variables. In the current study, the design variables considered during the analysis were the pump (PAT)-specific speed (PAT geometry), the wind turbine to PAT speed ratio τ , and the reversible hydraulic machine head. Although the electric generator is not included in the MATLAB/Simulink model, a representative torque load was implemented to simulate the wind system’s behaviour. Furthermore, concerning the time history profiles for both the stochastic variables (the wind velocity and the AC generator torque), the current study initially considered reference time trends, illustrated in Figure 5. Then, based on these reference profiles, random perturbations were added to simulate realistic operating conditions. For this reason, three distinct variations (illustrated in Figure 6, Figure 7 and Figure 8) for both variables were examined. The present discussion is inspired by a previous work of Dambrosio [45] concerning the performance analysis of the wind power plant, but limited to four PATs. The present analysis considered twenty PATs organized into four families, each consisting of five elements; each PAT family is characterised by a given specific speed value. The design conditions for these twenty systems are provided in Table 2 below.
An individual analysis of each PAT system was conducted to determine the design variable values that correspond to the non-dominated solutions on the Pareto front (Equations (4)–(6)). This approach enabled the identification of the best approximating Pareto front among the analysed PATs. This was accomplished employing a BOTTOM-UP approach, from a singular study of each PAT to a global analysis among all PAT families. Below, for brevity, only the results pertaining to the overall dominance study across the four PAT families are presented.
From Figure 9, Figure 10, Figure 11 and Figure 12, it can be noted that PAT Family 2 is completely dominated, while a significant number of non-dominated solutions belongs to Family 3 (yellow dots). In other words, considering the reference wind speed and external load time history (Figure 5), the most performing PAT family is the third one. These results suggest focusing further investigation only on Family 3 elements; specifically, the additional analysis aimed to evaluate the PAT performances as the wind speed and external load profiles assume the trends shown in Figure 6, Figure 7 and Figure 8.
Then, the dominance studies were performed for each PAT and globally for the entire third family. For the sake of brevity, only the comparison between the best design solutions of the third PAT family obtained in the four study cases (reference profiles Figure 5 and perturbed profiles Figure 6, Figure 7 and Figure 8) was reported. Finally, following further dominance analysis, the new Pareto front obtained (pink dots) is reported in Figure 13, Figure 14, Figure 15 and Figure 16.
From the dominance analysis, it can be seen that the new Pareto front is primarily composed of operating conditions obtained following the implementation of the first and second perturbations of the wind velocity and the AC generator torque signals into the model.
In the following, the results of the variations experienced by the third PAT family non-dominated solutions related to the reference profiles of the wind speed and external load are presented. The dominance analysis also highlights situations where a solution initially appears non-dominated after a particular perturbation. However, if another perturbation is applied, this solution might become dominated. In such cases, it is important to determine the extent of deviation the solution underwent in the performance domain. This allows understanding of how a specific hydraulic machine reacts to the perturbations taken into consideration. It is quite important to identify the best solutions, i.e., those design conditions that remain non-dominated even when subjected to perturbations in wind speed and external load. Table 3 summarises these best solutions. The left part identifies the design conditions, the central part shows the absolute deviations from the closest non-dominated condition (in the performance domain); the performance of two operating conditions is compared by calculating the distance (norm) between them in the space defined by the relevant performance parameters ( Δ M ; E T E ; C P A T ). The right-hand side of Table 3 displays the percentage differences in results compared to those obtained using the reference wind velocity and AC generator torque profiles (Figure 5).
The operational stability is highlighted by the smallest relative deviations that a particular PAT undergoes in the performance space relative to the reference signals case. Specifically, ten PATs emerge that continue to be particularly performing, as reported in Figure 17.
Two operating conditions for PAT3.3 exhibit zero deviation from the best design solutions identified in the four considered cases. This is due to the fact that these operating conditions belong simultaneously to the Pareto fronts obtained for all the analysed perturbations.

5. Conclusions

This research introduces a novel wind system scheme that eliminates or significantly reduces the need for battery storage by introducing a new storage system. The proposed design incorporates a reversible hydraulic machine, known as a Pump as Turbine (PAT). The PAT can operate as either a pump or a turbine by simply reversing the impeller’s rotation, enabling bidirectional fluid flow. In this plant scheme, when the wind energy exceeds the demand, the PAT, in pump mode, stores this excess (in the form of potential energy) by pumping a specific quantity of water into an elevated reservoir. However, in cases of insufficient wind speed, the PAT, operating as a turbine, contributes to overcoming the wind turbine external load. This alternative plant configuration offers numerous advantages including lower installation and operational costs, a longer lifespan for the energy storage system, and diminished waste management expenses.
This research analyses four PAT families, each comprising five PAT configurations, for a total of twenty PATs. The primary objective is to assess the robustness of the Pareto front for a wind power system integrating a pumped hydro storage system equipped with a PAT using a multi-objective approach. This analysis, conducted using MATLAB/Simulink, focuses on maximising three key performance metrics of the wind system: net water mass change in the pumped hydro storage, captured wind energy, and torque output from the PAT in turbine mode. On the other hand, the design variables considered for this analysis include PAT-specific speed (determining PAT geometry), the wind turbine to PAT speed ratio, and the reversible hydraulic machine head. The main objective of this research is to evaluate the impact of stochastic variations in wind velocity and AC generator torque on the performance of non-dominated PAT solutions, identifying those that exhibit robust performance under these conditions. This latter aspect of the analysis focuses on the third PAT family, identified as the top performer, and therefore, this family is the primary subject of this study.
The analyses conducted yield promising results, demonstrating that certain PAT configurations excel at handling perturbations in wind speed and external load, thereby enhancing operational stability. The ten best-performing PAT configurations are identified. Finally, it is reasonable to assume that these ten PATs remain viable candidates, even when subjected to various perturbations in external load and wind speed profiles. This assertion is supported by their consistently strong performance across four different case studies.
Regarding future developments, the first development concerns of the electrical generator model into the Simulink model of the wind system. Additionally, the installation and operating costs could be included in the set of variables to be optimised in order to compare this type of plant with those equipped with battery storage systems. A further deepening of the sensitivity analysis requires considering the wind speed and the AC electric generator external load as stochastic processes based on a Weibull frequency distribution. Finally, as mentioned previously, to ensure greater realism, a control system can be introduced to achieve the wind turbine maximum power point tracking.

Author Contributions

The contributions of the present research are divided as follows: conceptualization, L.D.; methodology, L.D. and S.P.M. software, S.P.M. validation, L.D. and S.P.M. formal analysis, L.D. and S.P.M. investigation, L.D. and S.P.M. resources, L.D. and S.P.M. data curation, S.P.M. writing—original draft preparation, S.P.M. writing—review and editing, L.D.; visualization, L.D. and S.P.M. supervision, L.D.; project administration, L.D. All authors have read and agreed to the published version of the manuscript.

Funding

This work was supported by the Italian Ministry of University and Research under the Programme “Department of Excellence” Legge 232/2016 (Grant No. CUP-D93C23000100001).

Data Availability Statement

No new data were created in this research.

Conflicts of Interest

The authors declare no conflict of interest.

References

  1. Potrč, S.; Čuček, L.; Martin, M.; Kravanja, Z. Sustainable renewable energy supply networks optimization–The gradual transition to a renewable energy system within the European Union by 2050. Renew. Sustain. Energy Rev. 2021, 146, 111186. [Google Scholar] [CrossRef]
  2. Erat, S.; Telli, A.; Ozkendir, O.M.; Demir, B. Turkey’s energy transition from fossil-based to renewable up to 2030: Milestones, challenges and opportunities. Clean Technol. Environ. Policy 2021, 23, 401–412. [Google Scholar] [CrossRef]
  3. Griffiths, S. Energy diplomacy in a time of energy transition. Energy Strategy Rev. 2019, 26, 100386. [Google Scholar] [CrossRef]
  4. Haas, T. Struggles in European Union energy politics: A gramscian perspective on power in energy transitions. Energy Res. Soc. Sci. 2019, 48, 66–74. [Google Scholar] [CrossRef]
  5. Zhang, F. The Energy Transition of the Transition Economies: An Empirical Analysis—The energy transition of the transition economies: An empirical analysis. Energy Econ. 2013, 40, 679–686. [Google Scholar] [CrossRef]
  6. Muryshev, K.; Eliseev, A.; Denisov, S.; Mokhov, I.; Arzhanov, M.; Timazhev, A. Phase shift between changes in global temperature and atmospheric CO2 content under external emissions of greenhouse gases into the atmosphere. Izv. Atmos. Ocean. Phys. 2019, 55, 235–241. [Google Scholar] [CrossRef]
  7. Mohammed, Y.; Mokhtar, A.; Bashir, N.; Abdullahi, U.; Kaku, S.; Umar, U. A synopsis on the effects of anthropogenic greenhouse gases emissions from power generation and energy consumption. Int. J. Sci. Res. Publ. 2012, 2, 1–6. [Google Scholar]
  8. Chen, B.Q.; Liu, K.; Yu, T.; Li, R. Enhancing Reliability in Floating Offshore Wind Turbines through Digital Twin Technology: A Comprehensive Review. Energies 2024, 17, 1964. [Google Scholar] [CrossRef]
  9. Sharma, A.; Brazell, M.J.; Vijayakumar, G.; Ananthan, S.; Cheung, L.; deVelder, N.; Henry de Frahan, M.T.; Matula, N.; Mullowney, P.; Rood, J.; et al. ExaWind: Open-source CFD for hybrid-RANS/LES geometry-resolved wind turbine simulations in atmospheric flows. Wind Energy 2024, 27, 225–257. [Google Scholar] [CrossRef]
  10. Hassanpour, M.; Azadani, L.N. Aerodynamic optimization of the configuration of a pair of vertical axis wind turbines. Energy Convers. Manag. 2021, 238, 114069. [Google Scholar] [CrossRef]
  11. Ma, Y.; Zhang, A.; Yang, L.; Hu, C.; Bai, Y. Investigation on Optimization Design of Offshore Wind Turbine Blades based on Particle Swarm Optimization. Energies 2019, 12, 1972. [Google Scholar] [CrossRef]
  12. Huang, C.; Yan, J.; Zhang, D.; Zhong, Y. Analysis of the effect of slope on the power characteristics of wind turbines in hillside terrain. Energy Rep. 2022, 8, 352–361. [Google Scholar] [CrossRef]
  13. Li, C.; Singh, H.; Cheng, P.; Wang, X.; Hao, G.; Liu, Q. Offshore Wind Turbine in China: Overview, Research Trends, and Challenges. In Proceedings of the Offshore Technology Conference, Houston, TX, USA, 1–4 May 2023. [Google Scholar] [CrossRef]
  14. Boudounit, H.; Saifaoui, D. Wind Farm Design Approach: Feasibility and Optimization Study—Case of the Dakhla Site in Morocco. J. Appl. Sci. Environ. Stud. 2020, 3, 26–36. [Google Scholar] [CrossRef]
  15. Poudyal, R. Renewable Energy and Other Strategies for Mitigating the Energy Crisis in Nepal. 2021. Available online: https://cronfa.swan.ac.uk/Record/cronfa58990/Download/58990__21865__2ebafe7411b44baeb666f847a0801f82.pdf (accessed on 1 March 2024).
  16. Pan, T.L.; Wan, H.S.; Ji, Z.C. Stand-alone wind power system with battery/supercapacitor hybrid energy storage. Int. J. Sustain. Eng. 2014, 7, 103–110. [Google Scholar] [CrossRef]
  17. Reddy, D.; Ramasamy, S. Design of RBFN controller based boost type Vienna rectifier for grid-tied wind energy conversion system. IEEE Access 2018, 6, 3167–3175. [Google Scholar] [CrossRef]
  18. Marre, M.L.; Mandin, P.; Lanoisellé, J.L.; Bezuglov, R. Experimental study on performance predictions of pumps as turbine. Energy Convers. Manag. 2023, 292, 117235. [Google Scholar] [CrossRef]
  19. Stefanizzi, M.; Torresi, M.; Fortunato, B.; Camporeale, S.M. Experimental investigation and performance prediction modeling of a single stage centrifugal pump operating as turbine. Energy Procedia 2017, 126, 589–596. [Google Scholar] [CrossRef]
  20. Liu, M.; Tan, L.; Cao, S. Theoretical model of energy performance prediction and BEP determination for centrifugal pump as turbine. Energy 2019, 172, 712–732. [Google Scholar] [CrossRef]
  21. Rossi, M.; Righetti, M.; Renzi, M. Pump-as-turbine for Energy Recovery Applications: The Case Study of An Aqueduct. Energy Procedia 2016, 101, 1207–1214. [Google Scholar] [CrossRef]
  22. Fornarelli, F.; Dambrosio, L. Multi-objective sensitivity analysis of shell-and-tube LHTES performance. E3S Web Conf. 2021, 312, 01006. [Google Scholar] [CrossRef]
  23. Fornarelli, F.; Dambrosio, L.; Camporeale, S.M.; Terlizzi, L. Novel Multi-Objective Optimal Design of a Shell-and-Tube Latent Heat Thermal Energy Storage Device. Energies 2023, 16, 1882. [Google Scholar] [CrossRef]
  24. Akgül, F.G.; şenoǧlu, B.; Arslan, T. An alternative distribution to Weibull for modeling the wind speed data: Inverse Weibull distribution. Energy Convers. Manag. 2016, 114, 234–240. [Google Scholar] [CrossRef]
  25. Wais, P. Two and three-parameter Weibull distribution in available wind power analysis. Renew. Energy 2017, 103, 15–29. [Google Scholar] [CrossRef]
  26. Shin, J.Y.; Jeong, C.; Heo, J.H. A Novel Statistical Method to Temporally Downscale Wind Speed Weibull Distribution Using Scaling Property. Energies 2018, 11, 633. [Google Scholar] [CrossRef]
  27. Jahan, S.; Masseran, N.; Zin, W.Z.W. Wind Speed Analysis Using Weibull and Lower Upper Truncated Weibull Distribution in Bangladesh. Energy Rep. 2023, 11, 5456–5465. [Google Scholar] [CrossRef]
  28. Yan, S.; Gu, Z.; Park, J.H.; Xie, X. Adaptive Memory-Event-Triggered Static Output Control of T–S Fuzzy Wind Turbine Systems. IEEE Trans. Fuzzy Syst. 2022, 30, 3894–3904. [Google Scholar] [CrossRef]
  29. Yan, S.; Gu, Z.; Park, J.H.; Xie, X. Sampled Memory-Event-Triggered Fuzzy Load Frequency Control for Wind Power Systems Subject to Outliers and Transmission Delays. IEEE Trans. Cybern. 2023, 53, 4043–4053. [Google Scholar] [CrossRef]
  30. Hidayanti, F.; Sudrajat, A.; Ariyanto, J. Horizontal axis wind turbine: A review. EurAsian J. Biosci. 2020, 14, 6283. [Google Scholar]
  31. Laalej, S.; Bouatem, A.; AlMers, A.; El Maani, R. Wind turbine performances prediction using BEM approach with Jonkman-Buhl brake state model coupled to CFD method. Mater. Today Proc. 2022, 65, 3829–3838. [Google Scholar] [CrossRef]
  32. Wolfe, W.; Ochs, S.; Wolfe, W.; Ochs, S. CFD calculations of S809 aerodynamic characteristics. In Proceedings of the 35th Aerospace Sciences Meeting and Exhibit, Reno, NV, USA, 6–9 January 1997; p. 973. [Google Scholar]
  33. Coder, J.G.; Maughmer, M.D. Comparisons of theoretical methods for predicting airfoil aerodynamic characteristics. J. Aircr. 2014, 51, 183–191. [Google Scholar] [CrossRef]
  34. Augusto, G.; Chen, W.; Lim, L. Evaluation of LM 43.8P blade performance at different hub height wind speeds using blade element momentum theory. IOP Conf. Ser. Earth Environ. Sci. 2024, 1372, 012004. [Google Scholar] [CrossRef]
  35. Liu, M.; Tan, L.; Cao, S. Performance prediction and geometry optimization for application of pump as turbine: A review. Front. Energy Res. 2022, 9, 818118. [Google Scholar] [CrossRef]
  36. Stefanizzi, M.; Filannino, D.; Capurso, T.; Camporeale, S.; Torresi, M. Optimal hydraulic energy harvesting strategy for PaT installation in Water Distribution Networks. Appl. Energy 2023, 344, 121246. [Google Scholar] [CrossRef]
  37. Binama, M.; Su, W.T.; Li, X.B.; Li, F.C.; Wei, X.Z.; An, S. Investigation on pump as turbine (PAT) technical aspects for micro hydropower schemes: A state-of-the-art review. Renew. Sustain. Energy Rev. 2017, 79, 148–179. [Google Scholar] [CrossRef]
  38. Bogdanović-Jovanović, J.B.; Milenković, D.R.; Svrkota, D.M.; Bogdanović, B.; Spasić, Ž.T. Pumps used as turbines power recovery, energy efficiency, CFD analysis. Therm. Sci. 2014, 18, 1029–1040. [Google Scholar] [CrossRef]
  39. Rossi, M.; Nigro, A.; Renzi, M. Experimental and numerical assessment of a methodology for performance prediction of Pumps-as-Turbines (PaTs) operating in off-design conditions. Appl. Energy 2019, 248, 555–566. [Google Scholar] [CrossRef]
  40. Periaux, J.; Gonzalez, F.; Lee, D.S. Evolutionary Optimization and Game Strategies for Advanced Multi-Disciplinary Design—Evolutionary Optimization and Game Strategies for Advanced Multi-Disciplinary Design; Springer Dordrecht, Netherlands 2015. Available online: http://link.springer.com/10.1007/978-94-017-9520-3 (accessed on 1 February 2024).
  41. Caramia, M.; Dell’Olmo, P. Multi-Objective Management in Freight Logistics; Springer: Cham, Switzerland, 2008. [Google Scholar]
  42. Liefooghe, A.; Jourdan, L.; Talbi, E.G. A Unified Model for Evolutionary Multiobjective Optimization and its Implementation in a General Purpose Software Framework: ParadisEO-MOEO. In Proceedings of the 2009 IEEE Symposium on Computational Intelligence in Multi-Criteria Decision-Making (MCDM), Nashville, TN, USA, 30 March–2 April 2009. [Google Scholar]
  43. Dambrosio, L.; Fortunato, B.; Torresi, M.; Mario Camporeale, S.; Fornarelli, F. Performance optimization of a gas-steam combined power plant partially fed with syngas derived from pomace. Energy Procedia 2017, 126, 533–540. [Google Scholar] [CrossRef]
  44. Dambrosio, L.; Micera, R.; Fortunato, B.; Torresi, M. Multi-Objective Optimization of a Combined Power Plant Fueled by Syngas Produced in a Downdraft Gasifier. Energy Procedia 2018, 148, 1050–1057. [Google Scholar] [CrossRef]
  45. Dambrosio, L. Multi-obective performance analysis of a wind power plant equipped with a PAT system. J. Phys. Conf. Ser. 2023, 2648, 012024. [Google Scholar] [CrossRef]
Figure 1. Conceptual design of the wind farm under investigation.
Figure 1. Conceptual design of the wind farm under investigation.
Energies 17 04078 g001
Figure 2. Comprehensive layout of a wind power system implemented in Matlab-Simulink.
Figure 2. Comprehensive layout of a wind power system implemented in Matlab-Simulink.
Energies 17 04078 g002
Figure 3. Power coefficient map of the wind turbine.
Figure 3. Power coefficient map of the wind turbine.
Energies 17 04078 g003
Figure 4. Operational maps of the reversible hydraulic machine in pump and in turbine mode (PAT1).
Figure 4. Operational maps of the reversible hydraulic machine in pump and in turbine mode (PAT1).
Energies 17 04078 g004
Figure 5. Reference wind speed and external load temporal profiles.
Figure 5. Reference wind speed and external load temporal profiles.
Energies 17 04078 g005
Figure 6. Wind speed and external load temporal profiles, 1st variation.
Figure 6. Wind speed and external load temporal profiles, 1st variation.
Energies 17 04078 g006
Figure 7. Wind speed and external load temporal profiles, 2nd variation.
Figure 7. Wind speed and external load temporal profiles, 2nd variation.
Energies 17 04078 g007
Figure 8. Wind speed and external load temporal profiles, 3rd variation.
Figure 8. Wind speed and external load temporal profiles, 3rd variation.
Energies 17 04078 g008
Figure 9. Non-dominated solutions obtained from the global sensitivity analysis between the four PAT families (design variables domain).
Figure 9. Non-dominated solutions obtained from the global sensitivity analysis between the four PAT families (design variables domain).
Energies 17 04078 g009
Figure 10. Global non-dominated solutions (delivered mass of H2O vs. wind-extracted energy domain).
Figure 10. Global non-dominated solutions (delivered mass of H2O vs. wind-extracted energy domain).
Energies 17 04078 g010
Figure 11. Global non-dominated solutions (wind-extracted energy vs. PAT torque domain).
Figure 11. Global non-dominated solutions (wind-extracted energy vs. PAT torque domain).
Energies 17 04078 g011
Figure 12. Global non-dominated solutions (delivered mass of H2O vs. PAT torque domain).
Figure 12. Global non-dominated solutions (delivered mass of H2O vs. PAT torque domain).
Energies 17 04078 g012
Figure 13. Non-dominated solutions obtained from the third PAT family sensitivity analysis (design variables domain).
Figure 13. Non-dominated solutions obtained from the third PAT family sensitivity analysis (design variables domain).
Energies 17 04078 g013
Figure 14. Third PAT family non-dominated solutions (delivered mass of H2O vs. wind-extracted energy domain).
Figure 14. Third PAT family non-dominated solutions (delivered mass of H2O vs. wind-extracted energy domain).
Energies 17 04078 g014
Figure 15. Third PAT family non-dominated solutions (wind-extracted energy vs. PAT torque domain).
Figure 15. Third PAT family non-dominated solutions (wind-extracted energy vs. PAT torque domain).
Energies 17 04078 g015
Figure 16. Third PAT family non-dominated solutions (delivered mass of H2O vs. PAT torque domain).
Figure 16. Third PAT family non-dominated solutions (delivered mass of H2O vs. PAT torque domain).
Energies 17 04078 g016
Figure 17. The top ten most performant PAT operating conditions.
Figure 17. The top ten most performant PAT operating conditions.
Energies 17 04078 g017
Table 1. PAT families investigated for multi-objective sensitivity analysis.
Table 1. PAT families investigated for multi-objective sensitivity analysis.
PAT 1 PAT 2 PAT 3 PAT 4
Specific Speed n s [RPM] 24.725 22.23 23.79 21.43
BEP Speed n B E P [RPM]750750750750
BEP Head H B E P [m]18142016
BEP Flow rate Q B E P [ m 3 / s ] 0.083 0.0463 0.09 0.0523
BEP Max efficiency η B E P 0.9 0.9 0.9 0.9
Table 2. All the PAT characteristics investigated for the multi-objective sensitivity analysis.
Table 2. All the PAT characteristics investigated for the multi-objective sensitivity analysis.
n s [ R P M ] = 24.725 PAT 1 PAT 1.1 PAT 1.2 PAT 1.3 PAT 1.4
BEP flow rate Q B E P [ m 3 / s ] 0.083 0.0803 0.078 0.12 0.0522
BEP Head H B E P [ m ] 1820152015
BEP Speed n B E P [ RPM ] 750825675675825
BEP max efficiency η B E P 0.9 0.9 0.9 0.9 0.9
n s [ R P M ] = 22.298 PAT 2 PAT 2 . 1 PAT 2 . 2 PAT 2 . 3 PAT 2 . 4
BEP flow rate Q B E P [ m 3 / s ] 0.0463 0.0512 0.0398 0.0765 0.0267
BEP Head H B E P [ m ] 1417111711
BEP Speed n B E P [ RPM ] 750825675675825
BEP max efficiency η B E P 0.9 0.9 0.9 0.9 0.9
n s [ R P M ] = 23.7909 PAT 3 PAT 3 . 1 PAT 3 . 2 PAT 3 . 3 PAT 3 . 4
BEP flow rate Q B E P [ m 3 / s ] 0.09 0.0858 0.0871 0.1282 0.0583
BEP Head H B E P [ m ] 2022172217
BEP Speed n B E P [ RPM ] 750825675675825
BEP max efficiency η B E P 0.9 0.9 0.9 0.9 0.9
n s [ R P M ] = 21.4308 PAT 4 PAT 4 . 1 PAT 4 . 2 PAT 4 . 3 PAT 4 . 4
BEP flow rate Q B E P [ m 3 / s ] 0.0523 0.0559 0.00472 0.035 0.0316
BEP Head H B E P [ m ] 1619131913
BEP Speed n B E P [ RPM ] 750825675675825
BEP max efficiency η B E P 0.9 0.9 0.9 0.9 0.9
Table 3. Deviation of the optimal design solutions, in the performance space, due to the external load and wind speed perturbations.
Table 3. Deviation of the optimal design solutions, in the performance space, due to the external load and wind speed perturbations.
DESIGN CONDITIONSABSOLUTE DEVIATIONSRELATIVE DEVIATIONS
PAT H BEP H τ Ref.1st pert.2nd pert.3rd pert.Ref.1st pert.2nd pert.3rd pert.
PAT32012 14.32 0.00.030,123.50.00.00.012.4650.0
PAT3.1227 15.44 0.00.05956.40.00.00.02.1450.0
PAT3.1227 16.56 0.00.06587.841,201.00.00.02.36714.801
PAT3.1227 17.68 0.07417.10.036,151.50.02.7140.013.277
PAT3.1228 16.56 0.00.05914.90.00.00.02.130.0
PAT3.3227 8.72 0.0795.20.018,512.60.00.3110.07.240
PAT3.3227 10.96 0.08121.90.00.00.02.9640.00.0
PAT3.3227 12.08 0.00.00.00.00.00.00.00.0
PAT3.3228 12.08 0.00.00.00.00.00.00.00.0
PAT3.3229 10.96 0.03863.82082.50.00.01.4320.7720.0
PAT3.3229 12.08 0.07546.90.00.00.02.7600.00.0
PAT3.32210 10.96 0.02389.93588.00.00.00.8911.3380.0
PAT3.32210 12.08 0.05092.10.00.00.01.8790.00.0
PAT3.32211 10.96 0.02345.60.031,013.40.00.8750.011.564
PAT3.32212 12.08 0.04501.00.033,203.30.01.6650.012.281
Disclaimer/Publisher’s Note: The statements, opinions and data contained in all publications are solely those of the individual author(s) and contributor(s) and not of MDPI and/or the editor(s). MDPI and/or the editor(s) disclaim responsibility for any injury to people or property resulting from any ideas, methods, instructions or products referred to in the content.

Share and Cite

MDPI and ACS Style

Dambrosio, L.; Manzari, S.P. Multi-Objective Sensitivity Analysis of a Wind Turbine Equipped with a Pumped Hydro Storage System Using a Reversible Hydraulic Machine. Energies 2024, 17, 4078. https://doi.org/10.3390/en17164078

AMA Style

Dambrosio L, Manzari SP. Multi-Objective Sensitivity Analysis of a Wind Turbine Equipped with a Pumped Hydro Storage System Using a Reversible Hydraulic Machine. Energies. 2024; 17(16):4078. https://doi.org/10.3390/en17164078

Chicago/Turabian Style

Dambrosio, Lorenzo, and Stefano Pio Manzari. 2024. "Multi-Objective Sensitivity Analysis of a Wind Turbine Equipped with a Pumped Hydro Storage System Using a Reversible Hydraulic Machine" Energies 17, no. 16: 4078. https://doi.org/10.3390/en17164078

APA Style

Dambrosio, L., & Manzari, S. P. (2024). Multi-Objective Sensitivity Analysis of a Wind Turbine Equipped with a Pumped Hydro Storage System Using a Reversible Hydraulic Machine. Energies, 17(16), 4078. https://doi.org/10.3390/en17164078

Note that from the first issue of 2016, this journal uses article numbers instead of page numbers. See further details here.

Article Metrics

Back to TopTop