Sign in to use this feature.

Years

Between: -

Subjects

remove_circle_outline
remove_circle_outline
remove_circle_outline
remove_circle_outline
remove_circle_outline
remove_circle_outline

Journals

Article Types

Countries / Regions

Search Results (66)

Search Parameters:
Keywords = involute gears

Order results
Result details
Results per page
Select all
Export citation of selected articles as:
20 pages, 3592 KB  
Article
Mathematical Modeling and Topographic Error Compensation for Plunge-Shaving Cutters Generated by a Grinding Worm
by Shih-Sheng Chen, Ruei-Hung Hsu and Jau-Liang Chen
Machines 2026, 14(4), 373; https://doi.org/10.3390/machines14040373 - 27 Mar 2026
Viewed by 98
Abstract
Plunge shaving is a widely used finishing process for high-precision gears due to its high productivity and cost-effectiveness. However, manufacturing the plunge-shaving cutter itself remains challenging, particularly for modified tooth profiles. Because the theoretical cutter flank exhibits a hyperboloid-like geometry in the lead [...] Read more.
Plunge shaving is a widely used finishing process for high-precision gears due to its high productivity and cost-effectiveness. However, manufacturing the plunge-shaving cutter itself remains challenging, particularly for modified tooth profiles. Because the theoretical cutter flank exhibits a hyperboloid-like geometry in the lead direction, conventional disk-wheel grinding tends to introduce systematic twist-like topographic bias. To overcome this limitation, a comprehensive mathematical framework is developed for the generative grinding of plunge-shaving cutters using an involute-helicoid grinding worm. Based on envelope theory and homogeneous coordinate transformations, the theoretical cutter surface is first derived, followed by the establishment of a complete kinematic grinding model. A linear least-squares optimization algorithm is then formulated to determine the optimal center-distance compensation parameter for minimizing the normal deviation between the generated and theoretical surfaces. Numerical simulations demonstrate that the proposed method significantly suppresses twist-related topographic errors. In a benchmark moderate-helix case, the maximum residual deviation is controlled to approximately 2 µm. For a more demanding large-helix configuration, a two-level optimization strategy—combining machine-setting compensation and grinding-worm helix-angle adjustment—reduces the peak deviation from about 5.5 µm to 4.7 µm, corresponding to an improvement of approximately 15%. This confirms that worm-geometry tuning provides an additional, effective degree of freedom for high-helix cutter applications. Full article
(This article belongs to the Section Advanced Manufacturing)
Show Figures

Figure 1

21 pages, 5289 KB  
Article
Surface Topography and Tolerance Quality Evaluation of Polymer Gears Using Non-Contact 3D Scanning Method
by Enis Muratović, Adis J. Muminović, Łukasz Gierz, Ilyas Smailov, Maciej Sydor, Edin Dizdarević, Nedim Pervan and Muamer Delić
Materials 2026, 19(7), 1324; https://doi.org/10.3390/ma19071324 - 26 Mar 2026
Viewed by 157
Abstract
The shift toward lightweight powertrain architectures necessitates a detailed characterization of polymer gears to verify their efficiency and durability. This study investigated the effectiveness of non-contact structured-light 3D scanning for evaluating the surface topography and dimensional tolerance quality of polymer gears produced via [...] Read more.
The shift toward lightweight powertrain architectures necessitates a detailed characterization of polymer gears to verify their efficiency and durability. This study investigated the effectiveness of non-contact structured-light 3D scanning for evaluating the surface topography and dimensional tolerance quality of polymer gears produced via distinct manufacturing technologies. A structured-light 3D scanner was used to capture dense point clouds (exceeding 6 million points) of gears produced by three methods: conventional hobbing (POM-C), Material Extrusion (MEX) with carbon fiber reinforcement, and Selective Laser Sintering (SLS). The manufactured parts were compared against the nominal Computer Aided Design (CAD) models to evaluate their geometrical deviations in accordance with DIN 3961 and surface roughness parameters per ISO 25178. The experimental results revealed a consistent ranking of manufacturing quality. The conventionally hobbed POM-C gear exhibited superior precision, achieving DIN quality grades of Q9–Q10 and the smoothest surface finish (Sa = 5.0 µm). Among additive manufacturing techniques, SLS-printed PA 12 showed intermediate quality (Q11, Sa = 12 µm), whereas MEX-printed PPS-CF exhibited significant deviations (exceeding Q12) and the highest surface irregularity (Sa = 25 µm) due to stair-stepping effects. These findings indicate that while additive manufacturing offers geometric flexibility, conventional hobbing retains a decisive advantage in dimensional precision. The optical scanning methodology demonstrated here constitutes an efficient metrological framework for gear quality control, with potential applications extending to the quality assurance of additively manufactured adaptive fixtures and assembly tooling, including automotive assembly operations. Full article
Show Figures

Graphical abstract

19 pages, 11251 KB  
Article
Experimental Analysis of the Acoustic Emission Waveforms Generated by Friction Between Involute Gear Teeth Including Effects of Surface Defects and Lubrication
by Félix Leaman, Felipe Segura and Valentina Gutiérrez
Lubricants 2026, 14(3), 126; https://doi.org/10.3390/lubricants14030126 - 15 Mar 2026
Viewed by 341
Abstract
This study presents an experimental investigation of acoustic emission (AE) generated during gear tooth contact under various operating conditions. A specialized test rig was developed to measure the AE signals originating from the interaction between two large-scale involute gear teeth. The dimensions of [...] Read more.
This study presents an experimental investigation of acoustic emission (AE) generated during gear tooth contact under various operating conditions. A specialized test rig was developed to measure the AE signals originating from the interaction between two large-scale involute gear teeth. The dimensions of these teeth facilitate a detailed examination of the AE waveform characteristics produced by the sliding–rolling motion inherent to this geometry. Experiments were conducted under three distinct conditions: defect-free teeth without lubrication, defect-free teeth with lubrication, and teeth with localized surface defect. Results indicate that defect-free gears exhibit stable and repeatable waveform behavior that correlates with the sliding speed between meshing teeth. Conversely, worn gear teeth produced significant changes in the AE response, characterized by increased localized amplitudes. Furthermore, the introduction of lubrication significantly altered the waveform patterns, obscuring the clear identification of the sliding–rolling motion. This research contributes to a deeper understanding of AE generation in gear transmissions through the high-resolution analysis of their characteristic waveforms. Full article
(This article belongs to the Special Issue Experimental Modelling of Tribosystems)
Show Figures

Figure 1

23 pages, 6530 KB  
Article
Effect of Drive Side Pressure Angle and Addendum on Mesh Stiffness of the Gears with Low and High Contact Ratios
by Nurullah Baris Sandikci, Ozdes Cermik and Oguz Dogan
Appl. Sci. 2026, 16(6), 2755; https://doi.org/10.3390/app16062755 - 13 Mar 2026
Viewed by 210
Abstract
Gears are one of the most important machine elements widely used to transmit motion and power in various machines. The gear tooth stiffness has a significant impact on the load distribution, vibration characteristics, and overall efficiency of gear systems. Therefore, accurate analysis of [...] Read more.
Gears are one of the most important machine elements widely used to transmit motion and power in various machines. The gear tooth stiffness has a significant impact on the load distribution, vibration characteristics, and overall efficiency of gear systems. Therefore, accurate analysis of tooth stiffness is crucial for optimizing gear performance and ensuring reliable operation. In this study, the effects of geometric parameters on single tooth stiffness (STS) and time-varying mesh stiffness (TVMS) of involute spur gears are investigated numerically. The gear design parameters, such as drive side pressure angle (DSPA) (20°, 25°, 30°), addendum (1–1.5 × module), and dedendum (1.25–1.7 × module), are varied. Gear configurations with both low contact ratio (LCR) and high contact ratio (HCR) are evaluated. Parametric models are first developed using MATLAB, and then 3D CAD models are created in CATIA for static structural analysis in ANSYS Workbench. The results indicate that increasing the pressure angle enhances stiffness in the tooth root region, whereas the effect is less significant near the tooth tip. Increasing the addendum length generally reduces stiffness. In some cases, a rise in contact ratio results in up to a 25% increase in mesh stiffness. These findings demonstrate that single tooth and mesh stiffness can be optimized through precise control of gear geometry. Ultimately, the study provides valuable insights for improving gear performance and durability through informed design choices. Full article
(This article belongs to the Special Issue Applied Numerical Analysis and Computing in Mechanical Engineering)
Show Figures

Figure 1

22 pages, 5505 KB  
Article
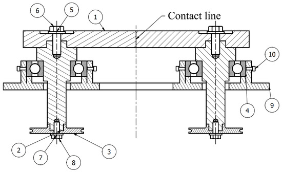
Artificial Bee Colony Algorithm-Based Optimization for Reducing Tooth Flank Distortion in Form-Grinding
by Yunlong Wu, Zhonghou Wang, Mingzhi Chen, Yongming Yang, Qing Li, Jun Li, Xiangxiang Guo and Yilong Wen
Machines 2026, 14(2), 239; https://doi.org/10.3390/machines14020239 - 19 Feb 2026
Viewed by 291
Abstract
The tooth flank distortion error occurring during the form-grinding (FG) of an involute helical gear can significantly compromise transmission performance. Conventional research approaches often focus on single-parameter optimization—either the grinding wheel installation angle (GWIA) or the contact line (CL)—without adequately accounting for the [...] Read more.
The tooth flank distortion error occurring during the form-grinding (FG) of an involute helical gear can significantly compromise transmission performance. Conventional research approaches often focus on single-parameter optimization—either the grinding wheel installation angle (GWIA) or the contact line (CL)—without adequately accounting for the coupling relationships among GWIA, CL, and the modification curve (MC). To address this limitation, this study proposes an innovative joint optimization approach that simultaneously optimizes GWIA, CL, and MC to effectively minimize tooth flank distortion in FG. Based on the principles of form-grinding, a mathematical model is established for the contact line of the target gear and the cross-sectional profile of the grinding wheel. The relationship between GWIA and tooth flank deviation is investigated using a proprietary virtual prototype. A multi-objective artificial bee colony (ABC) optimization algorithm is employed to determine the optimal values of GWIA and CL. For the axial modification curve, this paper introduces a novel three-segment quadratic curve optimization scheme as an improvement over conventional modification methods. To validate the proposed optimization technique, form-grinding experiments are conducted on the L300G gear grinding machine. Simulation outcomes indicate that, pre-optimization, the maximum tooth flank distortion errors primarily occur at the tooth root and tip regions on both ends of the gear. After optimization, the simulated distortion error on the left tooth flank is reduced by 48.5%, while the right flank shows a reduction of 29.4%. These simulation outcomes exhibit a deviation of approximately 10% compared with the experimental results. This study provides valuable insights for enhancing the transmission performance of helical gears. Full article
(This article belongs to the Section Advanced Manufacturing)
Show Figures

Figure 1

21 pages, 4307 KB  
Article
Design and Manufacturing of a Miniature Double-Circular-Arc Line Gear Pump
by Yangzhi Chen, Yimin Yang, Weitao He, Maoxi Zheng and Xiaoping Xiao
Micromachines 2026, 17(2), 222; https://doi.org/10.3390/mi17020222 - 8 Feb 2026
Viewed by 349
Abstract
Traditional involute gear pumps find it difficult to meet the requirements of miniaturization and high performance because of the undercutting, trapped oil, and flow pulsation. To eliminate the phenomenon of trapped oil and reduce flow pulsation in the miniature gear pump, a novel [...] Read more.
Traditional involute gear pumps find it difficult to meet the requirements of miniaturization and high performance because of the undercutting, trapped oil, and flow pulsation. To eliminate the phenomenon of trapped oil and reduce flow pulsation in the miniature gear pump, a novel miniature double-circular-arc line gear (MDLG) and its manufacturing method are proposed. Firstly, based on the spatial curve meshing theory, the tooth flank equation of the MDLG is established, and the design method of the MDLG hob is presented. Then, the instantaneous flow rate of the MDLG pump is analyzed by using the swept-area method. Subsequently, a hobbing machining model is built on the VERICUT virtual simulation platform, and machining experiments are conducted on a hobbing machine. Furthermore, the manufactured MDLGs are inspected at a gear measuring center. Finally, an MDLG pump prototype is developed and machined. The measurement results show that the total cumulative pitch deviations of the machined MDLGs are controlled within 32.1 μm, achieving the ISO 8 accuracy grade. The theoretical calculations and experimental results in this article verify the feasibility of the design and processing of MDLG pumps, providing a reference for the development of high-performance miniature gear pumps. Full article
(This article belongs to the Section E:Engineering and Technology)
Show Figures

Figure 1

25 pages, 8230 KB  
Article
Rapid Spur Gear Profile Inspection Using Chromatic Confocal Sensors
by Bo-Huang Chang, Tsung-Han Wu, Wei-Chieh Chang, Chung-Ping Chiang and Wei-Hua Chieng
Sensors 2026, 26(3), 874; https://doi.org/10.3390/s26030874 - 28 Jan 2026
Viewed by 534
Abstract
Gears, as critical power-transmission components in most power equipment, have a particularly urgent need for in situ inspection systems. Traditional gear inspection methods rely on contact inspection instruments, which are not only time-consuming, but also potentially damage the gear surface due to contact. [...] Read more.
Gears, as critical power-transmission components in most power equipment, have a particularly urgent need for in situ inspection systems. Traditional gear inspection methods rely on contact inspection instruments, which are not only time-consuming, but also potentially damage the gear surface due to contact. This study delves into the detection requirements in the gear manufacturing process and establishes a rapid, non-contact detection mechanism and model using a CHCS. This model employs a CHCS to achieve high-speed, non-contact measurement on various surfaces with extremely high accuracy, enabling real-time monitoring of production process details, thereby improving production efficiency and ensuring product quality. Through actual inspection and comparison with a standard involute spur gear tooth profile model, this study implements a complete inspection system in a prototype. The results of gear inspection using a CHCS with an accuracy of 1 μm showed that the interquartile range of qualified gears under test (GUTs) was within 2.5 μm, and the beard line value was within 10 μm. The experiment demonstrated a layout equipped with a CHCS where the rotating axis represents the hobbing machine spindle. This method can be completed without moving the gear, enabling subsequent finishing processes. Full article
(This article belongs to the Section Optical Sensors)
Show Figures

Figure 1

18 pages, 8884 KB  
Article
Effect of the Position and Size of the Guiding Holes on Planetary Gear Tooth Root Stress in Simple Planetary Gears
by Zoltán Forgó, Ferenc Tolvaly-Roșca and Adolfo Senatore
Eng 2025, 6(12), 342; https://doi.org/10.3390/eng6120342 - 1 Dec 2025
Viewed by 527
Abstract
Planetary gears consisting of simple external gear wheels and an internal ring gear are widely used in industry in various fields. This type of drive is most commonly found in robots, and it is also frequently used in the automotive industry, such as [...] Read more.
Planetary gears consisting of simple external gear wheels and an internal ring gear are widely used in industry in various fields. This type of drive is most commonly found in robots, and it is also frequently used in the automotive industry, such as in wheel hub drives, in addition to general engineering. This study investigates the design of simple planetary gears manufactured with involute gearing. In simple internal gear planetary gears, the orbiting motion of the planetary gear is transferred to the output shaft by a radial balancing clutch and converted into rotary motion through the planetary gear’s guiding holes and the output element’s pins. The guiding holes reduce the planetary gear teeth strength, and the rim thickness “h” has a fundamental influence on the resulting tooth root stress. The main objective of this research is to design external gears with relief for simple planetary gears with a rim thickness “h” that does not decrease the load-carrying capacity. The dimensioning of involute gearing is well known, but the tooth root weakening effect of the clearance holes in such planetary gears is not known. Therefore, this paper focuses on analyzing how the size and position of the guiding holes influence tooth root stress, using finite element method (FEM) calculations performed in SolidWorks 2023. This study aimed to determine the rim thickness “h” required for the design of such a gear in order not to weaken the load-carrying capacity of the gear teeth. As a result of the research, the design of the guiding holes and the wheel relief holes can be performed with an accurate knowledge of their influence on tooth stress. The research results also make it possible to design this type of planetary gear using simple analytical calculation algorithms. Our goal was to define a simple design limit that could be used specifically in the preliminary design phase. This allows designers to determine the positions and dimensions of the guiding holes in the preliminary design phase without affecting the tooth stress. Full article
(This article belongs to the Special Issue Interdisciplinary Insights in Engineering Research)
Show Figures

Figure 1

9 pages, 1016 KB  
Proceeding Paper
Dimensional Precision of Plastic Gear Tooth Profiles Produced by 3D Printing
by Erzsébet Egyed-Faluvégi, Attila Levente Gergely and József Kántor
Eng. Proc. 2025, 113(1), 38; https://doi.org/10.3390/engproc2025113038 - 7 Nov 2025
Cited by 2 | Viewed by 583
Abstract
Plastic spur gears have gained significant attention in the last couple of decades in all industries where rotational motion is involved. Plastic gears have the advantages of light weight, shock absorption, low operation noise levels, and functioning without lubrication. However, the manufacturing precision [...] Read more.
Plastic spur gears have gained significant attention in the last couple of decades in all industries where rotational motion is involved. Plastic gears have the advantages of light weight, shock absorption, low operation noise levels, and functioning without lubrication. However, the manufacturing precision of gears and gear tooth profiles has a significant effect on the lifetime of the gears. The aim of this study was to investigate the effect of 3D printing (Fused Deposition Modeling) parameters on the precision of the tooth profile. To study the effect of layer thickness, printing speed, and infill parameters, the Box–Behnken experimental design was utilized. The results show that the mean profile deviation was 0.067 ± 0.02 mm, and the printing speed had a statistically significant effect on the precision of the tooth profile. Plastic 3D printing provides more design freedom; therefore, it is a promising technology for low production volumes and special geometry gear manufacturing. Full article
(This article belongs to the Proceedings of The Sustainable Mobility and Transportation Symposium 2025)
Show Figures

Figure 1

24 pages, 4736 KB  
Article
Analysis of Gear System Dynamics Based on Thermal Elastohydrodynamic Lubrication Effects
by Zhaoxia He, Xiangjun Wang, Yinan Li and Yunfei Yang
Lubricants 2025, 13(9), 411; https://doi.org/10.3390/lubricants13090411 - 14 Sep 2025
Cited by 1 | Viewed by 1362
Abstract
Lubrication plays a crucial role in reducing gear surface damage and defects such as pitting, wear, and scuffing; therefore, analyzing the influence of lubrication is essential for preventing such failures in gear transmission systems. To this end, the dynamic properties of gear systems [...] Read more.
Lubrication plays a crucial role in reducing gear surface damage and defects such as pitting, wear, and scuffing; therefore, analyzing the influence of lubrication is essential for preventing such failures in gear transmission systems. To this end, the dynamic properties of gear systems were examined, leading to the creation of a thermal elastohydrodynamic lubrication (TEHL) model for the line contact of involute spur gears. This model utilizes a multigrid method to calculate the oil film pressure and thickness. Subsequently, models for meshing stiffness, normal oil film stiffness, and overall normal stiffness were developed using energy methods and lubrication theory. Ultimately, a dynamic model of the spur gear system that incorporated lubrication effects was developed to examine how different operating conditions affect dynamic transmission error, vibration velocity, and dynamic meshing force. The findings revealed that when considering the TEHL effect, the dynamic transmission error along the gear meshing line increases, while both the vibration velocity and dynamic meshing force exhibit a decrease. Furthermore, as speed and load intensify, the amplitudes of dynamic transmission error, vibration velocity, and dynamic meshing force also rise. Notably, an increase in the initial viscosity of the lubricating oil correlates with a decrease in the fluctuation of dynamic transmission error, while the variations in vibration velocity and dynamic meshing force remain relatively insignificant. Full article
(This article belongs to the Special Issue Modeling and Simulation of Elastohydrodynamic Lubrication)
Show Figures

Figure 1

20 pages, 4480 KB  
Article
Geometric Analysis and Quality Assessment of Spur Gears Manufactured by Laser Cutting from S355 Steel
by Anđela Perović, Miloš Matejić, Lozica Ivanović and Bojan Bogdanović
Appl. Sci. 2025, 15(17), 9412; https://doi.org/10.3390/app15179412 - 27 Aug 2025
Viewed by 1178
Abstract
Gears are fundamental machine elements used in various industries due to their durability, ability to transmit high torques, and high precision. Modern demands for gear manufacturing involve improving production methods in order to achieve greater efficiency while maintaining the prescribed tolerances. The focus [...] Read more.
Gears are fundamental machine elements used in various industries due to their durability, ability to transmit high torques, and high precision. Modern demands for gear manufacturing involve improving production methods in order to achieve greater efficiency while maintaining the prescribed tolerances. The focus of this study is on the fast, simple, and cost-effective manufacturing of gears and the geometric analysis of gears produced in such a way. For the purpose of this research, six pairs of cylindrical spur gears with straight teeth and involute profiles were fabricated. The gears were manufactured by laser cutting on a BODOR C6 machine, using low-alloy structural steel grade S355. After production, the gears were measured using a TESA Micro-Hite coordinate measuring machine, supported by PC-DMIS Gear software, in accordance with ISO 1328-1. The measured parameters were analyzed, identifying the potential applicability of laser cutting as a viable gear production method. In conclusion, recommendations for the use of such gears are provided. Further research will include the investigation of functional parameters of laser-cut gears, such as efficiency, noise, vibration, and more. Full article
(This article belongs to the Special Issue Novel Advances in Precision Machining and Manufacturing)
Show Figures

Figure 1

15 pages, 2970 KB  
Article
A Study on the Heat Dissipation Effects During the Meshing Process of Involute Gears with Variable Tooth Thickness
by Huicheng Zhang, Yongping Liu and Junhai Guo
Machines 2025, 13(8), 686; https://doi.org/10.3390/machines13080686 - 5 Aug 2025
Cited by 2 | Viewed by 756
Abstract
The involute gear with variable tooth thickness lacks established methods for calculating meshing heat and studying oil-jet lubrication and cooling effects. This study aims to theoretically estimate the meshing heat generated during the engagement process of involute gears with variable tooth thickness. To [...] Read more.
The involute gear with variable tooth thickness lacks established methods for calculating meshing heat and studying oil-jet lubrication and cooling effects. This study aims to theoretically estimate the meshing heat generated during the engagement process of involute gears with variable tooth thickness. To achieve this, a heat calculation model is derived based on the corresponding tooth surface equations. The impact of oil-jet lubrication parameters—jet velocity, pitch cone angle, face width ratio, and axial displacement—on the gear surface temperature and internal gearbox environment is systematically studied. Numerical simulations of the temperature field are validated through experimental measurements. The results indicate that an oil-jet velocity of 15 m/s combined with a pitch cone angle of 4° significantly reduces both gear surface and internal flow field temperatures. Additionally, smaller face width ratios and axial displacements effectively lower the internal temperature of the gearbox. These findings offer a theoretical basis for calculating meshing heat and designing oil-jet lubrication systems for variable-tooth-thickness involute gears. Full article
(This article belongs to the Section Machine Design and Theory)
Show Figures

Figure 1

22 pages, 7734 KB  
Article
Investigation of Hybrid Tooth Profiles for Robotic Drives Based on IH Tooth Profiles and Cycloidal Curves
by Wonhyeong Jeong, Myungsung Lee, Sehoon Oh, Hansu Jeon and Kwangouck Youm
Appl. Sci. 2025, 15(10), 5389; https://doi.org/10.3390/app15105389 - 12 May 2025
Cited by 1 | Viewed by 1267
Abstract
Recently, with policies aimed at strengthening domestic manufacturing and technological innovation, the robotics industry has been growing rapidly, and its applications are expanding across various industrial fields. Accordingly, the importance of high-performance speed reducers with flexibility and precision is gradually increasing. The tooth [...] Read more.
Recently, with policies aimed at strengthening domestic manufacturing and technological innovation, the robotics industry has been growing rapidly, and its applications are expanding across various industrial fields. Accordingly, the importance of high-performance speed reducers with flexibility and precision is gradually increasing. The tooth profiles used in conventional harmonic reducers have structural limitations, such as meshing discontinuity, restrictions on the radius of curvature of the tooth base, and distortion of the contact trajectory, especially when the number of teeth is small. These problems limit the design freedom of the reducer and make it difficult to secure contact stability and durability under precision driving conditions. To solve these problems, this paper proposes a new tooth profile design equation, the IH (Involute Harmonic) tooth profiles and the HTPs (Hybrid Tooth Profiles), using the cycloid curve to overcome the structural limitations of the conventional harmonic tooth profile, which is difficult to design under small-tooth-number conditions, and to enable tooth design without restrictions on the number of teeth. HTP tooth profile is a new gear tooth profile design method that utilizes IH tooth profile and cycloid curve to optimize the meshing characteristics of gears. A tooth profile design tool based on the HTP equation was developed using Python 3.13.3. The tool’s effectiveness was validated through simulations assessing tooth meshing and interference. Using the tool, an R21_z3 reducer with a single-stage high reduction ratio was designed to evaluate practical applicability. A prototype was fabricated using 3D printing with PLA material, and experimental testing confirmed the absence of meshing or interference issues, consistent with simulation results. Through this study, we verified the usefulness of the HTP tooth profile design formula and design tool using the IH tooth profile and cycloid curve, and it is expected that the proposed HTP tooth profile can be utilized as a tooth profile applicable to various reducer designs. Full article
Show Figures

Figure 1

20 pages, 3734 KB  
Article
Design and Pressure Pulsation Analysis of Pure Rolling External Helical Gear Pumps with Different Tooth Profiles
by Zhen Chen, Yingqi Li, Xiaoping Xiao, Chao He, Kai Zhu, Yangzhi Chen and Alfonso Fuentes-Aznar
Fluids 2025, 10(2), 44; https://doi.org/10.3390/fluids10020044 - 10 Feb 2025
Cited by 1 | Viewed by 1537
Abstract
This paper investigates the design methodologies of pure rolling helical gear pumps with various tooth profiles, based on the active design of meshing lines. The transverse active tooth profile of a pure rolling helical gear end face is composed of various function curves [...] Read more.
This paper investigates the design methodologies of pure rolling helical gear pumps with various tooth profiles, based on the active design of meshing lines. The transverse active tooth profile of a pure rolling helical gear end face is composed of various function curves at key control points. The entire transverse tooth profile consists of the active tooth profile and the Hermite curve as the tooth root transition, seamlessly connecting at the designated control points. The tooth surface is created by sweeping the entire transverse tooth profile along the pure rolling contact curves. The fundamental design parameters, tooth profile equations, tooth surface equations, and a two-dimensional fluid model for pure rolling helical gears were established. The pressure pulsation characteristics of pure rolling helical gear pumps and CBB-40 involute spur gear pumps, each with different tooth profiles, were compared under specific working pressures. This comparison encompassed the maximum effective positive and negative pressures within the meshing region, pressure fluctuations at the midpoints of both inlet and outlet pressures, and pressure fluctuations at the rear sections of the inlet and outlet pressures. The results indicated that the proposed pure rolling helical gear pump with a parabolic tooth profile exhibited 42.81% lower effective positive pressure in the meshing region compared to the involute spur gear pump, while the maximum effective negative pressure was approximately 27 times smaller than that of the involute gear pump. Specifically, the pressure pulsations in the middle and rear regions of the inlet and outlet pressure zones were reduced by 33.1%, 6.33%, 57.27%, and 69.61%, respectively, compared to the involute spur gear pump. Full article
Show Figures

Figure 1

18 pages, 15220 KB  
Article
Effect of Axial Modification on the Meshing Performance of Involute Beveloid Gear Pair
by Yongping Liu, Qi Chen and Changbin Dong
Appl. Sci. 2025, 15(3), 1321; https://doi.org/10.3390/app15031321 - 27 Jan 2025
Cited by 2 | Viewed by 1108
Abstract
In order to enhance the load-bearing capacity of the involute beveloid gear pair, this study proposes research on improving the contact stress through axial modification. Under the condition of segmented parabolic axial modification, the mathematical equation for the tooth flank of the beveloid [...] Read more.
In order to enhance the load-bearing capacity of the involute beveloid gear pair, this study proposes research on improving the contact stress through axial modification. Under the condition of segmented parabolic axial modification, the mathematical equation for the tooth flank of the beveloid gear is derived. A simulation meshing model for the beveloid gear pair is constructed to investigate the effects of different amounts and lengths of axial modification on the meshing performance, changes in flank and root stress, and transmission error before and after modification. The results indicate that as the modification amount increases, the maximum equivalent stress initially decreases and then exhibits a tendency towards stability. Moreover, an increase in modification length concentrates the contact zone towards the middle of the tooth flank while expanding the range of tooth root stress distribution, and it also leads to a decrease in maximum equivalent stress. The implementation of the modification has been observed to result in a reduction in cumulative transmission error and an effective reduction in edge load on the beveloid gear pair, which has been demonstrated to enhance the bearing capacity and transmission stability extension while also impacting the dynamic meshing performance. Full article
Show Figures

Figure 1

Back to TopTop