Sign in to use this feature.

Years

Between: -

Subjects

remove_circle_outline
remove_circle_outline
remove_circle_outline
remove_circle_outline
remove_circle_outline
remove_circle_outline
remove_circle_outline
remove_circle_outline

Journals

Article Types

Countries / Regions

Search Results (14)

Search Parameters:
Keywords = hydrothermal pre-treated sludge

Order results
Result details
Results per page
Select all
Export citation of selected articles as:
25 pages, 2287 KB  
Article
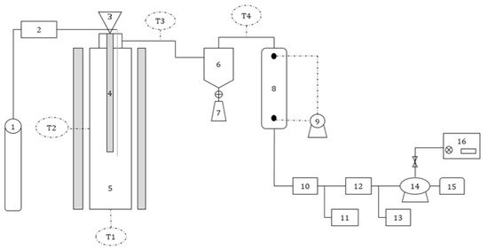
Processing High-Solid Sludge Through Hydrothermal Liquefaction to Boost Anaerobic Fermentation and Bioresource Yield
by Chun-Ming Yen, Chang-Lung Han and Jiunn-Jyi Lay
Processes 2025, 13(9), 2891; https://doi.org/10.3390/pr13092891 - 10 Sep 2025
Viewed by 469
Abstract
The increasing need for effective sludge management has positioned hydrothermal liquefaction (HTL) as a viable solution, harnessing its capability to transform organic materials into renewable resources under elevated temperature and pressure conditions. This research seeks to assess the performance of HTL in processing [...] Read more.
The increasing need for effective sludge management has positioned hydrothermal liquefaction (HTL) as a viable solution, harnessing its capability to transform organic materials into renewable resources under elevated temperature and pressure conditions. This research seeks to assess the performance of HTL in processing high-solid organic sludge by examining the removal efficiencies of chemical oxygen demand (COD), total solids (TS), and suspended solids (SS), together with improvements in biogas potential (BGP) and hydrogen yield. Experimental procedures were carried out within a temperature range of 100–210 °C and pressure levels of 20–80 kg/cm2, using a hydrogen-producing microbiome (HMb) and anaerobically digested sludge as inoculants for anaerobic fermentation. Multivariate analysis was applied to investigate the influence of temperature and pressure on COD, TS, and SS removal rates as well as BGP, while a series of batch tests further confirmed the effects of these parameters on fermentation outcomes. Findings revealed that COD, SS, and TS removal efficiencies reached 90.6%, 91.5%, and 87.4%, respectively, under conditions of 100 °C and 60 kg/cm2. The maximum biogas potential (BGP) of approximately 500 mL was attained at 180 °C, whereas hydrogen production demonstrated substantial enhancement within the HTL pressure range of 40–60 kg/cm2, decreasing beyond this range. Additionally, total dissolved solids (TDS) reached a peak concentration of 389 g/L under conditions of 180 °C and 40 kg/cm2, emphasizing HTL’s positive impact on enhancing methane fermentation efficiency. These findings demonstrate that HTL pretreatment, when operated under optimized temperature and pressure conditions, offers a promising approach for enhancing both waste reduction and bioenergy recovery from high-solid organic sludge. Full article
(This article belongs to the Section Environmental and Green Processes)
Show Figures

Graphical abstract

36 pages, 1698 KB  
Review
Enhancing Bioplastic Degradation in Anaerobic Digestion: A Review of Pretreatment and Co-Digestion Strategies
by Mohamed Shafana Farveen, Raúl Muñoz, Rajnish Narayanan and Octavio García-Depraect
Polymers 2025, 17(13), 1756; https://doi.org/10.3390/polym17131756 - 25 Jun 2025
Cited by 1 | Viewed by 2288
Abstract
The increasing production of bioplastics worldwide requires sustainable end-of-life solutions to minimize the environmental burden. Anaerobic digestion (AD) has been recognized as a potential technology for valorizing waste and producing renewable energy. However, the inherent resistance of certain bioplastics to degradation under anaerobic [...] Read more.
The increasing production of bioplastics worldwide requires sustainable end-of-life solutions to minimize the environmental burden. Anaerobic digestion (AD) has been recognized as a potential technology for valorizing waste and producing renewable energy. However, the inherent resistance of certain bioplastics to degradation under anaerobic conditions requires specific strategies for improvement. Thus, in this review, the anaerobic biodegradability of commonly used bioplastics such as polylactic acid (PLA), polyhydroxybutyrate (PHB), polybutylene adipate-co-terephthalate (PBAT), polybutylene succinate (PBS), polycaprolactone (PCL), and starch- and cellulose-based bioplastics are critically evaluated for various operational parameters, including the temperature, particle size, inoculum-to-substrate ratio (ISR) and polymer type. Special attention is given to process optimization strategies, including pretreatment techniques (mechanical, thermal, hydrothermal, chemical and enzymatic) and co-digestion with nutrient-rich organic substrates, such as food waste and sewage sludge. The combinations of these strategies used for improving hydrolysis kinetics, increasing the methane yield and stabilizing reactor performance are described. In addition, new technologies, such as hydrothermal pretreatment and microbial electrolysis cell-assisted AD, are also considered as prospective strategies for reducing the recalcitrant nature of some bioplastics. While various strategies have enhanced anaerobic degradability, a consistent performance across bioplastic types and operational settings remains a challenge. By integrating key recent findings and limitations alongside pretreatment and co-digestion strategies, this review offers new insights to facilitate the circular use of bioplastics in solid waste management systems. Full article
(This article belongs to the Special Issue Advances in Polymer Composites with Upcycling Waste)
Show Figures

Figure 1

23 pages, 1532 KB  
Review
An Overview of the Thermochemical Valorization of Sewage Sludge: Principles and Current Challenges
by Bruna Rijo, Catarina Nobre, Paulo Brito and Paulo Ferreira
Energies 2024, 17(10), 2417; https://doi.org/10.3390/en17102417 - 17 May 2024
Cited by 10 | Viewed by 2408
Abstract
With the increase in the world population and economic activity, the production of sewage sludge has grown, and its management has become an environmental problem. The most traditional method of managing sewage sludge is to dispose of it in landfills and on farmland. [...] Read more.
With the increase in the world population and economic activity, the production of sewage sludge has grown, and its management has become an environmental problem. The most traditional method of managing sewage sludge is to dispose of it in landfills and on farmland. One way to valorize sewage sludge is to use thermochemical conversion processes to produce added-value products such as biochar, biofuels, and renewable gases. However, due to the high moisture content, thermochemical conversion using processes such as pyrolysis and traditional gasification involves multiple pre-treatment processes such as material drying. Hydrothermal thermochemical processes usually require high pressures, which pose many challenges to their application on a large scale. In this work, the advantages and disadvantages of the different existing thermochemical processes for the recovery of sewage sludge were analyzed, as well as the resulting industrial and environmental challenges. A SWOT analysis was carried out to assess the different thermochemical processes in terms of technical feasibility, economic viability, and broader market considerations. Full article
(This article belongs to the Special Issue Sustainable Technologies for Decarbonising the Energy Sector)
Show Figures

Figure 1

16 pages, 2425 KB  
Article
Hydrochar-Promoted Methane Production in Mesophilic and Thermophilic Anaerobic Digestion of Hydrothermal Pre-Treated Sludge
by Chaosen Jing, Chao Zhang, Xingzhang Luo and Zheng Zheng
Fermentation 2024, 10(1), 10; https://doi.org/10.3390/fermentation10010010 - 21 Dec 2023
Cited by 1 | Viewed by 2031
Abstract
Hydrochar produced during the hydrothermal conversion of organic solid waste could enhance the anaerobic digestion (AD) efficiency of hydrothermal pre-treated sludge. However, there was still a lack of systematic research on the effect of hydrochar on improving the methane production and microbial communities [...] Read more.
Hydrochar produced during the hydrothermal conversion of organic solid waste could enhance the anaerobic digestion (AD) efficiency of hydrothermal pre-treated sludge. However, there was still a lack of systematic research on the effect of hydrochar on improving the methane production and microbial communities of the AD of hydrothermal pre-treated sludge under different temperature conditions. This study explored the effect of hydrochar on methane production from the mesophilic and thermophilic AD of hydrothermal pre-treated sludge and the mechanism of microbial action based on metagenomics analysis. Hydrochar could improve the methane production efficiency of mesophilic and thermophilic AD at different initial concentrations of hydrothermal pre-treated sludge. However, the effect of hydrochar in promoting AD varied under different AD temperatures. Both temperature and hydrochar were crucial factors that could influence the microbial community. Moreover, hydrochar increased the relative abundance of archaea in the AD system, resulting in an increment of 4.99% to 15.30% compared to the control group. Mesophilic reactors exhibit greater microbial diversity. Hydrochar resulted in the significant enrichment of Synergistota in the thermophilic AD system and the enrichment of Firmicutes in the mesophilic AD system, thereby promoting the hydrolysis of proteins and polysaccharides during AD. This study has practical significance for the resource treatment of excess activated sludge. Full article
Show Figures

Figure 1

18 pages, 5648 KB  
Article
Impact of Hydrothermal Pretreatment Parameters on Mesophilic and Thermophilic Fermentation and Anaerobic Digestion of Municipal Sludge
by Farokh Laqa Kakar, Hussain Aqeel, Steven N. Liss and Elsayed Elbeshbishy
Fermentation 2023, 9(6), 508; https://doi.org/10.3390/fermentation9060508 - 25 May 2023
Cited by 2 | Viewed by 3325
Abstract
Four parameters affecting hydrothermal pretreatment (HTP) of municipal sludge prior to anaerobic digestion and fermentation were investigated. Partial factorial design including several key HTP parameters at two distinct levels, including temperature (170 and 190 °C), retention time (RT) (10 and 30 min), pH [...] Read more.
Four parameters affecting hydrothermal pretreatment (HTP) of municipal sludge prior to anaerobic digestion and fermentation were investigated. Partial factorial design including several key HTP parameters at two distinct levels, including temperature (170 and 190 °C), retention time (RT) (10 and 30 min), pH (4 and 10), and solid content (SC) (4% and 16%), were studied. Further, the impact of HTP parameters on mesophilic and thermophilic fermentation was explored and compared. Results revealed a significant effect of all HTP parameters on COD solubilization, VFA, and methane yield. There were correlations between HTP parameters and process responses such as VFA yield and methane yield. HTP was found to increase COD solubilization and VFA production between 15 and 20% during thermophilic fermentation in relation to mesophilic treatment. All parameters, including SC, temperature, pH, and RT, were important contributing factors affecting methane production during anaerobic digestion. The highest methane production yield of 269 mL CH4/g TCOD added was observed at the highest SC (16%) and pH (10) and at the lower temperature (170 °C) and RT (10). HTP is expected to be combined with other intensification routes to treat waste with high solid contents improving the fermentation and anaerobic digestion processes. Full article
(This article belongs to the Special Issue Anaerobic Fermentation of Biomass Waste for Methane Production)
Show Figures

Figure 1

17 pages, 12903 KB  
Article
Fuel Characteristics and Removal of AAEMs in Hydrochars Derived from Sewage Sludge and Corn Straw
by Shuai Guo, Weinan Xiao, Zhaoyuan Liu, Deng Zhao, Kaixin Chen, Chenchen Zhao, Xingcan Li and Guangyu Li
Molecules 2023, 28(2), 781; https://doi.org/10.3390/molecules28020781 - 12 Jan 2023
Cited by 5 | Viewed by 1903
Abstract
Co-hydrothermal carbonization (Co-HTC) of sewage sludge (SS) and corn straw (CS) for fuel preparation is a waste treatment method that reduces the pre-treatment cost of solid waste and biomass fuel. Based on the response surface methodology (RSM), a test was designed to prepare [...] Read more.
Co-hydrothermal carbonization (Co-HTC) of sewage sludge (SS) and corn straw (CS) for fuel preparation is a waste treatment method that reduces the pre-treatment cost of solid waste and biomass fuel. Based on the response surface methodology (RSM), a test was designed to prepare SS and CS hydrochars using a hydrothermal high-pressure reactor. The test examined the higher heating value (HHV) and the concentrations of alkali metals and alkaline earth metals (AAEMs) and Cl. The HHV of SS-hydrochar decreased with an increase in reaction temperature, but that of CS-hydrochar increased. The yield of CS-hydrochar was at 26.74–61.26%, substantially lower than that of SS-hydrochar. Co-hydrochar has the advantages of HHV and an acceptable yield. The HHV of co-hydrochar was 9215.51–12,083.2 kJ/kg, representing an increase of 12.6–47.6% over single component hydrochar, while the yield of co-hydrochar was 41.46–72.81%. In addition, the stabilities of AAEM and Cl in the co-hydrochar were Mg > Ca > K > Na > Cl. SS and CS had a synergistic effect on dechlorination efficiency (DE), which had a negative effect on the removal efficiency (RE) of Ca and Na. The optimal hydrocharization conditions were a temperature of approximately 246.14 °C, a residence time of approximately 90 min, and a mixing ratio of SS–CS of approximately 57.18%. The results offer a way to utilize SS and CS by Co-HTC and convert them into low-chlorine and low-alkali fuel, thus pushing the improvement of this promising waste-to-energy technology. Full article
Show Figures

Figure 1

18 pages, 2484 KB  
Review
Comprehensive Review of Hydrothermal Pretreatment Parameters Affecting Fermentation and Anaerobic Digestion of Municipal Sludge
by Farokh Laqa Kakar, Frew Tadesse and Elsayed Elbeshbishy
Processes 2022, 10(12), 2518; https://doi.org/10.3390/pr10122518 - 28 Nov 2022
Cited by 13 | Viewed by 4825
Abstract
Municipal solid waste treatment and disposal have become one of the major concerns in waste management due to the excessive production of waste and higher levels of pollution. To address these challenges and protect the environment in sustainable ways, the hydrothermal pretreatment (HTP) [...] Read more.
Municipal solid waste treatment and disposal have become one of the major concerns in waste management due to the excessive production of waste and higher levels of pollution. To address these challenges and protect the environment in sustainable ways, the hydrothermal pretreatment (HTP) technique coupled with anaerobic digestion (AD) becomes a preferred alternative technology that can be used for municipal solid waste stabilization and the production of renewable energy. However, the impact of HTP parameters such as temperature, retention time, pH, and solid content on the fermentation of TWAS is yet to be well studied and analyzed. Hence this study was conducted to review the effect of hydrothermal pretreatment of thickened waste-activated sludge (TWAS) on fermentation and anaerobic digestion processes. Many studies reported that fermentation of TWAS at pretreatment temperature ranges from 160 °C to 180 °C resulted in a 50% increase in volatile fatty acid (VFA) yields compared to no pretreatment. However, for the AD process, HTP in the range of 175 °C to 200 °C with a 30–60 min retention time was considered the optimal condition for higher biogas production, with 30% increase in biodegradability and greater than 55% increase in biogas production. Even though there is a direct relationship between increased HTP temperature and the hydrolysis of TWAS, a pretreatment temperature range beyond 200 °C alters the biogas production. The solid content (SC) of sludge plays a crucial role in HTP, where in practice up to 16% SC has been utilized for HTP. Further, a combined alkaline-HTP enhances the process performance. Full article
(This article belongs to the Section Sustainable Processes)
Show Figures

Figure 1

16 pages, 2406 KB  
Article
Improving Kraft Pulp Mill Energy Efficiency through Low-Temperature Hydrothermal Carbonization of Biological Sludge
by Jussi Saari, Ekaterina Sermyagina, Katja Kuparinen, Satu Lipiäinen, Juha Kaikko, Marcelo Hamaguchi and Clara Mendoza-Martinez
Energies 2022, 15(17), 6188; https://doi.org/10.3390/en15176188 - 25 Aug 2022
Cited by 6 | Viewed by 2103
Abstract
Of the various waste and side streams created in a kraft pulp mill, the biological sludges from the wastewater treatment plant are some of the most problematic to handle. Incineration is becoming a common solution as landfilling is no longer permitted by legislation [...] Read more.
Of the various waste and side streams created in a kraft pulp mill, the biological sludges from the wastewater treatment plant are some of the most problematic to handle. Incineration is becoming a common solution as landfilling is no longer permitted by legislation in many countries, but this is also problematic due to the high moisture content, poor drying characteristics, and high ash content in the solids. This study evaluates the technical potential of mild hydrothermal carbonization (HTC) at 160 °C for 3 h to improve the energy efficiency of on-site incineration as a biosludge handling method. HTC treatment transforms wet organic substrates into a hydrophobic carbonaceous material (hydrochar). The heating value and elemental composition of both the sludge and the hydrochar product were analyzed. Based on this, a hydrothermal carbonization model developed earlier was adjusted for the feedstock, and process integration modelling performed to evaluate the performance impact on the power and heat generation at the mill. The results indicate that if the alternative is combustion in the power boiler, HTC pre-treatment could allow a significant increase in power generation. If the sludge is combusted in the recovery boiler, a practice often avoided in order to not introduce non-process elements to the chemical recovery cycle but sometimes necessary due to, e.g., absence of a power boiler, a much smaller increase is obtained. The increase is smallest if the freed evaporator plant capacity cannot be utilized for increasing the firing liquor dry solids content. Full article
Show Figures

Figure 1

14 pages, 1636 KB  
Article
Enhanced Phosphorus Recovery as Vivianite from Anaerobically Digested Sewage Sludge with Magnetic Biochar Addition
by Yuan Liu, Jie Jin, Jiawei Li, Ziwei Zou, Renchan Lei, Jintao Sun and Jinxia Xia
Sustainability 2022, 14(14), 8690; https://doi.org/10.3390/su14148690 - 15 Jul 2022
Cited by 9 | Viewed by 3651
Abstract
Sustainable phosphorus (P) recovery from sewage sludge is crucial to reconciling the simultaneous shortage and excess of P. In this study, magnetic biochar (MBC) was synthesized and innovatively applied to enhance P recovery as vivianite. The effects of anaerobic digestion (AD) time, hydrothermal [...] Read more.
Sustainable phosphorus (P) recovery from sewage sludge is crucial to reconciling the simultaneous shortage and excess of P. In this study, magnetic biochar (MBC) was synthesized and innovatively applied to enhance P recovery as vivianite. The effects of anaerobic digestion (AD) time, hydrothermal (HT) pretreatment temperature and MBC dose on vivianite formation were investigated using batch experiments and a modified sequential P extraction protocol. The P fractionation results showed that the concentration of pure vivianite-bound P (Fe(II)-P) reached a maximum on the 10th day of AD treatment, and then declined sharply due to vivianite oxidation and P limitation. HT pretreatment operated at relatively high temperatures (135 and 185 °C) reduced vivianite formation; this negative effect of HT pretreatment was partially compensated by MBC supplementation. The proportion of Fe(II)-P in the solid phase of sludge was substantially raised up to 57.1% from 8.3~17.4% with an increasing dose of MBC from 0 to 12.5 g/L, indicating that MBC had a markedly enhanced effect on vivianite formation; this could be attributed to the MBC-improved Fe(II) production, as evidenced by the elevated proportion of Fe(II) in Fe2p XPS spectra and the increased ratio of Fe(II)-P to oxidized vivianite-bound P (Fe(III)-P) in the sludge after MBC supplementation. MBC addition also decreased the proportion of water-extractable P by sorption and promoted organic P decomposition, which further facilitated vivianite production. These findings reveal a new strategy for enhancing P recovery from HT-pretreated AD sludge. Full article
Show Figures

Graphical abstract

19 pages, 1909 KB  
Article
Sequential Hydrothermal Processing of Sewage Sludge to Produce Low Nitrogen Biocrude
by Joscha Zimmermann, Klaus Raffelt and Nicolaus Dahmen
Processes 2021, 9(3), 491; https://doi.org/10.3390/pr9030491 - 9 Mar 2021
Cited by 24 | Viewed by 4748
Abstract
A hydrothermal pre-treatment has been developed to improve sewage sludge quality or to produce low nitrogen biocrude via hydrothermal liquefaction (HTL) in a subsequent step. The mild hydrothermal pre-treatment (150 °C) step was performed with deionized water, sulfuric acid (0.5 M), or citric [...] Read more.
A hydrothermal pre-treatment has been developed to improve sewage sludge quality or to produce low nitrogen biocrude via hydrothermal liquefaction (HTL) in a subsequent step. The mild hydrothermal pre-treatment (150 °C) step was performed with deionized water, sulfuric acid (0.5 M), or citric acid (0.5 M) to solubilize nitrogen containing compounds in the aqueous supernatant. Downstream, the residual solid material was liquefied with the addition of sodium carbonate via hydrothermal liquefaction (350 °C). The pre-treatment with citric acid transferred up to 66.7 wt. % of nitrogen into the aqueous supernatant, while 62.0 wt. % of carbon was recovered in the solid. Due to the pre-treatment lipids retained in the sewage sludge solid, which increased the favored biocrude yield up to 42.9 wt. % and the quality evaluating value H/Ceff ratio significantly to 1.48. Multi-method characterization of the resulted biocrude samples showed a lower concentration of N-heterocycles, while long-chain aliphatics and free fatty acid are increased. Full article
(This article belongs to the Special Issue Process Design of Biomass Thermochemical Conversion)
Show Figures

Figure 1

10 pages, 7161 KB  
Article
Stimulation of Lipid Extraction Efficiency from Sewage Sludge for Biodiesel Production through Hydrothermal Pretreatment
by Jongkeun Lee, Oh Kyung Choi, Dooyoung Oh, Kawnyong Lee, Ki Young Park and Daegi Kim
Energies 2020, 13(23), 6392; https://doi.org/10.3390/en13236392 - 3 Dec 2020
Cited by 15 | Viewed by 3215
Abstract
In this study, two types of sewage sludge (primary sludge and waste activated sludge) were hydrothermally treated at 125–250 °C to enhance the lipid extraction efficiency and obtain a higher biodiesel yield. The enhanced efficiency of the lipid extraction method was compared with [...] Read more.
In this study, two types of sewage sludge (primary sludge and waste activated sludge) were hydrothermally treated at 125–250 °C to enhance the lipid extraction efficiency and obtain a higher biodiesel yield. The enhanced efficiency of the lipid extraction method was compared with the efficiency of the organic solvent extraction method. The results confirmed that a hydrothermal reaction could be an appropriate option for disrupting sludge cell walls and increasing the lipid extraction from sewage sludge. The highest lipid recovery efficiency was observed at 200 °C, and the lipid recovery efficiency of primary sludge and waste activated sludge increased from 7.56% and 5.35% to 14.01% and 11.55% by weight, respectively. Furthermore, transesterified lipids, such as biodiesel from sewage sludge, mostly consist of C16 and C18 methyl esters, and have features similar to those of jatropha oil-based biodiesel. During the hydrothermal treatment, the carbon content in the sludge decreased as the carbon transformed into lipids and the lipids were extracted. The volatile matter and fixed carbon content in the solid residue decreased and increased, respectively, through chemical dehydration and decarboxylation reactions under hydrothermal reaction conditions. Full article
(This article belongs to the Special Issue Advanced Technologies on Biomass Conversion)
Show Figures

Figure 1

22 pages, 2530 KB  
Article
Volatile Fatty Acids and Biomethane Recovery from Thickened Waste Activated Sludge: Hydrothermal Pretreatment’s Retention Time Impact
by Farokh laqa Kakar, Ahmed El Sayed, Neha Purohit and Elsayed Elbeshbishy
Processes 2020, 8(12), 1580; https://doi.org/10.3390/pr8121580 - 30 Nov 2020
Cited by 8 | Viewed by 4425
Abstract
The main objective of this study was to evaluate the hydrothermal pretreatment’s retention time influence on the volatile fatty acids and biomethane production from thickened waste activated sludge under mesophilic conditions. Six different retention times of 10, 20, 30, 40, 50, and 60 [...] Read more.
The main objective of this study was to evaluate the hydrothermal pretreatment’s retention time influence on the volatile fatty acids and biomethane production from thickened waste activated sludge under mesophilic conditions. Six different retention times of 10, 20, 30, 40, 50, and 60 min were investigated while the hydrothermal pretreatment temperature was kept at 170 °C. The results showed that the chemical oxygen demand (COD) solubilization increased by increasing the hydrothermal pretreatment retention time up to 30 min and stabilized afterwards. The highest COD solubilization of 48% was observed for the sample pretreated at 170 °C for 30 min. Similarly, the sample pretreated at 170 °C for 30 min demonstrated the highest volatile fatty acids yield of 14.5 g COD/Lsubstrate added and a methane yield of 225 mL CH4/g TCODadded compared to 4.3 g COD/Lsubstrate added and 163 mL CH4/g TCODadded for the raw sample, respectively. The outcome of this study revealed that the optimum conditions for solubilization are not necessarily associated with the best fermentation and/or digestion performance. Full article
(This article belongs to the Special Issue Processes for Biofuel, Biogas and Resource Recovery from Biomass)
Show Figures

Figure 1

15 pages, 3313 KB  
Article
Studies on the Gasification Performance of Sludge Cake Pre-Treated by Hydrothermal Carbonization
by Sang Yeop Lee, Se Won Park, Md Tanvir Alam, Yean Ouk Jeong, Yong-Chil Seo and Hang Seok Choi
Energies 2020, 13(6), 1442; https://doi.org/10.3390/en13061442 - 19 Mar 2020
Cited by 10 | Viewed by 2765
Abstract
Proper treatment and careful management of sewage sludge are essential because its disposal can lead to adverse environmental impacts such as public health hazards, as well as air, soil, and water pollution. Several efforts are being made currently not only to safely dispose [...] Read more.
Proper treatment and careful management of sewage sludge are essential because its disposal can lead to adverse environmental impacts such as public health hazards, as well as air, soil, and water pollution. Several efforts are being made currently not only to safely dispose of sewage sludge but also to utilize it as an energy source. Therefore, in this study, initiatives were taken to valorize sewage sludge cake by reducing the moisture content and increasing the calorific value by applying a hydrothermal treatment technique for efficient energy recovery. The sludge cake treated at 200 °C for 1 h was found to be the optimum condition for hydrothermal carbonization, as, in this condition, the caloric value of the treated sludge increased by 10% and the moisture content removed was 20 wt.%. To recover energy from the hydrothermally treated sludge, a gasification technology was applied at 900 °C. The results showed that the product gas from hydrothermally treated sludge cake had a higher lower heating value (0.98 MJ/Nm3) and higher cold gas efficiency (5.8%). Furthermore, compared with raw sludge cake, less tar was generated during the gasification of hydrothermally treated sludge cake. The removal efficiency was 28.2%. Overall results depict that hydrothermally treated sewage sludge cake could be a good source of energy recovery via the gasification process. Full article
(This article belongs to the Section J: Thermal Management)
Show Figures

Figure 1

14 pages, 3134 KB  
Article
Removal of Escherichia coli by Intermittent Operation of Saturated Sand Columns Supplemented with Hydrochar Derived from Sewage Sludge
by Jae Wook Chung, Oghosa Charles Edewi, Jan Willem Foppen, Gabriel Gerner, Rolf Krebs and Piet Nicolaas Luc Lens
Appl. Sci. 2017, 7(8), 839; https://doi.org/10.3390/app7080839 - 15 Aug 2017
Cited by 19 | Viewed by 5919
Abstract
Hydrothermal carbonization (HTC) technology can convert various types of waste biomass into a carbon-rich product referred to as hydrochar. In order to verify the potential of hydrochar produced from stabilized sewage sludge to be an adsorbent for bacterial pathogen removal in water treatment, [...] Read more.
Hydrothermal carbonization (HTC) technology can convert various types of waste biomass into a carbon-rich product referred to as hydrochar. In order to verify the potential of hydrochar produced from stabilized sewage sludge to be an adsorbent for bacterial pathogen removal in water treatment, the Escherichia coli’s removal efficiency was determined by using 10 cm sand columns loaded with 1.5% (w/w) hydrochar. Furthermore, the removal of E. coli based on intermittent operation in larger columns of 50 cm was measured for 30 days. Since the removal of E. coli was not sufficient when the sand columns were supplemented with raw hydrochar, an additional cold-alkali activation of the hydrochar using potassium hydroxide was applied. This enabled more than 90% of E. coli removal in both the 10 cm and 50 cm column experiments. The enhancement of the E. coli removal efficiency could be attributed to the more hydrophobic surface of the KOH pre-treated hydrochar. The idle time during the intermittent flushing experiments in the sand-only columns without the hydrochar supplement had a significant effect on the E. coli removal (p < 0.05), resulting in a removal efficiency of 55.2%. This research suggested the possible utilization of hydrochar produced from sewage sludge as an adsorbent in water treatment for the removal of bacterial contaminants. Full article
(This article belongs to the Special Issue Wastewater Treatment and Reuse Technologies)
Show Figures

Figure 1

Back to TopTop