Sign in to use this feature.

Years

Between: -

Subjects

remove_circle_outline
remove_circle_outline
remove_circle_outline
remove_circle_outline
remove_circle_outline
remove_circle_outline
remove_circle_outline

Journals

Article Types

Countries / Regions

Search Results (136)

Search Parameters:
Keywords = SMA-13 asphalt mixture

Order results
Result details
Results per page
Select all
Export citation of selected articles as:
17 pages, 5552 KB  
Article
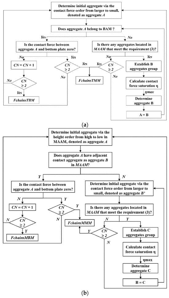
Investigation into the Evolution of Main Force Chains and Skeleton Composition in Asphalt Mixture Using the Discrete Element Method
by Kun Li, Guoqiang Liu, Chuanyu Yang and Yongqi Liu
Buildings 2025, 15(22), 4092; https://doi.org/10.3390/buildings15224092 - 13 Nov 2025
Abstract
To clarify the load transfer mechanism of the asphalt mixture skeleton, the discrete element method simulation analysis was conducted to investigate the evolution of the morphological characteristics of the main force chain (MFC) and the mechanical composition of the skeleton. Results indicate that [...] Read more.
To clarify the load transfer mechanism of the asphalt mixture skeleton, the discrete element method simulation analysis was conducted to investigate the evolution of the morphological characteristics of the main force chain (MFC) and the mechanical composition of the skeleton. Results indicate that AC-type asphalt mixtures form a greater number of force chains compared with SMA- and OGFC-type asphalt mixtures. Although AC-type asphalt mixtures exhibit more MFC, both SMA and OGFC have a higher proportion of MFC (PMFC) throughout the loading process, which is beneficial to transfer external loading effectively. In AC-type asphalt mixtures, the skeleton undergoes reorganization during the initial loading stage, especially in the case of small NMAS. This makes it easy to form MFC with a longer length, some of which exhibit a relatively low alignment coefficient. Consequently, the MFC network of AC is more complex and less efficient for transferring external loading compared with SMA and OGFC. For all asphalt mixtures, the MFC structure evolves in a manner that facilitates load transfer. For skeleton mechanical composition, aggregate within 1.18~2.36 mm is mainly used to fill the void space of the skeleton and has a small amount of participation in the formation of the skeleton. Aggregates within 2.36~9.5 mm mainly participate in the skeleton composition and make a small contribution to filling the void of the skeleton. Aggregates larger than 9.5 mm are fully incorporated into the skeleton composition. Full article
(This article belongs to the Special Issue Mechanical Properties of Asphalt and Asphalt Mixtures: 2nd Edition)
Show Figures

Figure 1

16 pages, 8188 KB  
Article
Road Performance of Hot Central Plant Versus Hot In-Place Recycling Asphalt Mixtures: A Quantitative Comparison and Adaptability Analysis
by Qinyu Shi, Lixin Zhou and Bo Li
Materials 2025, 18(22), 5149; https://doi.org/10.3390/ma18225149 - 12 Nov 2025
Abstract
Despite being crucial for sustainable pavement construction, the widespread application of hot recycled asphalt mixtures in high-grade surface courses is hindered by concerns over their long-term performance, particularly regarding cracking resistance and moisture stability. This study systematically evaluates the road performance of hot [...] Read more.
Despite being crucial for sustainable pavement construction, the widespread application of hot recycled asphalt mixtures in high-grade surface courses is hindered by concerns over their long-term performance, particularly regarding cracking resistance and moisture stability. This study systematically evaluates the road performance of hot central plant recycling (HCPR with 30% RAP) and hot in-place recycling (HIPR with 80% RAP) mixtures, benchmarked against virgin hot mix asphalt (SMA-13), through comprehensive laboratory simulations. The enhancing effect of basalt fibers (BFs) was thoroughly investigated. Results revealed a significant performance trade-off; while the recycled mixtures exhibited superior high-temperature stability (e.g., an 80.7% increase in dynamic stability for HIPR), their cracking resistance substantially decreased with higher RAP content (e.g., reductions of 60.8% in low-temperature flexural strain and 22.1% in intermediate-temperature fracture energy for HIPR). Both recycled mixtures also showed susceptibility to moisture damage, evidenced by stripping in Hamburg wheel-tracking tests. The incorporation of BFs effectively mitigated these deficiencies. It comprehensively improved the performance, enabling the HCPR mixture to meet specifications for severely cold regions and elevating the HIPR mixture to compliance level for cold regions. Furthermore, BF significantly enhanced rutting resistance under coupled hydrothermal conditions. These findings demonstrate that basalt fiber reinforcement can bridge the performance gap of recycled mixtures, thereby expanding their application scope and providing a robust technical basis for selecting and optimizing recycling strategies in high-grade pavement engineering. Full article
(This article belongs to the Special Issue Development of Sustainable Asphalt Materials)
Show Figures

Figure 1

32 pages, 7738 KB  
Article
Effects of Magnetite Powder on Microwave Heating Properties and Pavement Performance of Asphalt Mixture
by Haoran Zhu, Yajun Zhang, Feng Hu, Mingming Yu and Wenfeng Wang
Materials 2025, 18(21), 4920; https://doi.org/10.3390/ma18214920 - 28 Oct 2025
Viewed by 342
Abstract
Microwave heating is a method with a uniform heating effect and environmental friendliness in in-place hot recycling, but the microwave absorption capacity of traditional asphalt mixtures is still insufficient. As an excellent microwave-absorbing material, magnetite powder has the characteristics of high temperature resistance, [...] Read more.
Microwave heating is a method with a uniform heating effect and environmental friendliness in in-place hot recycling, but the microwave absorption capacity of traditional asphalt mixtures is still insufficient. As an excellent microwave-absorbing material, magnetite powder has the characteristics of high temperature resistance, corrosion resistance, and good thermodynamic stability. This study selects it as the microwave-absorbing material, prepares AC (Asphalt Concrete) type and SMA (Stone Mastic Asphalt) type microwave asphalt mixtures by adjusting its content, and investigates its influence on the microwave-heating characteristics and pavement performance of the mixtures. Simulations of the microwave-heating process of AC-type mixtures using COMSOL software (COMSOL Multiphysics 6.2) show that magnetite powder achieves optimal performance in terms of heating effect and economic efficiency when its content is 0.5%. Subsequently, laboratory tests are conducted to study the wave absorption and temperature rise performance of AC and SMA microwave asphalt mixtures; combined with economic factors, the optimal contents of magnetite powder for the two types of mixtures are determined to be 0.5% and 1%, respectively, and at the same time, these results are explained based on multiple physical theories. Furthermore, pavement performance is investigated through laboratory tests, including high-temperature rutting tests, low-temperature bending tests, immersed Marshall tests, and freeze–thaw cycle durability tests, and the results indicate that the high-temperature performance, low-temperature performance, and water stability of the microwave asphalt mixtures all meet the specification requirements for pavement performance. Subsequently, after 15 freeze–thaw cycles, the splitting tensile strength retention rate and stiffness modulus of the two types of mixtures show minimal differences from those of ordinary mixtures, and there is no durability degradation caused by the incorporation of magnetite powder. Finally, outdoor environment verification is carried out, and the results show that under complex conditions such as environmental factors, the wave absorption and temperature rise rates of AC and SMA mixtures at optimal contents are 52.2% and 14.6% higher than those of ordinary AC and SMA asphalt mixtures, respectively. In addition, these microwave asphalt mixtures have the advantages of both sustainability and reduced carbon emissions. By combining simulation methods and experimental verification, this study finally prepared two types of microwave asphalt mixtures with excellent performance, not only improving the microwave absorption and heating performance of asphalt mixtures, but also reducing environmental pollution and energy consumption, which conforms to the development of green transportation. Full article
Show Figures

Graphical abstract

27 pages, 5815 KB  
Article
A Study on the Mechanical Properties of an Asphalt Mixture Skeleton Meso-Structure Based on Computed Tomography Images and the Discrete Element Method
by Hehao Liang, Liwan Shi, Yuechan Wang, Peixian Li and Jiajian Huang
Appl. Sci. 2025, 15(19), 10799; https://doi.org/10.3390/app151910799 - 8 Oct 2025
Viewed by 489
Abstract
Current understanding of the load-transfer mechanism in the skeletal contact state of asphalt mixtures and its influence on macroscopic mechanical properties remains insufficient. This knowledge gap leads to difficulties in accurately predicting the performance of designed mixtures, thereby restricting the service life of [...] Read more.
Current understanding of the load-transfer mechanism in the skeletal contact state of asphalt mixtures and its influence on macroscopic mechanical properties remains insufficient. This knowledge gap leads to difficulties in accurately predicting the performance of designed mixtures, thereby restricting the service life of asphalt pavements and the sustainable development of road engineering. This study investigated the skeletal contact characteristics, coarse aggregate movement, and crack propagation of three asphalt mixture types—Stone Mastic Asphalt (SMA), Asphalt Concrete (AC), and Open-Graded Friction Course (OGFC)—under loading. The methodology incorporated Computed Tomography (CT) technology, a Voronoi diagram-based skeletal contact evaluation method, and discrete element numerical simulation. The research aimed to elucidate the influence mechanisms of different skeletal structures on macroscopic performance and to validate the efficacy of the skeletal contact evaluation method. The findings revealed that under splitting load, the tensile stress contact force chains within the asphalt mixture’s skeleton were predominantly distributed along both sides of the specimen’s central axis. For all three gradations, compressive stress contact force chains (points) accounted for over 65% of the total, indicating that the asphalt mixture skeleton primarily bore and transmitted compressive stresses. The interlocking structure formed by coarse aggregates significantly enhanced the stability of the asphalt mixture skeleton, reduced its displacement under load, and improved the mixture’s resistance to cracking. In the three gradations, shear stress-induced cracks outnumbered those caused by tensile stress, with shear stress cracks accounting for over 55% of the total cracks. This suggests that under splitting load, cracks resulting from shear failure were more prevalent than those from tensile failure. SMA-20 demonstrated the best crack resistance, followed by AC-20, while OGFC-20 performed the poorest. These conclusions are consistent with the results of the Voronoi diagram-based skeletal contact evaluation, confirming the correlation between the contact conditions of the asphalt mixture skeleton and its mechanical performance. Specifically, inadequate skeletal contact leads to a significant deterioration in mechanical properties. The research results elucidate the influence of skeletal contact characteristics with different gradations on both mesoscopic features and macroscopic mechanical behavior, providing a crucial basis for optimizing asphalt mixture design. Full article
Show Figures

Figure 1

17 pages, 6514 KB  
Article
Effects of Aged Conditions on the Self-Healing Performance of Asphalt Mixtures: A Comparative Study of Long-Term and Short-Term Aging
by Zhenqing He, Anhua Xu, Aipeng Wang, Tengyu Zhu and Bowen Guan
Polymers 2025, 17(19), 2678; https://doi.org/10.3390/polym17192678 - 3 Oct 2025
Cited by 1 | Viewed by 406
Abstract
This study investigates how short- and long-term aging affect the microwave self-healing of steel slag asphalt mixtures (SSAMs). Binder-level healing was tested using a dynamic shear rheometer (DSR), and mixture-level crack behavior was analyzed using beam bending tests (BBTs) and digital image correlation [...] Read more.
This study investigates how short- and long-term aging affect the microwave self-healing of steel slag asphalt mixtures (SSAMs). Binder-level healing was tested using a dynamic shear rheometer (DSR), and mixture-level crack behavior was analyzed using beam bending tests (BBTs) and digital image correlation (DIC). Aging clearly reduced self-healing, with long-term aging causing the largest decline. Among the mixtures, OGFC-13 was most sensitive, while SMA-13 was least affected. Aging increased stiffness, reduced crack resistance, and shortened crack initiation time, leading to lower healing efficiency under microwave treatment. After heating, cracks propagated faster, indicating increased brittleness. These results quantify the impact of aging on performance and highlight the limitations of microwave repair, providing guidance for maintenance strategies and mixture design to improve long-term pavement performance. Full article
(This article belongs to the Section Polymer Applications)
Show Figures

Figure 1

17 pages, 4189 KB  
Article
Effect of Fiber Characteristics on Cracking Resistance Properties of Stone Mastic Asphalt (SMA) Mixture
by Kai Yang, Wenyuan Huang, Mutian Sun, Zhixian Zheng and Hongwei Lin
Polymers 2025, 17(19), 2623; https://doi.org/10.3390/polym17192623 - 28 Sep 2025
Viewed by 479
Abstract
Cracking is a critical distress that reduces an asphalt pavement’s service life, and fiber reinforcement is an effective strategy to enhance anti-cracking capacity. However, the effects of fiber type, morphology, and length on key cracking modes remain insufficiently understood, limiting rational fiber selection [...] Read more.
Cracking is a critical distress that reduces an asphalt pavement’s service life, and fiber reinforcement is an effective strategy to enhance anti-cracking capacity. However, the effects of fiber type, morphology, and length on key cracking modes remain insufficiently understood, limiting rational fiber selection in practice. This study systematically evaluated the influence of four representative fiber types on the anti-cracking performance of Stone Mastic Asphalt (SMA) mixture, combining mechanical testing and microstructural analysis. The fibers included lignin fiber (LF); polyester fiber (PF); chopped basalt fiber (CBF) with lengths of 3 mm, 6 mm, 9 mm; and flocculent basalt fiber (FBF). Key mechanical tests assessed specific cracking behaviors: three-point bending (low-temperature cracking), indirect tensile (tensile cracking), pre-cracked semi-circular bending (crack propagation), overlay (reflective cracking), and four-point bending (fatigue resistance) tests. A scanning electron microscopy (SEM) test characterized fiber morphology and fiber–asphalt interface interactions, revealing microstructural mechanisms underlying performance improvements. The results showed that all fibers improved anti-cracking performance, but their efficacy varied with fiber type, appearance, and length. PF exhibited the best low-temperature cracking resistance, with a 26.8% increase in bending strength and a 16.6% increase in maximum bending strain. For tensile and crack propagation resistance, 6 mm CBF and FBF outperformed the other fibers, with fracture energy increases of up to 53.2% (6 mm CBF) and CTindex improvements of 72.8% (FBF). FBF optimized reflective cracking resistance, increasing the loading cycles by 48.0%, while 6 mm CBF achieved the most significant fatigue life improvement (36.9%) by balancing rigidity and deformation. Additionally, SEM analysis confirmed that effective fiber dispersion and strong fiber–asphalt bonding were critical for enhancing stress transfer and inhibiting crack initiation/propagation. These findings provide quantitative insights into the relationship between fiber characteristics (type, morphology, length) and anti-cracking performance, offering practical guidance for rational fiber selection to improve pavement durability. Full article
(This article belongs to the Special Issue Polymer Materials for Pavement Applications)
Show Figures

Graphical abstract

26 pages, 8999 KB  
Article
Experimental Study on Overlay Tester of Asphalt Mixture Based on Discrete Element Method
by Jianhui Wei, Xiangyang Fan and Tao Fu
Coatings 2025, 15(9), 1097; https://doi.org/10.3390/coatings15091097 - 19 Sep 2025
Viewed by 433
Abstract
To evaluate the feasibility of a virtual overlay tester (OT), a modeling approach was proposed based on the discrete element method (DEM). Simulations were conducted on three types of asphalt mixtures across three different thickness conditions. Through the analysis of the load/displacement curves, [...] Read more.
To evaluate the feasibility of a virtual overlay tester (OT), a modeling approach was proposed based on the discrete element method (DEM). Simulations were conducted on three types of asphalt mixtures across three different thickness conditions. Through the analysis of the load/displacement curves, crack propagation paths, force chains, and contact force characteristics, it was observed that the peak loads decrease with increasing thicknesses, indicating a notable size effect. The complexity of the crack path was positively correlated with the particle size along the path and the fractal dimension. Coarse aggregates can inhibit crack propagation to some extent. Prior to reaching the peak load, compressive force chains in asphalt concrete-13 (AC13) and large stone porous asphalt mixture-30 (LSPM30) exhibited a symmetrical and divergent distribution along the crack, while tensile force chains formed an arch-like pattern. After the peak load, compressive force chains were symmetrically distributed in an arch shape along the crack. In stone mastic asphalt-13 (SMA13), compressive forces were transmitted along coarse aggregates, forming several continuous vertical paths. The proportion of strong compressive force chains to total compressive force chains across the three gradations ranged from 0.74 to 0.83, while the corresponding proportion for tensile force chains ranged from 0.72 to 0.78. Full article
(This article belongs to the Special Issue Novel Cleaner Materials for Pavements)
Show Figures

Figure 1

18 pages, 1918 KB  
Article
Development of Low Rolling Resistance Asphalt Mixtures with RAP and WMA Technologies
by Judita Škulteckė, Ovidijus Šernas, Donatas Čygas, Igoris Kravcovas, Laura Žalimienė and Rafal Mickevič
Buildings 2025, 15(17), 3203; https://doi.org/10.3390/buildings15173203 - 5 Sep 2025
Viewed by 616
Abstract
The development of sustainable and energy-efficient asphalt pavements is essential to address the growing demand for climate-neutral transportation infrastructure. This study investigates the structural design and functional performance of low rolling resistance asphalt mixtures utilizing reclaimed asphalt pavement (RAP) and warm mix asphalt [...] Read more.
The development of sustainable and energy-efficient asphalt pavements is essential to address the growing demand for climate-neutral transportation infrastructure. This study investigates the structural design and functional performance of low rolling resistance asphalt mixtures utilizing reclaimed asphalt pavement (RAP) and warm mix asphalt (WMA) technologies. Ten mixtures with WMA additive—including asphalt concrete (AC) and stone mastic asphalt (SMA) with and without RAP—were evaluated for volumetric and mechanical performance. Laboratory results show that RAP addition did not compromise compaction nor indirect tensile strength ratio (ITSR), and in some cases improved these properties. SMA and SMA RAP-modified mixtures achieved the highest resistance to rutting (as low as 5.0% rut depth), while AC and SMA mixtures both demonstrated low rolling resistance (coefficients of energy loss 0.00604–0.00636). Resistance to low-temperature cracking was strong for all mixtures, with thermal stress restrained specimen test (TSRST) fracture temperatures ranging from −32.8 °C to −36.0 °C. SMA mixtures generally exhibited superior resistance to fatigue (up to 63 με at 1 million cycles). Overall, three asphalt mixtures with different particle size distribution containing 14% RAP and a WMA additive (SMA 8 S_1 R, SMA 8 S_3 R, and AC 11 VS_2 R) demonstrated the best balance of rolling resistance, durability, and circularity, and are recommended for field trials to support climate-neutral and sustainable road infrastructure. These results encourage broader adoption of circular practices in road infrastructure projects, contributing to lower emissions and life-cycle costs. Full article
(This article belongs to the Special Issue Carbon-Neutral Infrastructure: 2nd Edition)
Show Figures

Figure 1

18 pages, 1955 KB  
Article
Dynamic Response Analysis of Steel Bridge Deck Pavement Using Analytical Methods
by Shuyao Yang, Zhigang Zhou, Yinghui Zhang and Kai Li
Coatings 2025, 15(9), 1019; https://doi.org/10.3390/coatings15091019 - 1 Sep 2025
Viewed by 539
Abstract
This study simplifies the local model of the orthotropic steel bridge deck pavement into a two-dimensional composite continuous beam. Based on the Modal Superposition Method and Duhamel Integration, an analytical solution for the dynamic response of the composite continuous beam under moving harmonic [...] Read more.
This study simplifies the local model of the orthotropic steel bridge deck pavement into a two-dimensional composite continuous beam. Based on the Modal Superposition Method and Duhamel Integration, an analytical solution for the dynamic response of the composite continuous beam under moving harmonic loads is derived. Using the UHPC (Ultra-High Performance Concrete)-SMA (Stone Mastic Asphalt) composite pavement as an example, the influence of structural parameters on the analytical results is investigated. The results demonstrate that the natural frequencies of the three-span continuous composite beam obtained from the analytical method exhibit a relative error of less than 10% compared to finite element modal analysis, indicating high consistency. Furthermore, the analytical solutions for four key indicators—deflection, bending stress, interlayer shear stress, and interlayer vertical tensile stress—closely align with finite element simulation results, confirming the reliability of the derived formula. Additionally, increasing the thickness of the steel plate, UHPC layer, or asphalt mixture pavement layer effectively reduces the peak values of all dynamic response indicators. Full article
(This article belongs to the Special Issue Novel Cleaner Materials for Pavements)
Show Figures

Figure 1

28 pages, 4471 KB  
Article
Utilizing Response Surface Methodology for Design Optimization of Stone Mastic Asphalt Containing Palm Oil Clinker Aggregates
by Ali Mohammed Babalghaith, Abdalrhman Milad, Waqas Rafiq, Shaban Shahzad, Suhana Koting, Ahmed Suliman B. Ali and Abdualmtalab Abdualaziz Ali
Eng 2025, 6(9), 213; https://doi.org/10.3390/eng6090213 - 1 Sep 2025
Viewed by 1983
Abstract
This study introduces a novel approach to enhance the sustainability of road pavement construction by utilizing palm oil clinker (POC), an industrial waste product, as a replacement for fine aggregates (passing 4.75 mm) in stone mastic asphalt (SMA) mixtures. Departing from conventional practices, [...] Read more.
This study introduces a novel approach to enhance the sustainability of road pavement construction by utilizing palm oil clinker (POC), an industrial waste product, as a replacement for fine aggregates (passing 4.75 mm) in stone mastic asphalt (SMA) mixtures. Departing from conventional practices, this research comprehensively evaluates the feasibility of using POC at varying replacement levels (0% to 100%) across a range of binder contents (5.0% to 7.0%). A significant contribution of this work is the application of Response Surface Methodology (RSM) to optimize the proportions of POC and binder content (BC), achieving target Marshall and volumetric properties for superior pavement performance. The results demonstrate that POC can effectively substitute fine aggregates in SMA mixtures, meeting all requirements for Marshall stability, flow, stiffness, and volumetric properties, even at a 100% replacement rate. Statistical analysis using RSM confirmed the model’s validity, exhibiting a high R-squared value (>0.80), significant p-values, and an adequate precision exceeding 4. Optimization analysis revealed that a 60% POC content with a 6% BC yields the most desirable combination for achieving optimal SMA mixture characteristics. Further validation through experimental testing showed a strong correlation with the theoretical RSM predictions, with an error margin below 5%. This research underscores the potential of POC as a sustainable alternative to traditional aggregates, paving the way for more environmentally friendly and cost-effective road construction practices while simultaneously addressing waste management challenges in the palm oil industry. Full article
(This article belongs to the Section Chemical, Civil and Environmental Engineering)
Show Figures

Figure 1

24 pages, 7969 KB  
Article
Optimizing Acoustic Performance of Semi-Dense Asphalt Mixtures Through Energy Dissipation Characterization
by Huaqing Lv, Gongfeng Xin, Weiwei Lu, Haihui Duan, Jinping Wang, Yi Yang, Chaoyue Rao and Ruiyao Jiang
Materials 2025, 18(17), 4086; https://doi.org/10.3390/ma18174086 - 1 Sep 2025
Viewed by 662
Abstract
Traffic-induced noise pollution is a significant environmental issue, driving the development of advanced noise-reducing pavement materials. Semi-dense graded asphalt mixtures (SDAMs) present a promising compromise, offering enhanced acoustic properties compared to conventional dense-graded asphalt mixtures while maintaining superior durability to porous asphalt mixtures. [...] Read more.
Traffic-induced noise pollution is a significant environmental issue, driving the development of advanced noise-reducing pavement materials. Semi-dense graded asphalt mixtures (SDAMs) present a promising compromise, offering enhanced acoustic properties compared to conventional dense-graded asphalt mixtures while maintaining superior durability to porous asphalt mixtures. However, the mechanism underlying the relationship between the energy dissipation characteristics and noise reduction effects of such mixtures remains unclear, which limits further optimization of their noise reduction performance. This study designed and prepared semi-dense graded noise-reducing asphalt mixtures SMA-6 TM, SMA-10 TM, and SMA-13 TM (SMA TM represents noise-reducing SMA mixture) based on traditional dense-graded asphalt mixtures SMA-6, SMA-10, and SMA-13, and conducted tests for water stability, high-temperature performance (60 °C), and low-temperature performance (−10 °C). Subsequently, energy loss parameters such as loss factor and damping ratio were calculated through dynamic modulus tests to characterize their energy dissipation properties. The mechanism linking the energy dissipation characteristics of semi-dense graded asphalt mixtures to noise reduction was investigated. Finally, the noise reduction effect was further verified through a tire free fall test and a close-proximity (CPX) method. The indoor test results indicate that the semi-dense mixtures exhibited a trade-off in performance: their dynamic stability was 11.1–11.3% lower and low-temperature performance decreased by 4.2% (SMA-13 TM) to 14.1% (SMA-6 TM), with moisture stability remaining comparable. Conversely, they demonstrated superior damping, with consistently higher loss factors and damping ratios. All mixtures reached peak damping at 20 °C, and the loss factor showed a strong positive correlation (R2 > 0.91) with energy dissipation. Field results from a test section showed that the optimized SMA-10 TM mixture yielded a significant tire–road noise reduction of 3–5 dB(A) relative to the SMA-13, while concurrently meeting key performance criteria for anti-water ability and durability. This study establishes a link between the energy dissipation in SDAM and their noise reduction efficacy. The findings provide a theoretical framework for optimizing mixture designs and support the wider application of SDAM as a practical noise mitigation solution. Full article
(This article belongs to the Section Construction and Building Materials)
Show Figures

Figure 1

22 pages, 12147 KB  
Technical Note
Effects of the Aggregate Shape and Petrography on the Durability of Stone Mastic Asphalt
by Alain Stony Bile Sondey, Vincent Aaron Maleriado, Helga Ros Fridgeirsdottir, Damian Serwin, Carl Christian Thodesen and Diego Maria Barbieri
Infrastructures 2025, 10(8), 198; https://doi.org/10.3390/infrastructures10080198 - 26 Jul 2025
Viewed by 889
Abstract
Compared to traditional dense asphalt concrete mixtures, stone mastic asphalt (SMA) generally offers superior performance in terms of its mechanical resistance and extended pavement lifespan. Focusing on the Norwegian scenario, this laboratory-based study investigated the durability of SMA considering the influence of the [...] Read more.
Compared to traditional dense asphalt concrete mixtures, stone mastic asphalt (SMA) generally offers superior performance in terms of its mechanical resistance and extended pavement lifespan. Focusing on the Norwegian scenario, this laboratory-based study investigated the durability of SMA considering the influence of the aggregate shape and petrography. The rock aggregates were classified according to three different-shaped refinement stages involving vertical shaft impact crushing. Further, the aggregates were sourced from three distinct locations (Jelsa, Tau and Dirdal) characterized by different petrographic origins: granodiorite, quartz diorite and granite, respectively. Two mixtures with maximum aggregate sizes of 16 mm (SMA 16) and 11 mm (SMA 11) were designed according to Norwegian standards and investigated in terms of their durability performance. In this regard, two main functional tests were performed for the asphalt mixture, namely resistance against permanent deformation and abrasion by studded tyres, and one for the asphalt mortar, namely water sensitivity. Overall, the best test results were related to the aggregates sourced from Jelsa and Tau, thus highlighting that the geological origin exerts a major impact on SMA’s durability performance. On the other hand, the different aggregate shapes related to the crushing refinement treatments seem to play an effective but secondary role. Full article
Show Figures

Figure 1

16 pages, 2504 KB  
Article
Thermal Field and High-Temperature Performance of Epoxy Resin System Steel Bridge Deck Pavement
by Rui Mao, Xingyu Gu, Jiwang Jiang, Zhu Zhang and Kaiwen Lei
Materials 2025, 18(13), 3109; https://doi.org/10.3390/ma18133109 - 1 Jul 2025
Viewed by 570
Abstract
Epoxy Resin System (ERS) steel bridge pavement, which comprises a resin asphalt (RA) base layer and a modified asphalt wearing course, offers cost efficiency and rapid installation. However, the combined effects of traffic loads and environmental conditions pose significant challenges, requiring greater high-temperature [...] Read more.
Epoxy Resin System (ERS) steel bridge pavement, which comprises a resin asphalt (RA) base layer and a modified asphalt wearing course, offers cost efficiency and rapid installation. However, the combined effects of traffic loads and environmental conditions pose significant challenges, requiring greater high-temperature stability than conventional pavements. The thermal sensitivity of resin materials and the use of conventional asphalt mixtures may weaken deformation resistance under elevated temperature conditions. This study investigates the thermal field distribution and high-temperature performance of ERS pavements under extreme conditions and explores temperature reduction strategies. A three-dimensional thermal field model developed using finite element analysis software analyzes interactions between the steel box girder and pavement layers. Based on simulation results, wheel tracking and dynamic creep tests confirm the superior performance of the RA05 mixture, with dynamic stability reaching 23,318 cycles/mm at 70 °C and a 2.1-fold improvement in rutting resistance in Stone Mastic Asphalt (SMA)-13 + RA05 composites. Model-driven optimization identifies that enhancing internal airflow within the steel box girder is possible without compromising its structural integrity. The cooling effect is particularly significant when the internal airflow aligns with ambient wind speeds (open-girder configuration). Surface peak temperatures can be reduced by up to 20 °C and high-temperature durations can be shortened by 3–7 h. Full article
Show Figures

Figure 1

23 pages, 4024 KB  
Article
Influence of Coal Bottom Ash as Fine Aggregate Replacement on the Mechanical Properties of Stone Mastic Asphalt
by Syakirah Afiza Mohammed, Suhana Koting, Ali Mohammed Babalghaith, Mohd Hafizan Md. Isa and Faridah Hanim Khairuddin
Appl. Sci. 2025, 15(12), 6826; https://doi.org/10.3390/app15126826 - 17 Jun 2025
Cited by 2 | Viewed by 1229
Abstract
Coal bottom ash (CBA) is a waste produced by burning coal that presents possible hazards to human well-being and the environment. Rapid economic expansion has increased the utilisation of CBA, resulting in a crisis concerning the disposal of this waste. By employing waste [...] Read more.
Coal bottom ash (CBA) is a waste produced by burning coal that presents possible hazards to human well-being and the environment. Rapid economic expansion has increased the utilisation of CBA, resulting in a crisis concerning the disposal of this waste. By employing waste as a replacement for natural materials, it is possible to achieve sustainable and environmentally friendly construction. This study assesses the effects of utilising CBA waste as a replacement for fine aggregate in stone mastic asphalt (SMA) pavement. Seven asphalt mixture proportions were designed, each of which employed a different percentage of CBA (0%, 10%, 20%, 30%, 50%, 70%, and 100%) as a fine aggregate replacement. The performance tests conducted in this research were the Cantabro durability test, resilient modulus test, dynamic creep test, and moisture susceptibility test. The findings showed an improvement in the durability and resistance to permanent deformation of the SMA mixtures with 30% and 50% CBA replacement, respectively. However, further increases in the CBA content caused a decrease in the durability and resistance to permanent deformation. Meanwhile, the stiffness and tensile strength ratio (TSR) value decrease with the use of CBA replacement at any percentage. However, the TSR value of the SMA mixtures with 50% or less CBA replacement was more than 80%, which meets the minimum requirement set by JKR. In conclusion, incorporating CBA into SMA mixture has a positive effect on certain mechanical properties, particularly its durability and resistance to permanent deformation at optimal replacement levels, highlighting its potential to be used as a sustainable material in asphalt pavement construction. Full article
(This article belongs to the Special Issue Sustainable Materials for Asphalt Pavements)
Show Figures

Figure 1

27 pages, 7784 KB  
Article
Performance and Mechanism Analysis of an Anti-Skid Wear Layer of Active Slow-Release Ice–Snow Melting Modified by Gels
by Yuanzhao Chen, Zhenxia Li, Tengteng Guo, Chenze Fang, Peng Guo, Chaohui Wang, Bing Bai, Weiguang Zhang, Haobo Yan and Qi Chen
Gels 2025, 11(6), 449; https://doi.org/10.3390/gels11060449 - 11 Jun 2025
Viewed by 805
Abstract
Winter pavement maintenance faces challenges in balancing large-scale upkeep and driving safety, particularly regarding the application of active slow-release materials. This study proposes a gel-modified salt-storing ceramsite asphalt mixture to enhance ice-melting capabilities through controlled salt release. By replacing a conventional coarse aggregate [...] Read more.
Winter pavement maintenance faces challenges in balancing large-scale upkeep and driving safety, particularly regarding the application of active slow-release materials. This study proposes a gel-modified salt-storing ceramsite asphalt mixture to enhance ice-melting capabilities through controlled salt release. By replacing a conventional coarse aggregate with salt-storing ceramsite in SMA-10 graded mixtures (0–80% content), we systematically evaluate its mechanical performance and de-icing functionality. The experimental results demonstrate that 40% salt-storing ceramsite content optimizes high-temperature stability while maintaining acceptable low-temperature performance and water resistance. Microstructural analysis reveals that silicone–acrylic emulsion forms a hydrophobic film on ceramsite surfaces, enabling uniform salt distribution and sustained release. The optimal 10% gel modification achieves effective salt retention and controlled release through pore-structure regulation. These findings establish a 40–60% salt-storing ceramsite content range as the practical range for winter pavement applications, offering insights into the design of durable snow-melting asphalt surfaces. Full article
(This article belongs to the Special Issue Synthesis, Properties, and Applications of Novel Polymer-Based Gels)
Show Figures

Figure 1

Back to TopTop