Determination of the Activity Coefficients of Components in a Di-2-ethylhexylphosphoric Acid–n-Hexane Binary System Using Gas Chromatography
Abstract
1. Introduction
2. Materials and Methods
2.1. Reagents
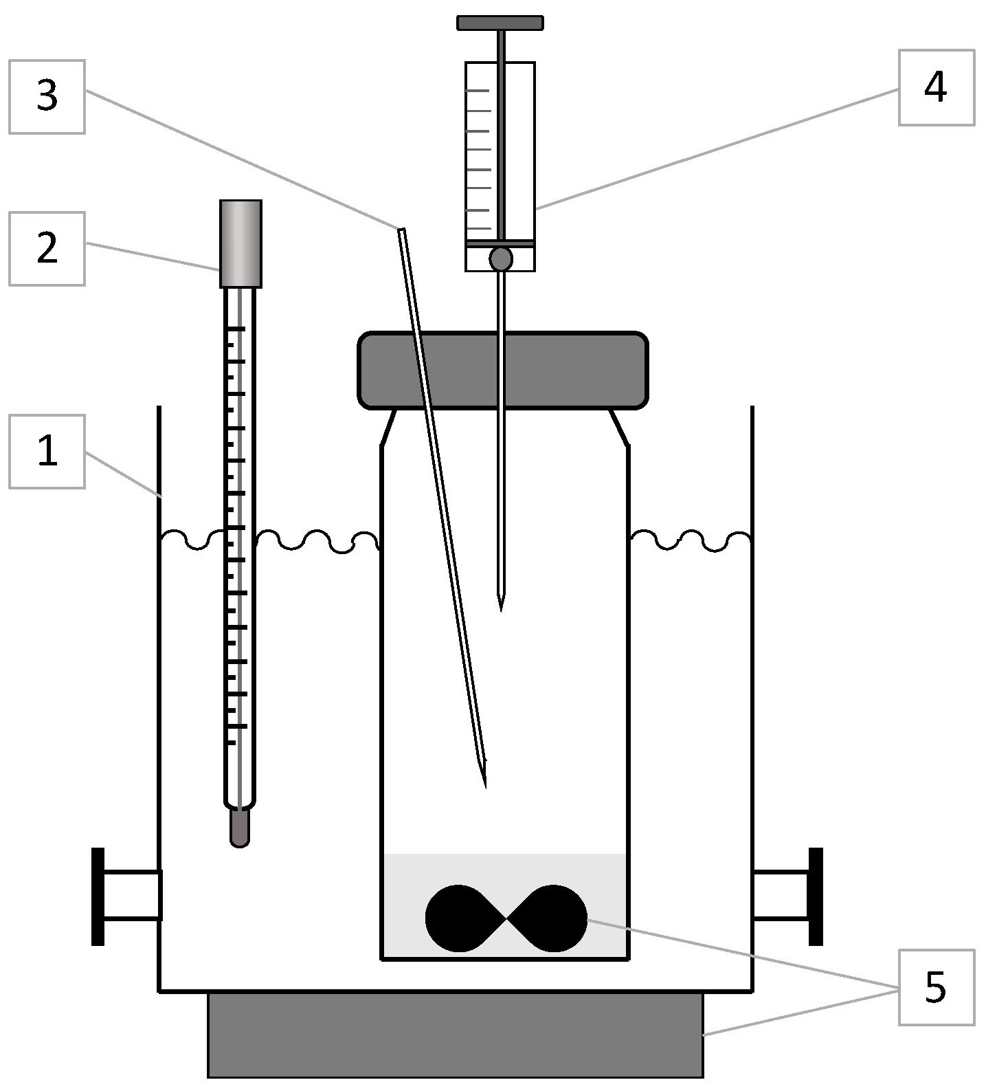
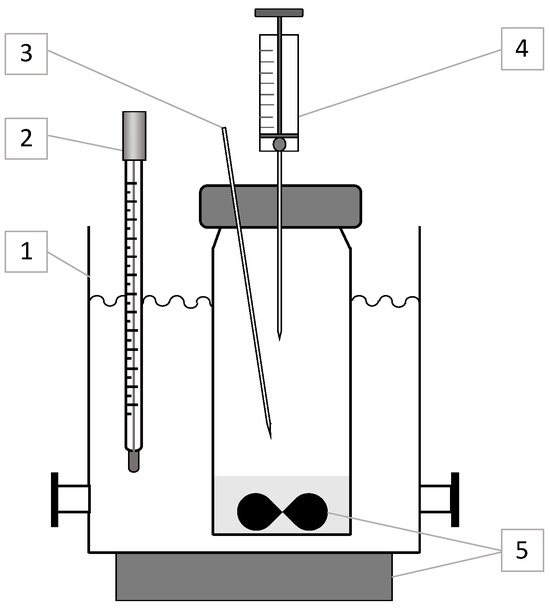
2.2. Gas Chromatography (GC) Method
2.3. Calibration of Detector and Methodology for Calculating Hexane Vapor Activity
2.4. Estimation of the GC Method Errors
2.5. Isopiestic (IP) Method
3. Results
4. Discussion
5. Conclusions
Author Contributions
Funding
Data Availability Statement
Conflicts of Interest
Abbreviations
| D2EHPA | Di-2-ethylhexylphosphoric acid | 
| GC | Gas chromatography | 
| IP | Isopiestic | 
| OM | Osmometric | 
| FID | Flame ionization detector | 
References
- Quinn, J.E.; Wilkins, D.; Soldenhoff, K.H. Solvent extraction of uranium from saline leach liquors using DEHPA/Alamine 336 mixed reagent. Hydrometallurgy 2013, 134–135, 74–79. [Google Scholar] [CrossRef]
- Tachimori, S. Synergistic extraction of americium with MEHPA-DEHPA mixed solvent from nitric acid solution. J. Radioanal. Chem. 1979, 49, 31–35. [Google Scholar] [CrossRef]
- Sreenivasulu, B.; Brahmananda Rao, C.V.S.; Suresh, A.; Sivaraman, N. Recovery of actinides from acidic waste solutions generated in research facilities using adsorption and extraction techniques. J. Radioanal. Nucl. Chem. 2022, 331, 3623–3632. [Google Scholar] [CrossRef]
- Lutskiy, D.S.; Lukyantseva, E.S.; Mikheeva, V.Y.; Grigorieva, L.V. Investigation of the extraction of samarium and gadolinium from leaching solutions of phosphorus-containing raw materials using solid extractants. Arab. J. Basic. Appl. Sci. 2023, 30, 68–73. [Google Scholar] [CrossRef]
- Chanturiya, V. Scientific substantiation and development of innovative processes for the extraction of zirconium and rare earth elements in the deep and comprehensive treatment of eudialyte concentrate. J. Min. Inst. 2022, 256, 505–516. [Google Scholar] [CrossRef]
- Liu, T.; Chen, J.; Li, H.; Li, K.; Li, D. Further improvement for separation of heavy rare earths by mixtures of acidic organophosphorus extractants. Hydrometallurgy 2019, 188, 73–80. [Google Scholar] [CrossRef]
- Noah, N.F.M.; Othman, N.; Kahar, I.N.S.; Suliman, S.S. Potential use of synergist D2EHPA/Cyanex 302 in kerosene system for reactive extraction: Zinc recovery and organic phase regeneration. Chem. Eng. Process 2022, 176, 108976. [Google Scholar] [CrossRef]
- Cortina, J.L.; Miralles, N.; Aguilar, M.; Sastre, A.M. Extraction studies of Zn(II), Cu(II) and Cd(II) with impregnated and Levextrel resins containing di(2-ethylhexyl) phosphoric acid (Lewatit 1026 Oc). Hydrometallurgy 1994, 36, 131–142. [Google Scholar] [CrossRef]
- Wagh, P.; Islam, S.Z.; Lamichhane, T.N.; Bhave, R.R.; Paranthaman, M.P. Separation of lithium from aluminum-containing clay mineral leachate solution using energy-efficient membrane solvent extraction. ACS Omega 2023, 8, 46523–46527. [Google Scholar] [CrossRef]
- Zante, G.; Trébouet, D.; Boltoeva, M. Solvent extraction of lithium from simulated shale gas produced water with a bifunctional ionic liquid. Appl. Geochem. 2020, 123, 104783. [Google Scholar] [CrossRef]
- Ahamed, A.M.; Swoboda, B.; Arora, Z.; Lansot, J.Y.; Chagnes, A. Low-carbon footprint diluents in solvent extraction for lithium-ion battery recycling. RSC Adv. 2023, 13, 23334–23345. [Google Scholar] [CrossRef] [PubMed]
- Miloudi, H.; Tayeb, A.; Boos, A.; Mehyou, Z.; Goetz-Grandmont, G.; Bengueddach, A. Preparation of silicas impregnated with HPBI, HPMSP and DEHPA and their application in the solid–liquid extraction of Cu(II) and Zn(II). Arab. J. Chem. 2017, 10, S1731–S1740. [Google Scholar] [CrossRef]
- Martins, J.M.; Guimarães, A.S.; Dutra, A.J.B.; Mansur, M.B. Hydrometallurgical separation of zinc and copper from waste brass ashes using solvent extraction with D2EHPA. J. Mater. Res. Technol. 2020, 9, 2319–2330. [Google Scholar] [CrossRef]
- Sujatha, S.; Rajamohan, N.; Vasseghian, Y.; Rajasimman, M. Conversion of waste cooking oil into value-added emulsion liquid membrane for enhanced extraction of lead: Performance evaluation and optimization. Chemosphere 2021, 284, 131385. [Google Scholar] [CrossRef]
- Tumialán, P.E.; Martinez, N.T.; Hinostroza, C.B.; Ruedas, D.P.R.A. Acid mine water treatment using neutralizer with adsorbent material. J. Min. Inst. 2023, 267, 381–387. [Google Scholar]
- Zubkova, O.S.; Kuchin, V.N.; Toropchina, M.A.; Ivkin, A.S. Potential application of saponite clay for production of drilling fluids. Int. J. Eng. 2024, 37, 2142–2149. [Google Scholar] [CrossRef]
- Antoninova, N.; Sobenin, A.; Usmanov, A.; Shepel, K. Assessment of the possibility of using iron-magnesium production waste for wastewater treatment from heavy metals (Cd2+, Zn2+, Co2+, Cu2+). J. Min. Inst. 2023, 260, 257–265. [Google Scholar] [CrossRef]
- Felitsyn, S.; Alfimova, N. Gold in biogenic apatites of the Baltic-Ladoga phosphorite basin. J. Min. Inst. 2022, 255, 470–475. [Google Scholar] [CrossRef]
- Cheremisina, O.V.; Gorbacheva, A.A.; Balandinsky, D.A.; Lo, Y.; Ponomareva, M.A. Synergistic effect of a mixture of ethoxyphosphoric esters and sodium oleate in aqueous solutions. Colloids. Surf. A 2024, 685, 133314. [Google Scholar] [CrossRef]
- Dalai, B.; Kar, P.; Dash, S.K.; Singh, S.K. A comparison study on molecular interaction of an acidic organophosphoric extractant with substituted aromatic hydrocarbon (p-xylene/toluene) at 303.15K. Biointerface Res. Appl. Chem. 2020, 11, 10052–10058. [Google Scholar] [CrossRef]
- Dalai, B.; Dash, S.K.; Singh, S.K.; Swain, N.; Swain, B.B. Ultrasonic and 31P NMR investigations of an acidic nuclear extractant with some monosubstituted benzenes. J. Chem. Thermodyn. 2016, 93, 143–150. [Google Scholar] [CrossRef]
- Baes, C.F., Jr. An isopiestic investigation of di-(2-ethylhexyl)-phosphoric acid (DPA) and tri-n-octylphosphineoxide (TPO) in n-octane. J. Phys. Chem. 1962, 66, 1629–1634. [Google Scholar] [CrossRef]
- Dalai, B.; Dash, S.K.; Singh, S.K.; Swain, N.; Swain, B.B. Physico-chemical properties of di-(2-ethylhexyl) phosphoric acid with apolar solvents from ultrasonic studies. Phys. Chem. Liq. 2012, 50, 242–253. [Google Scholar] [CrossRef]
- Dalai, B.; Dash, S.K.; Singh, S.K.; Nanda, B.B. Acoustic assessment in binary mixtures of a polar nuclear extractant, DEHPA with eight non polar diluents at 303.15K—A comparative study. Biointerface Res. Appl. Chem. 2020, 10, 5323–5331. [Google Scholar] [CrossRef]
- Srirachat, W.; Wannachod, T.; Pancharoen, U.; Kheawhom, S. Effect of polarity and temperature on the binary interaction between D2EHPA extractant and organic solvents (kerosene, n-heptane, chlorobenzene and 1-octanol): Experimental and thermodynamics. Fluid Phase Equilib. 2017, 434, 117–129. [Google Scholar] [CrossRef]
- Litvinova, T.E.; Tsareva, A.A.; Poltoratskaya, M.E.; Rudko, V.A. The mechanism and thermodynamics of ethyl alcohol sorption process on activated petroleum coke. J. Min. Inst. 2024, 268, 625–636. [Google Scholar]
- Fialkovsky, I.S.; Lintinova, T.E.; Lutsky, D.S.; Alexeev, A.A. Determination of the parameters of thermodynamic stability constants of bromide complexes of rare earth metals for modeling the optimal regimes of hydrometallurgical extraction. Arab. J. Basic. Appl. Sci. 2022, 29, 1–9. [Google Scholar] [CrossRef]
- Kondratev, S.A.; Khamzina, T.A. Improvement of concentrate quality in flotation of low-rank coal. J. Min. Inst. 2024, 265, 65–77. [Google Scholar]
- Maksimova, V.; Krasavtseva, E.; Savchenko, Y.; Ikkonen, P.; Elizarova, I.; Masloboev, V.; Makarov, D. Study of the composition and properties of the beneficiation tailings of currently produced loparite ores. J. Min. Inst. 2022, 256, 642–650. [Google Scholar] [CrossRef]
- Grigorash, D.Y.; Kurdakova, S.V.; Kovalenko, N.A.; Moiseev, A.E.; Uspenskaya, I.A. Experimental study and modeling of vapor–liquid equilibria and excess molar volumes in the di-(2-ethylhexyl)phosphoric acid-toluene (cyclohexane, hexane, heptane) systems. J. Chem. Thermodyn. 2021, 163, 106608. [Google Scholar] [CrossRef]
- Gray, M.F.; Zalupski, P.; Nilsson, M. Determination of activity coefficients of di-(2-ethylhexyl) phosphoric acid dimer in select organic solvents using vapor phase osmometry. Solvent Extr. Ion Exch. 2013, 31, 550–563. [Google Scholar] [CrossRef]
- Gray, M.; Zalupski, P.; Nilsson, M. Activity coefficients of di-(2-ethylhexyl) phosphoric acid in select diluents. Procedia Chem. 2012, 7, 209–214. [Google Scholar] [CrossRef][Green Version]
- Carruth, G.F.; Kobayashi, R. Vapor pressure of normal paraffins ethane through n-decane from their triple points to about 10 mm mercury. J. Chem. Eng. Data 1973, 18, 115–126. [Google Scholar] [CrossRef]
- Danesi, P.R.; Vandegrift, G.F. Activity coefficients of bis(2-ethylhexyl) phosphoric acid in n-dodecane. Inorg. Nucl. Chem. Lett. 1981, 17, 109–115. [Google Scholar] [CrossRef]
- Myers, A.L.; McDowell, W.J.; Coleman, C.F. Degree of polymerization of di(2-ethylhexyl) phosphoric acid and sodium di(2-ethylhexyl) phosphate in wet benzene by differential vapour-pressure measurements. J. Inorg. Nucl. Chem. 1964, 26, 2005–2011. [Google Scholar] [CrossRef]
- Bondi, A. Physical Properties of Molecular Crystals, Liquids, and Glasses, 1st ed.; Wiley: New York, NY, USA, 1968; pp. 1–512. [Google Scholar]
- Wittig, R.; Lohmann, J.; Gmehling, J. Vapor−liquid equilibria by UNIFAC group contribution. 6. Revision and extension. Ind. Eng. Chem. Res. 2003, 42, 183–188. [Google Scholar] [CrossRef]
- Kolarik, Z. Review: Dissociation, self-association, and partition of monoacidic organophosphorus extractants. Solvent Extr. Ion Exch. 2010, 28, 707–763. [Google Scholar] [CrossRef]
- Jedináková-Křížová, V.; Proyaev, V.; Dvořák, Z. Methods for evaluating the association of some extractants in low polarity solvents. J. Radioanal. Nucl. Chem. Artic. 1994, 183, 33–47. [Google Scholar] [CrossRef]




| Parameter | Value | 
|---|---|
| Injector temperature | 473 K | 
| Oven temperature | 473 K | 
| Detector temperature | 523 K | 
| Carrier gas, flow rate | Helium, 5.4 mL/min | 
| Make-up gas flow rate | 8 mL/min | 
| Split ratio | 1:10 | 
| H2 flow to the detector | 40 mL/min | 
| Air flow to the detector | 300 mL/min | 
| Range | 3 | 
| GC Method | IP Method | |||||
|---|---|---|---|---|---|---|
| x1 | C (mg/L) | a1 | γ1 | x1 | a1 | γ1 | 
| 1.000 | 570.5 | 1.000 | 1.000 | 0.99 | 0.988 | 0.998 | 
| 0.800 | 511.2 | 0.893 | 1.120 | 0.869 | 0.912 | 1.049 | 
| 0.666 | 441.6 | 0.774 | 1.162 | 0.865 | 0.904 | 1.045 | 
| 0.628 | 445.2 | 0.780 | 1.244 | 0.735 | 0.824 | 1.121 | 
| 0.505 | 371.4 | 0.651 | 1.289 | 0.722 | 0.830 | 1.150 | 
| 0.353 | 257.8 | 0.452 | 1.279 | 0.598 | 0.736 | 1.231 | 
| 0.247 | 177.0 | 0.310 | 1.255 | 0.506 | 0.639 | 1.263 | 
| 0.206 | 146.7 | 0.257 | 1.249 | 0.497 | 0.636 | 1.280 | 
| 0.158 | 109.0 | 0.191 | 1.210 | 0.407 | 0.550 | 1.351 | 
| 0.110 | 75.8 | 0.133 | 1.207 | 0.412 | 0.528 | 1.282 | 
| 0.056 | 38.1 | 0.067 | 1.183 | 0.399 | 0.525 | 1.316 | 
| 0.326 | 0.442 | 1.356 | ||||
| 0.311 | 0.434 | 1.395 | ||||
| 0.225 | 0.318 | 1.413 | ||||
| 0.141 | 0.211 | 1.496 | ||||
| Losses of Vessel | D2EHPA–Hexane | Dodecane–Hexane | ∆m1 + ∆m2 | α 3 | |||||||
|---|---|---|---|---|---|---|---|---|---|---|---|
| mD2EHPA, mg | minit 1, mg | mfinal 2, mg | ∆m1, mg | mdodecane, mg | minit 1, mg | mfinal 2, mg | ∆m2, mg | ||||
| 1 | <1 mg | 355.9 | 365.4 | 263.4 | −102.0 | 238.4 | 480.4 | 563.2 | 82.8 | –19.2 | 4.3 | 
| 2 | <1 mg | 865.6 | 54.1 | 37.8 | −16.3 | 812.2 | 103.7 | 109.6 | 5.9 | –10.4 | 0.57 | 
| Group | r | q | Reference | 
|---|---|---|---|
| (HA)2 1 | 25.88 | 22 | [36] | 
| CH3 | 0.9011 | 0.848 | [37] | 
| CH2 | 0.6744 | 0.540 | [37] | 
| CH | 0.4469 | 0.228 | [37] | 
| x1 | γ1 | γ2 | x1 | γ1 | γ2 | 
|---|---|---|---|---|---|
| 0.01 | 1.202 | 0.99999 | 0.6 | 1.250 | 1.002 | 
| 0.02 | 1.204 | 0.99996 | 0.7 | 1.221 | 1.047 | 
| 0.03 | 1.206 | 0.99992 | 0.8 | 1.163 | 1.199 | 
| 0.04 | 1.209 | 0.99985 | 0.9 | 1.088 | 1.861 | 
| 0.05 | 1.211 | 0.99977 | 0.95 | 1.038 | 3.44 | 
| 0.1 | 1.221 | 0.9991 | 0.96 | 1.028 | 4.234 | 
| 0.2 | 1.239 | 0.997 | 0.97 | 1.018 | 5.486 | 
| 0.3 | 1.253 | 0.993 | 0.98 | 1.010 | 7.649 | 
| 0.4 | 1.262 | 0.989 | 0.99 | 1.003 | 11.901 | 
| 0.5 | 1.262 | 0.990 | 1 | 1 | 22.107 | 
| Disclaimer/Publisher’s Note: The statements, opinions and data contained in all publications are solely those of the individual author(s) and contributor(s) and not of MDPI and/or the editor(s). MDPI and/or the editor(s) disclaim responsibility for any injury to people or property resulting from any ideas, methods, instructions or products referred to in the content. | 
© 2025 by the authors. Licensee MDPI, Basel, Switzerland. This article is an open access article distributed under the terms and conditions of the Creative Commons Attribution (CC BY) license (https://creativecommons.org/licenses/by/4.0/).
Share and Cite
Povarov, V.G.; Cheremisina, O.V.; Alferova, D.A.; Fedorov, A.T. Determination of the Activity Coefficients of Components in a Di-2-ethylhexylphosphoric Acid–n-Hexane Binary System Using Gas Chromatography. Chemistry 2025, 7, 92. https://doi.org/10.3390/chemistry7030092
Povarov VG, Cheremisina OV, Alferova DA, Fedorov AT. Determination of the Activity Coefficients of Components in a Di-2-ethylhexylphosphoric Acid–n-Hexane Binary System Using Gas Chromatography. Chemistry. 2025; 7(3):92. https://doi.org/10.3390/chemistry7030092
Chicago/Turabian StylePovarov, Vladimir Glebovich, Olga Vladimirovna Cheremisina, Daria Artemovna Alferova, and Aleksandr Tomasovich Fedorov. 2025. "Determination of the Activity Coefficients of Components in a Di-2-ethylhexylphosphoric Acid–n-Hexane Binary System Using Gas Chromatography" Chemistry 7, no. 3: 92. https://doi.org/10.3390/chemistry7030092
APA StylePovarov, V. G., Cheremisina, O. V., Alferova, D. A., & Fedorov, A. T. (2025). Determination of the Activity Coefficients of Components in a Di-2-ethylhexylphosphoric Acid–n-Hexane Binary System Using Gas Chromatography. Chemistry, 7(3), 92. https://doi.org/10.3390/chemistry7030092
 
         
                                                

 
       