Abstract
The interaction between nanoparticles and cationic surfactants is an exciting and emerging field in interfacial science. This area of research holds significant promise, linking fundamental principles to practical applications in a variety of industries, including chemical processes, biomedical applications and the petroleum industry. This study explores the interaction between dodecyltrimethylammonium bromide (DoTAB) and silica (SiO2) nanoparticles, investigating their influence on dynamic interfacial properties and foam characteristics. Through equilibrium and dynamic surface tension measurements, along with examining the dilational visco-elasticity behavior, this research reveals the complex surface behavior of DoTAB/SiO2 mixtures compared to individual surfactant solutions. The foamability and stability experiments indicate that the addition of SiO2 significantly improves the foam stability. Notably, stable foams are achieved at low SiO2 concentrations, suggesting a cost-effective approach to enhancing the foam stability. This study identifies the optimal stability conditions for 12 mM DoTAB solutions, emphasizing the crucial role of the critical aggregation concentration region. These findings offer valuable insights for designing surfactant-nanoparticle formulations to enhance foam performance in various industrial applications.
1. Introduction
Mixtures of surfactants and nanoparticles, which have been recognized as complex fluid systems with broad implications for different technological applications, represent a rapidly expanding area of research. Nanoparticle surface characteristics, such as charge, chemical composition, form and structure, are key to their unique properties at the nanoscale [1,2,3]. This encourages research into surface active agents, including classical surfactants, proteins and polymers, to improve and control the properties of nanoparticles [4,5,6,7]. Such enhancements may reveal new properties or provide control over unexpected behavior. To achieve this goal, a thorough understanding of the interactions between surfactants and nanoparticles in bulk and at interfaces is paramount. Complexes of surfactants and nanoparticles can act as innovative surface-modifying agents, providing the stabilization of dispersed systems such as foams and emulsions [8,9,10,11].
Nanoparticles such as carbon nanotubes, metal oxides (e.g., TiO2 and ZnO) and graphene oxide have been utilized for their distinct properties that contribute to improved foam and emulsion stability [1,2,4]. Untreated particles such as hydrophilic silica typically do not exhibit surface activity at liquid interfaces. However, the interfacial properties of the liquid may be greatly influenced by their application to a system containing surfactants. They may affect the surface activity of surfactants, or they can be activated by adsorbed surfactants, which alter their hydrophilic and hydrophobic properties. This phenomenon has been observed in several studies with combinations of nanoparticles and surfactants [12,13,14,15,16,17]. Nano-silica (SiO2) is used as a typical hydrophilic nanoparticle, which has Si–OH-2 (Silicon hydroxyl groups) on the surface [18]. Nano-silica is easy to obtain and has synergistic effects with surfactants as a foam stabilizer [19]. The foam stabilizes through the increase in the apparent viscosity and the decrease in interfacial tension and, hence, the increase in the surface dilational visco-elasticity, which strengthens the liquid holdup of the foam. A decrease in interfacial tension has a direct effect on the way foam drains. It reduces the force that moves liquid from the bubbles to the Plateau borders of the foam, which slows down the drainage process and helps maintain a higher amount of liquid inside the foam’s structure. This slower drainage rate is important for extending the foam’s lifetime and keeping it stable. Hydrophilic nanoparticles adsorb surfactants, becoming moderately hydrophobic. This increases the detachment energy of the particles at the lamellae and enhances mechanical strength, thereby reducing film drainage and bubble coalescence [18]. Moreover, the surface of silica nanoparticles can be easily modified, allowing for the adjustment of their hydrophilic or hydrophobic characteristics to suit specific applications. This modifiability facilitates a tailored interaction with surfactants, enhancing the stability and longevity of foams and emulsions.
The synergistic effect on the stability of foams/emulsions in the presence of nanoparticles, as shown in [17,18,19,20,21,22,23,24,25,26], extends across various surfactant classes in binary systems. Cationic surfactants, such as cetyltrimethylammonium bromide (CTAB), have been studied for their enhanced interaction with negatively charged nanoparticles, improving foam stability through electrostatic interaction mechanisms [27,28]. Anionic surfactants, including sodium dodecyl sulfate (SDS) and sodium lauryl ether sulfate (SLES), interact with positively charged or neutral nanoparticles, affecting the properties and stability of foams and emulsions by forming complexes that modify the interfacial behavior [9,12,14]. Nonionic surfactants, such as Triton X-100 and members of the Tween series, have also been explored, particularly for their ability to stabilize nanoparticles without the need for electrostatic interactions, thereby offering a gentler approach for sensitive applications and contributing to the formulation and stability of emulsions [5,6]. These investigations highlight the diverse potential of surfactant–nanoparticle combinations in enhancing the performance and stability of foam-based systems.
The electrostatic interaction between the negatively charged particle surface and positively charged surfactants is responsible for adsorption at the interface. This interaction increases surfactant adsorption on the surface of a particle, thereby increasing its hydrophobicity. Notably, complex systems containing silica nanoparticles and cationic surfactants have been extensively studied, showing that charged silica nanoparticles significantly reduce the effectiveness of cationic surfactant solutions at the water–air interface [27,28,29]. Nevertheless, there are only a few studies that have suggested that silica nanoparticles can reduce the surface tension of cationic surfactant solutions at lower or higher surfactant concentrations [16,30,31], and this is illustrated by the complex nature of these interactions. In particular, the surfactant to nanoparticle mixing ratios and the nanoparticle size and concentration strongly influence the properties of these systems.
Previous research has delved into the rheological properties and stability of colloidal systems, emphasizing the influential role of nanoparticles [18,19,20,21]. These contributions underscore the evolving landscape of nanoparticle/surfactant research, highlighting the critical role of dynamic studies in advancing the application of these systems across various industries. Studies involving nanoparticle–surfactant systems have provided valuable insights, elucidating correlations between foam stability and surface tension.
However, the existing knowledge base for nanoparticle/surfactant interactions, especially with DoTAB/SiO2, is still evolving. The literature reveals a lack of systematic investigations into the structure of complexes and the associated dynamics of adsorption, particularly in the context of foamability and foam stability. Building on the identified gaps in the current research landscape regarding DoTAB/SiO2 interactions, our study is founded on the hypothesis that the interplay between silica nanoparticles and the cationic surfactant DoTAB can significantly modify the dynamic surface tension and dilational elasticity of their mixtures, thereby improving foam stability and foamability. Enhanced dynamic surface tension, in the context of our study, means a greater efficiency of the surfactant–nanoparticle mixtures in reducing the dynamical surface tension. This leads to the formation of more stable and durable foams, as the mixtures can better resist the stresses and strains during foam formation and contribute to the synergistic effects between the DoTAB molecules and silica nanoparticles. We posit that the unique surface properties of SiO2 nanoparticles, when combined with DoTAB, can lead to the formation of more structured and resilient interfacial films. These enhanced films are expected to exhibit greater mechanical stress and deformation resistance, a key factor in prolonging foam lifetime. This study aims to investigate the dynamic surface tension and dilational visco-elasticity of DoTAB-SiO2 nanoparticle/surfactant mixed solutions, providing insights into their interfacial properties and foam behavior.
2. Materials and Methods
2.1. Materials
The cationic surfactant DoTAB, with a molecular weight of 308.2 g/mol and a purity of 99%, along with fumed silica (SiO2) nanoparticles, were purchased from Sigma-Aldrich. The specified average size of the silica nanoparticles was 12–15 nm, which refers to the primary particle size as provided by the supplier. The stock solutions of the surfactant were prepared in distilled water. The prepared DoTAB solution was added drop-by-drop to the 0.2 wt% silicon dioxide particle suspension, and the mixture was stirred by a magnetic stirrer at 400 rpm for 30 min. A 1:1 volume ratio of the DoTAB and SiO2 stock solutions at the given concentrations was used for the preparation of the DoTAB/SiO2 mixed solutions.
All experiments were performed at room temperature (25 °C), and the interfacial tension of the pure air/water interface at room temperature was about 72.0 mN/m.
2.2. Methods
2.2.1. Dynamic Surface Tension and Dilational Visco-Elasticity Measurements
The dynamic surface tension and dilatational visco-elasticity of the mixed solutions of the nanoparticles and surfactant were measured using a drop profile analysis tensiometer (PAT-1, SINTERFACE Technologies, Berlin, Germany). The foundation of the setup and the experimental protocol are described in the literature [32]. Additionally, the surface visco-elasticity was measured through volume/area oscillations of the solution drop with a specific amplitude and frequency, followed by Fourier transform analysis to determine changes in surface tension during oscillations. To provide sinusoidal perturbation and exclude nonlinear response, the amplitude and frequency range of these harmonic oscillations were taken to be around 7% of the initial surface area A of the drop at frequencies f of 0.01–0.1 Hz [33,34].
According to the following basic definition, the dilatational surface elasticity, ε, is calculated:
where δγ is surface tension variation during droplet surface area oscillations with an applied amplitude δA. ω = 2πf is the circular frequency.
2.2.2. Foamability and Foam Stability Measurements
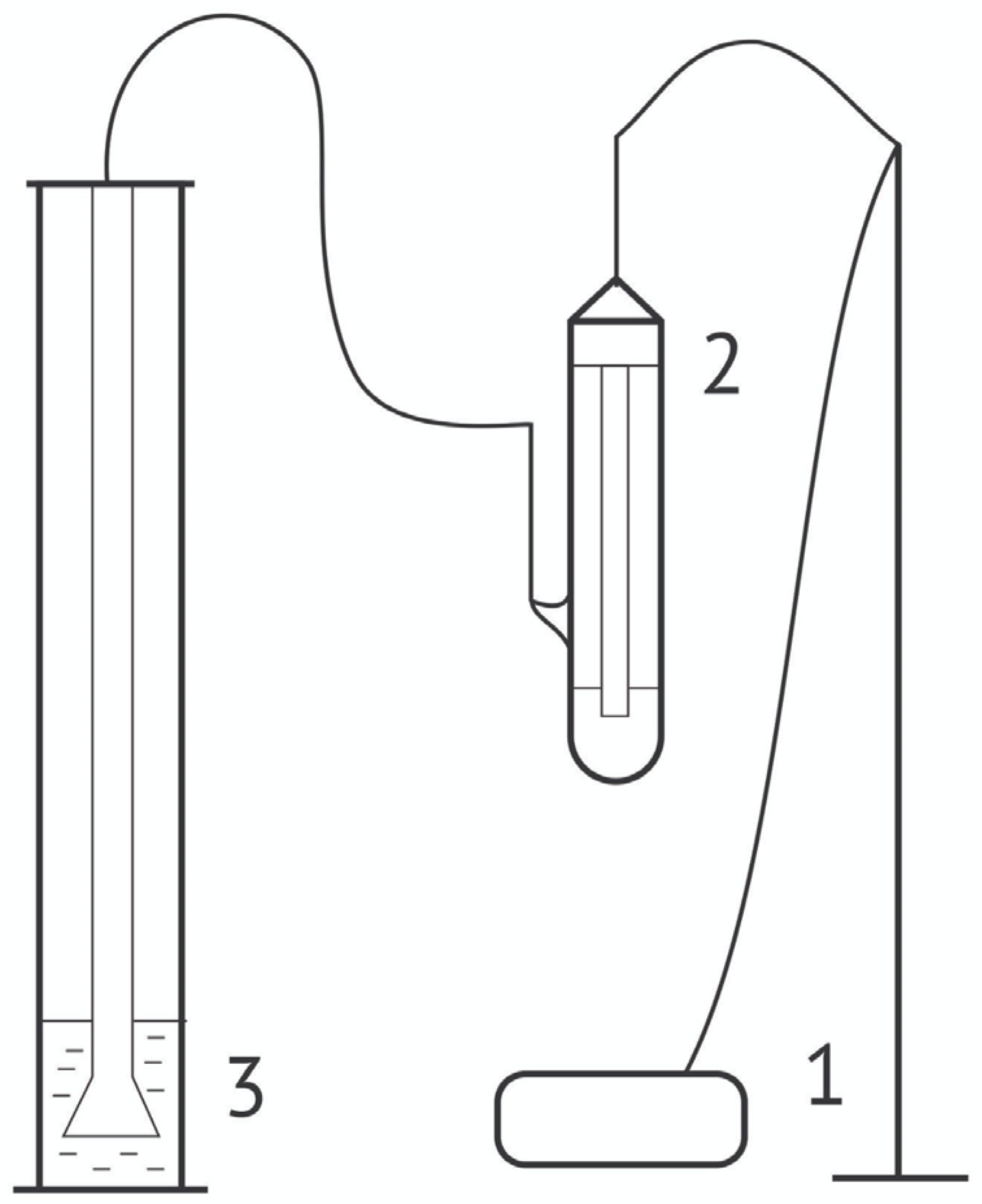
Foam was obtained using the laboratory setup shown in Figure 1 to determine foam properties. First of all, it includes a micro compressor (1), through which air is supplied to the humidifier (2), to which a tube with a filter (3) is attached, the polytetrafluoroethylene membrane pore sizes of which vary from 40 to 100 μm. To obtain foam, 20 mL of foaming solution is poured into a 600 mL cylinder. Using a micro compressor, the humidified air is bubbled through the solution for 1 min at an air flow rate of 0.5 L/min, after which the volume of foam produced () is measured over a period of time. In the experiment, as the foam begins to settle or degrade, the liquid component of the foam gradually separates and drains downward. This liquid flow occurs through the interconnected channels within the foam structure. Once the liquid reaches the bottom of the cylinder, it collects there. The volume of this collected liquid, referred to as , is then measured. This measurement is crucial for calculating the true volume of the foam, as it accounts for the liquid that has drained out from the foam body. The foam volume is calculated using the following equation [35]:
Figure 1.
A laboratory setup to determine foamability and foam stability. 1—micro-compressor; 2—humidifier; 3—a tube with a filter.
The experiment is repeated with each of the prepared solutions, setting the time t1/2, when the maximum volume of the foam decreases by half. Initially, the height of the foam is measured at one-minute intervals. This measurement frequency is performed to capture the rapid changes that occur in the early stages of foam decay. As the foam stabilizes or breaks down more slowly, the interval between measurements is extended to every 5–10 min. This change in measurement frequency reflects the slower rate of change in the foam’s height during the later stages of the study. The experiment is carried out at room temperature.
The percentage of foam stability is calculated using the following formula:
Here, represents the volume of foam remaining at 5 min after termination of the foam formation, and is the volume of foam at time t = 0. This provides a normalized measure of the foam decay, enabling comparisons across different formulations and conditions.
3. Results
The error bars represented in all figures are derived from multiple measurements. Specifically, we performed a series of independent experiments for each condition tested to calculate the standard deviation, which is depicted as error bars.
3.1. Equilibrium Surface Tension
The equilibrium surface tension of DoTAB solutions in the concentration range from 0.01 mM to 20 mM, with a constant concentration of SiO2 nanoparticles at 0.1 wt%, is measured, as shown in Figure 2. As illustrated in the figure, there is a change in the surface tension isotherm when SiO2 nanoparticles are introduced into the DoTAB solution. Specifically, a decrease in surface tension was evident, starting at a DoTAB concentration of 6 mM and reaching its maximum decrease at 12 mM. The observed decrease in surface tension with the addition of SiO2 nanoparticles signifies an alteration in the composition of the liquid–gas interfacial layer.
Figure 2.
Surface tension isotherm of DoTAB and DoTAB/SiO2 mixtures with 0.1 wt% SiO2.
The concentration-dependent behavior observed in the isotherm highlights the sensitivity of the system to variations in DoTAB concentrations. Notably, the maximum decrease in surface tension at 12 mM indicates a critical point where the interactions between DoTAB and SiO2 are most pronounced. These findings prompt discussions about the specific molecular interactions occurring at the liquid–gas interface, highlighting the potential role of SiO2 in influencing the packing and orientation of DoTAB molecules. The observed trend provides the foundation for further discussions on the molecular mechanisms governing the surface behavior and complex formation in this nanoparticle–surfactant interaction.
From these isotherms for DoTAB and DoTAB + SiO2 systems, the CMC (critical micelle concentration) was determined, and the values of surface activity at the CMC (), Gibbs maximum adsorption (Γ) and area (), occupied by the surfactant molecule both in the presence and absence of SiO2 (Table 1), were calculated. Also presented are the values of the standard free energy of micelle formation and adsorption at the water–air interface. For calculating the parameters of mixtures at the CMC, the following relationships [36] were used:
where is the gas constant; is the temperature; and are the surface pressure and the area occupied by a surfactant molecule in the adsorption layer at the CMC, respectively; and is Avogadro’s number.
Table 1.
Calculated surface characteristics of DoTAB and DoTAB + SiO2 mixture at the liquid/air interface.
Table 1 shows the surface characteristics of pure DoTAB and DoTAB combined with SiO2 nanoparticles at the liquid/air interface, revealing their interplay. While the CMC values are similar for both systems, indicating that SiO2 nanoparticles have a minimal impact on the critical concentration for micelle formation of DoTAB, the presence of nanoparticles slightly increases the CMC, which could be attributed to their adsorption onto the surface of the SiO2 particles. The measured surface tension at the CMC () is marginally lower for the DoTAB + SiO2 mixture compared to DoTAB alone. This suggests that SiO2 nanoparticles may facilitate the formation of surfactant–nanoparticle associates at the interface, thereby enhancing the surface activity of the system. In the presence of nanoparticles, the Gibbs free energy changes for micellization () and adsorption () exhibit a slight decrease and increase, respectively. This indicates that micelle formation becomes more favorable, but the adsorption dynamics becomes slightly less favorable. The reason for this nuanced behavior could be the co-adsorption of DoTAB and SiO2 nanoparticles, which results in a more complex interfacial structure. The adsorption parameter (Γ) and the calculated minimum surface area per molecule at the CMC () both increase for the DoTAB + SiO2 system, which could be indicative of a denser packing induced by the nanoparticles’ role in structuring the interface.
These findings imply that while the SiO2 nanoparticles do not significantly disrupt micelle formation, they do contribute to the formation of associates and affect surfactant–nanoparticle interfacial co-adsorption, leading to decreased surface tensions. This supports the presence of associates at the interface and suggests complex interfacial behaviors in surfactant–nanoparticle systems. Further study is required to elucidate the potential for a secondary surfactant corona formation around the nanoparticles, which would be indicated by an increase in surface tension at higher surfactant concentrations, thereby enhancing the hydrophilicity of the nanoparticles.
3.2. Dynamic Surface Tension
Examining the dynamic surface tension values is essential for gaining a comprehensive understanding of the interfacial properties of nanoparticle–surfactant mixed solutions. Figure 3 offers insights into the dynamic surface tension behavior by comparing pure DoTAB solutions with those containing SiO2 nanoparticles at a constant concentration of 0.1 wt%.
Figure 3.
Comparison of dynamic surface tensions for pure DoTAB and DoTAB/SiO2 (0.1 wt%) mixed solutions.
Similarly to the equilibrium surface tension, the dynamic surface tension values provide valuable information for practical applications. In the context of our study, we maintain a constant concentration of SiO2 nanoparticles (0.1 wt%) while varying the DoTAB concentration from 0.01 mM to 16 mM. These concentrations were specifically chosen to span the range below, at and above the critical micelle concentration (CMC) of DoTAB. This approach allows for a comprehensive investigation of the surfactant’s behavior in the absence and presence of micelles, as well as an examination of the effects of nanoparticle addition on the surfactant’s micellization and surface activity characteristics. The dynamic surface tension measurements allow us to explore the behavior of the DoTAB-SiO2 system over time, shedding light on the kinetics of adsorption and potential complex formation at the liquid–gas interface.
For low DoTAB concentrations (0.01 mM), the dynamic surface tension approaches values resembling those of pure water, indicating minimal surface activity of the formed DoTAB-SiO2 complexes. This aligns with the idea that, at low surfactant concentrations, the number of free DoTAB molecules in the bulk is negligible. Further discussion of these aspects can be found in Section 3.3.
3.3. Elasticity Measurements
The surface dilational visco-elasticity measurements, as illustrated in Figure 4, were conducted at a frequency of 0.1 Hz for both pure DoTAB solutions and those mixed with SiO2 nanoparticles. These measurements provide valuable insights into the visco-elastic properties of the interfacial layer formed by these systems. Regarding the concentration of nanoparticles (0.1 wt%), the results show a remarkable trend with DoTAB concentration ranging from 0.01 to 16 mM. A distinct peak in elasticity is observed around the DoTAB concentration of 12 mM. This peak signifies the point at which the maximum DoTAB/SiO2 complexes are adsorbed, indicating the slower dynamics of adsorption/desorption for the larger complexes compared to the smaller single DoTAB molecules. This equilibrium state is crucial for maintaining the stability and characteristics of the interfacial layer, as presented in Figure 3. For lower DoTAB concentrations, where the adsorbed layer is diluted, minimal changes in surface tension are noted during the measurement. In contrast, at higher DoTAB concentrations, a closely packed, yet highly dynamic DoTAB adsorbed layer, is formed.
Figure 4.
Surface dilational visco-elasticity measurements (at F = 0.1 Hz) for pure DoTAB and mixed DoTAB/SiO2 solutions with 0.1 wt% SiO2.
Figure 5 demonstrates the elasticity measured for solutions of DoTAB alone and in combination with SiO2 nanoparticles at various frequencies, highlighting the viscoelastic properties of these mixtures at the liquid–gas interface. In both DoTAB and DoTAB/SiO2 mixed systems, a clear trend of increasing elasticity with frequency indicates a more elastic interfacial film as the deformation rate increases. The presence of SiO2 nanoparticles enhances this elasticity, particularly at higher DoTAB concentrations (16 mM and 12 mM), which suggests the formation of a more structured and rigid interfacial film, likely due to the interactions between the surfactant molecules and nanoparticles. Notably, the elasticity of the DoTAB/SiO2 mixture shows a significant increase starting from a surfactant concentration of 12 mM, which can be attributed to the Critical Association Concentration (CAC). Above this concentration, there appears to be a synergistic effect whereby the SiO2 nanoparticles and DoTAB molecules associate more effectively, creating a composite interfacial structure that exhibits enhanced resistance to deformation. This increased elasticity at concentrations above the CAC highlights the importance of surfactant–nanoparticle interactions in modifying the mechanical properties of the interface, which is relevant for applications that depend on the stability and longevity of foams.
Figure 5.
Surface dilational visco-elasticity measurements at different frequencies for DoTAB and DoTAB/SiO2 mixed solutions with 0.1 wt% SiO2.
The findings from the surface elasticity measurements at different frequencies, as depicted in Figure 5 for various DoTAB/SiO2 mixtures, further substantiate these observations. These measurements provide additional support for the complex dynamics of the adsorbed layers, emphasizing the intricate interplay between DoTAB and SiO2 nanoparticles in influencing the viscoelastic properties at the liquid–gas interface.
3.4. Foamability and Foam Stability
3.4.1. Dependence of Foam Stability of DoTAB/SiO2 Mixed Solutions on Surfactant Concentration
The foamability and stability of DoTAB solutions mixed with SiO2, as demonstrated in Figure 6 and Figure 7, offer valuable insights into the dynamic behavior of these systems and their potential applications in foam-based processes.
Figure 6.
Foamability variation in DoTAB and DoTAB/SiO2 mixtures.
Figure 7.
Foam stability variation in DoTAB and DoTAB/SiO2 mixtures.
The data presented in Figure 6 show the foamability of DoTAB solutions with and without 0.1 wt% SiO2 nanoparticles across a range of concentrations. Contrary to the usual expectation that lower surface tension and viscosity promote higher foamability, the addition of nanoparticles appears to decrease the foamability of the mixture when compared to the pure DoTAB solutions. This decrease could be due to the increased viscosity or altered surface properties caused by the presence of SiO2 nanoparticles, which may hinder the formation of the foam. As the DoTAB concentration increases and exceeds the CAC, we observe an enhanced foamability, which sharply increases up to the CMC. This behavior could be attributed to the increased availability of surfactant molecules that can effectively lower the surface tension and contribute to the formation of more stable foam structures. Beyond the CMC, the foamability of both the pure DoTAB and the DoTAB/SiO2 mixtures reaches a plateau, suggesting that the maximum foamability has been achieved, and additional surfactant molecules do not further enhance the foam’s stability or volume.
It is important to note that the presence of SiO2 nanoparticles in the mixtures does not significantly enhance the foamability, which remains comparable to the foamability of the pure DoTAB solutions at higher concentrations. This indicates that while nanoparticles have a role in the mixture, it does not necessarily translate into increased foamability within the studied concentration range. The nanoparticles instead play a more significant role in the stability and longevity of the foam.
Figure 7 presents the results of foam stability. The findings reveal a plateau in the foam stability for all mixed DoTAB/SiO2 solutions above the CAC. This is attributed to the maximum formation of DoTAB/SiO2 complexes with high surface activity. The observed correlation with the elasticity values underscores the role of interfacial dilational visco-elasticity in influencing foam stability. This correlation aligns with the minimum surface tension values in the equilibrium isotherm curve (Figure 2).
At lower DoTAB concentrations, the solutions experience a depletion of free DoTAB molecules due to their binding to the nanoparticle molecules. However, these complexes are not sufficiently surface-active to be significantly adsorbed, resulting in lower foam stability. Conversely, at high DoTAB concentrations, the rapid adsorption of excess surfactant molecules prevents the significant adsorption of complexes. As a result, the created foams contain more single DoTAB molecules rather than DoTAB/SiO2 complexes. These findings highlight the intricate interplay between surfactant concentration, nanoparticle addition, and foamability and stability, providing valuable insights for applications where foam characteristics are crucial.
3.4.2. Dependence of Foam Stability of DoTAB/SiO2 Mixed Solutions on Nanoparticle Concentration
Figure 8 and Figure 9 provide a detailed analysis of the relationship between the concentration of nanoparticles and the stability of foam in DoTAB/SiO2 mixed solutions. This study focuses on DoTAB/SiO2 foamability and foam stability, at two selected surfactant concentrations of 8 mM and 12 mM, and SiO2 concentrations ranging from 0 to 0.5%.
Figure 8.
Foam ability of DoTAB/SiO2 mixed solutions with different concentrations of SiO2.
Figure 9.
Foam stability of DoTAB/SiO2 mixed solutions with different concentrations of SiO2.
The observed trends in the foamability and foam stability of the solutions of DoTAB/SiO2 mixtures offer valuable insights into the underlying interactions between the nanoparticle and surfactant, especially in the context of varying SiO2 concentrations. The dependence of foamability on the added amount of SiO2 nanoparticles implies that it does not significantly alter the foam-forming ability of the DoTAB solution. The impact of silica nanoparticles on the foamability of DoTAB solutions is a main point of our discussion, particularly in light of the fact that the added particles do not markedly change the foam-forming capacity at both tested surfactant concentrations. It appears that the nanoparticles’ primary role may be more pronounced in the stabilization phase rather than during the foam formation. This is an important distinction, as it indicates that the surfactant concentration—especially the observed increased foamability in the 12 mM DoTAB solution relative to the 8 mM solution—plays a more significant role in forming the foam. The presence of nanoparticles, while not substantially influencing the quantity of foam produced, may impact the quality and stability of the foam, which is a critical aspect for applications where the longevity of foam is of paramount importance.
The observation regarding foam stability reveals that independent of the SiO2 concentration, the presence of even a low concentration (0.1 wt%) of SiO2 enhances the foam stability compared to the corresponding pure surfactant solution. This phenomenon can be attributed to the interaction between SiO2 nanoparticles and DoTAB, forming stable associates that reinforce the foam structure, probably decelerating drainage. The stable foam achieved at low SiO2 concentrations implies the potential for economical use of nanoparticles to improve foam stability in practical applications.
The consistent stability of foam in the 12 mM DoTAB solution, regardless of the SiO2 concentration, underscores the importance of the CAC region. The interaction between nanoparticles and surfactants within this region likely results in the formation of associates with optimal surface activity, leading to stable foams. These findings provide a rationale for defining an optimal concentration range for further exploration and utilization of DoTAB/SiO2 mixtures in various industrial processes, particularly those requiring stable foam formulations.
4. Conclusions
This systematic study included the analysis of equilibrium and dynamic surface tension and dilational surface visco-elasticity, as well as foamability and foam stability measurements. The following key findings and implications can be summarized:
- (i)
- The equilibrium surface tension isotherms illustrate a notable decrease in surface tension with the addition of SiO2 nanoparticles, particularly at DoTAB concentrations above 6 mM. This suggests that the presence of SiO2 has a surfactant-enhancing effect on reducing surface tension, with the most significant impact observed at DoTAB 12 mM. Dynamic surface tension measurements further revealed the intricate behavior of DoTAB/SiO2 mixtures, emphasizing the importance of surfactant concentration in influencing the adsorption and desorption dynamics. The plateau of elasticity values around DoTAB 12 mM indicated optimal conditions for the adsorption of DoTAB/SiO2 associates.
- (ii)
- The surface visco-elasticity measured during drop oscillations corroborated the trends observed in dynamic surface tension, emphasizing the dynamics of large associates in DoTAB/SiO2 mixtures compared to individual DoTAB. The frequency-dependent behavior highlighted the unique interfacial characteristics of these mixtures.
- (iii)
- Foamability was found to be dependent on the DoTAB concentration, with higher concentrations yielding superior foamability. Importantly, the addition of SiO2 did not significantly influence foamability but markedly improved foam stability, even at low nanoparticle concentrations (0.1 wt% SiO2). The stable foams observed at low SiO2 concentrations suggest a cost-effective strategy for enhancing foam stability. The stability of foam in DoTAB 12 mM solutions remained consistently high across varying SiO2 concentrations, emphasizing the significance of the CAC region. This points to an optimal concentration range for nanoparticle/surfactant mixtures, where the interaction within the CAC region leads to the formation of stable associates with superior surface activity.
These results reinforce the complex balance of DoTAB/SiO2 mixtures with regard to their foamability and stability, which is influenced by complicated interfacial interactions. This insight has provided a roadmap to optimize foam formulations and improve their stability, contributing to the foundation of further exploration and use of DoTAB/SiO2 mixtures in various production processes.
Author Contributions
Investigation and writing—original draft preparation F.A. and M.I.; writing—review and editing A.S., S.A. and R.M.; supervision M.G. and Z.O. All authors have read and agreed to the published version of the manuscript.
Funding
This research was supported by the Ministry of Science and Higher Education of the Republic of Kazakhstan (grant numbers: BR21882301 and AP14869372).
Data Availability Statement
Mendeley Data, V1, https://doi.org/10.17632/ymc9xm8w7s.1.
Conflicts of Interest
The authors declare no conflicts of interest.
References
- Zhang, Y.; Liu, Q.; Ye, H.; Yang, L.; Luo, D.; Peng, B. Nanoparticles as foam stabilizer: Mechanism, control parameters and application in foam flooding for enhanced oil recovery. J. Pet. Sci. Eng. 2021, 202, 108561. [Google Scholar] [CrossRef]
- Hunter, T.; Pugh, R.; Franks, G.; Jameson, G. The role of particles in stabilising foams and emulsions. Adv. Colloid Interface Sci. 2008, 137, 57–81. [Google Scholar] [CrossRef]
- Stocco, A.; Rio, E.; Binks, B.P.; Langevin, D. Aqueous foams stabilized solely by particles. Soft Matter 2011, 7, 1260–1267. [Google Scholar] [CrossRef]
- Issakhov, M.; Shakeel, M.; Pourafshary, P.; Aidarova, S.; Sharipova, A. Hybrid surfactant-nanoparticles assisted CO2 foam flooding for improved foam stability: A review of principles and applications. Pet. Res. 2022, 7, 186–203. [Google Scholar] [CrossRef]
- Wang, X.Y.; Xu, P.; Xu, M.B.; Pu, L.; Zhang, Y. Synergistic improvement of foam stability with SiO2 nanoparticles (SiO2-NPs) and different surfactants. Arab. J. Chem. 2023, 16, 104394. [Google Scholar]
- Jia, H.; Huang, W.; Han, Y.; Wang, Q.; Wang, S.; Dai, J.; Tian, Z.; Wang, D.; Yan, H.; Lv, K. Systematic investigation on the interaction between SiO2 nanoparticles with different surface affinity and various surfactants. J. Mol. Liq. 2020, 304, 112777. [Google Scholar] [CrossRef]
- Suleymani, M.; Ghotbi, C.; Ashoori, S.; Moghadasi, J.; Kharrat, R. Theoretical and experimental study of foam stability mechanism by nanoparticles: Interfacial, bulk, and porous media behaviour. J. Mol. Liq. 2020, 304, 112739. [Google Scholar] [CrossRef]
- Briceño-Ahumada, Z.; Soltero-Martínez, J.F.A.; Castillo, R. Aqueous foams and emulsions stabilized by mixtures of silica na-noparticles and surfactants: A state-of-the-art review. Chem. Eng. J. Adv. 2021, 7, 100116. [Google Scholar] [CrossRef]
- Eftekhari, M.; Schwarzenberger, K.; Javadi, A.; Eckert, K. The influence of negatively charged silica nanoparticles on the surface properties of anionic surfactants: Electrostatic repulsion or the effect of ionic strength. Phys. Chem. Chem. Phys. 2020, 22, 2238–2248. [Google Scholar] [CrossRef]
- Jangir, K.; Kumar, U.; Suniya, K.N.; Singh, N.; Parihar, K. Enhancing the Aqueous foam Stability Using Nanoparticles: A Review. World J. Chem. Educ. 2022, 10, 84–90. [Google Scholar] [CrossRef]
- Khajehpour, M.; Reza Etminan, S.; Goldman, J.C.; Wassmuth, F.R.; Bryant, S.L. Nanoparticles as Foam Stabilizer for Steam-Foam Process. SPE J. 2018, 23, 2232–2242. [Google Scholar] [CrossRef]
- Yekeen, N.; Padmanabhan, E.; Idris, A.K. Synergistic effects of nanoparticles and surfactants on n-decane-water interfacial tension and bulk foam stability at high temperature. J. Pet. Sci. Eng. 2019, 179, 814–830. [Google Scholar] [CrossRef]
- Yazhgur, P.A.; Noskov, B.A.; Liggieri, L.; Lin, S.-Y.; Loglio, G.; Miller, R.; Ravera, F. Dynamic properties of mixed nanoparti-cle/surfactant adsorption layers. Soft Matter 2013, 9, 3305–3314. [Google Scholar] [CrossRef]
- Ahmadi, A.; Saeedi Dehaghani, A.H.; Saviz, S. Experimental Study of SDS Foam Stability in the Presence of Silica Nanoparticle. J. Chem. Pet. Eng. 2022, 56, 203–213. [Google Scholar]
- Whitby, C.P.; Fornasiero, D.; Ralston, J.; Liggieri; Ravera, F. Properties of Fatty Amine–Silica Nanoparticle Interfacial Layers at the Hexane–Water Interface. J. Phys. Chem. C 2012, 116, 3050–3058. [Google Scholar] [CrossRef]
- Maestro, A.; Rio, E.; Drenckhan, W.; Langevin, D.; Salonen, A. Foams stabilised by mixtures of nanoparticles and oppositely charged surfactants: Relationship between bubble shrinkage and foam coarsening. Soft Matter 2014, 10, 6975–6983. [Google Scholar] [CrossRef]
- Amankeldi, F.; Issakhov, M.; Pourafshary, P.; Ospanova, Z.; Gabdullin, M.; Miller, R. Foam stabilization by surfactant/SiO2 composite nanofluids. Colloids Interfaces 2023, 7, 57. [Google Scholar] [CrossRef]
- Wang, P.; You, Q.; Han, L.; Deng, W.; Liu, Y.; Fang, J.; Gao, M.; Dai, C. Experimental study on the stabilization mechanisms of CO2 foams by hydrophilic silica nanoparticles. Energy Fuels 2018, 32, 3709–3715. [Google Scholar] [CrossRef]
- Singh, R.; Mohanty, K.K. Synergy between nanoparticles and surfactants in stabilizing foams for oil recovery. Energy Fuels 2015, 29, 467–479. [Google Scholar] [CrossRef]
- Eftekhari, M.; Schwarzenberger, K.; Karakashev, S.I.; Grozev, N.A.; Eckert, K. Oppositely charged surfactants and nano-particles at the air-water interface: Influence of surfactant to nanoparticle ratio. J. Colloid Interface Sci. 2024, 653, 1388–1401. [Google Scholar] [CrossRef]
- Wei, X.-Q.; Zhang, W.-J.; Lai, L.; Mei, P.; Wu, L.-M.; Wang, Y.-Q. Different cationic surfactants-modified silica nanoparticles for Pickering emulsions. J. Mol. Liq. 2019, 291, 111341. [Google Scholar] [CrossRef]
- Wu, Y.; Fang, S.; Zhang, K.; Zhao, M.; Jiao, B.; Dai, C. The stability mechanism of nitrogen foam in porous media with silica nanoparticles modified by cationic surfactants. Langmuir 2018, 34, 8015–8023. [Google Scholar] [CrossRef] [PubMed]
- Mondragon, R.; Julia, J.E.; Barba, A.; Jarque, J.C. Determination of the packing fraction of silica nanoparticles from the rhe-ological and viscoelastic measurements of nanofluids. Chem. Eng. Sci. 2012, 80, 119–127. [Google Scholar] [CrossRef]
- Lindman, B.; Antunes, F.; Aidarova, S.; Miguel, M.; Nylander, T. Polyelectrolyte-surfactant association—From fundamentals to applications. Colloid J. 2014, 76, 585–594. [Google Scholar] [CrossRef]
- Ravera, F.; Santini, E.; Loglio, G.; Ferrari, M.; Liggieri, L. Effect of Nanoparticles on the Interfacial Properties of Liquid/Liquid and Liquid/Air Surface Layers. J. Phys. Chem. B 2006, 110, 19543–19551. [Google Scholar] [CrossRef] [PubMed]
- Noskov, B.A.; Yazhgur, P.A.; Liggieri, L.; Lin, S.-Y.; Loglio, G.; Miller, R.; Ravera, F. Dilational rheology of spread and ad-sorbed layers of silica nanoparticles at the liquid-gas interface. Colloid J. 2014, 76, 127–138. [Google Scholar] [CrossRef]
- Santini, E.; Krägel, J.; Ravera, F.; Liggieri, L.; Miller, R. Study of the monolayer structure and wettability properties of silica nanoparticles and CTAB using the Langmuir trough technique. Colloids Surf. A 2011, 382, 186–191. [Google Scholar] [CrossRef]
- Liggieri, L.; Santini, E.; Guzman, E.; Maestro, A.; Ravera, F. Wide-frequency dilational rheology investigation of mixed silica nanoparticle—CTAB interfacial layers. Soft Matter 2011, 7, 7699–7709. [Google Scholar] [CrossRef]
- Maestro, A.; Guzman, E.; Santini, E.; Ravera, F.; Liggieri, L.; Ortega, F. Wettability of silica nanoparticle—Surfactant nano-composite interfacial layers. Soft Matter 2012, 8, 837–843. [Google Scholar] [CrossRef]
- Ravera, F.; Ferrari, M.; Liggieri, L.; Loglio, G.; Santini, E.; Zanobini, A. Liquid-liquid interfacial properties of mixed nanoparticle—Surfactant systems. Colloids Surf. A 2008, 323, 99–108. [Google Scholar] [CrossRef]
- Lan, Q.; Yang, F.; Zhang, S.; Liu, S.; Xu, J.; Sun, D. Synergistic effect of silica nanoparticle and cetyltrimethyl ammonium bromide on the stabilization of O/W emulsions. Colloids Surf. A 2007, 302, 126–135. [Google Scholar] [CrossRef]
- Ravera, F.; Loglio, G.; Pandolfini, P.; Santini, E.; Liggieri, L. Determination of the dilational visco-elasticity by the oscillating drop/bubble method in a capillary pressure tensiometer. Colloids Surf. A 2010, 365, 2–13. [Google Scholar] [CrossRef]
- Jaensson, N.O.; Vermant, J. Tensiometry and rheology of complex interfaces, Curr. Opin. Colloid Interface Sci. 2018, 37, 136–150. [Google Scholar]
- Yu, K.; Yang, J.; Zuo, Y.Y. Droplet Oscillation as an Arbitrary Waveform Generator. Langmuir 2018, 34, 7042–7047. [Google Scholar] [CrossRef]
- Drenckhan, W.; Saint-Jalmes, A. The science of foaming. Adv. Colloid Interface Sci. 2015, 222, 228–259. [Google Scholar] [CrossRef]
- Rosen, M.J. Surfactants and Interfacial Phenomena, 3rd ed.; Wiley: New York, NY, USA, 2004; pp. 185–187. [Google Scholar]
Disclaimer/Publisher’s Note: The statements, opinions and data contained in all publications are solely those of the individual author(s) and contributor(s) and not of MDPI and/or the editor(s). MDPI and/or the editor(s) disclaim responsibility for any injury to people or property resulting from any ideas, methods, instructions or products referred to in the content. |
© 2024 by the authors. Licensee MDPI, Basel, Switzerland. This article is an open access article distributed under the terms and conditions of the Creative Commons Attribution (CC BY) license (https://creativecommons.org/licenses/by/4.0/).








