Diversity-Based Evolutionary Population Dynamics: A New Operator for Grey Wolf Optimizer
Abstract
1. Introduction
1.1. Hybrid Meta-Heuristic Optimization Algorithms
1.2. The Contribution of This Study
2. Methodology
2.1. Original Grey Wolf Optimization (GWO) Algorithm
2.2. Fitness-Based EPD for GWO (FB-GWO-EPD)
3. Proposed Method
| Algorithm 1: Pseudo-code of the DB-GWO-EPD algorithm. | |
| 1: | Initialize the DB-GWO-EPD parameters, a = [2, 0], population size (N), and the maximum number of iterations (M) |
| 2: | whilet < M do |
| 3: | if t = 1 then |
| 4: | for (j = 1:N) do |
| 5: | Initialize random positions for the jth solution at the first iteration as follows: |
| 6: | and are the upper and lower bounds of each dimension and is a random vector |
| 7: | end for |
| 8: | else |
| 9: | for (j = 1:N) do |
| 10: | Calculate , , and , as the guiding solutions of the jth solution, using Equations (6)–(8) |
| 11: | Calculate as the arithmetic average of , , and , using Equation (9) |
| 12: | Adopt as the newly updated position of the jth solution at the tth itertaion |
| 13: | end for |
| 14: | end if |
| 15: | Calculate the fitness function value for each solution |
| 16: | Sort the fitness function values and their corresponding solutions in an ascending order for minimization purpose |
| 17: | Identify the first half of the solutions in the solutions sorted as the ones to be repositioned |
| 18: | Identify three best-fitted solutions (, and ), and save them in the memory of the algorithm |
| 19: | Save as the best-fitted solution found so far and name it |
| 20: | Calculate the diversity index () for each solution using Equation (14) |
| 21: | Appoint three solution positions with the highest values, as the , and |
| 22: | Reposition the first half of the best-fitted solutions around , and , randomly, using Equations (15)–(17) |
| 23: | Adopt the repositioned solution positions as their new positions |
| 24: | t = t + 1 |
| 25: | end while |
| 27: | Return as the final result of the optimization process |
The Pros and Cons of the Proposed DB-GWO-EPD and Its Computational Complexity
4. Results and Discussion
4.1. Benchmark Functions
4.2. Comparison with Other Well-Known Algorithms
4.2.1. Comparing the Algorithms on the Uni-Modal Functions
4.2.2. Comparing the Algorithms on the Multi-Modal Functions
4.2.3. Comparing the Algorithms on the CEC2017 Test Suite
4.3. Statistical Analysis
4.4. Comparative Results on Engineering Design Problems
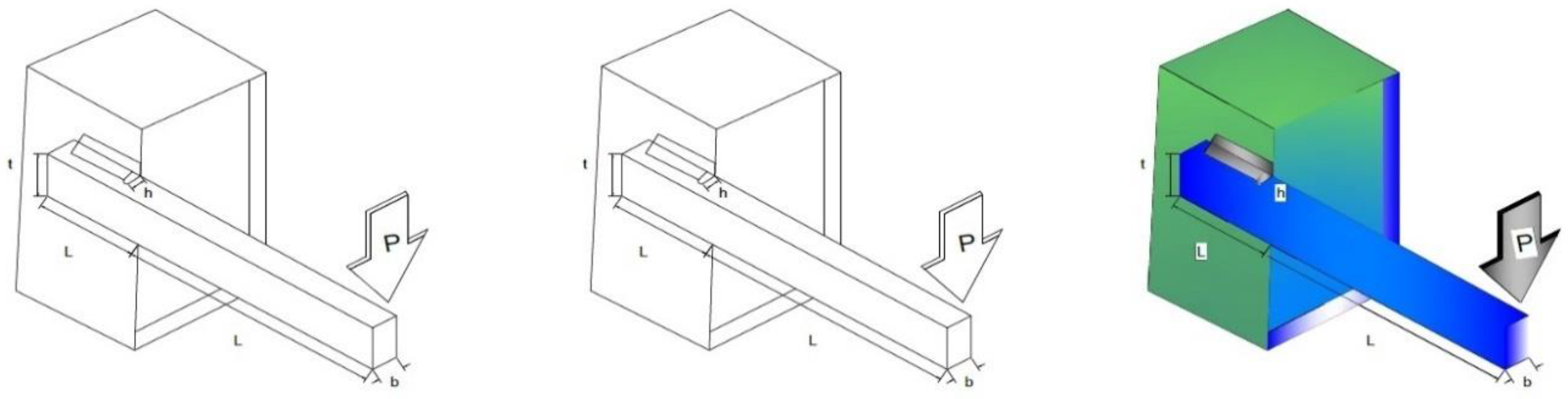
4.4.1. Welded Beam Design Problem
4.4.2. Three-Bar Truss Design Problem
4.4.3. Cantilever Beam Design Problem
4.4.4. Gas Transmission Compressor Design Problem
5. Conclusions
Author Contributions
Funding
Data Availability Statement
Conflicts of Interest
Nomenclature
| Acceleration coefficient varying from 2 to 0 | |
| Acceleration factor randomly generated for every leading wolf | |
| Multiplier of the leading wolves that are randomly generated (Equations (1) and (2)) | |
| Distance between each wolf and the leading wolves (Equations (1) and (2)) | |
| Acceleration factor randomly generated for ith leading wolf (Equations (6)–(8)) | |
| Multiplier of the ith leading wolf that is randomly generated (Equations (3)–(5)) | |
| Distance between each wolf and the leading wolves (Equations (6)–(8)) | |
| Prey position at the tth iteration (Equation (2)) | |
| Position of a wolf (solution) at the tth iteration (Equation (1)) | |
| Position of a wolf (solution) at the (t + 1)th iteration | |
| Position of a wolf (solution) | |
| Position appointed for guiding a wolf on behalf of the ith leading wolf (Equations (6)–(8)) | |
| Position of the alpha wolf (solution) (Equations (3)–(8)) | |
| Position of the beta wolf (solution) (Equations (3)–(8)) | |
| Position of the delta wolf (solution) (Equations (3)–(8)) | |
| Distance between each wolf and the alpha wolf (Equations (6)–(8)) | |
| Distance between each wolf and the beta wolf (Equations (6)–(8)) | |
| Distance between each wolf and the delta wolf (Equations (6)–(8)) | |
| Upper bound vector of the decision variables (Equations (10)–(13)) | |
| Lower bound vector of the decision variables (Equations (10)–(13)) | |
| Fitness function value of the ith solution (i = 1, 2, …, N) (Equation (14)) | |
| Fitness function value of the jth solution (j (Equation (14)) | |
| Diversity index for the ith solution (Equation (14)) | |
| The first (alpha) most diversified wolf (solution) at the tth iteration (Equations (15)–(17)) | |
| The second (beta) most diversified wolf (solution) at the tth iteration (Equations (15)–(17)) | |
| The third (delta) most diversified wolf (solution) at the tth iteration (Equations (15)–(17)) | |
| ith uniformly distributed random number generated for giving a random position |
References
- Holland, J.H. Genetic Algorithms. Sci. Am. 1992, 267, 66–73. [Google Scholar] [CrossRef]
- Kennedy, J.; Eberhart, R. Particle swarm optimization. In Proceedings of the ICNN’95—International Conference on Neural Networks, Perth, Australia, 27 November–1 December 1995; Volume 4, pp. 1942–1948. [Google Scholar] [CrossRef]
- Storn, R.; Price, K. Differential Evolution: A Simple and Efficient Heuristic for global Optimization over Continuous Spaces. J. Glob. Optim. 1997, 11, 341–359. [Google Scholar] [CrossRef]
- Mete, Ç.; Karaboğa, D.; Köylü, F. Artificial bee colony data miner (ABC-Miner). In Proceedings of the International Symposium on Innovations in Intelligent Systems and Applications, Istanbul, Turkey, 15–18 June 2011. [Google Scholar]
- Gandomi, A.H.; Yang, X.S.; Talatahari, S.; Alavi, A.H. Firefly algorithm with chaos. Commun. Nonlinear Sci. Numer. Simul. 2013, 18, 89–98. [Google Scholar] [CrossRef]
- Yang, X.S. A new metaheuristic Bat-inspired Algorithm. In Nature Inspired Cooperative Strategies for Optimization (NICSO 2010); Studies in Computational Intelligence; Springer: Berlin/Heidelberg, Germany, 2010; pp. 65–74. [Google Scholar] [CrossRef]
- Rashedi, E.; Nezamabadi-pour, H.; Saryazdi, S. GSA: A Gravitational Search Algorithm. Inf. Sci. 2009, 179, 2232–2248. [Google Scholar] [CrossRef]
- Ahmed, K.; Ewees, A.A.; Abd El Aziz, M.; Hassanien, A.E.; Gaber, T.; Tsai, P.-W.; Pan, J.-S. A hybrid krill-ANFIS model for wind speed forecasting. In Proceedings of the International Conference on Advanced Intelligent Systems and Informatics 2016, Cairo, Egypt, 24–26 November 2016; Springer: Cham, Switzerland, 2017. [Google Scholar] [CrossRef]
- Mirjalili, S. SCA: A Sine Cosine Algorithm for solving optimization problems. Knowl.-Based Syst. 2016, 96, 120–133. [Google Scholar] [CrossRef]
- Wang, G.G.; Deb, S.; Cui, Z. Monarch butterfly optimization. Neural Comput. Appl. 2015, 31, 1995–2014. [Google Scholar] [CrossRef]
- Karimkashi, S.; Kishk, A.A. Invasive Weed Optimization and its Features in Electromagnetics. IEEE Trans. Antennas Propag. 2010, 58, 1269–1278. [Google Scholar] [CrossRef]
- Tuba, M.; Bacanin, N. Artificial Bee Colony Algorithm Hybridized with Firefly Algorithm for Cardinality Constrained Mean-Variance Portfolio Selection Problem. Appl. Math. Inf. Sci. 2014, 8, 2831–2844. [Google Scholar] [CrossRef]
- Wang, G.-G.; Gandomi, A.H.; Zhao, X.; Chu, H.C.E. Hybridizing harmony search algorithm with cuckoo search for global numerical optimization. Soft Comput. 2016, 20, 273–285. [Google Scholar] [CrossRef]
- Yi, W.; Gao, L.; Li, X.; Zhou, Y. A new differential evolution algorithm with a hybrid mutation operator and self-adapting control parameters for global optimization problems. Appl. Intell. 2015, 42, 642–660. [Google Scholar] [CrossRef]
- Tuba, M.; Bacanin, N. Hybridized bat algorithm for multi-objective radio frequency identification (RFID) network planning. In Proceedings of the 2015 IEEE Congress on Evolutionary Computation (CEC), Sendai, Japan, 25–28 May 2015; pp. 499–506. [Google Scholar] [CrossRef]
- Das, P.K.; Behera, H.S.; Panigrahi, B.K. A hybridization of an improved particle swarm optimization and gravitational search algorithm for multi-robot path planning. Swarm Evol. Comput. 2016, 28, 14–28. [Google Scholar] [CrossRef]
- Abualigah, L.M.; Khader, A.T.; Hanandeh, E.S.; Gandomi, A.H. A novel hybridization strategy for krill herd algorithm applied to clustering techniques. Appl. Soft Comput. 2017, 60, 423–435. [Google Scholar] [CrossRef]
- Nenavath, H.; Jatoth, R.K. Hybridizing sine cosine algorithm with differential evolution for global optimization and object tracking. Appl. Soft Comput. 2018, 62, 1019–1043. [Google Scholar] [CrossRef]
- Ghanem, W.A.H.M.; Jantan, A. Hybridizing artificial bee colony with monarch butterfly optimization for numerical optimization problems. Neural Comput. Appl. 2018, 30, 163–181. [Google Scholar] [CrossRef]
- Panda, M.R.; Dutta, S.; Pradhan, S. Hybridizing Invasive Weed Optimization with Firefly Algorithm for Multi-Robot Motion Planning. Arab. J. Sci. Eng. 2018, 43, 4029–4039. [Google Scholar] [CrossRef]
- Singh, N.; Singh, S.B. A novel hybrid GWO-SCA approach for optimization problems. Eng. Sci. Technol. Int. J. 2017, 20, 1586–1601. [Google Scholar] [CrossRef]
- Ibrahim, A.M.; Tawhid, M.A. A hybridization of differential evolution and monarch butterfly optimization for solving systems of nonlinear equations. J. Comput. Des. Eng. 2019, 6, 354–367. [Google Scholar] [CrossRef]
- Abualigah, L.M.; Khader, A.T.; Hanandeh, E.S. Modified Krill Herd Algorithm for Global Numerical Optimization Problems. In Advances in Nature-Inspired Computing and Applications; Springer: Cham, Switzerland, 2019; pp. 205–221. [Google Scholar] [CrossRef]
- Gupta, S.; Deep, K. Hybrid sine cosine artificial bee colony algorithm for global optimization and image segmentation. Neural Comput. Appl. 2020, 32, 9521–9543. [Google Scholar] [CrossRef]
- Gupta, S.; Deep, K. Enhanced leadership-inspired grey wolf optimizer for global optimization problems. Eng. Comput. 2020, 36, 1777–1800. [Google Scholar] [CrossRef]
- Gupta, S.; Deep, K. A novel hybrid sine cosine algorithm for global optimization and its application to train multilayer perceptrons. Appl. Intell. 2020, 50, 993–1026. [Google Scholar] [CrossRef]
- Mohammed, H.; Rashid, T. A novel hybrid GWO with WOA for global numerical optimization and solving pressure vessel design. Neural Comput. Appl. 2020, 32, 14701–14718. [Google Scholar] [CrossRef]
- Zheng, R.; Jia, H.; Abualigah, L.; Liu, Q.; Wang, S. Deep Ensemble of Slime Mold Algorithm and Arithmetic Optimization Algorithm for Global Optimization. Processes 2021, 9, 1774. [Google Scholar] [CrossRef]
- Rezaei, F.; Safavi, H.R.; Abd Elaziz, M.; El-Sappagh, S.H.A.; Al-Betar, M.A.; Abuhmed, T. An Enhanced Grey Wolf Optimizer with a Velocity-Aided Global Search Mechanism. Mathematics 2022, 10, 351. [Google Scholar] [CrossRef]
- Nadimi-Shahraki, M.H.; Fatahi, A.; Zamani, H.; Mirjalili, S.; Oliva, D. Hybridizing of Whale and Moth-Flame Optimization Algorithms to Solve Diverse Scales of Optimal Power Flow Problem. Electronics 2022, 11, 831. [Google Scholar] [CrossRef]
- Wolpert, D.H.; Macready, W.G. No free lunch theorems for optimization. IEEE Trans. Evol. Comput. 1997, 1, 67–82. [Google Scholar] [CrossRef]
- Lewis, A.; Mostaghim, S.; Randall, M. Evolutionary Population Dynamics and Multi-Objective Optimisation Problems. In Multi-Objective Optimization in Computational Intelligence: Theory and Practice; IGI Global: Hershey, PA, USA, 2008; pp. 185–206. [Google Scholar] [CrossRef]
- Bak, P. How Nature Works: The Science of Self-Organized Criticality; Oxford University Press: Oxford, UK, 1997. [Google Scholar]
- Boettcher, S.; Percus, A.G. Extremal optimization: Methods derived from co-evolution. arXiv 1999, arXiv:math/9904056. [Google Scholar] [CrossRef]
- Saremi, S.; Mirjalili, S.Z.; Mirjalili, S.M. Evolutionary population dynamics and grey wolf optimizer. Neural Comput. Appl. 2015, 26, 1257–1263. [Google Scholar] [CrossRef]
- Mirjalili, S.; Mirjalili, S.M.; Lewis, A. Grey Wolf Optimizer. Adv. Eng. Softw. 2014, 69, 46–61. [Google Scholar] [CrossRef]
- Yao, X.; Liu, Y.; Lin, G. Evolutionary Programming Made Faster. IEEE Trans. Evol. Comput. 1999, 3, 82–102. [Google Scholar]
- Wu, G.; Mallipeddi, R.; Suganthan, P.N. Problem Definitions and Evaluation Criteria for the CEC 2017 Competition on Constrained Real-Parameter Optimization; National University of Defense Technology: Changsha, China, 2017. [Google Scholar]
- Mirjalili, S. Moth-flame optimization algorithm: A novel nature-inspired heuristic paradigm. Knowl.-Based Syst. 2015, 89, 228–249. [Google Scholar] [CrossRef]
- Abualigah, L.; Yousri, D.; Abd Elaziz, M.; Ewees, A.A.; Al-qaness, M.A.A.; Gandomi, A.H. Aquila Optimizer: A novel meta-heuristic optimization algorithm. Comput. Ind. Eng. 2021, 157, 107250. [Google Scholar] [CrossRef]
- Karami, H.; Anaraki, M.V.; Farzin, S.; Mirjalili, S. Flow Direction Algorithm (FDA): A Novel Optimization Approach for Solving Optimization Problems. Comput. Ind. Eng. 2021, 156, 107224. [Google Scholar] [CrossRef]
- Abualigah, L.; Diabat, A.; Mirjalili, S.; Abd Elaziz, M.; Gandomi, A.H. The Arithmetic Optimization Algorithm. Comput. Methods Appl. Mech. Eng. 2021, 376, 113609. [Google Scholar] [CrossRef]
- Ahmadianfar, I.; Bozorg-Haddad, O.; Chu, X. Gradient-based optimizer: A new metaheuristic optimization algorithm. Inf. Sci. 2020, 540, 131–159. [Google Scholar] [CrossRef]
- Abualigah, L.; Elaziz, M.A.; Sumari, P.; Geem, Z.W.; Gandomi, A.H. Reptile Search Algorithm (RSA): A nature-inspired meta-heuristic optimizer. Expert Syst. Appl. 2021, 191, 116158. [Google Scholar] [CrossRef]
- Ragsdell, K.M.; Phillips, D.T. Optimal Design of a Class of Welded Structures Using Geometric Programming. J. Eng. Ind. 1976, 98, 1021–1025. [Google Scholar] [CrossRef]
- Deb, K. Optimal design of a welded beam via genetic algorithms. AIAA J. 1991, 29, 2013–2015. [Google Scholar] [CrossRef]
- Lee, K.S.; Geem, Z.W. A new meta-heuristic algorithm for continuous engineering optimization: Harmony search theory and practice. Comput. Methods Appl. Mech. Eng. 2005, 194, 3902–3933. [Google Scholar] [CrossRef]
- Huang, F.-Z.; Wang, L.; He, Q. An effective co-evolutionary differential evolution for constrained optimization. Appl. Math. Comput. 2007, 186, 340–356. [Google Scholar] [CrossRef]
- He, Q.; Wang, L. An effective co-evolutionary particle swarm optimization for constrained engineering design problems. Eng. Appl. Artif. Intell. 2007, 20, 89–99. [Google Scholar] [CrossRef]
- Kaveh, A.; Khayatazad, M. A new meta-heuristic method: Ray Optimization. Comput. Struct. 2012, 112–113, 283–294. [Google Scholar] [CrossRef]
- Mirjalili, S.; Lewis, A. The Whale Optimization Algorithm. Adv. Eng. Softw. 2016, 95, 51–67. [Google Scholar] [CrossRef]
- Mirjalili, S.; Mirjalili, S.M.; Hatamlou, A. Multi-Verse Optimizer: A nature-inspired algorithm for global optimization. Neural Comput. Appl. 2016, 27, 495–513. [Google Scholar] [CrossRef]
- Abd Elaziz, M.; Oliva, D.; Xiong, S. An improved Opposition-Based Sine Cosine Algorithm for global optimization. Expert Syst. Appl. 2017, 90, 484–500. [Google Scholar] [CrossRef]
- Zhang, M.; Luo, W.; Wang, X. Differential evolution with dynamic stochastic selection for constrained optimization. Inf. Sci. 2008, 178, 3043–3074. [Google Scholar] [CrossRef]
- Mirjalili, S.; Gandomi, A.H.; Mirjalili, S.Z.; Saremi, S.; Faris, H.; Mirjalili, S.M. Salp Swarm Algorithm: A bio-inspired optimizer for engineering design problems. Adv. Eng. Softw. 2017, 114, 163–191. [Google Scholar] [CrossRef]
- Sadollah, A.; Bahreininejad, A.; Eskandar, H.; Hamdi, M. Mine blast algorithm: A new population based algorithm for solving constrained engineering optimization problems. Appl. Soft Comput. 2013, 13, 2592–2612. [Google Scholar] [CrossRef]
- Liu, H.; Cai, Z.; Wang, Y. Hybridizing particle swarm optimization with differential evolution for constrained numerical and engineering optimization. Appl. Soft Comput. 2010, 10, 629–640. [Google Scholar] [CrossRef]
- Tsai, J.-F. Global optimization of nonlinear fractional programming problems in engineering design. Eng. Optim. 2005, 37, 399–409. [Google Scholar] [CrossRef]
- Ray, T.; Saini, P. Engineering Design Optimization Using a Swarm with an Intelligent Information Sharing Among Individuals. Eng. Optim. 2001, 33, 735–748. [Google Scholar] [CrossRef]
- Gandomi, A.H.; Yang, X.-S.; Alavi, A.H. Cuckoo search algorithm: A metaheuristic approach to solve structural optimization problems. Eng. Comput. 2013, 29, 17–35. [Google Scholar] [CrossRef]
- Jangir, N.; Pandya, M.H.; Trivedi, I.N.; Bhesdadiya, R.H.; Jangir, P.; Kumar, A. Moth-Flame optimization Algorithm for solving real challenging constrained engineering optimization problems. In Proceedings of the 2016 IEEE Students’ Conference on Electrical, Electronics and Computer Science (SCEECS), Bhopal, India, 5–6 March 2016. [Google Scholar] [CrossRef]
- Cheng, M.-Y.; Prayogo, D. Symbiotic Organisms Search: A new metaheuristic optimization algorithm. Comput. Struct. 2014, 139, 98–112. [Google Scholar] [CrossRef]
- Mortazavi, A. Interactive fuzzy Bayesian search algorithm: A new reinforced swarm intelligence tested on engineering and mathematical optimization problems. Expert Syst. Appl. 2022, 187, 115954. [Google Scholar] [CrossRef]
- Kumar, N.; Mahato, S.K.; Bhunia, A.K. Design of an efficient hybridized CS-PSO algorithm and its applications for solving constrained and bound constrained structural engineering design problems. Results Control Optim. 2021, 5, 100064. [Google Scholar] [CrossRef]
- Duary, A.; Rahman, M.S.; Shaikh, A.A.; Niaki, S.T.A.; Bhunia, A.K. A new hybrid algorithm to solve bound-constrained nonlinear optimization problems. Neural Comput. Appl. 2020, 32, 12427–12452. [Google Scholar] [CrossRef]
- Pant, M.; Thangaraj, R.; Abraham, A. DE-PSO: A new hybrid meta-heuristic for solving global optimization problems. New Math. Nat. Comput. 2011, 7, 363–381. [Google Scholar] [CrossRef]
- Beightler, C.S.; Phillips, D.T. Applied Geometric Programming; Wiley: Hoboken, NJ, USA, 1976. [Google Scholar]







| Benchmark Function | Range | Shifted Position | fmin |
|---|---|---|---|
| 0 | |||
| 0 | |||
| 0 | |||
| 0 | |||
| 0 | |||
| 4.225× n | |||
| 0 |
| Benchmark Functions | Range | Shifted Position | fmin |
|---|---|---|---|
| −418.9829 × n | |||
| 0 | |||
| 0 | |||
| 0 | |||
| 0 | |||
u( | |||
| * |
| Description | NO. | Function | fmin |
|---|---|---|---|
| Uni-modal Functions | 1 | Shifted and Rotated Bent Cigar Function | 100 |
| 2 | Shifted and Rotated Sum of Different Power Function * | 200 | |
| 3 | Shifted and Rotated Zakharov Function | 300 | |
| Simple Multi-modal Functions | 4 | Shifted and Rotated Rosenbrock’s Function | 400 |
| 5 | Shifted and Rotated Rastrigin’s Function | 500 | |
| 6 | Shifted and Rotated Expanded Scaffer’s F6 Function | 600 | |
| 7 | Shifted and Rotated Lunacek Bi_Rastrigin Function | 700 | |
| 8 | Shifted and Rotated Non-Continuous Rastrigin’s Function | 800 | |
| 9 | Shifted and Rotated Levy Function | 900 | |
| 10 | Shifted and Rotated Schwefel’s Function | 1000 | |
| Hybrid Functions | 11 | Hybrid Function 1 (N = 3) | 1100 |
| 12 | Hybrid Function 2 (N = 3) | 1200 | |
| 13 | Hybrid Function 3 (N = 3) | 1300 | |
| 14 | Hybrid Function 4 (N = 4) | 1400 | |
| 15 | Hybrid Function 5 (N = 4) | 1500 | |
| 16 | Hybrid Function 6 (N = 4) | 1600 | |
| 17 | Hybrid Function 6 (N = 5) | 1700 | |
| 18 | Hybrid Function 6 (N = 5) | 1800 | |
| 19 | Hybrid Function 6 (N = 5) | 1900 | |
| 20 | Hybrid Function 6 (N = 6) | 2000 | |
| Composition Functions | 21 | Composition Function 1 (N = 3) | 2100 |
| 22 | Composition Function 2 (N = 3) | 2200 | |
| 23 | Composition Function 3 (N = 4) | 2300 | |
| 24 | Composition Function 4 (N = 4) | 2400 | |
| 25 | Composition Function 5 (N = 5) | 2500 | |
| 26 | Composition Function 6 (N = 5) | 2600 | |
| 27 | Composition Function 7 (N = 6) | 2700 | |
| 28 | Composition Function 8 (N = 6) | 2800 | |
| 29 | Composition Function 9 (N = 3) | 2900 | |
| 30 | Composition Function 10 (N = 3) | 3000 | |
| Search Range: [−100, 100]D; D is the dimensionality of the test problems | |||
| Algorithm | Parameter Settings |
|---|---|
| AO | |
| FDA | |
| AOA | |
| GBO | |
| GWO | |
| FB-GWO-EPD | |
| DB-GWO-EPD |
| Criteria | AO | FDA | AOA | GBO | GWO | FB-GWO-EPD | DB-GWO-EPD | |
|---|---|---|---|---|---|---|---|---|
| F1 | Ave | 6.6579 | 9.246510 | 8.1744 | 4.2565 | 2.6986 | 5.0429 | 8.3539 × 10−1 |
| Std | 3.7689 | 2.757610 | 3.5185 | 1.8961 | 4.6165 | 1.4285 | 3.0210 × 10−1 | |
| F2 | Ave | 6.246710 | 1.253210 | 8.2193 | 7.1612 | 1.5454 | 1.0983 | 1.9838 |
| Std | 1.076610 | 1.293810 | 1.4548 | 2.5304 | 1.725810 | 2.213510 | 1.7873 | |
| F3 | Ave | 6.2975 | 5.1412 | 5.2178 | 5.0863 | 6.5265 | 4.5943 | 2.8288 × 104 |
| Std | 3.3353 | 1.2203 | 3.0106 | 1.1385 | 1.2188 | 2.3826 × 103 | 4.5466 | |
| F4 | Ave | 6.4199 | 5.714510 | 3.001010 | 3.000010 | 3.000010 | 3.000110 | 1.069810 |
| Std | 1.0959 | 3.2665 | 1.0620 | 0 | 1.4235 | 1.1221 | 2.7652 | |
| F5 | Ave | 7.1099 | 2.6441 | 4.2934 | 2.4430 | 8.4413 | 1.7271 | 7.9457 × 102 |
| Std | 2.3792 | 1.0748 | 4.8797 | 1.0962 | 1.3821 | 6.9398 × 102 | 9.8350 | |
| F6 | Ave | 4.7087 | 4.2455 | 5.4015 | 4.2315 × 107 | 4.5852 | 4.2609 | 4.3322 |
| Std | 1.1035 | 2.0457 | 5.9905 | 0 | 3.4135 | 1.4011 | 1.1990 | |
| F7 | Ave | 5.9662 × 10−2 | 1.8381 | 1.959110 | 5.2178 | 7.6576 | 2.0676 | 2.3332 |
| Std | 8.1757 | 2.3114 | 6.6384 × 10−2 | 1.1624 | 9.3946 | 4.0188 | 6.7209 | |
| F8 | Ave | −4.0026 | −4.0001 | −1.6152 | −4.6366 × 104 | −3.0043 | −3.1018 | −2.9074 |
| Std | 5.0202 | 2.8268 | 1.4243 × 103 | 3.3289 | 2.0813 | 6.5483 | 1.0665 | |
| F9 | Ave | 6.4745 × 10 | 4.8795 | 3.9917 | 3.7281 | 3.5234 | 3.7875 | 4.2068 |
| Std | 2.406510 | 5.687110 | 3.0287 × 10−2 | 7.5392 | 1.507910 | 3.717610 | 2.7046 | |
| F10 | Ave | 9.2096 | 1.971210 | 1.918510 | 1.079110 | 1.789510 | 1.185810 | 1.1055 |
| Std | 8.7246 | 2.6169 | 4.3534 × 10−6 | 2.2658 | 9.7602 | 7.1181 | 3.0835 | |
| F11 | Ave | 2.0904 | 1.994710 | 2.1440 | 1.0766 | 5.7018 | 2.1362 | 4.9285 × 10−1 |
| Std | 2.5256 | 8.7853 | 1.2316 | 7.3605 | 1.3720 | 6.0558 | 7.3081 × 10−2 | |
| F12 | Ave | 9.2327 | 1.2972 | 1.5442 | 1.472110 | 2.0258 | 1.253610 | 1.5566 |
| Std | 2.7363 | 1.4015 | 2.8499 | 4.6852 | 3.6813 | 4.0517 | 6.3168 × 10−1 | |
| F13 | Ave | 4.7531 | 4.1006 × 1010 | 7.9630 | 4.1006 × 1010 | 1.8052 | 4.2906 | 5.3127 |
| Std | 1.5675 | 0 | 1.2203 | 0 | 3.8026 | 1.6574 | 1.0299 |
| Criteria | AO | FDA | AOA | GBO | GWO | FB-GWO-EPD | DB-GWO-EPD | |
|---|---|---|---|---|---|---|---|---|
| F1 | Ave | 1.6838 | 3.8271 | 1.0679 | 7.2920 × 103 | 8.2896 | 5.8980 | 1.8071 |
| Std | 6.2457 | 4.4200 | 1.0241 | 8.4348 × 103 | 4.2006 | 2.0039 | 9.2804 | |
| F3 | Ave | 2.0248 | 2.7961 × 104 | 1.6642 | 3.9352 | 1.0484 | 6.6347 | 5.0470 |
| Std | 4.4288 | 8.9157 × 103 | 2.0180 | 9.7975 | 1.6965 | 1.3566 | 1.2134 | |
| F4 | Ave | 1.0630 | 5.4393 × 102 | 3.0754 | 5.5786 | 1.1238 | 6.6857 | 5.9875 |
| Std | 1.9549 | 5.8808 | 7.7284 | 5.3041 | 2.3977 | 4.1381 × 10 | 5.2919 | |
| F5 | Ave | 8.6665 | 8.2013 | 1.1525 | 8.1004 | 7.2367 | 6.7674 | 6.5307 × 102 |
| Std | 3.3186 | 6.2431 | 4.0010 | 4.9971 | 2.7447 × 10 | 4.7522 | 9.5217 | |
| F6 | Ave | 6.6537 | 6.5096 | 6.9011 | 6.3725 | 6.1746 | 6.1596 | 6.0456 × 102 |
| Std | 5.3658 | 8.7769 | 5.1072 | 9.7671 | 5.4024 | 5.9317 | 2.9473 | |
| F7 | Ave | 1.5161 | 1.4326 | 1.9341 | 1.2644 | 1.0724 | 1.0822 | 9.7839 × 102 |
| Std | 1.2247 | 1.1392 | 6.3770 | 9.4996 | 5.9392 | 4.4810 × 10 | 1.5911 | |
| F8 | Ave | 1.1804 | 1.1620 | 1.4717 | 1.1110 | 1.0259 | 1.0124 | 9.1755 × 102 |
| Std | 3.4016 | 4.3580 | 4.7283 | 5.6324 | 5.7317 | 9.3255 | 2.7887 × 10 | |
| F9 | Ave | 2.1934 | 1.0603 | 2.8784 | 7.4002 | 8.0871 | 6.2582 | 1.5274 × 103 |
| Std | 3.8379 | 2.4207 | 4.3133 | 2.4743 | 3.3907 | 2.5762 | 1.2381 × 103 | |
| F10 | Ave | 9.1459 | 8.4369 | 1.3462 | 7.8672 | 7.5159 × 103 | 9.8846 | 8.1947 |
| Std | 9.7917 | 1.0053 | 7.8133 × 102 | 9.4913 | 1.7420 | 4.0438 | 3.5965 | |
| F11 | Ave | 2.2437 | 1.3379 × 103 | 2.2605 | 1.3879 | 4.3152 | 1.5887 | 1.4279 |
| Std | 2.7895 | 7.0421 × 10 | 3.8152 | 8.3613 | 1.5839 | 1.0617 | 8.1144 | |
| F12 | Ave | 6.1213 | 2.2862 × 106 | 6.8321 | 2.6664 | 5.9699 | 1.5015 | 2.3364 |
| Std | 4.0105 | 1.4679 × 106 | 1.5355 | 2.2857 | 6.4348 | 8.5096 | 1.7026 | |
| F13 | Ave | 2.3863 | 6.1931 × 103 | 3.9481 | 1.2570 | 4.1420 | 8.5343 | 8.4775 |
| Std | 3.8111 | 7.0134 × 103 | 1.2296 | 9.9819 | 8.8631 | 4.4079 | 4.8870 | |
| F14 | Ave | 4.8743 | 3.1987 × 104 | 5.2754 | 3.9591 | 1.0451 | 3.7271 | 1.9834 |
| Std | 4.3827 | 3.1930 × 104 | 4.4620 | 3.9226 | 1.2344 | 2.3847 | 9.5941 | |
| F15 | Ave | 6.1620 | 1.0266 × 104 | 4.4614 | 1.2206 | 1.8441 | 1.4188 | 4.2204 |
| Std | 3.6634 | 6.4333 × 103 | 2.6802 | 7.4912 | 3.2540 | 1.8065 | 2.4322 | |
| F16 | Ave | 4.3612 | 3.6774 | 7.9190 | 3.4870 | 3.2102 | 2.9626 | 2.8461 × 103 |
| Std | 5.3030 | 5.1378 | 1.2332 | 4.9718 | 4.4746 | 4.1833 | 3.4984 × 102 | |
| F17 | Ave | 3.6432 | 3.3813 | 9.1957 | 3.0819 | 2.9329 | 2.8919 | 2.8425 × 103 |
| Std | 3.8545 | 3.7707 | 2.4943 | 3.4783 | 3.4609 × 102 | 3.9359 | 4.1003 | |
| F18 | Ave | 9.1232 | 2.2535 | 1.0356 | 2.1870 × 105 | 4.4394 | 2.9262 | 2.3528 |
| Std | 6.4256 | 1.5052 | 4.8975 | 1.3210 × 105 | 5.2595 | 1.9711 | 2.3575 | |
| F19 | Ave | 2.2803 | 1.8197 × 104 | 2.7898 | 1.8302 | 4.1561 | 1.4102 | 8.0552 |
| Std | 2.1570 | 1.0490 × 104 | 1.4850 | 1.1745 | 8.5345 | 1.0476 | 5.9277 | |
| F20 | Ave | 3.2709 | 3.4256 | 3.5912 | 3.2025 | 2.9462 × 103 | 3.1085 | 2.9489 |
| Std | 2.6175 × 102 | 3.3007 | 2.6817 | 4.0586 | 3.6343 | 5.4458 | 4.7087 | |
| F21 | Ave | 2.7043 | 2.6240 | 3.0782 | 2.5662 | 2.5173 | 2.4638 | 2.4115 × 103 |
| Std | 6.3075 | 6.1326 | 8.5153 | 5.1954 | 5.5484 | 5.0296 | 2.3648 × 10 | |
| F22 | Ave | 1.0965 | 9.9308 | 1.5926 | 9.4638 | 9.6836 | 1.0955 | 8.7319 × 103 |
| Std | 1.6841 | 8.3742 | 7.0190 × 102 | 1.6273 | 2.0126 | 3.9900 | 3.0635 | |
| F23 | Ave | 3.4393 | 3.1004 | 4.4239 | 3.0558 | 2.9820 | 2.9274 | 2.8798 × 103 |
| Std | 9.2377 | 8.1408 | 2.3112 | 7.8350 | 6.3290 × 10 | 8.7578 | 6.8065 | |
| F24 | Ave | 3.5218 | 3.2665 | 4.9199 | 3.1724 | 3.1932 | 3.0855 | 3.0343 × 103 |
| Std | 1.2135 | 9.9971 | 3.1459 | 6.0068 × 10 | 1.1563 | 1.2804 | 7.5755 | |
| F25 | Ave | 3.4327 | 3.0855 | 1.5444 | 3.0855 | 3.5262 | 3.2034 | 3.0668 × 103 |
| Std | 8.8058 | 2.3492 × 10 | 1.3989 | 2.3553 | 2.1484 | 5.9425 | 2.6992 | |
| F26 | Ave | 8.6249 | 9.0556 | 1.6923 | 7.0615 | 6.3760 | 5.8852 | 5.0518 × 103 |
| Std | 2.4721 | 1.8166 | 1.2165 | 2.4977 | 5.2971 | 8.0009 | 3.4836 × 102 | |
| F27 | Ave | 4.0141 | 3.6061 | 6.7731 | 3.5950 | 3.6165 | 3.4305 | 3.4253 × 103 |
| Std | 1.9720 | 1.5115 | 7.3983 | 1.3302 | 1.2148 | 5.3921 × 10 | 6.6431 | |
| F28 | Ave | 4.2899 | 3.3315 | 1.2297 | 3.3326 | 4.2560 | 3.4948 | 3.3136 × 103 |
| Std | 2.7492 | 2.9990 | 1.3466 | 2.7941 | 4.0559 | 8.1306 | 2.5638 × 10 | |
| F29 | Ave | 6.1689 | 4.7010 | 3.6559 | 4.6781 | 4.6299 | 4.3602 | 4.2874 × 103 |
| Std | 6.9454 | 4.4253 | 2.9085 | 3.7906 | 2.8006 × 102 | 2.8032 | 3.0278 | |
| F30 | Ave | 1.2248 | 1.1529 | 5.8046 | 1.0718 × 106 | 1.1702 | 9.2911 | 3.9885 |
| Std | 4.9406 | 2.9984 | 2.6383 | 2.1165 × 105 | 5.0559 | 2.0213 | 7.6628 |
| Algorithms | AO | FDA | AOA | GBO | GWO | FB-GWO-EPD | DB-GWO-EPD |
|---|---|---|---|---|---|---|---|
| AO | N/A | ||||||
| FDA | 7.7641 × 10−1 | N/A | |||||
| AOA | 1.0217 × 10−3 | 2.5245 × 10−3 | N/A | ||||
| GBO | 4.6500 × 10−2 | 3.2649 × 10−2 | 3.9261 × 10−5 | N/A | |||
| GWO | 1.5966 × 10−2 | 1.4304 × 10−2 | 5.1522 × 10−2 | 8.1663 × 10−5 | N/A | ||
| FB-GWO-EPD | 8.4754 × 10−1 | 8.7630 × 10−1 | 9.8442 × 10−4 | 4.6674 × 10−2 | 1.4854 × 10−2 | N/A | |
| DB-GWO-EPD | 1.2496 × 10−1 | 1.2324 × 10−1 | 3.3946 × 10−4 | 9.1839 × 10−1 | 9.5116 × 10−4 | 1.9343 × 10−1 | N/A |
| Algorithms | AO | FDA | AOA | GBO | GWO | FB-GWO-EPD | DB-GWO-EPD |
|---|---|---|---|---|---|---|---|
| AO | N/A | ||||||
| FDA | 4.4360 × 10−3 | N/A | |||||
| AOA | 5.4935 × 10−15 | 4.0441 × 10−17 | N/A | ||||
| GBO | 2.5666 × 10−3 | 8.0087 × 10−1 | 3.2827 × 10−16 | N/A | |||
| GWO | 9.3737 × 10−2 | 2.2604 × 10−1 | 3.9835 × 10−17 | 1.1853 × 10−1 | N/A | ||
| FB-GWO-EPD | 4.7753 × 10−3 | 3.5684 × 10−1 | 1.6881 × 10−15 | 3.8885 × 10−1 | 1.5497 × 10−1 | N/A | |
| DB-GWO-EPD | 4.5442 × 10−10 | 7.3072 × 10−3 | 4.8602 × 10−18 | 5.4212 × 10−4 | 8.7465 × 10−8 | 1.5154 × 10−6 | N/A |
| Algorithm | x1 | x2 | x3 | x4 | fmin |
|---|---|---|---|---|---|
| SIMPLEX [45] | 0.279200 | 5.625600 | 7.751200 | 0.279600 | 2.530700 |
| DAVID [45] | 0.243400 | 6.255200 | 8.291500 | 0.244400 | 2.384100 |
| APPROX [45] | 0.244400 | 6.218900 | 8.291500 | 0.244400 | 2.381500 |
| GA [46] | 0.248900 | 6.173000 | 8.178900 | 0.253300 | 2.430000 |
| HS [47] | 0.244200 | 6.223100 | 8.291500 | 0.240000 | 2.380700 |
| CSCA [48] | 0.203137 | 3.542998 | 9.033498 | 0.206179 | 1.733461 |
| CPSO [49] | 0.202369 | 3.544214 | 9.048210 | 0.205723 | 1.728020 |
| RO [50] | 0.203687 | 3.528467 | 9.004233 | 0.207241 | 1.735344 |
| WOA [51] | 0.205396 | 3.484293 | 9.037426 | 0.206276 | 1.730499 |
| GSA [7] | 0.182129 | 3.856979 | 10.000000 | 0.202376 | 1.879950 |
| MVO [52] | 0.205463 | 3.473193 | 9.044502 | 0.205695 | 1.726450 |
| OBSCA [53] | 0.230824 | 3.069152 | 8.988479 | 0.208795 | 1.722315 |
| AOA [42] | 0.194475 | 2.570920 | 10.000000 | 0.201827 | 1.716400 |
| GWO | 0.205711 | 3.254161 | 9.035520 | 0.205794 | 1.695653 |
| FB-GWO-EPD | 0.205486 | 3.259422 | 9.036860 | 0.205771 | 1.696094 |
| DB-GWO-EPD | 0.205699 | 3.253667 | 9.036660 | 0.205729 | 1.695281 |
| Algorithm | fmin | |||||
|---|---|---|---|---|---|---|
| DEDS [54] | 0.788675 | 0.408248 | 1.777971 × 10 −8 | −1.464102 | −0.535898 | 263.895841 |
| SSA [55] | 0.788665 | 0.408276 | 1.247906 × 10 −8 | −1.464070 | −0.535930 | 263.895842 |
| MBA [56] | 0.788565 | 0.408560 | 1.418869 × 10 −7 | −1.463748 | −0.536252 | 263.895834 |
| PSO-DE [57] | 0.788675 | 0.408248 | 1.427175 × 10 −7 | −1.464102 | −0.535898 | 263.895825 |
| Tsa [58] | 0.788000 | 0.408000 | 1.636731 × 10 −3 | −1.463566 | −0.534798 | 263.680057 |
| Rai and Saini [59] | 0.795000 | 0.395000 | −3.375515 | −1.480901 | −0.522474 | 264.359956 |
| CS [60] | 0.788670 | 0.409020 | −5.733901 | −1.463512 | −0.537062 | 263.971562 |
| MFO [61] | 0.788245 | 0.409467 | −1.190244 | −1.462717 | −0.537283 | 263.895980 |
| AOA [42] | 0.793690 | 0.394260 | −1.103007 | −1.480113 | −0.519898 | 263.915432 |
| GWO | 0.788398 | 0.409034 | −8.468448 | −1.463210 | −0.536791 | 263.896012 |
| FB-GWO-EPD | 0.788911 | 0.407583 | −5.171678 | −1.464858 | −0.535143 | 263.895952 |
| DB-GWO-EPD | 0.788539 | 0.408634 | −5.484502 × 10−14 | −1.463663 | −0.536337 | 263.895857 |
| Algorithm | x1 | x2 | x3 | x4 | x5 | fmin |
|---|---|---|---|---|---|---|
| MFO [61] | 5.98487 | 5.31673 | 4.49733 | 3.51362 | 2.16162 | 1.33999 |
| SOS [62] | 6.01878 | 5.30344 | 4.49587 | 3.49896 | 2.15564 | 1.33996 |
| CS [60] | 6.00890 | 5.30490 | 4.50230 | 3.50770 | 2.15040 | 1.33999 |
| MMA [63] | 6.01000 | 5.30000 | 4.49000 | 3.49000 | 2.15000 | 1.34000 |
| GCA1 [63] | 6.01000 | 5.30000 | 4.49000 | 3.49000 | 2.15000 | 1.34000 |
| GCA2 [63] | 6.01000 | 5.30000 | 4.49000 | 3.49000 | 2.15000 | 1.34000 |
| GWO | 6.02059 | 5.31527 | 4.48660 | 3.50436 | 2.14698 | 1.33653 |
| FB-GWO-EPD | 6.00974 | 5.31982 | 4.48908 | 3.51235 | 2.14305 | 1.33654 |
| DB-GWO-EPD | 6.00305 | 5.30003 | 4.50193 | 3.51318 | 2.15568 | 1.33653 |
| Algorithm | x1 | x2 | x3 | fmin |
|---|---|---|---|---|
| ECS-AGQPSO [64] | 53.446716 | 1.190101 | 24.718579 | 2,964,375.495330 |
| RCSOMGA [65] | 53.446827 | 1.190101 | 24.718580 | 2,964,375.495330 |
| SOMA [65] | 53.347298 | 1.190142 | 24.737115 | 2,964,378.729000 |
| RCGA [65] | 53.520217 | 1.190361 | 24.723656 | 2,964,375.725000 |
| PSO [66] | 55.000000 | 1.195410 | 24.774900 | 2,964,460.000000 |
| DE [66] | 51.985700 | 1.183350 | 24.719500 | 2,964,480.000000 |
| DE-PSO [66] | 53.447400 | 1.190100 | 24.718600 | 2,964,375.503101 |
| GP [67] | 52.600000 | 1.187000 | 24.800000 | 2,964,419.625000 |
| GWO | 53.444416 | 1.190075 | 24.719897 | 2,964,375.499725 |
| FB-GWO-EPD | 53.440728 | 1.190088 | 24.717434 | 2,964,375.498014 |
| DB-GWO-EPD | 53.446720 | 1.190101 | 24.718583 | 2,964,375.495329 |
Publisher’s Note: MDPI stays neutral with regard to jurisdictional claims in published maps and institutional affiliations. |
© 2022 by the authors. Licensee MDPI, Basel, Switzerland. This article is an open access article distributed under the terms and conditions of the Creative Commons Attribution (CC BY) license (https://creativecommons.org/licenses/by/4.0/).
Share and Cite
Rezaei, F.; Safavi, H.R.; Abd Elaziz, M.; Abualigah, L.; Mirjalili, S.; Gandomi, A.H. Diversity-Based Evolutionary Population Dynamics: A New Operator for Grey Wolf Optimizer. Processes 2022, 10, 2615. https://doi.org/10.3390/pr10122615
Rezaei F, Safavi HR, Abd Elaziz M, Abualigah L, Mirjalili S, Gandomi AH. Diversity-Based Evolutionary Population Dynamics: A New Operator for Grey Wolf Optimizer. Processes. 2022; 10(12):2615. https://doi.org/10.3390/pr10122615
Chicago/Turabian StyleRezaei, Farshad, Hamid R. Safavi, Mohamed Abd Elaziz, Laith Abualigah, Seyedali Mirjalili, and Amir H. Gandomi. 2022. "Diversity-Based Evolutionary Population Dynamics: A New Operator for Grey Wolf Optimizer" Processes 10, no. 12: 2615. https://doi.org/10.3390/pr10122615
APA StyleRezaei, F., Safavi, H. R., Abd Elaziz, M., Abualigah, L., Mirjalili, S., & Gandomi, A. H. (2022). Diversity-Based Evolutionary Population Dynamics: A New Operator for Grey Wolf Optimizer. Processes, 10(12), 2615. https://doi.org/10.3390/pr10122615

