Abstract
Antimony is classified as a critical/strategic metal. Its primary production is predominated by China via pyrometallurgical routes such as volatilization roasting—reduction smelting or direct reduction smelting. The performance of most of the pyro-processes is very sensitive to concentrate type and grade. Therefore, technology selection for a greenfield plant is a significant and delicate task to maximize the recovery rate of antimony and subsequently precious metals (PMs), mainly gold, from the concentrates. The current paper reviews the conventional pyrometallurgical processes and technologies that have been practiced for the treatment of antimony concentrates. The blast furnace is the most commonly used technology, mainly because of its adaptability to different feeds and grades and a high recovery rate. In addition, several other more environmentally friendly pyrometallurgical routes, that were recently developed, are reviewed but these are still at laboratory- or pilot-scales. For example, decarbonization of antimony production through the replacement of carbonaceous reductants with hydrogen seems to be feasible, although the process is still at its infancy, and further research and development are necessary for its commercialization. At the end, available refining methods for removal of the most important impurities including arsenic, sulfur, lead, iron, and copper from crude antimony are discussed.
1. Introduction
Antimony is one of the medieval metals, and antimony-containing castings were found from 4000 BC in China. Metallic antimony was mistaken for stibnite until the early 17th century (1604) when Basilius Valentinus published a book titled “The Triumphal Chariot of Antimony” explaining antimony properties, applications, and winning methods. This is renowned as the beginning of human knowledge about antimony. Later in 1707, the French chemist Lémery published his “Traité de l’Antimoine”, which led to considerable acclaim for antimony.
The English word “antimony” is derived from the Greek words: anti [opposed] and monos [solitude], which means a metal that rarely occurs alone [1]. Native antimony has a strong affinity for sulfur and other metals such as copper, lead, and gold [2,3]. As a result, the development of extraction methods was very slow until the Japanese war in 1905. Its ability as an alloying element for lead, which could be used in the production of ammunitions that can penetrate armor plates, resulted in its wide usage during World Wars I and II, at which time China was the major producer by 30,000 to 40,000 tons of antimony per year [1]. Antimony use in military applications led to its classification as an important member of the “Strategic Metals” [4].
Antimony is a metalloid element having common oxidation states of 5+ and 3+. It is a lustrous silvery-white solid, which is quite brittle and exhibits a flaky texture. Natural antimony consists of a mixture of two stable isotopes that have atomic weights of 121 (57.25 wt%) and 123 (42.75 wt%); more than thirty radioactive isotopes of antimony are also known [3]. Table 1 summarizes the important physicochemical and mechanical properties of antimony.
Table 1.
Physicochemical and mechanical properties of antimony.
1.1. Applications
Metallic antimony is brittle and has limited workability, but when alloyed in small amounts with other metals, it typically increases the hardness, resistance to wear, and improves castability. Historical applications of antimony included medicine and cosmetics (in powder form), battery grids, anti-friction bearing metals based on lead and tin, sheets and pipes [2], and type metals (60% Pb, ~25% Sb, and ~15% Sn), which is no longer the case because of off-set printing processes [5].
In World War II, antimony trichloride (SbCl3) was widely used in tents and vehicle covers. In a fire, antimony and chlorine recombine to form unstable compounds that consume oxygen in the environment, leading to the flame suffocation. Later, antimony was significantly used in lead-acid batteries in automobiles to harden the lead from which the electrodes (grids) are made of. The hard lead contains 15–25% antimony [4]. Lead-antimony alloys are used in starting-lighting-ignition batteries, ammunition, corrosion-resistant pumps and pipes, tank linings, and antifriction bearings [6]. High-purity antimony is used in semi-conductors, infrared detectors, and diodes. Antimony is also used in nuclear reactors together with beryllium [7] and pharmaceutical industry. Organic antimony compounds, such as antiprotozoal drugs, are used for certain parasitic diseases [6].
Antimony trioxide (ATO or antimony white) is now the most important antimony compound. Commercial grade is typically a fine and white powder, containing between 99.2% and 99.5% Sb2O3 and varying levels of other impurities (such as arsenic, lead, and iron) depending on the targeted application [4]. International Antimony Association provides the specifications required for the antimony trioxide products [8], provided in Table 2.
Table 2.
Specifications of antimony trioxide products (adapted [8,9]).
ATO is mainly used in flame-retardants, in conjunction with halogens for sealants, plastics, paints, rubber, fiberglass, aircraft, and automotive seat covers, children’s clothing, textile goods, and electronic equipment [6]. Antimony trioxide is also used as a catalyst for polyethylene terephthalate (PET) production, polyester resins, phosphorescent agent in fluorescent light bulbs, and as an opacifier for porcelain [10].
Antimony pentoxide (Sb2O5) and sodium antimonate (NaSb(OH)6) are also used in flame retardants. Another application for sodium antimonate is in decolorizing and refining agents for optical and cathode ray tube glasses. Antimony trisulfide (Sb2S3) is used in the liners of automobile brakes and safety match compositions. Antimony pentasulfide (Sb2S5) is used as a vulcanizing agent in the production of red rubber [11,12]. The intermetallic compounds AsSb, GaSb, and InSb have found some applications in electronics as semiconductors [5,13,14]. Figure 1 illustrates the major applications of antimony.
Figure 1.
Major applications of antimony (adapted from [4]).
1.2. Mineralogy of Antimony Ores
Antimony is not an abundant element, averaging ~0.2 g/tonne in the earth’s crust, but it can be found in more than 100 different minerals [15]. Anderson [4] and Habashi [16] have provided detailed information on the occurrence, geology, and mineralogy of the antimony ores. In the current paper, therefore, only antimony-containing minerals that are of higher industrial significance are listed in Table 3. These minerals have been categorized into three major groups, sulfides, oxides, and mixed minerals.
Table 3.
Minerals of antimony with industrial significance.
Stibnite, jamesonite, and antimony-gold ores are the most common sources of antimony. The two formers are typically found with lead ores in nature [17]. Antimony-gold ores mostly consist of gold and antimony sulfide intergrowth and aurostibite (AuSb2) [18]. Russia, Bolivia, Australia, and China have gold-antimony ore deposits [19]. Copper-rich sulfidic ores (e.g., tetrahedrite) have also received significant attention in recent years due to the depletion of richer ore bodies.
The most significant antimony-containing components that are present in different ore bodies, and intermediate or final products of the antimony production are listed in Table 4.
Table 4.
Major antimony-containing compounds.
1.3. Antimony Production
In the ’70s and ’80s, Canada, Malaysia, Thailand, Japan, Italy, Spain, former Yugoslavia, and Czechoslovakia were among the main producers of antimony, but their production was ceased completely or reduced significantly. Canada, for example, was used to produce ~3000 tonnes/year of antimony in the late ’70s, mainly using ores extracted from Consolidated Durham Mines and Resources Ltd., in New Brunswick, Canada. However, the mine operation was stopped in 1981. Teck’s lead-smelter in Trail, British Columbia, was also used to produce antimony as a by-product, in small quantities [2], but the antimony metal is no longer among product lists of the operation [20].
According to U.S. Geological Survey 2022, almost 90% of the antimony mine production currently comes from three countries of China, Russia, and Tajikistan. The remaining 10% comes from other countries [21], shown in Figure 2, and given in Table 5.
Figure 2.
Countries with main mine production of antimony (adapted from [21]).
Secondary production accounts for ~20% of the total antimony production, and mainly originates from the recycling of lead-acid batteries and antimony-containing residues from lead-, copper- and gold-smelting processes [4].
China dominates mining of the raw materials and production of major antimony-bearing products (trioxide and metal). Antimony production in China is mainly concentrated in Hunan, Guangxi, Guizhou, Yunnan, and Gansu provinces [19]. China strictly controls the export rates and can put pressure on the market, which has led to an uncertain situation regarding the antimony price and availability for the demand of the western countries. Binz and Friedrich [9] highlighted that this has been the main reason why the European Commission considered high supply risk and economic importance for antimony and listed it as one of the critical raw materials for the period 2015–2020. To manage the risk of dependence on foreign sources of antimony, the USA Government has stockpiled antimony for national defence purposes for several decades [3].
In addition to Europe and USA, Canada, Japan, and Australia also called antimony a critical metal due to its importance for transition to green energies (e.g., solar panels, windmills, and batteries), and the advance of the semiconductor industry and electronics [22,23,24].
Table 5.
Main producers of antimony in the world.
Table 5.
Main producers of antimony in the world.
| Country | Mine Product. (t) [21] | Reserves (×1000 t) [21] | Main Producers [4] | Product [4] | Total Production Capacity (×1000 t/y Sb) [4] |
|---|---|---|---|---|---|
| USA | NA | 60 | Amspec Chemical Corporation Laurel Industries Inc. Great Lakes Chemical (Anzon) United States Antimony Corporation Sunshine Mining and Refining | Trioxide Trioxide Trioxide Metal, Trioxide, Na-antimonate Metal, Na-antimonate | 15 12.5 6 1.5 1.5 |
| Australia | 3400 | 100 | |||
| Bolivia | 2700 | 310 | Enal | Trioxide | 9.3 |
| Burma | 2000 | 140 | |||
| Canada | 2 | 78 | |||
| China | 60,000 | 480 | Hsikwangshan Mining Administration Dachang Mining Administration Guzhou Dushan Dongfeng Hubei Chongyang Hunan Chenzhou Mining Co, Ltd., Guangxi China Tin Group Limited Yunnan Muli antimony industry Co., Ltd. Xikuangshan Flash-Antimony Industry Limited | Metal, Oxides, Na-antimonate Metal Metal, Trioxide Metal, Trioxide N/A N/A N/A Metal [25] | 30 N/A 10 4 4 N/A N/A N/A 40 |
| Guatemala | 80 | NA | |||
| Iran | 400 | NA | |||
| Kazakhstan | 100 | NA | |||
| Kyrgyzstan | NA | 260 | Kadamjaisk Antimony Combine | Metal, Trioxide | 20 |
| Mexico | 700 | 18 | |||
| Pakistan | 20 | 26 | |||
| Russia (Recoverable) | 25,000 | 350 | |||
| Tajikistan | 13,000 | 50 | |||
| Turkey | 1300 | 100 | |||
| Vietnam | 400 | NA | |||
| France | NA | Société Industrielle et Chimique de L’Aisne Mines de la Lucette AMG antimony [26] | Metal, Trioxide Metal Trioxide | 12 9.5 10 | |
| Belgium | NA | Campine Union Minière/Umicore [5] | Trioxide Na-antimonate | 10 6 | |
| Oman | Strategic and Precious Metals Processing (SPMP) | Metal, Trioxide | 20 [27] | ||
| World Total (Rounded) | 110,000 | >2000 |
It has been projected that extractable global resources of antimony will be exhausted by 2050, assuming an increase in the extraction rate by 3% per year [10,28]. Therefore, significant research effort has been devoted to developing methods for recovery of antimony from secondary raw materials [13,29], but the current review article only focuses on primary pyrometallurgical production routes.
Generally, the production of antimony can be via pyro- or hydro-metallurgical processes. More recently, bio-hydrometallurgical processes have also been proposed, but still at lab-scale [30,31]. Similar to lead, copper, and tin production, antimony is mainly extracted by pyrometallurgical methods. Hydrometallurgical routes, which are typically used for low-grade ores (<5% Sb) [32,33] and to minimize losses of PMs, can be classified into two groups of alkaline leaching and acid leaching, followed by the electrodeposition of metallic antimony at the cathode or hydrolysis with NaOH or NaH4OH to produce Sb2O3 [32,34,35,36,37,38,39,40,41,42,43,44,45,46,47,48]. An example is a process used at Sunshine Mining Co (between Kellogg and Wallace, ID, USA) [49]. Furthermore, the production of antimony based on electrolysis of Sb2S3 [50] have been recently developed in a lab scale to mitigate SO2 pollution and CO2 emissions. More specifically, molten salt electrolysis of antimony smelting is a new development in the direction of antimony clean production [51,52].
1.4. Objectives of the Current Review
There is a significant lack of literature in comparison to other non-ferrous metals, and particularly comprehensive review articles, around pyrometallurgical extraction of antimony from primary resources. Wang [53] authored the “Antimony” book more than 100 years ago. The next comprehensive reference on the topic was the antimony chapter of the “Non-Ferrous Production Metallurgy” by Bray, published in 1947 [54]. In 1988, Tian-Cong published a book titled “The Metallurgy of Antimony” in which many of the processes that are currently in operation were introduced, and detailed design and process parameters were provided [2]. This book is one of the most comprehensive English references for antimony production. Almost 10 years later, in 1997, Habashi dedicated a complete chapter to antimony in his “Handbook of Extractive Metallurgy” [16]. It took another 15 years before Anderson [55] published a review article on “Antimony Metallurgy” providing useful reference on more recent developments in the industry. In 2019, Anderson [4] updated some sections of his 2012 review article and republished it in the “SME Mineral Processing and Extractive Metallurgy Handbook”. Most recently, in 2022, Dembele et al. [32] published a review article on “Technological trends, emerging applications, and metallurgical strategies in antimony recovery from Stibnite”. To the best knowledge of the current authors, apart from the references mentioned above, there is no other comprehensive review of antimony production. In addition, most of the existing reviews have not been all-inclusive or listing all established methods at the time of their publication. In addition, several new processes have been developed over the past decade, which have never been critically reviewed or compared with the conventional processes in a single reference. Therefore, the current review article aims to summarize the conventional and recently developed pyrometallurgical processes for antimony extraction from primary resources. It also attempts to provide a guide for technology selection and flowsheet development of any new greenfield smelters, determining the most viable approach/strategy for their targeted feed composition(s) and grade(s), with its specific characteristics. In addition, refining methods for removal of most significant impurities including arsenic, sulfur, lead, iron, and copper from crude antimony are reviewed.
2. Pyrometallurgical Treatment of Antimony Concentrates
Stibnite concentrate is produced via grinding, milling, flotation, and gravity separation of sulfidic ores. Based on the existing literature, process selection for the treatment of antimony concentrates highly depends on its grade (i.e., antimony concentration). Different processes have been proposed/used for the treatment of antimony concentrates with different grades, as shown in Figure 3. These processes are elaborated in the following sections.
Figure 3.
Process selection for treatment of antimony ores (adapted from [54]).
2.1. Volatilization—Reduction Smelting
The main objective of the volatilization-reduction smelting process is to oxidize Sb2S3, produce and volatilize Sb2O3, and finally reduce the collected fumed oxide into metallic antimony. Different units/technologies can be used for the volatilization part of the process such as rotary kiln, blast furnace, and side-blown vessel, which are explained in Section 2.1.1 to Section 2.1.4. “Cyclone Smelting”, as will be further explained in Section 2.1.5, is slightly different in that Sb2S3 is volatilized, instead of conversion to and volatilization of Sb2O3. The final stage of the process, reduction smelting, which is used to reduce the generated oxides regardless of their methods of production, is rather similar for all routes.
2.1.1. Conventional Volatilization Roasting
Roasting refers to the oxidation of metal-containing concentrates using air, oxygen, or oxygen-enriched air at temperatures low enough to prevent melting or sintering of the charge. Conventional volatilization roasting is used to treat relatively low-grade concentrates 15–25% Sb. According to Anderson [55], even lower grade ores starting from 5% Sb can also be treated using this method, but not those that have antimony concentrations above 25%. The oxidation roasting of stibnite (Equation (1)) results in the generation of volatile antimony trioxide (Sb2O3), mainly as a di-molecule of tetra-antimony hexoxide (Sb4O6), that can be captured in the off-gas. The sulfur removal can be carried out at ~1000 °C [4].
Concentrates containing higher antimony contents (>25%) are not treated via conventional volatilization roasting as the material is likely to melt (causing local incomplete sulfur removal), and formation of antimony glass (a mixture of undecomposed stibnite, antimonates, arsenates, and sulfates) may be inevitable, which in turn results in lower recovery of antimony or causing practical issues such as accretion formation. In addition, control of draft and temperature, in the desired window, is not straightforward [16,54,56].
There are significant advantages with using the conventional volatilization roasting process for the treatment of low-grade ores, namely: (a) arsenic oxide can be readily separated as it is more volatile than ATO, (b) PMs will be enriched in the residue (calcine), which can be treated for recovery of PMs, (c) its efficiency is proven for the treatment of low-grade ores, and (d) sulfur-combustion, and the consequent heat generation, reduces the fuel requirements of the process [54].
Rotary kiln is the most commonly used reactor for conventional volatilization; i.e., oxidation and volatilization while maintaining the charge in solid state [4,16]. The yield of this process can be as high as ~98%, but lower recoveries as low as 60% have been also reported [16]. Typically, 90–94% antimony-recovery can be expected [2].
The formation of undesired nonvolatile antimony tetroxide (Sb2O4) strongly depends on process temperature and oxygen partial pressure. Therefore, the supply of excess oxygen, higher than what is stoichiometrically needed for conversion of sulfide into trioxide, also called dead roasting, is rarely used. Carbon monoxide in the system minimizes the formation of tetroxide, therefore the ratio of oxygen supply to reductant (e.g., coke breeze) needs to be accurately determined (i.e., the formation of tetroxide cannot be entirely suppressed). Volatile antimony trioxide is recovered in flues, condensing pipes, baghouses, or a combination of these systems [4].
Very fine particles (<500 µm) should be avoided in the feed as these may be carried over to off-gas and contaminate the deposited ATO [54]. Mean particle diameter of 5–10 cm is sufficient to allow enough reaction surface area in the conventional kilns due to volatilization of antimony trioxide and porosity development in the microstructure. However, very low-grade ores need to be finer to allow sufficient sulfur-removal (e.g., 5–10 mm particle size was reported for 10–12% Sb in the feed) [2,16].
In general, the operating temperature of the volatilization roasting process is governed by the sulfide content of the ore. Reportedly, low-grade ores can be roasted between 850 and 1100 °C [2] however, in practice, to enhance volatilization rates, temperatures as high as 1200 °C are recommended [2]. If higher-grade ores are treated, the temperature should be kept lower than 850–1100 °C to avoid melting and incomplete roasting/volatilization [16]. Schematic visualization of rotary kilns and important process specifications that are used for the conventional volatilization roasting process are shown in Figure 4. Conventional kilns typically operate co-currently (i.e., the calcine and the process gas are traveling in the same direction, from the front end of the kiln to its back end).
Figure 4.
Schematic visualization of conventional volatilization roasting in a co-current kiln (adapted from [2]).
2.1.2. Flash Volatilization
A modified version of the conventional volatilization roasting process is the flash roasting, which was practiced at Manciano smelter, AMMI in Italy [2], with antimony recovery as high as 96%. In this process, similar to flash smelting of copper and lead concentrates, the feed material is brought into intimate contact with air/oxygen as it is charged into the kiln and rapid oxidation of sulfides followed by volatilization of ATO is achieved. For flash volatilization, it is necessary to assure that the concentrate is of fine particle sizes (<150 µm) and dry. In this process, dried concentrate with 50–60% Sb is pneumatically injected into a counter-current rotary kiln and roasted at 1200–1300 °C. It should be noted that the counter-current kilns used for flash volatilization of ATO are slightly different from the counter-current kilns used in other applications (e.g., Waelz kiln operation). In other counter-current operations, the burner is located at the back-end of the kiln (the process gas is exhausted from the front-end), while the feed material is charged from the front-end and discharged from the back-end. In the flash volatilization of ATO, however, the feed is charged via the burner (on the front-end of the kiln, where the calcine is also discharged); whereas the process gas is exhausted on the opposite side (back-end). The counter-flow in this application refers to the flow of calcine, after it is settled down in almost the middle of the kiln, and process gas (ATO) in different directions.
The roasting in the flash volatilization is completed within 2–3 s [2]. The process produces a semi-molten/softened calcine which starts to settle in the middle of the kiln and as a result of kiln rotation, will be brought back to the hot zone, as shown in Figure 5. This procedure allows oxidation and volatilization of any residual antimony from the material.
Figure 5.
Schematic visualization of flash volatilization counter-current kiln (adapted from [2]).
2.1.3. Volatilization Smelting in Blast Furnace (BF)
Stibnite Smelting in BF
Another unit that can be used for volatilization of ATO, but from a molten phase, is a BF, which was first developed in China in 1963, extensively improved and used in the following decades. An example of a flowsheet using this process route is shown in Figure 6. In the smelting process, antimony sulfide is volatilized and oxidized (producing ATO) at high temperatures, and discharged with gangue materials from the furnace as molten slag. The main advantages of this process and potential reasons behind its wide application can be listed as: (a) adaptability to a wide range of raw materials (oxidic, sulfidic, and mixed sulfide-oxide concentrates); a lump ore or fine concentrate; antimony-containing slags, and other residues, (b) possibility for treatment of low-grade and high-grade (>40% Sb) concentrates, but higher grades are reported to be more economical, (c) high recovery rate of antimony (97–98%), and (d) large treatment capacity. For BF operation, the antimony concentrate needs to be admixed with lime and agglomerated. The furnace charge is made of the agglomerate, iron ore and limestone (to act as fluxing agents since the gangue is mainly silica) and metallurgical coke. The furnace operates at temperatures between 1300 and 1400 °C [2].
Figure 6.
Flow diagram of volatilization smelting of stibnite in blast furnace-reverberatory furnace (adapted from [19]).
The “World Capital of Antimony”, Xikuangshan antimony mine, is situated in Hunan Province, China [2,25,57,58,59]. Guo et al. [25] reported that Xikuangshan Flash-Antimony Industry Limited produces 40,000 tons/year of antimony using BF volatilization smelting. The volatilized antimony oxides, collected in a bag-type dust collector, are refined at 1200 °C using coal in a reverberatory furnace. The purity of produced antimony is about 99.4%.
Reportedly, volatilization smelting in BFs and reduction smelting of the produced ATO in reverberatory furnaces have been the pyrometallurgical route for the production of >90% of total antimony from its ores since 1900 [19,60,61,62,63]. However, large energy consumption (>~292 kJ/t antimony), low-concentration SO2(g) generation, which is not adequate for sulfuric acid plants [64,65], and health and safety concerns for plant workers because of antimony and arsenic volatilization [61,66] are the main drawbacks of the process.
Bo [67] proposed a modified volatilizing smelting BF process for the production of antimony trioxide, in which antimony oxide is mixed with de-arsenifying (Na2CO3 or CaO) and de-leading (a mixture of phosphate and borate) agents to produce gaseous antimony trioxide particles in the reaction chamber. These particles are directly condensed in the mixing cooler into antimony trioxide solid particles. Superfine, refined antimony trioxide is finally collected in the filter dust after deposition and grading in the settlement chamber and cyclone dust collector. The coarse particles are recycled back to the blast furnace [67].
Gold-Antimony Smelting in BF
One of the main driving forces for such a wide application of the volatilization smelting in BFs has been the possibility of gold recovery from concentrates; an example of such a flowsheet is shown in Figure 7.
Figure 7.
Flowsheet of the blast furnace volatilization smelting of antimony-gold ore (adapted from [19]).
In the process of BF volatilization smelting-electrolysis of gold-antimony alloy, the dried briquettes of antimony-gold ore, lime, and coke were smelted in the blast furnace where more than 90% of antimony was volatilized to crude antimony oxide and about 10% antimony metal stayed in the BF, as a gold carrier. Subsequently, the crude antimony was oxidized to produce enriched gold-antimony alloy which was further treated via chlorination leaching. The resulted antimony oxide was also processed by reduction smelting and oxidation blowing to produce antimony oxide and gold-antimony alloy containing high concentrations of lead. The antimony oxide was processed in the reverberatory furnace to produce antimony metal [19].
Copper-Antimony Smelting in BF
The use of high-copper antimony ore in antimony smelting and production has been limited so far because copper is a harmful impurity in antimony and also difficult to be removed. However, due to the exhaustion of other antimony resources, its treatment is becoming important. Mo-tang and Gui-zhong [68] proposed the BF volatilization-smelting route for the production of crude antimony oxide and antimony-copper matte to prevent the deportment of copper to crude antimony and subsequent refining challenges. Industrial trials were performed in an antimony smelting BF at Xingyao Antimony Industry in 2006 and “satisfactory” results were reported [68]. The copper content of the antimony concentrate was as high as 0.36%. In the BF, antimony sulfide was volatilized at high temperatures followed by its oxidation in a cooling system. The copper in the concentrate was smelted under a weak oxidizing atmosphere, where part of FeS was oxidized to form FeO and SO2(g). Iron oxide and SiO2 reported to slag, and the remaining FeS reacted with CuS to form matte. When the copper in the matte was enriched to a certain extent, it could be recovered in an open circuit. The recovery rate of antimony reached more than 97%. Copper was mainly collected in matte [68].
Padilla et al. [69] proposed an alternative method and investigated the chloridization of antimony from stibnite in a copper-rich concentrate using calcium chloride under oxygen atmosphere (1–21.27 kPa) at a roasting temperature between 500 and 650 °C. This was reported as an alternative route to conventional antimony volatilization during roasting in air or oxygen-deficient air, which was barely successful since antimony remains in calcine as non-volatile oxides. In the proposed route, the formation of Sb2O3 and its subsequent reaction with chlorine gas was reported as the main mechanism of antimony extraction. They implied that the formation of Sb6O13 deteriorated the complete removal of antimony from stibnite. The main challenges of the process were sulfur emission and corrosive nature of the flue gas.
2.1.4. Volatilization Smelting in a Side-Blown Vessel
The volatilization smelting in a side-blown vessel, also called “CSC”, was developed based on the Vanukov method to treat sulfidic ores [70,71]. In this process, oxygen-enriched air is injected into the furnace via a tuyere located about 0.5 m below the surface of the melt on the sidewall of the smelting furnace. This makes the upper part of the molten bath bubble strongly and stirred violently, facilitating high reaction rates. A solid charge is added to the molten bath and stirred at temperatures between 1000 and 1400 °C. Major advantages of the technology are: (a) simple feed preparation (the particle size distribution is not a major limitation; 15–25 mm particles are acceptable, and the moisture content of the feed can be up to 15%), (b) the mass transfer and heat exchange are rapid (due to motion caused by injection), leading to high productivity, (c) continuous operation can be realized, and (d) the tuyere is simple in structure and can blow oxygen-enriched air, pulverized coal, and/or natural gas. A set of commercial test facilities for antimony concentrate volatilization and smelting using CSC technology was established in 2013. The conditions and technical indices of the tests are listed in Table 6.
Table 6.
CSC commercial test parameters (adapted from [70]).
2.1.5. Cyclone Smelting
The cyclone smelting technology was developed jointly by Humboldt Wedag of Germany and the Metal Research Institute of the Soviet Union. Various types of feeds including oxidic or sulfidic concentrates and metallurgical residues can be treated in this unit for recovery of metal. A wide range of fuels can be used as a source of energy [72]. In a cyclone furnace, antimony is mainly volatilized as antimony sulfide (~75% of the total antimony in the concentrate), the remainder may get oxidized and volatilized as antimony oxide. The charge is fed in a spiral manner into a combustion chamber, as illustrated in Figure 8. The cyclone furnace is typically 0.85 m in diameter and 1.25 m long [72]. During volatilization, the furnace atmosphere needs to be oxygen-free. The volatilized sulfide is then oxidized and separated as ATO in a baghouse. The impure oxide is pelletized and melted in a rotary furnace. The cyclone slag contains about 1% antimony. The process was first used in 1940 in USSR and then USA [2]. It is currently in operation at Vinto smelter in Bolivia, the flow diagram of which is shown in Figure 9 [4].
Figure 8.
Schematic of typical cyclone furnace.
Figure 9.
Flow diagram of antimony recovery in cyclone smelting at Vinto smelter in Bolivia (adapted from [4]).
The combustion is carried out more vigorously than the conventional burner combustion, and the main advantages of the process can be listed as the use of a compact unit, reduced dusting due to improved combustion, improved utilization of oxygen, and the relatively lower capital and operating costs. For a successful process, however, the feed requirements are a minimum of 60% antimony [16] and <0.5% of lead and arsenic in sum. Lead and arsenic are mainly concentrated in the matte, re-circulation of which may create a loop for these elements; hence, their concentrations need to be minimal in the original feed to avoid process upsetting conditions. An antimony-recovery efficiency as high as 96% has been reported for the cyclone furnace [16].
2.1.6. Vacuum Distillation Process
Zhou et al. [73] investigated the recovery and enrichment of antimony from both high-grade stibnite (51.8% Sb) and low-grade stibnite (16.8% Sb) using vacuum distillation, which was originally applied to refining antimony from impurities such as arsenic. For low-grade stibnite, under a set of controlled vacuum distillation variables (pressure of 10 Pa, temperature of 800 °C, and heating time of 30 min), 97% of antimony was recovered and enriched to Sb2S3 with 95 wt% purity. For high-grade stibnite, the optimum vacuum distillation time was reported to be 45 min. With the application of a two-step vacuum distillation, commercial grade Sb2S3 (99.5%) could be produced within a single operation unit from high grade stibnite. It was implied that the process is rather short and eco-friendly. Operation under total gas pressure below 1 atm is beneficial for all volume increase reactions, and there is no environmental pollution. However, the concept of vacuum distillation can only be considered as a pre-treatment step for upgrading the concentrates and does not include conversion of sulfides into oxides or metal. Moreover, the process is yet to be validated at pilot- and full-scale plants.
2.1.7. Reduction Smelting or Reverberatory Smelting of Oxides
The oxides produced from volatilization roasting (from any of the above-mentioned processes) or oxidic ores can be reduced to metal using carbonaceous reductants as follows:
The oxide reduction is typically carried out at 1200 °C [55] in shaft, reverberatory, or short rotary furnaces [16]. Efficient precipitators and off-gas filters are required to remove volatilized ATO. The amount of carbon required for the reduction depends on oxide composition but typically ranges between 8% and 12% of the charge. It is important to control/avoid volatilization during the reduction process. About 15% to 20% of ATO is usually volatilized, which can reach as high as 40% [54]. To minimize volatilization and loss of ATO, an alkaline flux consisting of soda, potash, and sodium sulfate is commonly used, which also dissolves residual sulfides and gangues [55] and produces a slag with low viscosity. Impurities such as copper or iron are converted to matte by adding sulfur (usually in the form of crudum, liquid antimony sulfide) [16]. The furnace is typically fed with high-grade oxides that yield fairly small quantities of slag and antimony-laden flue dust [16]. The charge needs to be in the form of lumps or briquets. The slag is melted first, and when a fully molten slag is reached, the other materials are slowly charged. If considerable antimony sulfide is also present, some iron is added to reduce the sulfide [54].
The main product of the reduction process is a high purity metal, but the slag may also have a high concentration of antimony (5–20% Sb) and requires further treatment for the metal recovery. The antimony yield is between 95 and 98% which contains 90–92% Sb, 5–7% Fe, and some amounts of As and Pb. Stationary reverberatory furnaces have largely been replaced by short rotary furnaces with the advantage of thorough mixing and rapid melting [16].
The main disadvantages of the oxidative volatilization-reductive smelting route for the production of antimony from stibnite are the large energy consumption (1.2 tons of coal is required for the production of 1 ton of antimony), low amount of SO2 generation, which cannot be reused for sulfuric acid production, and accumulation of arsenic and lead oxides in the slag phase, which is problematic for slag storage or disposal. Ye et al. [74] proposed an optimized slag composition (36.2% FeO, 31.9% SiO2, 12.0% CaO, and 20.0% Na2O with a low liquidus temperature) and a set of parameters (FeO/SiO2 of slag = 1.14, coke = 12.5 wt% and smelting temperature of 1000 °C) for extraction of antimony from Sb2O3. They were able to reach >92% antimony recovery and <1% antimony in the slag, which is superior to those of the current processes. However, the process is still at a laboratory scale and is yet to be confirmed at full-scale operations.
The reverberatory furnace was also proposed to be used for both oxidative volatilization and reduction smelting. Guangxi Dachang Mining Bureau treated a sulfur-antimony-lead concentrate (25–29% Pb, 16–20% Sb), the by-product of tin production in such a process, using a single unit [75].
2.2. Precipitation Processes
2.2.1. Iron Precipitation or English Precipitation
Antimony-rich sulfide ores (>50%) or liquated antimony sulfide (crudum, with ~70% antimony) can be reduced to metal by iron precipitation, according to Bray (1947) [54], Anderson (2012) [55], and Anderson (2019) [4]. This process takes advantage of a higher affinity of iron to sulfur than that of antimony, which results in precipitation of antimony metal [53].
The process consists of heating antimony sulfide in crucibles together with fine iron scrap at slightly more than the stoichiometric amount. Due to the high specific gravity of iron sulfide, it is difficult to completely separate it from metallic antimony; hence, additives may be used. For example, sodium sulfate and carbon are added, to produce sodium sulfide and dilute FeS, leading to the formation of a lower density matte, which can be more easily separated from metal. Because the formed metal contains considerable amounts of iron and some sulfur, a second fusion with some liquated antimony sulfide and salt follows for purification. The process is schematically shown in Figure 10.
Figure 10.
Schematic iron-precipitation process for recovery of antimony (adapted from [2]).
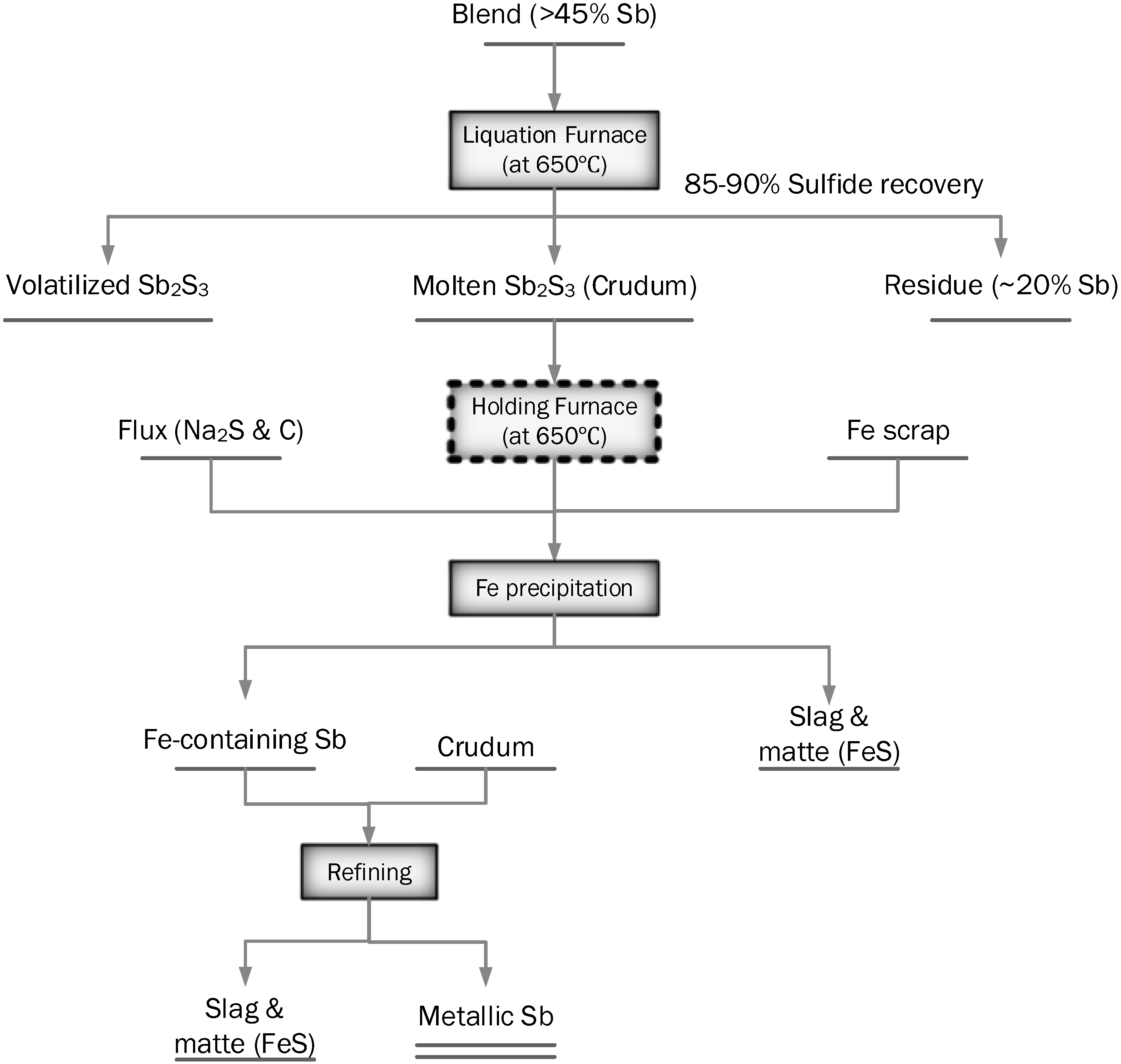
2.2.2. Liquation Followed by Iron-Precipitation
For concentrates with 45–60% Sb2S3, a simple pyro-upgrading process “Liquation” can be carried out to produce an antimony-rich sulfide phase, which can then be charged to the iron-precipitation process for the production of antimony metal. The liquation product, called crudum, is sold as such for applications requiring antimony sulfide or is converted to metallic antimony by iron precipitation (English precipitation) or careful roasting to the oxide followed by a reduction in a reverberatory furnace [76]. The residue (calcine) of the liquation process, which contains 15–25% antimony is suitable for treatment in the conventional volatilization roasting process [54]. Liquation iron-precipitation of intermediate-grade ores is known to be the simplest approach among the other processes [4,53,54]. Via heating, stibnite melts and is then separated from the rest of the gangue material which reports to a waiting receptacle. A potential flowsheet for processing of concentrates with >45% antimony is shown in Figure 11. The product typically appears as acicular crystals; hence, the name “needle antimony” is often used. Temperature control of the liquation process is essential as very high temperatures result in excess volatilization of sulfide (Sb2S3 boils at ~1000 °C) while very low temperatures cause low recovery of antimony. The most suitable temperature range is between 550 and 660 °C [16]. However, considering the vapor pressure of Sb2S3, as high as ~447 Pa at 660 °C, it is evident that some volatilization is inevitable. This method is expected to allow from 85 to 90% of the sulfide content to be recovered [54]. A reverberatory furnace can be used for continuous liquation; however, a reducing atmosphere must be provided to prevent oxidation of antimony sulfide and loss by volatilization [76] or formation of a stable tetroxide [4,54,55]. Concentrates with less than ~45% antimony are not suitable for liquation since a large amount of gangue leads to accumulation of antimony in the residue and lowers the recovery of metal [16].
Figure 11.
A potential flowsheet for recovery of antimony from high antimony concentrates; liquation followed by iron-precipitation. Holding furnace is optional for the process.
Alkaline Smelting/Reduction Smelting of Sulfides
“Alkaline Smelting” or “Reduction Smelting” of sulfidic antimony ores together with alkaline slags is a standard long-established practice [16]. The process is based on the affinity of Na2O (alkaline slag) to react with metal sulfides, absorbing the sulfur and liberating the metal, as shown in Equation (4). The metallic antimony produced should be refined. The process can be carried out at 1000 °C with a recovery rate of 85–90% [2]. A high-grade sulfide is required; hence the alkaline smelting can become a downstream process after the liquation operation.
2.2.3. Sulfur Fixing Methods
Sulfur-Fixing with Iron-Oxide as an Agent
This is a relatively new process [77] in which antimony metal is extracted from stibnite (~48% Sb) in one-step by reductive sulfur-fixation smelting in sodium molten salt, using iron oxide as the sulfur-fixing agent, shown in Figure 12. Direct recovery of antimony can reach ~91.5% and crude antimony with the purity of 96% can be produced. About 95% of sulfur can be fixed in the form of FeS in the presence of iron oxide. It was reported that PMs contained in the stibnite concentrate are enriched and comprehensively recovered in crude antimony. The main reactions that occur in reductive sulfur-fixing smelting of stibnite are listed in Equations (5)–(9). The smelting temperature of the present process is decreased to 850–900 °C in comparison to 1150–1200 °C in the traditional pyrometallurgical extraction of antimony. Although sulfur fixation reduces SO2 emission, still, downstream sulfur removal equipment is necessary to be installed. From environmental and energy consumption points of view, the process seems very attractive, but further proof-of-concept in pilot- and full-scale operations is needed.
Figure 12.
Flowsheet of reductive sulfur-fixing smelting of stibnite concentrate for one-step extraction of antimony at low temperature (adapted from [77]).
Sulfur-Fixing with ZnO as an Agent
Yang et al. [63] proposed a “pollution-free” process to separate antimony from a stibnite concentrate via smelting at a low temperature using a sulfur-fixing flux, ZnO. They achieved a recovery rate of >97% for antimony, crude antimony grade of >96%, and sulfur-fixing rate of 98%. The flux, which had a NaOH/Na2CO3 mass ratio of 10/147 and more than 10% of the stoichiometric requirement of ZnO, was smelted together with stibnite at 880 °C. Zinc sulfide was converted to a cake, which could be recovered from the process to produce ZnO. The recovery rate of ZnS and its grade were 90 and 66.7%, respectively. The proposed route has been summarized in Equation (10).
Later, Ye et al. [78] proposed a one-step eutectic molten salt NaCl–Na2CO3 bath smelting process that uses a sulfur-fixing agent, ZnO, at 600–900 °C for extraction of antimony metal from low-grade stibnite. The reported reaction paths are listed in Equations (11)–(15):
Molten salt does not react with the other components. The average recovery rate as high as ~93% was obtained for antimony under a set of fixed variables (temperature 850 °C, time 1 h, Wsalt/Wore = 5:1, WZnO/Wtheory = 1.0, and Wcarbon = 10% Wore). They implied that with increasing the operational temperature, salt consumption, and carbon as reductant, a higher recovery rate for antimony could be achieved. Despite the advantages of low temperature and sulfur fixation, a large amount of molten salt was consumed [78]. The process is at its early stages, and no piloting has been completed yet. The viability of the process at an industrial scale is yet to be confirmed.
In 2018, Ouyang et al. [79] also used ZnO as a sulfur-fixing agent at a low-temperature range (between 400 and 900 °C) in absence of a source of carbon. However, instead of antimony-metal, the process output was mainly volatile ATO, which could be captured in the off-gas handling system and sent for reduction smelting and metallization. The major reactions in this process are listed in Equations (16)–(18):
The produced ZnS can be separated by conventional flotation to obtain zinc concentrate, and it can be utilized as a raw material for zinc production. In general, the technology has not been fully developed yet and the evaluations were quite preliminary, limited to only thermal analysis techniques at a laboratory scale.
In 2019, Ye et al. [74] proposed a 3-step reduction roasting-sulfur fixing-beneficiation method for the production of antimony from antimony sulfide. In the process, Sb2S3 was roasted with zinc oxide and carbon to produce antimony metal and zinc sulfide, followed by recovery of metallic antimony via gravity separation and flotation. The reaction between antimony sulfide, zinc oxide, and reductant was complete without the need for a molten salt bath. More than 90% recovery rate for antimony and ~92% sulfur-fixing rate were obtained under the following operating conditions; the temperature of 800 °C, carbon particle size of 75–100 µm, ZnO (wt%)/stoichiometric (wt%) ratio of 1.0, and a test duration of 2 h. The proposed method is claimed to largely contribute to the reduction in energy consumption and SO2-emissions. The large density difference between metallic antimony and zinc sulfide (Sb = 6.88 g/cm3 and ZnS = 3.98 g/cm3) indicates rather an easy separation of the two products [74]. The process is yet to be proven at pilot- and full-scales.
Nevertheless, the feasibility of any sulfur-fixing method with ZnO at industrial scale needs to be reconfirmed since ZnO is quite expensive, at least compared to other sulfur capturing agents. Final sulfur scrubbing with ZnO is used in the industry, but normally only in association with zinc smelters where ZnO is readily available and resulting ZnS can be immediately treated. All these affect the viability of this approach for antimony production.
Carbothermic Reduction-Sulfur Fixation Using Lime
Igiehon et al. [80] investigated the extraction of antimony metal from antimony sulfide using lime or magnesia and graphite or coal as exchange and reducing agents, respectively. Two steps reactions are shown in Equations (19) and (20):
They reported that antimony sulfide concentrate was completely reduced using coal to liquid antimony and calcium sulfide after 30 min at 700 °C. They also reported that reduction rate using coal was much faster than that using graphite [80].
Padilla et al. [56] further investigated the carbothermic reduction of stibnite in lab-scale in a similar way to Igiehon et al. [80], but at a higher temperature range 700–950 °C. It was reported that the Sb2S3 transformation was complete at 750 °C in <17 min and at 850 °C in <5 min using a Sb2S3:CaO:C (molar ratio) of 1:3:3. They implied that reduction proceeds via the formation of SbO2, which is consequently reduced by CO(g) to produce antimony metal and calcium sulfide.
Major advantages of the carbothermic reduction of stibnite in presence of lime are listed as follows: (a) lower operating temperatures 700–850 °C in comparison to the conventional smelting processes (b) lower losses of antimony due to volatilization (although no recovery rate has been reported), (c) requirements for less gas handling and cleaning facilities (because of a lower production of gas volume), (d) least SO2 pollution, and (e) appropriateness for small- to medium-scale production of antimony (due to comprising of fewer steps). However, disposing the product calcium sulfide has been mentioned as one of the drawbacks of this technique [74].
2.2.4. Decomposition of Stibnite
The process of the stibnite decomposition in an airtight vessel was patented in 1932 for direct production of antimony (but there is no information about its industrial implementation). When stibnite is heated to 1500 °C in absence of oxygen, it will undergo the reactions shown in Equations (21) and (22), producing metallic antimony [2].
Considering impurities such as oxides in the concentrate and practical limitations in controlling an oxygen-free atmosphere in the vessel, the process is not of significant value for industrial application.
2.3. Direct Reduction to Metal
2.3.1. Blast Furnace Direct Reduction to Metal
Intermediate grade (25–40% Sb) oxidic, sulfidic, or mixed charges can be treated in BF by “direct reduction”. The process has been practiced in Mexico, Belgium, and Great Britain with the best results obtained for ores containing 25–30% Sb [16], or even up to 40% Sb [55]. Wu et al. [81] have reported that Guangxi province, in 2018, produced 33% of the total antimony output of China via the sinter-BF reduction-reverberatory refining process route. However, it was not clearly mentioned what has been the division of the feed material between oxidic concentrates and sulfidic concentrates.
Roasted ores, briquetted flue dust, and oxides are readily reduced in a BF. High-grade ores are not adapted to such treatment because of high losses of antimony due to volatilization [54]. A siliceous slag is used and antimony-recovery of 95–98% can be achieved (slag contains antimony as low as 0.25%) [54]. The BF operates at 1300–1400 °C. The molten sulfide is first oxidized by blast air (according to Equation (1)), then the oxide will react with unconverted sulfide to yield metallic antimony (according to Equation (2)). Direct reduction of stibnite may also take place according to Equations (23) and (24) [55].
The reduction of Sb2S3 by solid carbon will begin at 700 °C, but will not be complete until 1200 °C [2]. The required proportion of metallurgical coke is about 15% of the charge. The main disadvantage of the direct process is that antimony compounds are volatilized (due to the height of the furnace) which decreases the antimony recovery. Although antimony yield as high as 98% can be achieved, not all of it is in metal form; some antimony leaves the shaft furnace as volatilized ATO, which must be captured in suitable collection devices. Standard practice favors low air pressure (e.g., 5.5 kPa) at a flow rate of 1200 m3/s. Suitable fluxes are limestone, pyrite cinders, and ferrous slags.
2.3.2. Jamesonite Smelting in BF
Jamesonite is a complex ore of lead and antimony, with the general chemical formula of Pb4FeSb6S14, and around 20–25% antimony. The roasting-sintering-smelting in the blast furnace has been widely used for jamesonite processing [19]. This process contains multiple steps including desulfurization in the fluid-bed roaster, sintering after burden, reduction smelting of calcine with coal in a BF to produce a lead-antimony alloy, and blowing for separation of lead from antimony and production of crude antimony trioxide and lead-rich alloy, illustrated in Figure 13. Subsequently, in the reverberatory furnace or short rotary furnace, the crude antimony trioxide is reduced and refined to produce fine antimony, which is blown to produce crude antimony white.
Figure 13.
Flow diagram of roasting-sintering-smelting of jamesonite in blast furnace (adapted from [19]).
2.3.3. Reaction Smelting (Mutual Reduction)
The reaction smelting is based on oxygen supply to the system, partial oxidation of sulfide, and mutual reduction between sulfide and oxide for metal production, as shown in Equations (1) and (18). It is believed that the mutual reduction can effectively take place at 800–900 °C, and the reaction rate intensifies with increasing temperature [2]. In addition, significant volatilization of both antimony oxide and antimony sulfide can occur, which reduces the efficiency of the process to as low as 40–50% [2], and therefore makes it unattractive for industrial use. No plant could be identified relying on such an operation. Nevertheless, reverberatory furnaces, BFs, or rotary kilns may be suitable to accomplish mutual reduction from mixed charges of oxidic and sulfidic feeds.
2.3.4. Hydrogen Reduction
The carbonaceous reductant used in the direct smelting of stibnite can be replaced by hydrogen to produce metallic antimony. The required process temperature is relatively low ~625 °C and H2S(g) is produced instead of CO2(g) according to Equation (25).
Research activities on this topic started in 1902, with significant efforts by Changsha Research Institute of Mining and Metallurgy [2]. However, no report of a full-scale operation using hydrogen could be found in the literature. Tian-Cong [2] reported some experiments that were carried out on reduction of antimony sulfide using hydrogen gas in both solid and liquid states. The following main conclusions were drawn: (1) reduction rate increased with increasing the temperature; (2) for solid-state reduction, temperatures above 500 °C and below the melting temperature of sulfides were needed while for the liquid state, temperatures as high as 850 °C were required; (3) shorter reduction time was required for liquid state reduction than the solid-state reaction, and (4) increasing the hydrogen gas flowrate, promoted higher reduction rates, but up to a certain limit, beyond which the reduction was suppressed.
2.4. Oxidation Smelting-Reduction Smelting
2.4.1. Dead Roasting Followed by Reduction Smelting
In the dead roasting-reduction smelting process, the stibnite concentrate can be fully oxidized aiming at the production of non-volatile antimony tetroxide which will remain in the calcine. Subsequently, the calcine can be sent to reduction smelting for metallization of antimony. It has been reported that around 75% of antimony in the charge can be maintained in the calcine (i.e., ~25% will be carried over to off-gas as Sb2O3) [2]. This approach would simplify the control of the process parameters such as oxygen partial pressure and temperature. However, it is impossible to separate the gangue material in the first stage, i.e., the entire oxidized feed is sent to the reduction smelting. This means that the reduction will be more energy-intensive and overall antimony loss in the slag may increase. In addition, due to inefficiencies of such a process, it is only applicable to the treatment of high-grade concentrates. There is no existing plant using this technology on an industrial scale.
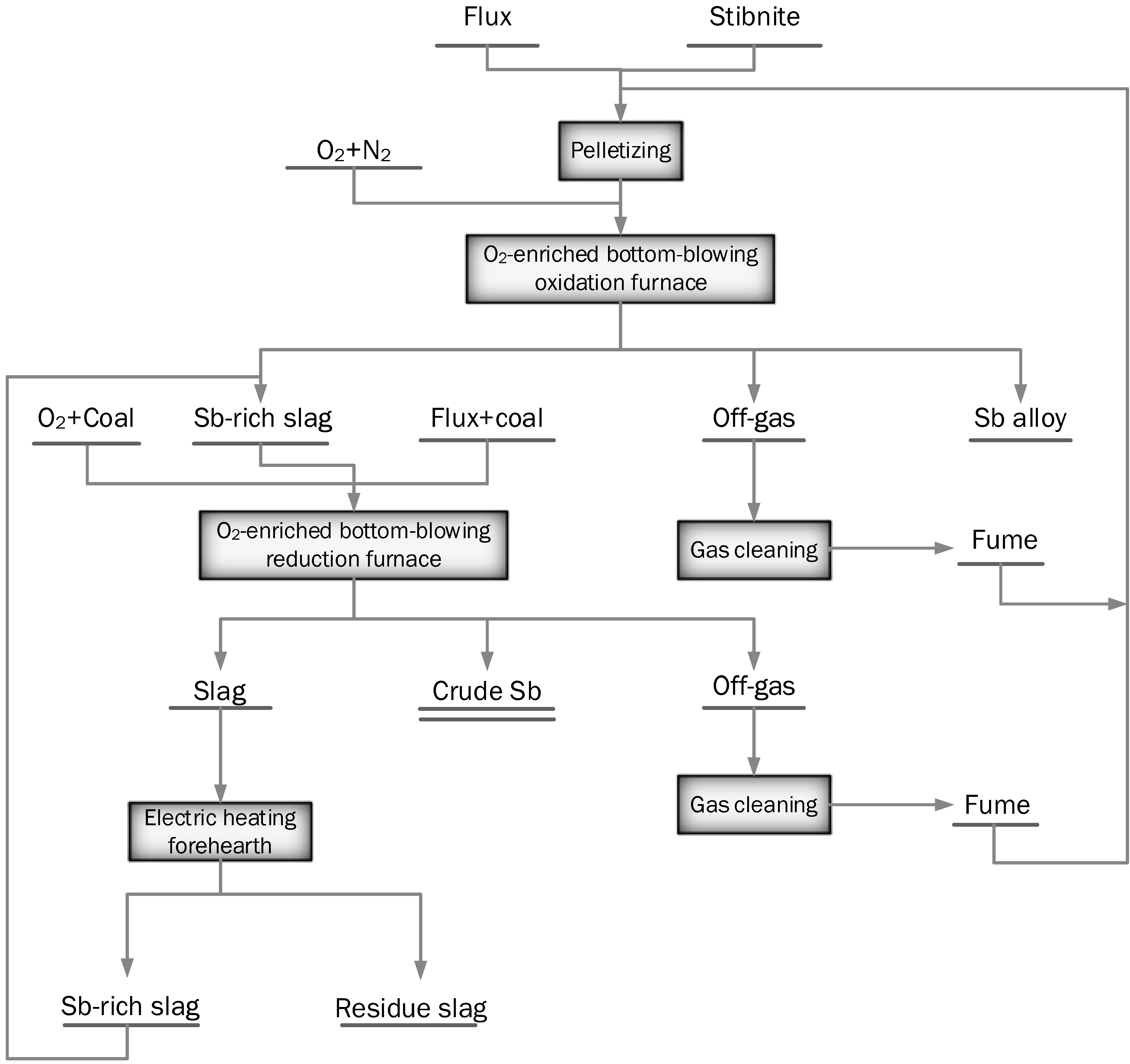
2.4.2. Oxygen-Enriched Bottom-Blown Vessels
The oxygen-enriched bottom-blown oxidation of stibnite and direct reduction is another relatively new process that was piloted in 2014 [62]. The pilot unit had a 5–10 t/d capacity, and the test campaign lasted for 100 days. Stibnite (~46% Sb) together with flux (limestone, silica, and iron ore) were charged into a bottom-blown oxidative smelting vessel. The products were antimony-metal, antimony-rich slag (32% Sb), and ATO fume. The slag is then charged into another bottom-blown reactor for reduction and recovery of metal, as shown in Figure 14. The reduction was carried out at 1200 °C. It was reported that after the reduction process, gold and antimony could be recovered in the metal phase and the final slag contained <1% Sb, and <1 ppm Au, while metal had <3% Fe. Although this technology seems to be promising, no other information on its industrial application is available (i.e., it is not clear why it has not been commercialized yet).
Figure 14.
Schematic flowsheet of antimony production from stibnite via oxygen-enriched bottom-blowing and direct reduction (adapted from [62]).
2.5. Matte Smelting
The matte smelting process consists of two sub-processes of matte-making and extraction of antimony metal from the matte. The latter consists of leaching—electrowinning and/or electrolysis of molten matte which has not been used at a commercial scale. The matte-making process relies on the fusion of sodium sulfate and antimony sulfide in presence of a reducing agent, as listed in Equations (26) and (27), in which “n” can be 2 or 3 and “m” can be 1, 2, or 3 [2,4,16].
Reduction of sodium sulfate by carbon and CO(g) begins at 700–750 °C and 850 °C, respectively, and the reaction rate significantly increases as the temperature increases. The products of Equation (27) can be thioantimonates (NaSbS2, Na4Sb2S5, and Na3SbS3), and oxythioantimonates such as Na3SbO3, NaSbO2, and NaSbSO may be also present in the matte. The sodium sulfate used in the matte smelting serves both as a matte maker and also as a flux (i.e., 50–70% of the input sodium sulfate deported to the slag phase). The Academy of Kazach, former USSR, provided some recommended parameters for matte smelting as listed in Table 7.
Table 7.
Recommended parameters for matte smelting (adapted from [2]).
Although the produced slag is lean enough to be discarded directly (0.2–1% Sb), its volume is typically quite high. However, it cannot be classified as a non-hazardous material because it is a soda-based slag and contains highly leachable heavy metals. Hence, it may not be sold directly and needs to be managed. Disposing of hazardous materials is typically costly. Slag stands for 70–80% of the charge, containing 50–60% SiO2, 17–26% Na2O, 7–8% Al2O3, 3–8% CaO, and 2–5% FeO.
3. Technology Selection
The conventional and recently developed processes for antimony-smelting from concentrates are categorized in Table 8. Lately, promising and environmentally friendly methods have been proposed too, which can contribute to reduction in the energy consumption and emissions from antimony-smelting processes; namely, processes that use sulfur fixing agents at low temperatures. Use of green hydrogen as a fuel and reductant (for direct reduction of sulfides or reduction smelting of oxides) is also an attractive method toward decarbonization of the antimony extraction processes and CO2(g) mitigation. However, as mentioned in previous sections, these processes are still at early stages of development and yet to be proven at industrial scale (some even at pilot-scale).
Table 8.
Classification of pyrometallurgical processes for antimony production from concentrates.
The main process routes, that have been used at industrial scale, for antimony smelting from different ore types and grades are listed in Table 9. According to the literature, the most significant criterion for smelting technology selection is the ore grade. Except BF volatilization smelting, all other processes are only applicable for a narrow range of antimony concentration in the feed material. Even the BF-volatilization smelting route is recommended for higher grades concentrates to deliver high recovery rates and be more economical. The feed-grade restriction makes the technology selection challenging, particularly for custom smelters, who are not associated with a particular mine (ore body). In order for these smelters to treat antimony concentrates from different primary sources, high level of flexibility in the processes is needed to accommodate variations in antimony grade and level/type of impurities in the feed material. A practical method to improve flexibility of the plant in treating feeds with different grades is use of parallel production lines (with some common features) (an example was shown in Figure 6). But higher number of unit processes in the flowsheet means higher operating cost, higher potential losses of antimony and PMs, and more susceptibility to production upset conditions. Therefore, ability to treat a wide range of feed grades in a single vessel is highly sought for.
Table 9.
Established methods for treatment of different ore types and grades of antimony.
Irrespective of the reported industrial operations to date, listed in Table 9, and merely based on pyrometallurgical fundamentals, and similarities of production methods for extraction of other non-ferrous metals (e.g., copper, lead, and zinc), it is believed that other technologies that may have not been commonly used for commercial production of antimony yet may provide more flexibility for variations in feed composition and may be able to cover a wider range of concentrate composition.
Flash volatilization followed by reduction smelting is an example that can potentially treat a wide range of feed grades, provided that advanced burners and monitoring/controlling systems are used to accurately determine and meet the required process parameters (e.g., feed grade, particle size distribution, and moisture content, temperature, and oxygen partial pressure). It is clear that the process needs to be completed in campaigns and process parameters be accurately adjusted in between the campaigns to tailor the operation for the upcoming feed composition and properties.
Another process route with high probability of success for smelting feeds with a wide range of composition is the side-blown volatilization followed by reduction smelting process. This technology provides a bath smelting operation which is less sensitive to compositional changes, potential heat losses, and variation in feed characteristics (particle size distribution and/or moisture content). A highly agitated bath provides an efficient reaction rate and productivity.
4. Refining
Crude antimony that is produced from any of the upstream processes, is impure and requires further refining to meet commercial and technical criteria; typically ≥99% purity with ≤0.3% arsenic [16]. In addition to arsenic, the other main impurities in crude antimony are lead, copper, iron, and sulfur [19]. Removal of impurities with chemical properties very different from antimony such as iron, copper, and sulfur is rather easy. However, elements like arsenic and lead, possessing chemical properties very similar to antimony, are difficult to be removed [82]. Hence, it is challenging to obtain antimony of high-purity by a single/simple refining method. On the other hand, multistage processes lower the antimony yield. Fire refining is a common pyrometallurgical process that is based on preferential oxidation or sulfidization of the impurities, and their removal in a dross phase. Vacuum distillation or formation of intermetallics could be also used for refining purposes [2]. However, Tian-Cong [2] reported that fire refining is not a simple selective oxidizing or sulfidizing process, but a cementation reaction. That is, antimony reacts with oxygen or sulfur first to form antimony oxide or sulfide which oxidizes or sulfidizes the impurities, respectively. According to Gibbs energies of formation, shown in Figure 15a, removal of impurities such as iron from antimony is feasible via selective oxidation. However, antimony oxide is more stable than that of copper and lead, and removal of these elements requires an alternative method, e.g., sulfidation as illustrated in Figure 15b. In addition, the standard Gibbs energy of formation of As2O3 is close to that of ATO, making the oxidizing removal of arsenic from antimony challenging.
Figure 15.
Gibbs energies of formation of different (a) oxides and (b) sulfides from their pure elements and 1 mole of oxygen (calculated using FactSage 8.1 FactPS database) [83].
4.1. Removal of Sulfur
Sulfur in crude antimony is present in the form of Sb2S3. Since the chemical properties of antimony and sulfur are largely different, it can be easily removed. This is rather evident from the Sb-S phase equilibria where liquid antimony and molten Sb2S3 are immiscible. That is, only up to 1.5 wt% sulfur dissolves in antimony. For sulfur concentrations between 1.5 and 25 wt%, two phases Sb2S3-rich melt and liquid antimony containing maximum 1.5 wt% sulfur are stable (i.e., Sb2S3-rich melt with a melting temperature of 527 °C forms on top of the molten Sb with a melting temperature of 615 °C). For sulfur concentrations above 25 wt%, sulfur is stable in the form of Sb2S3-rich melt. For high purity antimony, sulfur removal should be further performed using chemical methods. Tian-Cong [2,84] implied that soda is the best desulfurizer, and sulfur concentrations below 0.002 wt% can be obtained (via the reaction shown in Equation (28)):
The produced Sb2O3 either volatilizes or reacts with the excess Na2CO3 to form Na3SbO4 (Equation (29)) while the formed Na2S reacts with Sb2S3 to produce Na3SbS3 (Equation (30)):
A great excess of soda should be added in alkaline refining to assure that Na3SbS3 forms.
4.2. Removal of Arsenic
Arsenic is both the most common and the most problematic impurity in antimony metal. A large portion of arsenic can be removed from the ore via selective flotation. A large fraction of the remaining arsenic, however, will be volatilized as arsenic-trioxide together with ATO. Electrostatic precipitators can be used to separate arsenic from antimony as solid ATO gets precipitated, while arsenic-trioxide passes the unit. Nevertheless, still a considerable amount of arsenic (beyond permitted levels) follows antinomy in all stages of the processes and needs to be eliminated, either in smelting processes or the final refining operation [16]. Hence, several methods have been proposed for removal of arsenic from antimony such as vacuum distillation, smelting-refining using different fluxes [85].
The arsenic content of the antimony-metal, prior to refining is typically between 0.3 and 2% [2]. Figure 16a illustrates the Sb-As phase diagram. Arsenic and antimony are miscible in molten state and form a solid solution upon cooling. However, their vapor pressures are significantly different, which can be utilized in vacuum distillation refining to force arsenic volatilize out. Vapor pressure of elemental arsenic at 800 °C can be up to 22.9 atm in comparison to that of elemental antimony 0.0002 atm [2].
Figure 16.
Binary phase diagrams; (a) As-Sb, (b) Pb-Sb, (c) Fe-Sb, and (d) Cu-Sb, calculated using FactSage 8.1 FTlite database [83].
Vacuum distillation was, therefore, successfully used for the production of high-purity antimony. Bonnier and Charveriat [85] added 1–2 wt% aluminum during the distillation, thus largely reducing the arsenic content in the condensate which consisted of antimony with 99.99% purity [86]. By repeated distillation, Min-Chin [84] and Ivanov and Papirov [87] obtained a product containing 99.999% antimony, although in rather low yield. However, a more common practice is use of soda and oxygen or sodium hydroxide to form sodium arsenate and remove it from the melt, Equations (31)–(34), in a fire refining process:
As shown in Figure 17, soda is quite effective for arsenic removal and its effect is proportional to the added amount.
Figure 17.
Arsenic content in antimony as a function of soda ash addition between 850 and 900 °C (adapted from [59]).
Terlikbayeva et al. [88] developed, in lab-scale, an arsenic removal route from a sodium hexahydroxoantimonate (mopungite) concentrate containing 0.34% arsenic during the reduction smelting process for production of antimony with low arsenic concentration 0.07–0.1 wt%. In this process, smelting-refining of antimony concentrate was carried out via addition of sodium plumbite (Na2PbO2) or lead oxide (PbO) which oxidized arsenic according to Equations (35) and (36):
Direct reduction of sodium antimonate to metallic antimony was achieved, and arsenic deported to the slag phase [88]. In 2021, Li et al. [89] proposed removal of arsenic upstream of the conventional refining process (i.e., directly from ATO, before charged into the reduction smelting furnace). In their experiments, they mixed ATO with pyrite and conducted a two-stage process: (1) heating the mixture up to 550 °C in N2-atmosphere to convert As2O3, Sb2O3, and As-Sb solid solution to As-Sb-sulfides, and (2) maintaining the mixture at 550 °C and injecting oxygen to oxidize As2S3 to volatile As2O3 and Sb2O3 to non-volatile Sb2O4.
The antimony recovery rate of >94% and arsenic removal rate of ~93% were obtained under a set of experimental conditions (5 wt% pyrite addition, 90 min holding time, and air flow rate of 200 mL/min). The produced antimony oxides (which are expected to be a mixture of trioxide and tetroxide) could be further treated in the conventional reduction smelting process.
4.3. Removal of Lead
The two major ores of antimony, stibnite and jamesonite, are found with lead ores in nature [17], resulting in high concentrations of lead (0.1–5%) in crude antimony, very far from the commercial requirements of <0.2% [78].
Figure 16b illustrates the Sb-Pb phase diagram. As seen, up to about 5% lead dissolves in antimony. As shown in Figure 15, oxidation removal of lead from antimony metal is not possible, while sulfidation is thermodynamically viable. In practice, however, the use of elemental sulfur or stibnite, can only reduce the lead concentration down to ~1%, which is still too high for many commercial applications [16]. Different techniques have been, therefore, proposed for removal of lead from antimony such as phosphate addition, repeated oxidation-reduction, vacuum refining, and chloridization [2,78,82,90,91,92,93].
Phosphate addition, as an oxidizing agent, into the standard fire refining technique was proposed to oxidize lead and deport it to the slag phase. The post-treatment process, however, was reported to be complex, and often a large quantity of antimony was lost to slag [82,92,93]. Ye et al. [78] proposed another process route using NaPO3. They reported that NaPO3 starts reacting with PbO at 590 °C to form NaPb4(PO4)3 and NaPbPO4 below 850 °C and above 850 °C, respectively. About 98.85% of Pb was removed under a set of optimum experimental conditions (750 °C, 20 min, 60% NaPO3 and 3% NaNO3), and the final antimony contained ~0.05% Pb, which satisfies the commercial requirements of antimony metal. It was implied that the process is environmentally neutral because of not using ammonia, and other impurities such as sulfur, iron, cobalt, and silicon could be also removed from antimony. However, the refining capacity of NaPO3 for bismuth, copper, and nickel in antimony was very low.
In China, repeated oxidation volatilization-reduction under controlled temperatures were reported to be a routine practice. That is, impure antimony is volatilized as antimony trioxide followed by the reduction to metallic antimony where lead is collected at the bottom of furnace. It would be possible to produce antimony metal with 99.99% purity using this method [2]. However, lead-removal via volatilization under atmospheric pressure is not effective because the vapor pressures of the antimony and lead compounds are in the same range in the refining temperatures of 800–1000 °C. Vacuum distillation refining was, therefore, reported to be performed in two steps, where iron, copper, and nickel can be removed at first step followed by removal of lead at the end of the second stage. Lead content as low as 0.22% could be obtained. The technique is time-consuming and relatively costly, hence only used for production of high purity antimony [2].
In 2014, Yong et al. [82] invented a vacuum refining method using some additives for removal of lead and arsenic from crude antimony (Sb 97–99.9%, Pb 0.01–1%, As 0.02–0.2%). The technique consisted of two steps of addition of a metal (manganese, aluminum or a combination of both) in 1–5% of the total weight of antimony followed by the distillation of the mixture for 0.5–1 h under a total pressure of 4–20 Pa at 580–650 °C. Addition of manganese and/or aluminum prevented the volatilization of arsenic and lead. This process is claimed to be superior to conventional vacuum distillation, where all the three elements co-volatilize. This approach was reported to be environmentally friendly, which does not produce any wastes, with an improved antimony recovery. The residues (metallic manganese and aluminum) from refining were recycled during the process as additives to the first step.
Chloridization [90], selective crystallization refining [2], and electrolysis [16] are the other techniques reported for lead removal from antimony metal. Due to higher affinity of lead for chlorine than antimony, chloridization led to lead contents as low as 0.12–0.5% in antimony. However, this technique was not very effective because antimony was rather easily chloridized, decreasing the direct recovery rate of antimony to only 72–95%. That is, part of antimony reported to NaCl melt and part of it volatilized as SbCl3 [78,90,91]. Using selective crystallization refining, a lead content as low as 0.061–0.299% in antimony could be obtained. However, due to low productivity, the use of this technique can be only justified for the production of high-purity antimony [2].
4.4. Removal of Iron
Figure 16c depicts the Fe-Sb phase diagram. As seen, iron and antimony are miscible while molten, but in solid state, solubility of iron in antimony is almost zero. During cooling, intermetallics such as FeSb2 form at ~728 °C and precipitate out. Subsequently, the iron component of the alloy can get oxidized by oxygen supply and be removed in a dross form [2].
If the iron content in antimony is less than 1.5%, FeSb2 and Sb form a eutectic at 625 °C and precipitate together. In addition, as iron concentration decreases, its activity also decreases, and preferential oxidation of iron becomes more and more difficult (or it is associated with significant amount of antimony loss). Hence, other methods need to be applied. Sulfide concentrate (stibnite), sodium sulfate and/or antimony trioxide can be added to the bath to promote the following reactions, Equations (37)–(39) [2]:
Sodium carbonate is used as flux to react with iron sulfide or iron oxide generated from the above reactions and effectively separate them to the dross phase, Equations (40) and (41) [2]:
4.5. Removal of Copper
Figure 16d shows the Cu-Sb phase diagram. As seen, solubility of copper in antimony is very small. A eutectic at 528 °C with 23% copper can form, after which antimony still dissolves 0.2% copper.
According to sulfide Gibbs energy of formation (Figure 15b), the remaining copper can be removed via addition of antimony sulfide, following the reaction given in Equation (42) [2].
Copper sulfide has a density of 5.6 g/cm3, which is very close to that of antimony sulfide (6.6 g/cm3); hence, it cannot be easily separated by gravity separation. Often sodium carbonate (Na2CO3) is added to form a Na-Cu-Sb sulfide, with a lower density to facilitate separation. However, it should be noted that some antimony loss is inevitable in such an approach [2].
5. Conclusions
- (1)
- Blast furnace volatilization—reduction smelting is currently the most commonly used method for treatment of concentrates; capable of smelting a wide range of antimony concentration in the feed.
- (2)
- Although smelting technology selection is highly dependent on antimony grade of the feed, modern technologies such as flash volatilization or side blown volatilization followed by reduction smelting are very promising and if proven at full-scale can be potential candidates for custom smelters. Molten salt electrolysis of antimony smelting is also a promising new technology of low carbon and green antimony smelting.
- (3)
- Promising environmentally friendly processes such as use of sulfur fixing agents have been recently developed but have yet to be proven at pilot- and full-scales.
- (4)
- Use of hydrogen in smelting of antimony sulfide and reduction of antimony oxides can be another green pyro-route for antimony production, which can contribute to deep decarbonization of the industry. However, more research and experimental work needs to be performed before the process can be used at industrial scale.
- (5)
- Crude antimony contains various impurities (e.g., arsenic, sulfur, lead, iron, and copper), originating from the raw materials or production processes, and they should be removed to meet commercial and technical requirements. Often a multistage refining method should be selected based on the type of the impurity and applications of antimony product. For example, iron is removed via oxidation followed by sulfidation. Copper can be removed via selective crystallization and sulfidation. Lead can be removed via sulfidation followed by different methods such as phosphate addition, repeated oxidation volatilization-reduction, or vacuum distillation. For removal of arsenic, vacuum distillation or fire refining using soda flux were reported to be effective.
Author Contributions
Conceptualization, investigation, data collection and analysis, and representation, E.M.-K. and S.M.; Resources, E.M.-K.; Writing—Original Draft Preparation: E.M.-K. and S.M.; Writing—Review & Editing, E.M.-K., S.M., A.S. and J.-P.C.; Visualization, E.M.-K., S.M. and A.S.; Supervision, E.M.-K.; Project Administration, E.M.-K. and S.M. All authors have read and agreed to the published version of the manuscript.
Funding
No external finding was received for this work.
Institutional Review Board Statement
Not applicable.
Informed Consent Statement
Not applicable.
Data Availability Statement
Not applicable for this work.
Conflicts of Interest
On behalf of all authors, the corresponding author states that there is no conflict of interest.
References
- Stanley, G. Metals and metallurgy in the twentieth century. J. S. Afr. Inst. Min. Metall. 1946, 46, 235–267. [Google Scholar]
- Tian-Cong, Z. The Metallurgy of Antimony; Central South University of Technology Press: Changsha, China, 1988; p. 731. [Google Scholar]
- United States Geological Survey. Publications of the U.S. Geological Survey, 2000; United States Geological Survey: Washington, DC, USA, 2001.
- Anderson, C. Antimony production and commodities. SME Mineral Processing & Extractive Metallurgy Handbook; Society for Mining, Metallurgy, and Exploration: Englewood, CO, USA, 2019. [Google Scholar]
- Umicore Antimony. Available online: https://www.umicore.com/en/about/our-metals/antimony/ (accessed on 30 April 2022).
- Umicore Antimony. Available online: https://www.usantimony.com/ (accessed on 3 May 2022).
- Keny, S.J.; Gokhale, B.K.; Kumbhar, A.G.; Bera, S.; Velmurugan, S.; Basu, S.; Suvarna, S.; Kiran, K. Antimony (Sb) Sorption at High Temperature and Pressure on Zircaloy, Carbon Steel (CS) and Magnetite Coated CS (MCS) Surfaces; Bhabha Atomic Research Centre Facilities: Kalpakkam, India, 2015. [Google Scholar]
- Antimony Substances. Available online: https://www.antimony.com/antimony/ (accessed on 30 April 2022).
- Binz, F.; Friedrich, B. Recovery of antimony trioxide flame retardants from lead refining residues by slag conditioning and fuming. Chem. Ing. Tech. 2015, 87, 1569–1579. [Google Scholar] [CrossRef]
- Henckens, M.L.C.M.; Driessen, P.P.J.; Worrell, E. How can we adapt to geological scarcity of antimony? Investigation of antimony’s substitutability and of other measures to achieve a sustainable use. Resour. Conserv. Recycl. 2016, 108, 54–62. [Google Scholar] [CrossRef]
- Claude, F. Non-ferrous metal: From Ag to Zn. Lannoo. Tielt 2002. [Google Scholar]
- Schmidt, M.L.M.; Domer, U. Rohstoffrisikobewertung—Antimon; Deutsche Rohstoffagentur (DERA) in der Bundesanstalt für Geowissenschaften und Rohstoffe (BGR): Berlin, Germany, 2015. [Google Scholar]
- Dupont, D.; Arnout, S.; Jones, P.T.; Binnemans, K. Antimony Recovery from End-of-Life Products and Industrial Process Residues: A Critical Review. J. Sustain. Metall. 2016, 2, 79–103. [Google Scholar] [CrossRef]
- Multani, R.S.; Feldmann, T.; Demopoulos, G.P. Antimony in the metallurgical industry: A review of its chemistry and environmental stabilization options. Hydrometallurgy 2016, 164, 141–153. [Google Scholar] [CrossRef]
- Schulz, K.J.; DeYoung, J.H., Jr.; Seal Ii, R.R.; Bradley, D.C. Critical Mineral Resources of the United States—An Introduction; 1802A; U.S. Geological Survey: Reston, VA, USA, 2017; p. 22.
- Habashi, F. Antimony. Handbook of Extractive Metallurgy; Habashi, F., Ed.; Wiley-VCH: Weinheim, Germany, 1997; Volume 2, pp. 822–844. [Google Scholar]
- Štrbac, N.; Mihajlović, I.; Minić, D.; Živković, Ž. Characterization of the natural mineral form from the PbS-Sb2S3 system. J. Min. Metall. B Metall. 2010, 46, 75–86. [Google Scholar] [CrossRef]
- Kovalev, K.R.; Kalinin, Y.A.; Naumov, E.A.; Myagkaya, M.K. Relationship of antimony with gold mineralization in the ore districts of Eastern Kazakhstan. Russ. Geol. Geophys. 2014, 55, 1170–1182. [Google Scholar] [CrossRef]
- Liu, W.-F.; Yang, T.-Z.; Chen, L.; Bin, S.; Bin, W.-D. Development of Antimony Smelting Technology in China. In 4th International Symposium on High-Temperature Metallurgical Processing; Springer: Berlin/Heidelberg, Germany, 2013; pp. 341–351. [Google Scholar]
- Other Metals. Available online: https://www.teck.com/products/other-metals/ (accessed on 30 April 2022).
- Mineral Commodity Summaries 2022; U.S. Geological Survey: Reston, VA, USA, 2022; p. 202.
- Englman, T.; Terkieltaub, E.; Etgar, L. High Open Circuit Voltage in Sb2S3/Metal Oxide-Based Solar Cells. J. Phys. Chem. C 2015, 119, 12904–12909. [Google Scholar] [CrossRef]
- Itzhaik, Y.; Bendikov, T.; Hines, D.; Kamat, P.V.; Cohen, H.; Hodes, G. Band Diagram and Effects of the KSCN Treatment in TiO2/Sb2S3/CuSCN ETA Cells. J. Phys. Chem. C 2016, 120, 31–41. [Google Scholar] [CrossRef]
- Perpetua Resources Could Help Secure U.S. Production of Critical Mineral Antimony. Available online: https://perpetuaresources.com/news/american-antimony-production/ (accessed on 30 April 2022).
- Guo, X.; Wang, K.; He, M.; Liu, Z.; Yang, H.; Li, S. Antimony smelting process generating solid wastes and dust: Characterization and leaching behaviors. J. Environ. Sci. 2014, 26, 1549–1556. [Google Scholar] [CrossRef]
- Antimony Trioxide. Available online: https://www.sica-chauny.com/en/products/antimony (accessed on 3 May 2022).
- SPMP. Available online: https://www.spmp.co.om/who-we-are (accessed on 3 May 2022).
- Henckens, M.L.C.M.; Driessen, P.P.J.; Worrell, E. Metal scarcity and sustainability, analyzing the necessity to reduce the extraction of scarce metals. Resour. Conserv. Recycl. 2014, 93, 1–8. [Google Scholar] [CrossRef]
- Juan Cancio, J.-L.; Ricardo Gerardo, S.-A.; Alejandro, C.-R.; José Antonio, R.-S.; Aurelio, H.-R.; Jorge Enrique, R.-S. Antimony recovery from recycled terminals of lead-acid batteries with Na2CO3 and SiC after the formation of Sb2O3. J. Min. Metall. Sect. B Metall. 2022, 58, 97–108. [Google Scholar]
- Ubaldini, S.; Veglio, F.; Toro, L.; Abbruzzese, C. Combined bio-hydrometallurgical process for gold recovery from refractory stibnite. Miner. Eng. 2000, 13, 1641–1646. [Google Scholar] [CrossRef]
- de Carvalho, L.C.; da Silva, S.R.; Giardini, R.M.N.; de Souza, L.F.C.; Leão, V.A. Bio-oxidation of refractory gold ores containing stibnite and gudmundite. Environ. Technol. Innov. 2019, 15, 100390. [Google Scholar] [CrossRef]
- Dembele, S.; Akcil, A.; Panda, S. Technological trends, emerging applications and metallurgical strategies in antimony recovery from stibnite. Miner. Eng. 2022, 175, 107304. [Google Scholar] [CrossRef]
- Panda, S.; Sarangi, C.K.; Pradhan, N.; Subbaiah, T.; Sukla, L.B.; Mishra, B.K.; Bhatoa, G.L.; Prasad, M.; Ray, S.K. Bio-hydrometallurgical processing of low grade chalcopyrite for the recovery of copper metal. Korean J. Chem. Eng. 2012, 29, 781–785. [Google Scholar] [CrossRef]
- Akcil, A.; Vegliò, F.; Ferella, F.; Okudan, M.D.; Tuncuk, A. A review of metal recovery from spent petroleum catalysts and ash. Waste Manag. 2015, 45, 420–433. [Google Scholar] [CrossRef]
- Anderson, C. Hydrometallurgically treating antimony-bearing industrial wastes. JoM 2001, 53, 18–20. [Google Scholar] [CrossRef]
- Anderson, C.; Twidwell, L. The alkaline sulfide hydrometallurgical separation, recovery and fixation of tin, arsenic, antimony, mercury and gold. Lead Zinc 2008, 2008, 121–132. [Google Scholar]
- Awe, S.A.; Sundkvist, J.-E.; Bolin, N.-J.; Sandström, Å. Process flowsheet development for recovering antimony from Sb-bearing copper concentrates. Miner. Eng. 2013, 49, 45–53. [Google Scholar] [CrossRef]
- Baláž, P.; Briančin, J.; Šepelák, V.; Havlik, T.; Škrobian, M. Non-oxidative leaching of mechanically activated stibnite. Hydrometallurgy 1992, 31, 201–212. [Google Scholar] [CrossRef]
- Garboś, S.; Bulska, E.; Hulanicki, A.; Fijałek, Z.; Sołtyk, K. Determination of total antimony and antimony(V) by inductively coupled plasma mass spectrometry after selective separation of antimony(III) by solvent extraction with N-benzoyl-N-phenylhydroxylamine. Spectrochim. Acta Part B At. Spectrosc. 2000, 55, 795–802. [Google Scholar] [CrossRef]
- Kyle, J.H.; Breuer, P.L.; Bunney, K.G.; Pleysier, R.; May, P.M. Review of trace toxic elements (Pb, Cd, Hg, As, Sb, Bi, Se, Te) and their deportment in gold processing. Part 1: Mineralogy, aqueous chemistry and toxicity. Hydrometallurgy 2011, 107, 91–100. [Google Scholar] [CrossRef]
- Lin, H.K. Extraction of antimony by a copper chloride extractant. Hydrometallurgy 2004, 73, 283–291. [Google Scholar] [CrossRef]
- Nordwick, S.; Anderson, C. Advances in antimony electrowinning at the Sunshine mine. In Proceedings of the Fourth International Symposium on Hydrometallurgy Fundamentals, Technology and Innovations, Salt Lake City, UT, USA, 13 August 1993; pp. 1107–1128. [Google Scholar]
- Solozhenkin, P.M.; Alekseev, A.N. Innovative processing and hydrometallurgical treatment methods for complex antimony ores and concentrates. Part I. J. Min. Sci. 2010, 46, 203–209. [Google Scholar] [CrossRef]
- Solozhenkin, P.M.; Alekseev, A.N. Innovative Processing and Hydrometallurgical Treatment Methods for Complex Antimony Ores and Concentrates. Part II: Hydrometallurgy of Complex Antimony Ores. J. Min. Sci. 2010, 46, 446–452. [Google Scholar] [CrossRef]
- Thibault, J.D.; MacDonald, M.D.; Stevens, D.A. Process for producing antimony trioxide. US Patent Patent no. 5,783,166, 1998. [Google Scholar]
- Vigdorovitch, V.N.; Ivleva, V.S.; Krol, L.I. Purification of antimony by zone recrystallization. Izvestia Akademii Nauk SSSR Metally Topi. 1960, 44, 29–35. [Google Scholar]
- Xu, Y.; Feng, P.; Yu, X.; Li, Y.; Yu, S.; Xie, G. Study on the Separation of Antimony by Hydrometallurgy with Typical Material Containing Sb. Multipurp. Util. Miner. Resour. 2017, 6, 31–35. [Google Scholar]
- Yang, J.-G.; Wu, Y.-T. A hydrometallurgical process for the separation and recovery of antimony. Hydrometallurgy 2014, 143, 68–74. [Google Scholar] [CrossRef]
- Anderson, C.; Nordwick, S.; Krys, L. Processing of antimony at the Sunshine mine. Residues Effl. Process. Environ. Consid. 1992, 349–366. [Google Scholar]
- Wang, Z.; Ru, J.; Bu, J.; Hua, Y.; Zhang, Y.; Xu, C. Direct Electrochemical Desulfurization of Solid Sb2S3 to Antimony Powders in Deep Eutectic Solvent. J. Electrochem. Soc. 2019, 166, D747–D754. [Google Scholar] [CrossRef]
- Zhu, Q.; Yang, J.; Tang, C.; Nan, T.; Ding, R.; Liu, J. Electroreduction of Antimony Sulfide Enhanced by Nitrogen Bottom Blowing in Molten NaCl-KCl-Na2S. JOM 2022, 74, 1889–1899. [Google Scholar] [CrossRef]
- Yin, H.; Chung, B.; Sadoway, D.R. Electrolysis of a molten semiconductor. Nat. Commun. 2016, 7, 12584. [Google Scholar] [CrossRef]
- Wang, C.Y. Antimony, Its History, Chemistry, Etc., 2nd ed.; Charles Griffin & Company Ltd.: London, UK, 1919. [Google Scholar]
- Bray, J.L. Non-Ferrous Production Metallurgy; J. Wiley: New York, NY, USA, 1947. [Google Scholar]
- Anderson, C.G. The metallurgy of antimony. Geochemistry 2012, 72, 3–8. [Google Scholar] [CrossRef]
- Padilla, R.; Chambi, L.C.; Ruiz, M.C. Antimony production by carbothermic reduction of stibnite in the presence of lime. J. Min. Metall. B Metall. 2014, 50, 5–13. [Google Scholar] [CrossRef]
- Guo-Hui, S. Chinese blast-furnace for volatilization smelting of antimony. Inst. Min. Metall. Trans. 1984, 93, 186–192. [Google Scholar]
- Lager, T.; Forssberg, K.S.E. Current processing technology for antimony-bearing ores a review, part 2. Miner. Eng. 1989, 2, 543–556. [Google Scholar] [CrossRef]
- Ziao, Y.F.; Zhou, W.T. Improved Smelting and Refining Processes for Production of Antimony and its Oxides in Xikuangshan, China; The Institute of Scientific and Technical Information of China: Beijing, China, 1987. [Google Scholar]
- Padilla, R.; Ramírez, G.; Ruiz, M.C. High-Temperature Volatilization Mechanism of Stibnite in Nitrogen-Oxygen Atmospheres. Metall. Mater. Trans. B 2010, 41, 1284–1292. [Google Scholar] [CrossRef]
- Ren, B.; Zhou, Y.; Ma, H.; Deng, R.; Zhang, P.; Hou, B. Sb release characteristics of the solid waste produced in antimony mining smelting process. J. Mater. Cycles Waste Manag. 2018, 20, 193–200. [Google Scholar] [CrossRef]
- Liu, W.; Luo, H.; Qing, W.; Zheng, Y.; Yang, K.; Han, J. Investigation into Oxygen-Enriched Bottom-Blown Stibnite and Direct Reduction. Metall. Mater. Trans. B 2014, 45, 1281–1290. [Google Scholar] [CrossRef]
- Yang, J.-G.; Tang, C.-B.; Chen, Y.-M.; Tang, M.-T. Separation of Antimony from a Stibnite Concentrate Through a Low-Temperature Smelting Process to Eliminate SO2 Emission. Metall. Mater. Trans. B 2011, 42, 30–36. [Google Scholar] [CrossRef]
- Qin, W.-Q.; Luo, H.-L.; Liu, W.; Zheng, Y.-X.; Yang, K.; Han, J.-W. Mechanism of stibnite volatilization at high temperature. J. Cent. South Univ. 2015, 22, 868–873. [Google Scholar] [CrossRef]
- Wang, H.; You, C. Photocatalytic removal of low concentration SO2 by titanium dioxide. Chem. Eng. J. 2016, 292, 199–206. [Google Scholar] [CrossRef]
- Liu, T.; Qiu, K. Removing antimony from waste lead storage batteries alloy by vacuum displacement reaction technology. J. Hazard. Mater. 2018, 347, 334–340. [Google Scholar] [CrossRef]
- Bo, C. Method and Special Equipment for Direct Production of Ultrafine Antimony Trioxide by Volatilization and Smelting in Blast Furnace. CN Patent 1339612A, 13 March 2000. [Google Scholar]
- Mo-Tang, T.; Gui-Zhong, J. Industrial experiment on the volatilization-matt making smelting of antimony concentration. China Nonferrous Metall. 2007, 3, 34–36. [Google Scholar]
- Padilla, R.; Moscoso, I.; Ruiz, M.C. Mechanism and Kinetics of Stibnite Chloridizing with Calcium Chloride-Oxygen at 500 °C to 650 °C. Metall. Mater. Trans. B 2019, 50, 219–228. [Google Scholar] [CrossRef]
- Wu, X. Application of CSC Technology in Nonferrous Metallurgy. In PbZn 2020: 9th International Symposium on Lead and Zinc Processing; Springer: Cham, Switzerland, 2020; pp. 201–217. [Google Scholar]
- Zhang, X.; Friedrich, S.; Friedrich, B. Separation behavior of arsenic and lead from antimony during vacuum distillation and zone refining. J. Mater. Res. Technol. 2020, 9, 4386–4398. [Google Scholar] [CrossRef]
- Worrell, A.C.; Taft, M.A. Overview of Foreign Nonferrous Smelter Technology; Industrial Environmental Research Laboratory: Cincinnati, OH, USA, 1980. [Google Scholar]
- Zhou, Z.; Liu, D.; Xiong, H.; Zhang, B.; Yang, B.; Deng, Y.; Zhao, J. Separation and purification Sb2S3 from stibnite by vacuum distillation. Vacuum 2018, 157, 487–491. [Google Scholar] [CrossRef]
- Ye, L.; Ouyang, Z.; Chen, Y.; Chen, Y.; Xiao, L. Sulfur fixation and reduction roasting of stibnite for clean extraction of antimony by a combined metallurgy and beneficiation process. Miner. Eng. 2019, 144, 106049. [Google Scholar] [CrossRef]
- Wei, W.X. Practice of producing high lead-antimony alloy by fire process of brittle sulfur antimony lead ore. China Nonferrous Metall. 1992, 2, 42–44. [Google Scholar]
- Dunne, R. SME Mineral Processing and Extractive Metallurgy Handbook; Society of Mining, Metallurgy & Exploration: Englewood, CO, USA, 2019. [Google Scholar]
- Li, Y.; Chen, Y.; Xue, H.; Tang, C.; Yang, S.; Tang, M. One-Step Extraction of Antimony in Low Temperature from Stibnite Concentrate Using Iron Oxide as Sulfur-Fixing Agent. Metals 2016, 6, 153. [Google Scholar] [CrossRef]
- Ye, L.; Tang, C.; Yang, S.; Chen, Y.; Zhang, W. Removal of lead from crude antimony by using NaPO3 as lead elimination reagent. J. Min. Metall. B Metall. 2015, 51, 97–103. [Google Scholar] [CrossRef]
- Ouyang, Z.; Chen, Y.F.; Tian, S.Y.; Xiao, L.; Tang, C.B.; Hu, Y.J.; Xia, Z.M.; Chen, Y.M.; Ye, L.G. Thermodynamic and kinetics analysis of the sulfur-fixed roasting of antimony sulfide using ZnO as sulfur-fixing agent. J. Min. Metall. Sect. B Metall. 2018, 54, 411–418. [Google Scholar] [CrossRef]
- Igiehon, U.; Terry, B.; Grieveson, P. Carbothermic reduction of antimony sulphide. Trans. Inst. Min. Metall. Sect. C 1992, 101, 144–154. [Google Scholar]
- Wu, X. The Recovery of Pb and Zn in Antimony Smelting Slag. In PbZn 2020: 9th International Symposium on Lead and Zinc Processing; Springer: Cham, Switzerland, 2020; pp. 653–660. [Google Scholar]
- Yong, D.; Bin, Y.; Baoqiang, X.; Dachun, L.; Youth, Y.; Heng, X.; Yongnian, D.; Yang, T.; Hualong, Y.; Wei, W.; et al. Method for Removal of Lead and Arsenic in Crude Antimony Vacuum Refining Process. CN Patent Patent no. 104328289 A, 2014. [Google Scholar]
- Bale, C.W.; Bélisle, E.; Chartrand, P.; Decterov, S.A.; Eriksson, G.; Gheribi, A.E.; Hack, K.; Jung, I.H.; Kang, Y.B.; Melançon, J.; et al. FactSage thermochemical software and databases, 2010–2016. Calphad 2016, 54, 35–53. [Google Scholar] [CrossRef]
- Min-Chin, L. A simple fractional distillation method for refining high purity antimony. Acta Metallurgica Sinica 1964, 7, 442–445. [Google Scholar]
- Bonnier, E.; Charveriat, M. Purification de l′antimoine par sublimation. Metallurgie 1965–1966, 5, 319. [Google Scholar]
- Jevtic, D.; Vitorovic, D. A New Procedure for the Preparation of Antimony of High Purity Combined with the Production of Antimony Trioxide of High Purity. Prod. RD 1974, 13, 275–279. [Google Scholar] [CrossRef]
- Ivanov, V.Y.; Papirov, I.I. Pure and ultrapure metals. Metallurgia 1965. [Google Scholar]
- Terlikbayeva, A.Z.; Sydykov, A.O.; Berdikulova, F.A.; Mazulevsky, E.A. Producing Metallic Antimony with Low Arsenic Content from Antimony Concentrate. Russ. J. Non-Ferr. Met. 2018, 59, 256–260. [Google Scholar] [CrossRef]
- Li, L.; Xu, M.; Li, Q. Arsenic pre-removal from antimony oxide powder by roasting with pyrite (FeS2) for decreasing arsenic transfer and pollution in the followed antimony smelting process. Sep. Sci. Technol. 2021, 57, 1978–1991. [Google Scholar] [CrossRef]
- Cui, Y.; Matsuura, H.; Hamano, T.; Tsukihashi, F. Removal and recycling of antimony from liquid copper by using CuCl-CaO fluxes at 1423 K. Metall. Mater. Trans. B 2007, 38, 485–489. [Google Scholar] [CrossRef]
- Cui, Y.; Matsuura, H.; Hamano, T.; Tsukihashi, F. Removal of antimony from liquid copper by using CuCl–Na2CO3 fluxes at 1423 K. ISIJ Int. 2008, 48, 23–27. [Google Scholar] [CrossRef][Green Version]
- Tao, Z.; Xiaolan, Z.; Bogun, W.; Jiangen, W., Jr. Antimony Fire Refining Lead Removal Agent and Its Application. CN Patent 102041399 A, 2011. [Google Scholar]
- Xiaolan, Z.; Tao, Z.; Chi, Z. A Lead Removal Agent for Melt Extraction Refining of Antimony. CN Patent 1455010A, 2002. [Google Scholar]
Publisher’s Note: MDPI stays neutral with regard to jurisdictional claims in published maps and institutional affiliations. |
© 2022 by the authors. Licensee MDPI, Basel, Switzerland. This article is an open access article distributed under the terms and conditions of the Creative Commons Attribution (CC BY) license (https://creativecommons.org/licenses/by/4.0/).
















