Application of Hydrological and Sediment Modeling with Limited Data in the Abbay (Upper Blue Nile) Basin, Ethiopia
Abstract
1. Introduction
2. Materials and Methods
2.1. Study Area
2.2. Dataset
2.2.1. Time Series Data
2.2.2. Spatial Data
2.3. Analysis
2.3.1. Description of SWAT Model
2.3.2. Hydrological Modeling in SWAT
2.3.3. Sediment Modeling in SWAT
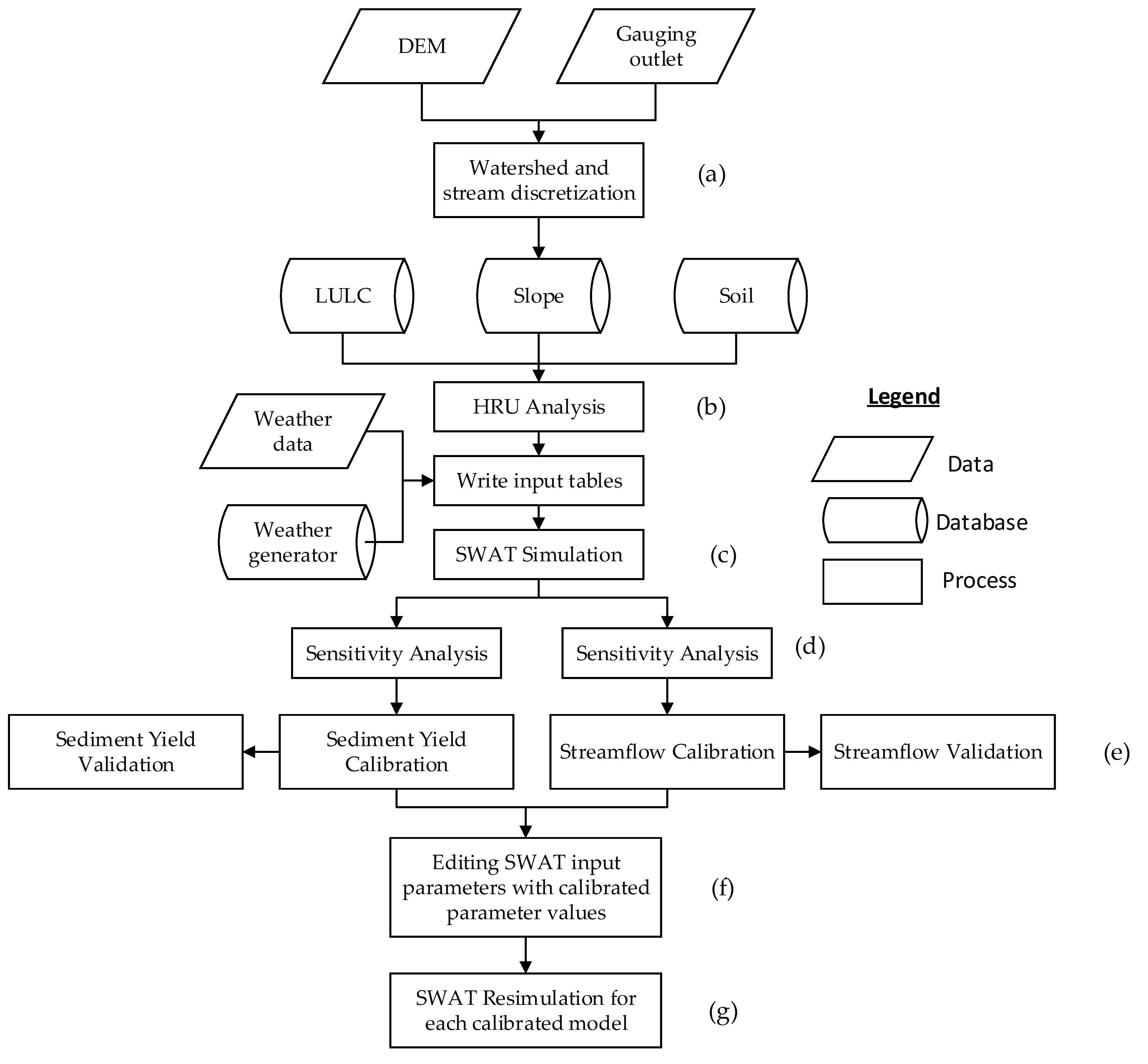
2.3.4. SWAT Model Setup, Sensitivity Analysis, Calibration, and Validation
2.3.5. Identification of Erosion Hotspot Areas
2.3.6. Model Performance Evaluation and Statistics
3. Results
3.1. Streamflow Sensitivity Analysis, Calibration, and Validation
3.2. Water Balance Components before and after Calibration
3.3. Sediment Yield Sensitivity Analysis, Calibration, and Validation
3.4. Temporal Variability of Sediment Yield in the Andasa Watershed
3.5. Spatial Distribution of Sediment Yield in the Andasa Watershed
4. Discussion
4.1. SWAT Model Performance in the Upper Blue Nile Basin
4.2. Spatial and Temporal Variability of Soil Erosion
5. Conclusions
Supplementary Materials
Author Contributions
Funding
Data Availability Statement
Acknowledgments
Conflicts of Interest
References
- Mahata, S.; Sharma, V.N. The global problem of land degradation: A review. Natl. Geogr. J. India 2021, 67, 216–231. [Google Scholar] [CrossRef]
- Asmamaw, L.B.; Mohammed, A.A. Identification of soil erosion hotspot areas for sustainable land management in the Gerado catchment, North-eastern Ethiopia. Remote Sens. Appl. Soc. Environ. 2019, 13, 306–317. [Google Scholar] [CrossRef]
- Haile, G.W.; Fetene, M. Assessment of soil erosion hazard in Kilie catchment, East Shoa, Ethiopia. Land Degrad. Dev. 2012, 23, 293–306. [Google Scholar] [CrossRef]
- Tamene, L.; Vlek, P.L.G. Soil Erosion Studies in Northern Ethiopia. In Land Use and Soil Resources; Braimoh, A.K., Vlek, P.L.G., Eds.; Springer: Dordrecht, The Netherlands, 2008; pp. 73–100. [Google Scholar]
- Lal, R. Erosion-Crop Productivity Relationships for Soils of Africa. Soil Sci. Soc. Am. J. 1995, 59, 661–667. [Google Scholar] [CrossRef]
- Kidane, M.; Bezie, A.; Kesete, N.; Tolessa, T. The impact of land use and land cover (LULC) dynamics on soil erosion and sediment yield in Ethiopia. Heliyon 2019, 5, e02981. [Google Scholar] [CrossRef]
- Sertsu, S. Degraded soils of Ethiopia and their management. In Proceedings of the Proceeding of FAO/ISCW Expert Consultation on Management of Degraded Soils in Southern and East Africa. 2nd Network Meeting, Pretoria, South Africa, 18–22 September 2000; pp. 18–22. [Google Scholar]
- Tamene, L.; Park, S.J.; Dikau, R.; Vlek, P.L.G. Analysis of factors determining sediment yield variability in the highlands of northern Ethiopia. Geomorphology 2006, 76, 76–91. [Google Scholar] [CrossRef]
- Taddese, G. Land Degradation: A Challenge to Ethiopia. Environ. Manag. 2001, 27, 815–824. [Google Scholar] [CrossRef]
- Ayele, G.T.; Kuriqi, A.; Jemberrie, M.A.; Saia, S.M.; Seka, A.M.; Teshale, E.Z.; Daba, M.H.; Ahmad Bhat, S.; Demissie, S.S.; Jeong, J.; et al. Sediment Yield and Reservoir Sedimentation in Highly Dynamic Watersheds: The Case of Koga Reservoir, Ethiopia. Water 2021, 13, 3374. [Google Scholar] [CrossRef]
- Kummu, M.; Lu, X.X.; Wang, J.J.; Varis, O. Basin-wide sediment trapping efficiency of emerging reservoirs along the Mekong. Geomorphology 2010, 119, 181–197. [Google Scholar] [CrossRef]
- Shiferaw, M.; Abebe, R. Reservoir sedimentation and estimating dam storage capacity using bathymetry survey: A case study of Abrajit Dam, Upper Blue Nile basin, Ethiopia. Appl. Geomat. 2021, 13, 277–286. [Google Scholar] [CrossRef]
- Moges, M.M.; Abay, D.; Engidayehu, H. Investigating reservoir sedimentation and its implications to watershed sediment yield: The case of two small dams in data-scarce upper Blue Nile Basin, Ethiopia. Lakes Reserv. Sci. Policy Manag. Sustain. Use 2018, 23, 217–229. [Google Scholar] [CrossRef]
- Milliman, J.D.; Farnsworth, K.L. River Discharge to the Coastal Ocean: A Global Synthesis; Cambridge University Press: New York, NY, USA, 2013. [Google Scholar]
- Asselman, N.E.M. Suspended sediment dynamics in a large drainage basin: The River Rhine. Hydrol. Processes 1999, 13, 1437–1450. [Google Scholar] [CrossRef]
- Walling, D.E.; Fang, D. Recent trends in the suspended sediment loads of the world’s rivers. Glob. Planet. Change 2003, 39, 111–126. [Google Scholar] [CrossRef]
- Warrick, J.A. Trend analyses with river sediment rating curves. Hydrol. Processes 2015, 29, 936–949. [Google Scholar] [CrossRef]
- Sari, V.; dos Reis Castro, N.M.; Pedrollo, O.C. Estimate of Suspended Sediment Concentration from Monitored Data of Turbidity and Water Level Using Artificial Neural Networks. Water Resour. Manag. 2017, 31, 4909–4923. [Google Scholar] [CrossRef]
- Jackson, T.J. REMOTE SENSING | Soil Moisture. In Encyclopedia of Soils in the Environment; Hillel, D., Ed.; Elsevier: Oxford, UK, 2005; pp. 392–399. [Google Scholar]
- Adem, A.A.; Dile, Y.T.; Worqlul, A.W.; Ayana, E.K.; Tilahun, S.A.; Steenhuis, T.S. Assessing Digital Soil Inventories for Predicting Streamflow in the Headwaters of the Blue Nile. Hydrology 2020, 7, 8. [Google Scholar] [CrossRef]
- Arnold, J.G.; Fohrer, N. SWAT2000: Current capabilities and research opportunities in applied watershed modelling. Hydrol. Processes 2005, 19, 563–572. [Google Scholar] [CrossRef]
- Neitsch, S.L.; Arnold, J.G.; Kiniry, J.R.; Williams, J.R. Soil and Water Assessment Tool Theoretical Documentation Version 2009; Texas Water Resources Institute: College Station, TX, USA, 2011; pp. 1–618. [Google Scholar]
- Hallouz, F.; Meddi, M.; Mahé, G.; Alirahmani, S.; Keddar, A. Modeling of discharge and sediment transport through the SWAT model in the basin of Harraza (Northwest of Algeria). Water Sci. 2018, 32, 79–88. [Google Scholar] [CrossRef]
- Nigussie, T.A.; Fanta, A.; Melesse, A.M.; Quraishi, S. Modeling Rainfall Erosivity From Daily Rainfall Events, Upper Blue Nile Basin, Ethiopia. In Nile River Basin: Ecohydrological Challenges, Climate Change and Hydropolitics; Melesse, A.M., Abtew, W., Setegn, S.G., Eds.; Springer International Publishing: Cham, Switzerland, 2014; pp. 307–335. [Google Scholar]
- Setegn, S.G.; Srinivasan, R.; Melesse, A.M.; Dargahi, B. SWAT model application and prediction uncertainty analysis in the Lake Tana Basin, Ethiopia. Hydrol. Processes 2010, 24, 357–367. [Google Scholar] [CrossRef]
- Williams, J.R.; Hann, R.W. Hymo, A problem-oriented computer language for building hydrologic models. Water Resour. Res. 1972, 8, 79–86. [Google Scholar] [CrossRef]
- Williams, J.R. Sediment-yield prediction with universal equation using runoff energy factor. In Proceedings of the Present and Prospective Technology For predicting Sediment Yield and Sources, Oxford, MS, USA, 28–30 November 1975; pp. 244–252. [Google Scholar]
- Gashaw, T.; Dile, Y.T.; Worqlul, A.W.; Bantider, A.; Zeleke, G.; Bewket, W.; Alamirew, T. Evaluating the Effectiveness of Best Management Practices On Soil Erosion Reduction Using the SWAT Model: For the Case of Gumara Watershed, Abbay (Upper Blue Nile) Basin. Environ. Manag. 2021, 68, 240–261. [Google Scholar] [CrossRef] [PubMed]
- Setegn, S.G. Hydrological and Sediment Yield Modelling in Lake Tana Basin, Blue Nile Ethiopia. Ph.D. Thesis, Comprehensive Summary. KTH, Stockholm, Sweden, 2008. [Google Scholar]
- Abbaspour, K.C.; Yang, J.; Maximov, I.; Siber, R.; Bogner, K.; Mieleitner, J.; Zobrist, J.; Srinivasan, R. Modelling hydrology and water quality in the pre-alpine/alpine Thur watershed using SWAT. J. Hydrol. 2007, 333, 413–430. [Google Scholar] [CrossRef]
- Tilahun, A.; Shishaye, H.A.; Gebremariam, B. Sediment inflow estimation and mapping its spatial distribution at sub-basin scale: The case of Tendaho Dam, Afar Regional State, Ethiopia. Ethiop. J. Environ. Stud. Manag. 2017, 10, 315–339. [Google Scholar] [CrossRef]
- Goswami, M.; O’Connor, K.M.; Bhattarai, K.P.; Shamseldin, A.Y. Assessing the performance of eight real-time updating models and procedures for the Brosna River. Hydrol. Earth Syst. Sci. 2005, 9, 394–411. [Google Scholar] [CrossRef][Green Version]
- Borah, D.K.; Arnold, J.G.; Bara, M.; Krug, E.C.; Liang, X.-Z. Storm event and continuous hydrologic modeling for comprehensive and efficient watershed simulations. Publ. USDA-ARS/UNL Fac. 2007, 12, 459. [Google Scholar] [CrossRef]
- Betrie, G.D.; Mohamed, Y.A.; van Griensven, A.; Srinivasan, R. Sediment management modelling in the Blue Nile Basin using SWAT model. Hydrol. Earth Syst. Sci. 2011, 15, 807–818. [Google Scholar] [CrossRef]
- Steenhuis, T.S.; Collick, A.S.; Easton, Z.M.; Leggesse, E.S.; Bayabil, H.K.; White, E.D.; Awulachew, S.B.; Adgo, E.; Ahmed, A.A. Predicting discharge and sediment for the Abay (Blue Nile) with a simple model. Hydrol. Processes 2009, 23, 3728–3737. [Google Scholar] [CrossRef]
- Takele, G.S.; Gebre, G.S.; Gebremariam, A.G.; Engida, A.N. Hydrological modeling in the Upper Blue Nile basin using soil and water analysis tool (SWAT). Modeling Earth Syst. Environ. 2022, 8, 277–292. [Google Scholar] [CrossRef]
- Asres, M.T.; Awulachew, S.B. SWAT based runoff and sediment yield modelling: A case study of the Gumera watershed in the Blue Nile basin. Ecohydrol. Hydrobiol. 2010, 10, 191–199. [Google Scholar] [CrossRef]
- Sinshaw, B.G.; Moges, M.A.; Tilahun, S.A.; Dokou, Z.; Moges, S.; Anagnostou, E.; Eshete, D.G.; Kindie, A.T.; Bekele, E.; Asese, M.; et al. Integration of SWAT and Remote Sensing Techniques to Simulate Soil Moisture in Data Scarce Micro-watersheds: A Case of Awramba Micro-watershed in the Upper Blue Nile Basin, Ethiopia. In Proceedings of the Advances of Science and Technology, Cham, Switzerland, 2–4 August 2019; pp. 294–314. [Google Scholar]
- Adem, A.A.; Tilahun, S.A.; Ayana, E.K.; Worqlul, A.W.; Assefa, T.T.; Dessu, S.B.; Melesse, A.M. Climate change impact on stream flow in the upper Gilgel Abay Catchment, Blue Nile Basin, Ethiopia. In Landscape Dynamics, Soils and Hydrological Processes in Varied Climates; Springer: Cham, Switzerland, 2016; pp. 645–673. [Google Scholar] [CrossRef]
- Leta, M.K.; Ebsa, D.G.; Regasa, M.S. Parameter Uncertainty Analysis for Streamflow Simulation Using SWAT Model in Nashe Watershed, Blue Nile River Basin, Ethiopia. Appl. Environ. Soil Sci. 2022, 2022, 1826942. [Google Scholar] [CrossRef]
- Nadew, B. Stream flow and sediment yield modeling: A case study of Beles watershed, Upper Blue Nile Basin. Irrig. Drain. Syst. Eng. 2018, 7, 216. [Google Scholar] [CrossRef]
- Setegn, S.G.; Dargahi, B.; Srinivasan, R.; Melesse, A.M. Modeling of Sediment Yield From Anjeni-Gauged Watershed, Ethiopia Using SWAT Model1. JAWRA J. Am. Water Resour. Assoc. 2010, 46, 514–526. [Google Scholar] [CrossRef]
- Ayele, G.T.; Teshale, E.Z.; Yu, B.; Rutherfurd, I.D.; Jeong, J. Streamflow and Sediment Yield Prediction for Watershed Prioritization in the Upper Blue Nile River Basin, Ethiopia. Water 2017, 9, 782. [Google Scholar] [CrossRef]
- Lemann, T.; Zeleke, G.; Amsler, C.; Giovanoli, L.; Suter, H.; Roth, V. Modelling the effect of soil and water conservation on discharge and sediment yield in the upper Blue Nile basin, Ethiopia. Appl. Geogr. 2016, 73, 89–101. [Google Scholar] [CrossRef]
- Nadew, B.; Chaniyalew, E.; Tsegaye, T. Runoff Sediment Yield Modeling and Development of Management Intervention Scenarios, Case Study of Guder Watershed, Blue Nile Basin, Ethiopia. Hydrol. Curr. Res. 2018, 9, 1000306. [Google Scholar] [CrossRef]
- Adem, A.A.; Tilahun, S.A.; Ayana, E.K.; Worqlul, A.W.; Assefa, T.T.; Dessu, S.B.; Melesse, A.M. Climate Change Impact on Sediment Yield in the Upper Gilgel Abay Catchment, Blue Nile Basin, Ethiopia. In Landscape Dynamics, Soils and Hydrological Processes in Varied Climates; Springer: Cham, Switzerland, 2016; pp. 615–644. [Google Scholar]
- Khaleghi, M.R.; Varvani, J. Simulation of relationship between river discharge and sediment yield in the semi-arid river watersheds. Acta Geophys. 2018, 66, 109–119. [Google Scholar] [CrossRef]
- Tfwala, S.S.; Wang, Y.-M. Estimating Sediment Discharge Using Sediment Rating Curves and Artificial Neural Networks in the Shiwen River, Taiwan. Water 2016, 8, 53. [Google Scholar] [CrossRef]
- Efthimiou, N. The role of sediment rating curve development methodology on river load modeling. Environ. Monit. Assess. 2019, 191, 108. [Google Scholar] [CrossRef]
- Easton, Z.M.; Fuka, D.R.; White, E.D.; Collick, A.S.; Biruk Ashagre, B.; McCartney, M.; Awulachew, S.B.; Ahmed, A.A.; Steenhuis, T.S. A multi basin SWAT model analysis of runoff and sedimentation in the Blue Nile, Ethiopia. Hydrol. Earth Syst. Sci. 2010, 14, 1827–1841. [Google Scholar] [CrossRef]
- Bonumá, N.B.; Rossi, C.G.; Arnold, J.G.; Reichert, J.M.; Minella, J.P.; Allen, P.M.; Volk, M. Simulating Landscape Sediment Transport Capacity by Using a Modified SWAT Model. J. Environ. Qual. 2014, 43, 55–66. [Google Scholar] [CrossRef]
- Liu, Y.; Yang, W.; Yu, Z.; Lung, I.; Gharabaghi, B. Estimating Sediment Yield from Upland and Channel Erosion at A Watershed Scale Using SWAT. Water Resour. Manag. 2015, 29, 1399–1412. [Google Scholar] [CrossRef]
- Panda, C.; Das, D.M.; Raul, S.K.; Sahoo, B.C. Sediment yield prediction and prioritization of sub-watersheds in the Upper Subarnarekha basin (India) using SWAT. Arab. J. Geosci. 2021, 14, 809. [Google Scholar] [CrossRef]
- Sok, T.; Oeurng, C.; Ich, I.; Sauvage, S.; Miguel Sánchez-Pérez, J. Assessment of Hydrology and Sediment Yield in the Mekong River Basin Using SWAT Model. Water 2020, 12, 3503. [Google Scholar] [CrossRef]
- Feyissa Negewo, T.; Kumar Sarma, A. Spatial and temporal variability evaluation of sediment yield and sub-basins/hydrologic response units prioritization on Genale Basin, Ethiopia. J. Hydrol. 2021, 603, 127190. [Google Scholar] [CrossRef]
- Rangsiwanichpong, P.; Kazama, S.; Gunawardhana, L. Assessment of sediment yield in Thailand using revised universal soil loss equation and geographic information system techniques. River Res. Appl. 2018, 34, 1113–1122. [Google Scholar] [CrossRef]
- Ali, M.G.; Ali, S.; Arshad, R.H.; Nazeer, A.; Waqas, M.M.; Waseem, M.; Aslam, R.A.; Cheema, M.J.; Leta, M.K.; Shauket, I. Estimation of Potential Soil Erosion and Sediment Yield: A Case Study of the Transboundary Chenab River Catchment. Water 2021, 13, 3647. [Google Scholar] [CrossRef]
- Grum, B.; Woldearegay, K.; Hessel, R.; Baartman, J.E.M.; Abdulkadir, M.; Yazew, E.; Kessler, A.; Ritsema, C.J.; Geissen, V. Assessing the effect of water harvesting techniques on event-based hydrological responses and sediment yield at a catchment scale in northern Ethiopia using the Limburg Soil Erosion Model (LISEM). CATENA 2017, 159, 20–34. [Google Scholar] [CrossRef]
- Yesuf, H.M.; Assen, M.; Alamirew, T.; Melesse, A.M. Modeling of sediment yield in Maybar gauged watershed using SWAT, northeast Ethiopia. CATENA 2015, 127, 191–205. [Google Scholar] [CrossRef]
- Ebabu, K.; Tsunekawa, A.; Haregeweyn, N.; Adgo, E.; Meshesha, D.T.; Aklog, D.; Masunaga, T.; Tsubo, M.; Sultan, D.; Fenta, A.A.; et al. Analyzing the variability of sediment yield: A case study from paired watersheds in the Upper Blue Nile basin, Ethiopia. Geomorphology 2018, 303, 446–455. [Google Scholar] [CrossRef]
- Mhiret, D.A.; Dagnew, D.C.; Guzman, C.D.; Alemie, T.C.; Zegeye, A.D.; Tebebu, T.Y.; Langendoen, E.J.; Zaitchik, B.F.; Tilahun, S.A.; Steenhuis, T.S. A nine-year study on the benefits and risks of soil and water conservation practices in the humid highlands of Ethiopia: The Debre Mawi watershed. J. Environ. Manag. 2020, 270, 110885. [Google Scholar] [CrossRef]
- Adem, A.A.; Addis, G.G.; Aynalem, D.W.; Tilahun, S.A.; Mekuria, W.; Azeze, M.; Steenhuis, T.S. Hydrogeology of Volcanic Highlands Affects Prioritization of Land Management Practices. Water 2020, 12, 2702. [Google Scholar] [CrossRef]












| Parameters with Operation | Description | Fitted Values (Sensitivity Rank) | Parameter Initial Range |
|---|---|---|---|
| r_CN2 | SCS runoff curve number | 0.042 (1) | −0.2–0.2 |
| r_SOL_AWC | Available water capacity of the soil layer, mm H2O/mm soil | −0.006 (2) | −0.2–0.2 |
| r_SOL_Z | Depth from the soil surface to the bottom of the layer, mm | −0.156 (3) | −0.2–0.2 |
| a_GWQMN | Threshold depth of water in the shallow aquifer required for return flow to occur, mm H2O | −588 (4) | −1000–1000 |
| v_RCHRG_DP | Deep aquifer percolation fraction | 0.565 (5) | 0–1 |
| a_GW_DELAY | Groundwater delay, days | 14.8 (6) | −30–60 |
| v_GW_REVAP | Groundwater “revap” coefficient | 0.146 (7) | −0.036–0.2 |
| v_ALPHA_BF_D | Base flow alpha factor for groundwater recession of the deep aquifer, 1/days | 0.144 (8) | 0–1 |
| a_CANMX | Maximum canopy storage, mm H2O | 0.112 (9) | 0–10 |
| v_CH_K2 | Effective hydraulic conductivity in the main channel alluvium, mm/h | 12.15 (10) | 0–15 |
| v_ALPHA_BF | Base flow alfa factor, days | 0.46 (11) | 0–1 |
| v_SURLAG | Surface runoff lag time, days | 3.313 (12) | 0–10 |
| v_BIOMIX | Biological mixing efficiency | 0.433 (13) | 0–10 |
| v_ESCO | Soil evaporation compensation factor | 0.991 (14) | 0–1 |
| Hydrological Component | Before | After |
|---|---|---|
| Rainfall | 1341.2 | 1341.2 |
| Evapotranspiration | 964.4 | 924.7 |
| Surface Runoff | 256.73 | 324.65 |
| Lateral flow | 22.35 | 19.96 |
| Percolation to the shallow aquifer | 99.86 | 74.63 |
| Return flow | 53.71 | 32.49 |
| Recharge to the deep aquifer | 4.99 | 42.15 |
| Revap from the shallow aquifer | 45.57 | 0.02 |
| Parameters with Operation | Description | Fitted Values (Sensitivity Rank) | Parameter Initial Range |
|---|---|---|---|
| v_USLE_C | The minimum value of the USLE C factor for land cover/plant | 0.183 (1) | 0.001 to 0.5 |
| v_USLE_K | USLE soil erodibility (K) factor, ton/m2 h | 0.510 (2) | 0 to 0.65 |
| v_CH_COV1 | Channel erodibility factor | 0.225 (3) | 0 to 1 |
| r_SPCON | Linear parameter for calculating the maximum amount of sediment that can be re-entrained during channel sediment routing | 0.0092 (4) | 0.008 to 0.01 |
| v_ADJ_PKR | Peak rate adjustment factor for sediment routing in the sub-basin (tributary channels) | 1.768 (5) | 0 to 2 |
| v_USLE_P | USLE support practice factor | 0.295 (6) | 0 to 1 |
| v_CH_COV2 | Channel cover factor | 0.705 (7) | 0 to 0.6 |
| v_SPEXP | Exponent parameter for calculating sediment re-entrained in channel sediment routing | 1.028 (9) | 1 to 1.5 |
| Watershed | Area, km2 | Calibration | Validation | Source | ||||||
|---|---|---|---|---|---|---|---|---|---|---|
| R2 | NSE | PBIAS | Period | R2 | NSE | PBIAS | Period | |||
| Streamflow | ||||||||||
| Abbay at Eldiem | 174,166 | 0.85 | 0.83 | −4.7 | 2001–2009 | 0.89 | 0.88 | 8.3 | 2010–2014 | [36] |
| Abbay at Kessie | 64,728 | 0.81 | 0.68 | −10.8 | 2001–2009 | 0.93 | 0.89 | 9.7 | 2010–2015 | [36] |
| Rib | 1316 | 0.83 | 0.78 | 7 | 1996–2007 | 0.7 | 0.41 | 53 | 2008–2013 | [20] |
| Gumara | 1464 | 0.87 | 0.76 | 3.29 | 1998–2002 | 0.83 | 0.68 | −5.4 | 2003–2005 | [37] |
| Awramba | 7 | 0.98 | 0.94 | −16.4 | 2014–2017 | 0.97 | 0.96 | −0.1 | 2017 | [38] |
| Gilgel Abay D | 1654 | 0.8 | 0.77 | - | 1996–2004 | 0.76 | 0.75 | - | 2005–2008 | [39] |
| Nashe | 946 | 0.89 | 0.82 | 5.7 | 1987–1999 | 0.88 | 0.85 | 8.6 | 2000–2008 | [40] |
| Gomit | 3.59 | 0.7 | 0.63 | 14 | 2015–2017 | - | - | - | - | [20] |
| Main Beles | 3485 | 0.82 | 0.81 | −8.4 | 1995–2002 | 0.8 | 0.78 | 1.84 | 2003–2010 | [41] |
| Anjeni | 1.13 | 0.9 | 0.89 | - | 1984–1988 | 0.91 | 0.89 | - | 1989–1993 | [42] |
| Koga | 287 | 0.65 | 0.58 | 24.5 | 1992–2001 | 0.67 | 0.58 | 8.8 | 2002–2007 | [43] |
| Minchet | 1.13 | 0.94 | 0.93 | - | 1986–1998 | 0.92 | 0.92 | - | 2010–2014 | [44] |
| Guder | 7011 | 0.75 | 0.73 | −12.9 | 1990–2004 | 0.81 | 0.79 | 11.4 | 2005–2008 | [45] |
| Sediment yield | ||||||||||
| Abbay at Eldiem D | 184,560 | - | 0.88 | −0.05 | 1990–1996 | - | 0.83 | −11 | 1998–2003 | [34] |
| Gumara | 1250 | 0.68 | 0.67 | −6.1 | 1995–2002 | 0.7 | 0.69 | −11.2 | 2003–2007 | [28] |
| Gilgel Abbay D | 1654 | 0.59 | 0.58 | - | 1996–2004 | 0.56 | 0.51 | - | 2005–2008 | [46] |
| Main Beles | 3485 | 0.81 | 0.8 | 5 | 1995–2002 | 0.79 | 0.75 | 5 | 2003–2010 | [41] |
| Anjeni | 1.13 | 0.85 | 0.81 | 28 | 1984–1988 | 0.8 | 0.79 | 30 | 1989–1993 | [42] |
| Koga | 287 | 0.75 | 0.73 | 7.8 | 1991–2000 | 0.8 | 0.79 | 6.4 | 2002–2007 | [43] |
| Minchet | 1.13 | 0.71 | 0.53 | - | 1986–1998 | 0.86 | 0.84 | - | 2010–2014 | [44] |
| Guder | 7011 | 0.8 | 0.78 | −12.3 | 1991–2004 | 0.84 | 0.81 | 14.24 | 2005–2008 | [45] |
| Watershed | Area, km2 | Observed, t ha−1 yr−1 | Predicted, t ha−1 yr−1 | Data Type | Period | Source |
|---|---|---|---|---|---|---|
| Abbay at Eldiem D | 184,560 | 6.3 | 7.1 | Observed | 1998–2003 | [34] |
| Gumara | 1250 | 19.7 | - | Rating curve | 2003–2007 | [28] |
| Gilgel Abay D | 1654 | 19 | 20.8 | Rating curve | 2005–2008 | [46] |
| Main Beles | 3485 | 4.8 | 5.5 | Rating curve | 2003–2010 | [41] |
| Anjeni | 1.13 | 28.6 | 24.6 | Observed | 1989–1993 | [42] |
| Koga | 287 | 24.3 | - | Rating curve | 2002–2007 | [43] |
| Minchet | 1.13 | 19.3 | 21.8 | Observed | 2010–2014 | [44] |
| Guder | 7011 | 7.5 | - | Rating curve | 2005–2008 | [45] |
| Andasa | 600.6 | 17.9 | 18.1 | Rating curve | 1992–2012 | This study |
Publisher’s Note: MDPI stays neutral with regard to jurisdictional claims in published maps and institutional affiliations. |
© 2022 by the authors. Licensee MDPI, Basel, Switzerland. This article is an open access article distributed under the terms and conditions of the Creative Commons Attribution (CC BY) license (https://creativecommons.org/licenses/by/4.0/).
Share and Cite
Abebe, B.K.; Zimale, F.A.; Gelaye, K.K.; Gashaw, T.; Dagnaw, E.G.; Adem, A.A. Application of Hydrological and Sediment Modeling with Limited Data in the Abbay (Upper Blue Nile) Basin, Ethiopia. Hydrology 2022, 9, 167. https://doi.org/10.3390/hydrology9100167
Abebe BK, Zimale FA, Gelaye KK, Gashaw T, Dagnaw EG, Adem AA. Application of Hydrological and Sediment Modeling with Limited Data in the Abbay (Upper Blue Nile) Basin, Ethiopia. Hydrology. 2022; 9(10):167. https://doi.org/10.3390/hydrology9100167
Chicago/Turabian StyleAbebe, Banteamlak Kase, Fasikaw Atanaw Zimale, Kidia Kessie Gelaye, Temesgen Gashaw, Endalkachew Goshe Dagnaw, and Anwar Assefa Adem. 2022. "Application of Hydrological and Sediment Modeling with Limited Data in the Abbay (Upper Blue Nile) Basin, Ethiopia" Hydrology 9, no. 10: 167. https://doi.org/10.3390/hydrology9100167
APA StyleAbebe, B. K., Zimale, F. A., Gelaye, K. K., Gashaw, T., Dagnaw, E. G., & Adem, A. A. (2022). Application of Hydrological and Sediment Modeling with Limited Data in the Abbay (Upper Blue Nile) Basin, Ethiopia. Hydrology, 9(10), 167. https://doi.org/10.3390/hydrology9100167

