Abstract
Solid-state fermentation requires the development of more efficient cultivation systems for its industrial application. The objective of this work was to evaluate the effect of aeration regime on the production of biomass and several lignocellulolytic enzymes (laccase, manganese peroxidase, endoxylanase, β-glucosidase, and total cellulases) by Trametes versicolor in a novel fixed-bed solid-state pilot-scale bioreactor. Three regimes were assessed: natural convection, low aeration level (10 min every 6 h at 10 L/h air flowrate), and high aeration level (1 h every 6 h at 10 L/h air flowrate). The mushroom was grown on a medium based on lignocellulosic residues. The design of the bioreactor, as well as the control of aeration, humidity, and temperature of the beds, allowed T. versicolor to grow properly on the medium, reaching a maximum biomass production of 204.7 mg/g dry solid (ds). The influence that aeration regime had on the production of lignocellulolytic enzymes was determined. Low level of forced aeration favored obtaining the highest titers of laccase (6.37 U/g ds) compared to natural convection and high aeration level. The greatest lignin degradation was also verified for low aeration regime. For the first time, pilot scale cultivation of T. versicolor was reported in a fixed-bed bioreactor.
1. Introduction
Lignocellulolytic enzymes (cellulases, hemicellulases, and lignin-modifying enzymes) play a crucial role in the biodegradation of plant fibers making up lignocellulosic biomass. They have important applications in the food, pharmaceutical, cosmetic, and biofuel industries. Cellulases and hemicellulases allow the hydrolysis of cellulose and hemicellulose forming different sugars that can be converted by fermentation into products, such as ethanol, lactic acid, and butanol [1]. Lignin-modifying enzymes can be used in the degradation of substances containing aromatic rings, such as various pesticide types, and phenolic compounds, like chlorophenols and polycyclic aromatic hydrocarbons, as well as pharmaceutical products and industrial dyes [2]. Lignocellulolytic enzymes improve the degradation of forage materials, adding nutritional value to the animal diet [3]. Moreover, the digestibility of plant residues for ruminants is increased via delignification with fungal ligninases [4,5].
White rot fungi are important producers of lignocellulolytic enzymes. They must first degrade lignin to have access to the hemicellulose and cellulose, which are their energy sources. Trametes versicolor has been recognized as one of the most effective white rot basidiomycetes for selective delignification [6]. It produces laccase (LAC) in significant amounts, as well as manganese peroxidase (MnP), lignin peroxidase, and versatile peroxidase. T. versicolor also synthesizes significant amounts of cellulases, such as endoglucanases and exoglucanases, β-glucosidase (βG), and xylanases, such as the endo β-d-1,4-xylanase (ENX) [7]. In general, T. versicolor is characterized by its enzymatic machinery, which is capable of degrading and mineralizing polysaccharides, such as cellulose, hemicellulose, starch, and pectin, as well as non-polysaccharide polymers, such as lignin to carbon dioxide and water. This ability makes this fungus an attractive option for the degradation of lignocellulosic waste materials, especially agricultural and agro-industrial residues. In addition, T. versicolor is also known by its applications in bioremediation and as a producer of several bioactive substances with pharmacological interest [8] as the PSK polysaccharide-protein complex that has exhibited antitumor activity [9]. In a previous work [5], the production of polysaccharides during the vegetative growth phase of T. versicolor was assessed from a kinetic viewpoint, showing the possibility of using this mushroom for the production of animal feed from agricultural and agro-industrial waste with an increased content of fungal protein and bioactive substances. T. versicolor has been also tested in vitro as an antibacterial agent against seed-borne bacterial pathogens of tomato [10].
Enzyme production using white rot fungi is carried out by submerged (SmF) or solid-state fermentation (SSF). The effectiveness of these processes depends on factors, such as the genetic characteristics of the producing strain, substrate composition, and operating conditions. For SSF, different processes using filamentous fungi have been studied for their scaling-up due to the considerable number of valuable metabolites that can be obtained on solid substrates, especially lignocellulolytic enzymes [11]. The corresponding bioreactors must guarantee the operating conditions required for the development of enzyme-producing organisms. Bioreactors of different configurations (immersion, trays, expanded bed, rotating drum) at laboratory and pilot scales intended to achieve a profitable and competitive production of ligninolytic enzymes have been reported [12,13,14]. In bioreactor designs with bed agitation, e.g., in rotating-drum bioreactors, the movement of substrates activates the growth of micromycetes, but energy costs and equipment complexity increase due to the use of engines and other accessories. Likewise, it must be ensured that there are no limitations in the transfer of oxygen to the biomass growing on the surface or inside the substrate particles.
The production of bioactive substances from macromycetes fungi does not necessarily exhibit the same behavior as the cultivation of micromycetes, so the design of corresponding solid-state bioreactors should consider this behavior. In fermentations with macromycetes of primary degradation, the compaction of solid substrates should be allowed to favor the formation of the characteristic mycelial coat of these fungi, which is accompanied by the synthesis of lignocellulolytic enzymes [15]; consequently, bioreactors with mechanical agitation of the beds are not the most appropriate. Thus, macromycetes are mostly grown in static solid beds that eliminate the risk of physical damage to hyphae structures when they are colonizing the substrate. However, the limitations in heat removal and mass transfer persist during the fermentation in these bioreactors.
Oxygen plays a crucial role during the cultivation of both micro- and macromycetes. Oxygen is an important element for filamentous fungi to complete their physiological and biochemical processes. Therefore, oxygen transfer becomes an essential factor for the aerobic fermentation [16]. During the solid-state fermentation, transfer of gaseous mass can be divided into micro- and macro-transfer. The latter corresponds to the phenomena of oxygen transport through the material space that includes the air entering the biological reactor and the convective diffusion of the natural air. Forced ventilation in the space is another type of oxygen transfer that allows air to circulate through a layer of material. The macroscopic transfer phenomena are mainly affected by the thickness of the material, apparent density of the layer of material, particle size, etc. From the microscopic viewpoint, oxygen transfer are mostly accomplished in biological systems by the transmembrane supply or inside the biofilm. For instance, filamentous fungi or single-cell microorganisms growing on the surface or within the solid substrate may absorb oxygen from the outer environment and discharge carbon dioxide into it. For gas transfer within the particles, oxygen circulates between the substrate and the microbial cells. Factors influencing microscopic processes of oxygen transfer are as follows: thickness of the layer of wet cells, density of the layer of wet cells, activity of the microbial respiration of the layer of wet cells, and the oxygen transfer coefficient of the layer of wet cells [16].
In the solid-state fermentation process using filamentous fungi, the hyphae of the fungi not only grow on the surface of the particle but also extend into the substrate, resulting in the formation of fungus-substrate agglomerates. This provokes that aerobic mycelia spread inside the solid particles in order to obtain oxygen for their growth. Likewise, oxygen can be catalyzed by enzymes, such as dioxygenase, to form organic molecules. The microbial growth is inhibited if the oxygen concentration is low, but high oxygen concentrations may be toxic for certain types of microorganisms [17]. During the aerobic solid-state fermentation, the available oxygen concentration is an important factor affecting the microbial growth rate, as well as the change in the composition of the cells and metabolite contents. At the same time, the microorganism response to the oxygen can affect the oxygen concentration itself. On the other hand, heterotrophic microbial processes generate carbon dioxide that could affect the metabolism, especially during the vegetative phase of growth in the case of the macromycetes fungi. Therefore, during the initial stage of the solid-state fermentation of macromycetes, an intense ventilation is not required in order to maintain an adequate level of carbon dioxide needed for the substrate colonization by the mycelium [18].
Considering the above-mentioned, the design and operation of new types of bioreactors for the cultivation of macromycetes fungi that take into account the important role of the aeration is required when the production of fungal biomass and specialty metabolites is needed. In this regard, two of the authors of the present work designed and patented a novel fixed-bed pilot-scale bioreactor with natural convection and forced draft [19] to advance the study of the variables affecting the macromycetes growth and the biosynthesis of value-added substances, in particular, lignocellulolytic enzymes. This bioreactor allows the regulation of the air flow and controls the relative humidity and temperature of the beds. The objective of this work was to evaluate the production of different lignocellulolytic enzymes (two ligninases, total cellulases, and one xylanase) by T. versicolor from agro-industrial residues using the aforementioned bioreactor under conditions of natural convection and forced aeration.
2. Materials and Methods
2.1. Microorganism and Spawn Preparation
Trametes versicolor PSUWC 430 was obtained from Pennsylvania State University (USA). The strain was spread on papa dextrose agar and kept at 4 °C with periodic transfers. The spawn for inoculating the solid substrate was prepared on washed red sorghum and hydrated with hot water up to 40–45% humidity. The hydrated sorghum was packed in 200-g units in bioriented polypropylene bags, provided with a cotton filter on the bag top for gas exchange. The grain was sterilized at 121 °C for 2 h and inoculated with four 0.5-cm-side pieces of mycelium extended on agar in laminar flow cabinet. Inoculated bags were incubated in penumbra at 25 °C until complete colonization.
2.2. Preparation of the Culture Medium
The substrate formulation was (% w/w dry basis): 56.82% oak sawdust, 20% coffee husk, 20% corn bran, 1% sugar, 0.08% copper(II) sulphate, 0.1% manganese(II) sulfate, and 2% calcium carbonate [20]. The substrate was formulated at 60% humidity and packed in 2000-g bioriented polypropylene bags for sterilization at 121 °C for 2 h using the Tyndall’s method. Subsequently, the substrate was inoculated with 5% T. versicolor spawn in a wet basis referred to the substrate mass. Then, the three bioreactor boxes were filled with 10 kg substrate inoculated each in a laminar flow cabinet.
2.3. Fixed-Bed Pilot-Scale Bioreactor for SSF
The solid-state cultivation of T. versicolor for producing fungal biomass and lignocellulolytic enzymes was performed in a novel fixed-bed pilot-scale bioreactor, for which the design is briefly described in Appendix A. The body of the bioreactor comprises a stainless steel chamber with concave side spaces (see Figure 1a), and a bottom diffuser for homogeneous air distribution inside the equipment. The bioreactor has three stainless steel boxes that can be disassembled; each box has a capacity of 10 kg solid medium (see Figure 1c), and the bottom of each one is composed of a stainless steel mesh, allowing the air exchange and the exudates exiting. The equipment has an air-free head of 12.5 cm above the bed surface. The bioreactor top lid (Figure 1e) has an airtight seal system preventing the entry of ambient air; it is provided with three peepholes and two samplers arranged to avoid the contact of the equipment interior with the outside air (Figure 1f). For the natural convection regime, the lid is provided with a rectangular window where a filter for the air exchange is fixed. Under the forced aeration regime, the air flowing into the bioreactor is distributed through a system of facing baffles and a lower grid where the boxes loaded with the inoculated substrate are arranged.
Figure 1.
Details of the fixed-bed pilot-scale bioreactor. (a) Body of the bioreactor with panel for temperature control and air supply device. (b) Perforated-plate cooling tower for water recycling. (c) Bioreactor boxes loaded with 10 kg inoculated substrate each. (d). Boxes with colonized substrate. (e) Loaded bioreactor under operation. (f) Sampler for follow-up of the fermentation process.
The temperature is monitored with one thermocouple per bed (Figure 1c,d). These probes make part of a temperature control system in which the setpoint depends on each fungal species to be grown. When the bed temperature is higher than established, heat is removed from them through a closed circuit that includes a stainless steel tube crossing the center of each box containing the substrate; cold water is circulated within these tubes and recirculated to a perforated plate cooling tower (Figure 1b). Similarly, the bioreactor has a control loop to maintain the humidity level inside the equipment at the value previously established for the process. This loop has a solenoid valve, a relative humidity probe, and a high efficiency sprinkler responsible for distributing water fog inside the bioreactor when the relative humidity level is lower than required. The equipment also allows the recovery of the exudates generated during the fermentation from the bottom of the equipment body.
2.4. Bioreactor Operation and Fermentation Process
The bioreactor preparation for each fermentation run began with a disinfection using a 0.5 N sodium hypochlorite solution applied to all surfaces including the equipment body, lids, and removable and movable parts (boxes, screws, mixers, covers, baffles, and grilles). The disassembled and mobile parts of the bioreactor were sterilized at 121 °C for 4 h. Finally, these accessories were taken to the laminar flow cabinet to be armed and then loaded with the inoculated substrate under aseptic conditions.
The three bioreactor boxes were loaded each with 10 kg substrate inoculated with 5% spawn of T. versicolor. The bed temperature and relative humidity established for T. versicolor were 30 °C ± 1 °C and 90–95%, respectively [21]. Three aeration regimes were assessed for 14 cultivation days considering the capabilities of the equipment and the guidelines for macromycetes cultivation disclosed in a previous work [18]: high aeration regime (HAR, 1 h of aeration every 6 h with an air flowrate of 10 L/h), low aeration regime (LAR, 10 min of aeration every 6 h with the same flowrate), and a treatment without air injection (natural convection, NC). Three replicates of each regime were performed for a total of nine fermentation runs. One 800-g sample was taken from each bed twice a week for determining the response variables evaluated.
2.5. Determination of Enzymatic Activities
Extracts for the determination of the enzymatic activities were obtained from 10 g fresh substrate in 30 mL distilled water subjected to ultrasound for 5 min with subsequent stirring for 10 min at 800 rpm, followed by filtration under vacuum. The liquid extracts were stored in Eppendorf tubes at 4 °C until the enzymatic activity tests were carried out in a period not exceeding one week.
Laccase activity (EC 1.10.3.2) was determined using 50 µL enzyme extract and 0.5 mM ABTS (2,2′-azinobis (3-ethylbenzthiazoline-6-sulfonate)) as a substrate in 0.1 M sodium acetate buffer solution with a pH of 3.6 according to the method described by Paszczyński and Crawford [22], reading the absorbance increase at 420 nm (ε420 = 36/mM cm) after three min of reaction at 30 °C. One unit of LAC activity (U) was defined as the amount of enzyme required to oxidize 1 μmol of ABTS in 1 min.
The activity of manganese peroxidase (EC 1.11.1.13) was determined using 0.01% solution phenol red as a substrate in 0.1 M sodium succinate buffer with a pH of 4.5 and manganese sulfate (0.22 g/L), with 0.2 mM hydrogen peroxide as initiator of the reaction and 100 µL enzyme extract. The reaction was stopped by adding 5 N NaOH after 10 min of reaction to read the absorbance increase at 610 nm (ε610 = 22/mM cm). One unit of MnP activity (U) was defined as the amount of enzyme needed to oxidize 1 μmol of phenol red in 1 min [23].
The enzymatic activity of endo β-d-1,4-xylanase (EC 3.2.1.8) was determined using 0.2% xylan suspension as a substrate in 50 mM sodium acetate buffer with a pH of 4.8, incubated at 50 °C with 100 µL of enzyme extract for 30 min [24]. The reaction was stopped with the addition of 3,5-dinitrosalicylic acid (DNS). The reducing sugars (RS) released by the action of hydrolases on the substrates were determined by the DNS method at 540 nm wavelength [25]. One unit of ENX activity (U) was defined as the amount of enzyme that produces 1 µmol reducing sugars in 1 min. Xylose X1500 (SIGMA, St. Louis, MO, USA) was used for the calibration curve.
The enzymatic activity of β-glucosidase (EC 3.2.1.21) was measured through the reaction between 0.02% p-nitrophenyl β-d-glucopyranoside as the substrate in sodium acetate buffer with pH of 4.8 and 100 µL enzyme extract at 50 °C for 30 min. The reaction was stopped by adding Clark and Lubs buffer solution (pH = 9.8) and the absorbance was read at a wavelength of 430 nm (ε430 = 18.5/mM cm) [26]. One unit of βG activity (U) was defined as the amount of enzyme that produces 1 µmol of product (p-nitrophenol) in 1 min. To quantify the activity, a standard curve with p-nitrophenol was built.
The enzymatic activity of total cellulases (TC) was determined by the Filter Paper Units (FPU) method according to the procedure of Ghose [27]. One mL of 0.05 M sodium citrate buffer solution with a pH of 4.8 and a piece of 1 × 6 cm filter paper were placed in a test tube to which 0.5 mL enzyme extract was added. At least two dilutions of each extract sample containing cellulases were made. The tubes were incubated at 50 °C for 60 min, then the reaction was stopped by adding the DNS reagent and the determination of reducing sugars was made by reading the absorbance at a wavelength of 540 nm.
2.6. Determination of Fungal Biomass and Chemical Analyses
The fungal biomass content was estimated by determining the content of N-acetyl-d-glucosamine (NAGA) in the substrate samples taken during the fermentation according to Plassard et al. [28]. NAGA was measured per gram of mycelium of the studied fungus, cultivating it at 25 °C and 100 rpm for 10 days in 250-mL flasks with 100 mL culture medium with the following composition (in g/L): glucose 30, yeast extract 6, MgSO4·H2O 0.5, K2HPO4 0.5, and CaCl2 0.1. For determination of NAGA content in the fungal mycelium, 50 mg mycelium of the dried fungus underwent hydrolysis with 6 N HCl for three h. The biomass concentration in the samples taken from the SSF, expressed in mg/g of dry solid (ds), was calculated by referring the NAGA content in said samples to the NAGA content of T. versicolor dry mycelium grown in liquid medium. For RS determination, an extract was prepared with one part of dry sample of the colonized substrate at each incubation time and three parts of distilled water with the assistance of 5 min of ultrasound and subsequent stirring for 10 min and vacuum filtration. RS content was determined by the DNS method [25] for the resulting extracts. Cellulose, hemicellulose, and lignin (fiber components) for the samples collected during the cultivation of the solid medium were quantified by using the results of the determination of neutral detergent fiber, acid detergent fiber, and acid detergent lignin. For this, each dried and ground solid sample underwent three hydrolysis series for 70 min each: hydrolysis with sodium lauryl sulfate and others; hydrolysis with ammonium bromide in 1 N sulfuric acid solution; and hydrolysis with 72% (w/v) sulfuric acid. At the end of each hydrolysis, samples were washed and dried at 105 °C until constant weight [29]. The degradation of lignin, cellulose, and hemicellulose (in percentage) was calculated as the difference between the initial and the final content of each biopolymer related to its initial content.
2.7. Statistical Analysis
A completely randomized single factor experimental design with three levels (see Section 2.4) was carried out considering a significance level of 95%. The Statgraphics software (Statgraphics Technologies, Inc., The Plains, VA, USA) was used to perform the analysis of variance. The response variables were the activities of MnP, LAC, TC, βG, and ENX, and the concentration of fungal biomass (in mg/g ds NAGA) and RS (in mg/g ds). All variables were measured in triplicate.
3. Results and Discussion
3.1. Solid State Cultivation of T. versicolor in a Fixed-Bed Bioreactor
In this work, SSF process was performed in the novel bioreactor described in Section 2.3 (Figure 1) using T. versicolor to evaluate the lignocellulolytic enzymes production under two levels of forced aeration and no air injection. In Figure 2, it is observed how the colonization of the substrates was developed by T. versicolor under the three aeration levels evaluated at 14 incubation days. For LAR, the formation of a denser and more homogeneous mycelium on the substrate beds was noticed; these beds were completely colonized on the eighth fermentation day, equivalent to a substrate colonization rate (SCR) of 1.25 kg/day colonized substrate. The substrate was colonized on the ninth day when the HAR was applied (SCR of 1.11 kg/day), and on the 12th day when no air was injected into the bioreactor (SCR of 0.83 kg/day). In a previous work [7], an SCR of 0.75 kg/day was determined during T. versicolor vegetative phase in similar culture media packed in 3-kg bag units; this indicates the efficiency of the process in the pilot bioreactor used. It should be noted that the purpose of T. versicolor cultivation in bags is the production of its fruiting bodies, while the objective of the culture in the bioreactor was to obtain lignocellulolytic enzymes.
Figure 2.
Colonization of the substrate based on coffee husk, corn bran, and oak sawdust by T. versicolor in a fixed-bed solid-state bioreactor. Surface of the colonized substrate beds after 14 cultivation days under low aeration level (a), high aeration level (b), and natural convection (c).
Throughout the cultivation, an average 60% moisture in the substrates and 90–95% relative humidity within the bioreactor were maintained. This indicates that the air injection and circulation system inside the bioreactor, along with the relative humidity control system, kept the substrate moisture stable, which is crucial for the fungal biomass development. The results obtained showed that LAR increased the formation of exudates, which are related to water synthesis from the fungal aerobic respiratory metabolism. The water formed leaches soluble and potentially valuable substances through the substrate bed by gravity, which are collected in the lower part of the bioreactor.
The heat transfer is one of the aspects generating the greatest difficulties during the operation of solid-state large-scale fermenters, so temperature control inside the beds is one of the main concerns arising during the work of such bioreactors. Overheating the beds can dry the substrate and cause damage to the hyphae of the fungus, which significantly restricts the synthesis of valuable products, such as enzymes. The design of the bioreactor used, allowed for adequate temperature control compared to conventional tray bioreactors. In the latter, the bed height cannot be very high (between 5 and 8 cm) to avoid the accumulation of metabolic heat inside the substrate, which is removed only by contact with the air circulating between the trays [30]. In contrast, the substrate boxes provided with cooling tubes in the pilot bioreactor employed do allow more efficient heat removal. In this sense, although the air injection into this bioreactor was intended to activate T. versicolor biomass production and its ligninolytic enzymes, it helps to remove the heat from the beds, as well. HAR did show a slight change in temperature reaching average values between 27 °C and 30 °C, compared to the NC regime that reached an average bed temperature of 33 °C at the third day after the bioreactor inoculation. Therefore, the beds under NC were cooled by recirculating cold water; thus, it was possible to restore the temperature to the previously defined value of 30 °C in a time of 125 min.
During SSF, microbial cells take in oxygen directly from the air. However, several operational factors affect the oxygen transfer rate, such as substrate porosity, material layer thickness, substrate moisture, reactor design, and mechanical agitation, if present [31]. In addition, the technology of solid-state fermentation in tray bioreactors is not fully developed. In this regard, the usage of forced ventilation is not common, and the transport of oxygen and carbon dioxide mostly depends on the diffusion, which generates important constraints to the transfer of mass and heat during the cultivation process. In general, for bioreactors operating under natural convection regimen, oxygen uptake by filamentous fungi is much higher than oxygen supply in the bioreactor. This fact diminishes the availability of oxygen that may be dissolved in the biofilm formed on the surface of the solid substrate particles, generating an oxygen concentration gradient during the aerobic fermentation. In this work, the application of two regimes of forced aeration seeks to avoid this issue. In fact, an improved behavior of T. versicolor was obtained by using the low aeration regime for producing cell biomass during the vegetative growth phase, as well as a higher lignin degradation in the culture medium (see Section 3.4). It is likely that the LAR supplied an appropriate level of oxygen required by the mushroom for its vegetative growth phase, as well as the proper balance between oxygen and carbon dioxide needed for this phase. In this regard, very high oxygen levels can retard the growth of several types of microorganisms, among which several species of filamentous fungi are found, as has been empirically demonstrated in different investigations [15,18,32]. Nevertheless, it is still necessary to understand what is modified in the cellular metabolism of fungi that experience this effect.
For a SSF process with filamentous fungi, Oostra et al. [33] concluded that oxygen variation in the layer of aerial hyphae was relatively slight, but oxygen concentration severely changed in the layer of wet cells when forced air was injected. In addition, oxygen concentrations were reduced with the increase of the solid bed depth and the progress of the fermentation. Likewise, these authors determined that the oxygen content is dynamical and is influenced by the carbon dioxide generated by the microbial metabolism. Therefore, it is evident that oxygen supply inside the solid particles and hyphae are two key factors affecting the solid-state fermentation process, so more research efforts on this aspect should be conducted in the future, especially through the design and operation of novel types of fixed-bed bioreactors for the production of macromycetes and their metabolites with commercial interest as the one employed in this work.
3.2. Production of T. versicolor Biomass
T. versicolor biomass production in the solid-state pilot-scale bioreactor is illustrated in Figure 3. During most fermentation time, the highest biomass production was obtained for LAR. A progressive growth of the fungal biomass (characteristic of a vigorous growth phase) was observed with a maximum concentration of 202.4 mg/g ds on the 14th cultivation day; this aeration regime showed statistically significant differences throughout cultivation compared to the other two treatments evaluated (p-value = 0.0456). This can be explained by the stimulation provided by the low aeration level during the vegetative growth of the fungus, which allows an appropriate air exchange for its development. The other aeration regimes also showed progressive growth of the fungal biomass, reaching maximum concentrations of 91.04 mg/g ds for HAR and 204.7 mg/g ds for NC. However, HAR showed a very slow growth during the first two days (close to a latency phase), a growth phase until day 10, and a slow growth phase considered as a stationary phase between days 10 and 14; this behavior could be due to an excess of air exchange that can disperse the CO2 levels necessary for the vegetative fungal growth. In contrast, biomass production under NC did not show stationary nor lag phases, which can be attributed to the stimulus occurring in the vegetative growth phase of several white rot fungi in the presence of higher levels of carbon dioxide, as indicated by Chang and Miles [32] and in another previous work [21]. T. versicolor growth curve for LAR reached the stationary phase towards the 12th day and the biomass concentrations were significantly higher than those of NC treatment from the sixth day until the 12th day; the final biomass concentration for LAR and NC were almost the same. Thus, low aeration level makes possible to shorten the fermentation time when this fungus is grown in the pilot bioreactor used in this work compared to the case when no air is injected. The colonization of solid substrates by white rot fungi is slower when it is not possible to control all operating conditions, which makes the processes vulnerable to contamination by competitors with the consequent increase in the costs; that is not the case of the bioreactor employed in which improved performance is attributed to the control of its operating conditions and the formulation of the culture medium used.
Figure 3.
Time profile of T. versicolor biomass (a) and reducing sugars (b) concentrations for 14 days of solid-state fermentation in a fixed-bed pilot-scale bioreactor with natural convection and two levels of forced aeration; ds: dry solid.
The biomass concentrations are similar to those obtained in a previous work [5] for T. versicolor grown on 12 solid media containing oak sawdust, coconut fiber, coffee husk, soy oil, corn bran, calcium carbonate, and copper(II) sulfate with different concentrations of these components; it is highlighted that the medium used in this work only contained oak sawdust, coffee husk, corn bran, and small amounts of sugar, copper(II) sulphate, manganese(II) sulfate, and calcium carbonate. In that work, the fungus was cultivated in 200-g polypropylene bags for 49 days. The biomass concentrations reached in most media on the 14th day were below the biomass content achieved in the present work. Only in one medium, the biomass content was significantly higher (about 260 mg/ds) on the 14th day in plastic bags; however, this was not the medium that reached the maximum fungal concentration after 49-day cultivation. As the main goal of the cultivation in the bioreactor employed is the production of ligninolytic enzymes, the fermentation process was finished on the 14th day. More research is needed to assess the level of fungal biomass that could be achieved in the fixed-bed pilot-scale bioreactor. In this regard, it is evident that LAR favors the substrate colonization by the fungus at a rate higher than that of the bags for the first 14 days of cultivation, as noted in Section 3.1.
The operation of solid-state fermenters for producing metabolites with macromycetes on an industrial scale presents difficulties when adequate bed compaction is not guaranteed. The compaction is due to the thickening of the hyphae during the macromycetes vegetative phase as a way to prepare the substrates for the subsequent fructifying (reproductive) phase. This causes a decrease in the porosity of the solid materials, as well as the change in the structure of the meso and micropores of the substrate particles, due to the degradation and consumption of their constituting biopolymers. These structural changes are necessary to obtain several metabolites during the vegetative phase but also affect the mass and heat transfer in the bed. Therefore, improved designs of solid-state bioreactors for macromycetes have to enhance these transfer phenomena, ensuring at the same time the substrate compaction. Fixed-bed bioreactors offer better operating conditions with lower costs because they guarantee the compaction of the substrates. Precisely, the pilot bioreactor used in this work allowed an adequate substrate compaction for the development of T. versicolor, which is evidenced in the fungal biomass formation data for different aeration levels. This bioreactor design surpasses traditional fixed-bed fermenters due to the automatic control of humidity and temperature, as well as the air flow regulation. These characteristics are crucial to overcome the disadvantages related to heat and mass transfer in conventional tray reactors.
The RS variation during SSF in the fixed-bed bioreactor showed the same trend that occurred in previous works under NC conditions, not only with this macromycete but also with white rot fungi, such as Pleurotus ostreatus and Lentinus edodes [7], and with Grifola frondosa [34]. The RS profiles over time (see Figure 3) show a variation in a range between 4 and 25 mg/g ds for the three regimes. The maximum RS values reached for the three treatments were 23.92 mg/g ds on the 12th day for LAR, 13.11 mg/g ds on the 10th day for HAR, and 9.27 mg/g ds on the 6th day for NC. These values coincide with the start of the stationary phase for the two forced aeration regimes, and with the middle of the growth phase for the NC treatment. It is presumed that the RS are generated at a constant rate throughout the fermentation as a result of the degradation of carbohydrates present in the substrate, so that their variation in time is due to the consumption of simple sugars by the fungi as an energy source necessary for their growth. Additionally, selective lignin-degrading fungi, such as T. versicolor, use carbohydrates other than cellulose at the beginning of fermentation to obtain their energy source, so the fungus had to first degrade the hemicellulose and starch present in the substrate [35].
3.3. Production of Lignocellulolytic Enzymes
The activities of laccase, manganese peroxidase, endoxylanase, β-glucosidase, and total cellulases from T. versicolor during the 14 days of SSF in the pilot bioreactor did not show a defined time trend for any of the three regimes studied. The maximum enzymatic activities reached during the SSF process are presented in Table 1. In this work, we sought to especially evaluate the air flowrate effect in the fixed-bed bioreactor on the production of LAC and MnP from T. versicolor grown on agro-industrial waste. The maximum LAC activity for LAR was 6.37 U/g ds, approximately twice the maximum activity obtained for the other two regimes for 14 fermentation days. It is worth noting the considerable increase in the activity of this enzyme during 8 fermentation days compared to the activity attained under NC. This behavior was expected due to the dependence on oxygen that laccase has for its expression.
Table 1.
Maximum values of enzymatic activities of laccase (LAC), manganese peroxidase (MnP), β-glucosidase (βG), total cellulases, and β-d-1,4-xylanase (ENX) of T. versicolor cultivated by solid-state fermentation in a fixed-bed pilot-scale bioreactor with natural convection and two levels of forced aeration.
The progress of the LAC activity with time for the three regimes studied is shown in Figure 4. The LAC activity for LAR showed a rapid growth during the first six days of cultivation, and then stabilized in values between 4.9 and 6.4 U/g ds in the next six days with a slight decrease towards the 14th day. It is evident that both the absence of air injected into the bioreactor and the HAR lead to lower LAC values, which coincided practically during the first 8 days; however, from the tenth day, the LAC titers were significantly reduced to values close to zero for NC. Therefore, the positive effect of the air injection at low level on the LAC activity using the novel bioreactor reported in this work is very noticeable. This can be explained considering that LAC uses oxygen as a substrate, which makes it directly dependent on this compound. NC regime implies lower oxygen levels during fermentation and, consequently, lower LAC values. However, HAR led to lower LAC titers (Figure 4), which could be due to the correspondence between the LAC synthesis and the primary metabolism of the fungus for biomass formation. As noted above, this process of cell formation requires moderate CO2 levels, so a high aeration frequency removes these levels, decreasing the metabolic activity of the fungus in its vegetative phase and, therefore, the LAC values.
Figure 4.
Time profile of laccase (a) and manganese peroxidase (b) activities of T. versicolor cultivated in a fixed-bed pilot-scale bioreactor for 14 days of solid-state fermentation; ds: dry solid; LAC: laccase; MnP: manganese peroxidase.
MnP activity showed no statistically significant differences for any of the three regimes studied. The maximum enzymatic activity obtained from MnP was reported on the 12th day of fermentation for LAR (see Table 1). This value was approximately double the maximum activities obtained for HAR and NC. The MnP activity is markedly lower than those of the other enzymes measured (see Table 1), probably due to causes associated with the extraction methods used for its determination. This enzyme is very sensitive to deactivation when subjected to physical or chemical treatments [7]. This fact could have provoked greater standard deviations in its enzymatic activity, which implied that the analysis of variance showed that there were no statistically significant differences between the treatments. This is also highlighted by Postemsky et al. [36], who evaluated the influence of enzyme extraction methods on the result of the enzymatic activity assays, finding large differences in the results obtained according to the selection of the extraction method.
The time profile of the MnP enzymatic titers for LAR showed an increasing behavior during most of the fermentation (until day 12) compared to NC (Figure 4). For the latter case, a maximum value of the MnP activity was observed towards the middle of the cultivation process with a gradual decrease to values close to zero towards day 14. MnP activity for HAR presented notable oscillations throughout the fermentation, but in general the values obtained were between the values corresponding to the other two treatments. MnP is a hydrogen peroxide dependent enzyme, which it uses as a substrate. The fungus requires the oxygen presence to form hydrogen peroxide through several pathways involving the action of glucose-oxidase and glyoxal oxidase [15], making MnP indirectly dependent on oxygen. In this work, LAR during T. versicolor cultivation led to a greater MnP synthesis according to most data obtained from the samples taken (see Figure 4b). Meanwhile, HAR led to enzymatic MnP titers comparable to those of NC, which can be explained again by the correspondence between biomass formation and moderate CO2 levels in the bioreactor. Therefore, the forced aeration exerts an important influence on the synthesis of ligninolytic enzymes when a stationary fixed-bed bioreactor as that employed in this work is used.
The enzymatic activity curves showed noticeable decreases at different times, especially for NC and HAR. This fact could be attributed to changes in the substrate composition during the fermentation, since new substances that inhibit enzymatic activities can be produced; to the inhibiting by-products of the reactions occurring during fermentation; and to the production of isoenzymatic variants of the same enzymes at different times and different operating conditions causing changes in enzymatic titers. This reduction in ligninolytic activities with time have also been detected by several researchers, who report some of these hypotheses as possible causes of decreasing said enzymatic activities [34,37].
There is a considerable variation of the LAC and MnP activities disclosed in the literature. Zhu and Zhang [38] reported LAC and MnP activities of T. versicolor incubated on mixtures of lignocellulosic materials of 45.1 U/g ds and 1.35 U/g ds, respectively, when control parameters for heat removal in laboratory-scale beds were optimized. Postemsky et al. [36] reported LAC titers of 10.93 U/g ds on a rice straw and husks and 16.44 U/g ss on a substrate based on sunflower seed hulls in the full colonization phase for Ganoderma lucidum grown in a pilot-scale bioreactor. These values are higher than those obtained in this work, although it should be considered that the substrate used was not supplemented with phenolic inductors or oils, such as those used in works, like that of Postemsky et al. [36].
For the hydrolytic enzymatic activities measured in this work (ENX, βG, and TC), there were mostly no statistically significant differences between the three treatments studied, probably because the action of these enzymes does not depend on oxygen. ENX was the only one that exhibited the highest enzymatic activity (9.05 U/g ds on the tenth day of culture) under NC against the two treatments with forced aeration, obtaining statistically significant differences (p-value = 0.0005). The other enzymatic activities showed their maximum values at the LAR (see Table 1).
Figure 5 shows the time profile of the ENX titers for the three regimes. The ENX profiles obtained do not show a clear trend with time. In fact, the data of this activity oscillate in a range of about 20% of its average value over time for NC and about 50% for the two forced aeration levels. These variations are comparable with the standard deviations of the mean value of the experimental ENX measurements, which is related to the random errors of the analytical procedure employed (shown in Figure 5 through error bars). Nevertheless, higher values can be evidenced under NC compared to the activities under forced aeration. This behavior denotes that this hydrolase does not exhibit oxygen dependence for its expression. Different authors [15,39] have pointed out that hemicellulose is the first polysaccharide attacked by white rot fungi in natural environments from which they obtain the most available energy source at the beginning of the substrate degradation in the form of simple sugars, such as xylose, arabinose, and mannose. These monosaccharides are integrated into the primary fungal metabolism for cell biomass synthesis without oxygen involvement. This could explain why forced aeration levels do not increase the synthesis of ENX.
Figure 5.
Time profile of β-d-1,4-xylanase (ENX) activity of T. versicolor cultivated in a fixed-bed pilot-scale bioreactor for 14 days of solid-state fermentation; ds: dry solid.
In the case of LAR, the maximum activities of the cellulase group evaluated as TC and of the βG reached values of 11.58 U/g ds and 350.28 U/g ds, respectively (see Table 1). Likewise, the standard deviations of the data obtained were quite high and many of them overlapped, which could be due to the experimental errors of corresponding laboratory procedures. It should be noted that the cultivation time studied in the fixed-bed bioreactor was 14 days, a time chosen to especially evaluate the production of ligninolytic enzymes. However, the synthesis of cellulases is induced by the presence of cellulose available in the medium. T. versicolor first attacks lignin to subsequently release cellulose from solid substrates, so that the majority action of these enzymes occurs at a stage after the initial lignin degradation. Considering that oak sawdust is the main component of the substrate employed in this work, it is worth to point out that Bari et al. [40] have demonstrated that lignin degradation precedes the degradation of polysaccharides during the oak wood decay by T. versicolor. This explains why TC are not very high during the cultivation time studied in this work; with longer fermentation times, the synthesis of cellulases will be greater, as will the percentage of cellulose degradation in the medium. On the other hand, βG titers obtained are high compared to those reported in the available literature for 14 days of cultivation [41,42]. These high values could be related to the potential presence of structural analogues of cellobiose, the natural substrate of this enzyme, in the components of the solid substrate.
Fixed-bed bioreactors have exhibited higher performance for producing lignocellulolytic enzymes with macromycetes. The production of ligninases by T. versicolor in the bioreactor used in this investigation varying the aeration levels, showed consistency with the studies conducted by other researchers who also proposed various bioreactor models with the same purpose. Rosales et al. [43] indicated that the use of a tray bioreactor for laccase production using Trametes hirsuta guarantees the best conditions for the process. LAC enzymatic activities reached in that tray bioreactor were three times higher than those obtained in a tubular bioreactor, the other equipment design assessed by these authors. This can be explained considering that the agitation generated in the tubular bioreactor caused mechanical stress to the fungus, reducing the enzyme production.
3.4. Degradation of the Main Biopolymers of the Lignocellulosic Biomass
The degradation percentages of lignin, cellulose, and hemicellulose achieved at the end of the SSF evaluated in this work are presented in Table 2. Lignin degradation and consumption of carbohydrate fibers by the extracellular enzymatic consortium of T. versicolor has been reported elsewhere; in particular, lignin degradation is mostly attributed to the constant LAC and MnP secretion [44]. The highest degradation of lignin was achieved for low aeration regime. In this regard, it is worth to note that this regime is the one with the highest titers of LAC and MnP (see Figure 4a) during the cultivation process. This suggests that high percentages of lignin degradation are directly related to the synthesis of LAC and MnP. In this sense, the leading action of laccase could explain most of the primary degradation of lignin, especially if taking into account that this enzyme was expressed the most under the low aeration regime due to its enhanced synthesis when moderate oxygen levels are available. HAR is not appropriate for lignin degradation considering that an elevated air flowrate may lead to the dispersion of the necessary levels of CO2 during the cultivation. This dispersion, in turn, may reduce the primary metabolism of the fungus, i.e., the biomass growth and the synthesis of the related ligninases needed for the primary degradation of the lignocellulosic substrates are reduced under high aeration conditions, as shown in Figure 3a and Figure 4.
Table 2.
Degradation percentages of lignin, cellulose, and hemicellulose for T. versicolor cultivated on a medium based on agro-industrial waste on the 14th day of solid-state fermentation in a fixed-bed pilot-scale bioreactor with natural convection and two levels of forced aeration.
The low degradation percentages for cellulose and hemicellulose depicted in Table 2 are explained by the short operating time selected for this work as mentioned above. In this sense, it is necessary to conduct more research to ascertain whether the high aeration regime can lead to higher cellulose degradation or not when the fermentation time is prolonged. On the other hand, the hemicellulose degradation did not show significant differences among the aeration regimes studied in this work.
When comparing the metabolite production by SSF and SmF, the lower water content and the existence of a gas phase between the particles in the former are highlighted. Regarding this, the thermal conductivity of the air is very poor during SSF compared to that of water in the case of SmF. For this reason, it is important to study the influence of aeration regime on enzyme production in SSF processes. Unlike the small number of published works on the effect of oxygen on lignocellulolytic enzymes produced by SSF on a pilot scale, studies on SmF with oxygen injection for cultivating white rot fungi and industrial dye discoloration are more frequent in the scientific literature [45,46]. Thus, the importance of the data generated in this research is highlighted. Based on the results obtained, it was evident that the SSF of agro-industrial waste using T. versicolor in the fixed-bed bioreactor with natural convection and forced aeration, reached an efficient colonization of the substrates, a high production of fungal biomass, and high lignocellulolytic enzymatic titers. This enhanced performance is related to the satisfactory control of the temperature, substrate moisture, and relative humidity within the equipment, as well as the regulation of the aeration regime. Finally, the fungus T. versicolor is an attractive organism able to degrade a wide range of lignocellulosic materials in order to valorize different agricultural and agro-industrial residues through the production not only of lignocellulolytic enzymes but also of other value-added products, like bioactive polysaccharides [5], antimicrobial agents [10], biofuels [1], and packaging materials [47], among others.
4. Conclusions
The research of the production of biomass, enzymes, and other metabolites from white rot fungi in bioreactors at pilot scale has the potential to generate technological advances in SSF to achieve standardized processes under industrial conditions. As far as the authors of this article know, this work is the first report of a solid-state cultivation process using T. versicolor conducted at pilot-scale level (30 kg) where the effect of the aeration regime on the synthesis, not only of LAC and MnP but also on the activity of endoxylanase, β-glucosidase, and total cellulases, in a fixed-bed bioreactor with humidity and temperature control was evaluated.
The results obtained in this work made possible to propose a solid-state fermentation process using the fungus T. versicolor aimed at valorizing different lignocellulosic waste materials through the production of valuable lignocellulolytic enzymes, in particular, lignin-modifying enzymes, such as laccase and manganese peroxidase. In order to enhance the production of ligninolytic enzymes from such lignocellulosic agro-industrial residues, like oak sawdust, coffee husk, and corn bran, it is necessary to ensure an appropriate aeration level during the cultivation of the fungus, as well as a proper control of temperature and relative humidity in the solid substrate during the SSF process. To this end, a forced aeration regime consisting of 10 min of air injection every 6 h has the potential to induce an increased production of ligninolytic enzymes if the substrate temperature is maintained at 30 °C ± 1 °C and substrate moisture is kept at 60%. For this, the special design of the novel fixed-bed bioreactor employed in this work demonstrated its suitability to control the relative humidity inside the equipment and substrate temperature through the recirculation of cooling water in the boxes containing the substrate beds; in addition, this bioreactor allowed the regulation of the air injected into the equipment to supply the appropriate flowrate needed for the production of ligninolytic enzymes and fungal biomass of T. versicolor. This work successfully demonstrated the possibility of such a process at a pilot-scale level. In particular, the process with this forced aeration regime allowed a 97.8%-increase in the production of laccase compared to the conventional process with natural convection under SSF conditions.
The results obtained may contribute to the design of more efficient SSF processes for the valorization of different agricultural and agro-industrial residues. In future works, it is recommended to carry out the scale-up of the process at the semi-industrial level and the determination of the optimal aeration flowrate that maximizes the performance of this type of bioreactors for producing lignin-modifying enzymes and/or hydrolytic enzymes, like cellulases and hemicellulases.
Author Contributions
Conceptualization, S.M. and Ó.J.S.; methodology and sampling design, S.M. and Ó.J.S.; formal analysis, A.P.; investigation, A.P.; resources, S.M.; data curation, A.P.; writing—original draft preparation, A.P. and S.M.; writing—review and editing, Ó.J.S.; visualization, A.P.; supervision, S.M. and Ó.J.S.; project administration, S.M. and Ó.J.S.; funding acquisition, S.M. and Ó.J.S. All authors have read and agreed to the published version of the manuscript.
Funding
This research was funded by the Science, Technology, and Innovation Fund of the Colombian General System of Royalties (grant BPIN 2012000100178) and the Universidad de Caldas (grant 0700413) through the project “Implementation of a comprehensive strategy through biotechnological innovation for agro-industrial waste utilization in the Department of Caldas”.
Acknowledgments
The authors would like to thank the Bioprocess and Agro-industry Plant at the Universidad de Caldas for the technical support received. The authors also thank the following offices at the Universidad de Caldas for funding the article processing charge: Vice-rectory for Research and Graduate Studies, PhD Program in Agricultural Sciences, and Research Group in Food and Agro-industry.
Conflicts of Interest
The authors declare no conflict of interest.
Appendix A
The patented equipment [19] used in this work corresponded to a fixed-bed pilot-scale solid-state bioreactor with natural convection or forced aeration that included removable boxes in which the solid substrate is placed for fungal cultivation. This bioreactor is briefly described below (the detailed bioreactor description was disclosed in References [18,19]).
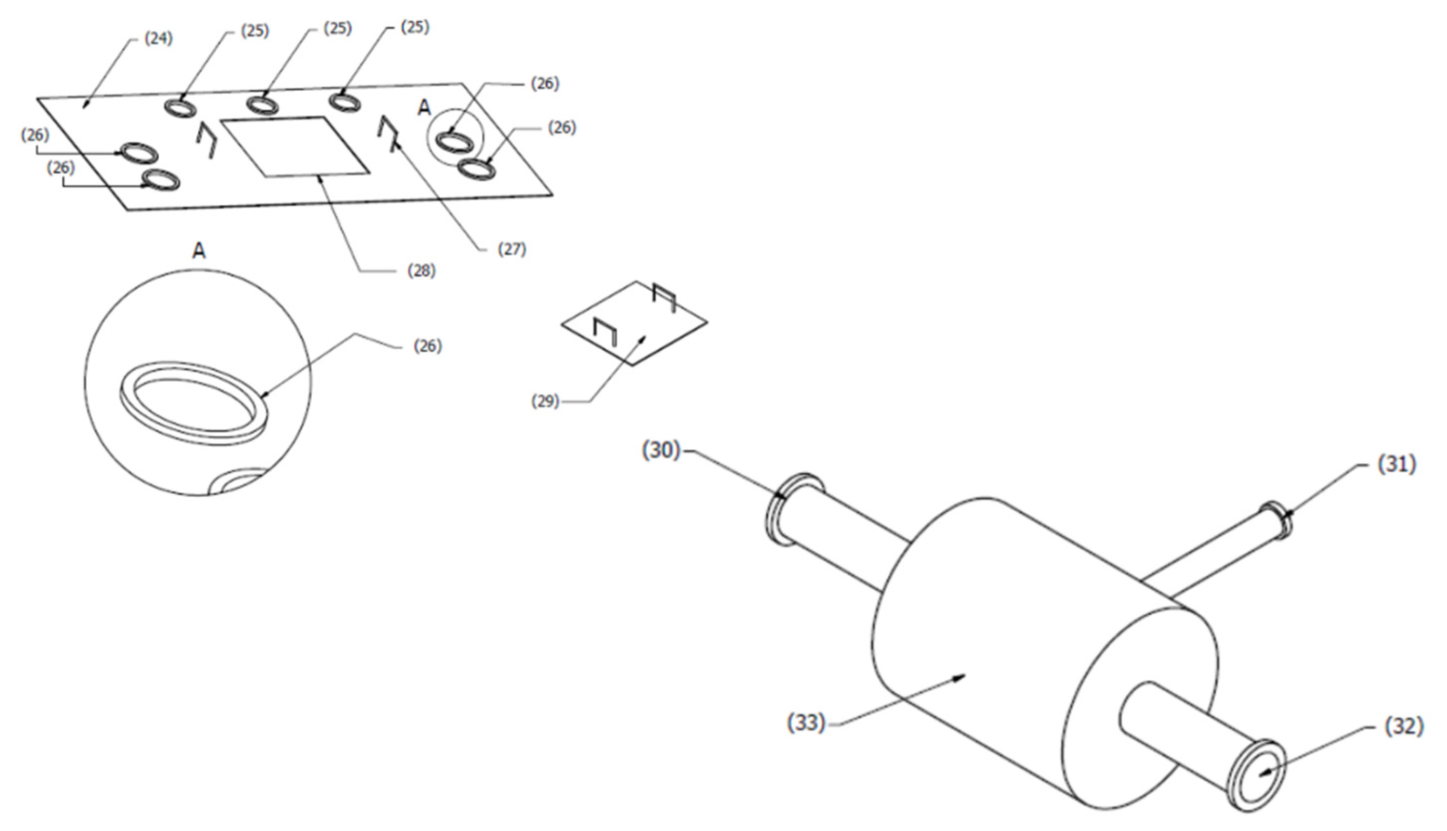
The body of the bioreactor (see Figure A1) is composed of a stainless steel chamber (1) with lateral spaces in a concave shape, a base diffuser (5) for distributing air and to support the boxes containing the substrate, a main lid (7 in Figure A3) provided with another lid that allows for the exchange of air with the outside (with a stainless steel mesh and filter) (29 in Figure A3), three peepholes for inspecting the incubation of the substrates (25 in Figure A3), two samplers with sample-receiving chambers isolated from the external environment (26 in Figure A3), a bottom air diffuser (5 in Figure A1), two air ejectors (2 in Figure A1 and 21, 22 in Figure A2), and an air mixer (3 in Figure A1 and 33 in Figure A3). The two samplers are provided with fastening means, and there is a main container for collecting samples that are in contact with the environment, a main window for collecting samples, a handle for the window controlling the entrance of air into the bioreactor, a valve controlling the entrance of air into the bioreactor, a general sampling container, and an access window for the bioreactor.
Figure A1.
Diagram of the fixed-bed bioreactor and some of its accessories. Source: References [18,19] [Reprinted from: Nova Science Publishers, Solid-State Cultivation of Grifola frondosa and Ganoderma lucidum: Technology, Research and Possibilities for Waste Utilization in Tropical Weathers, pp. 284, copyright (2020) Montoya, S.; Sánchez, Ó.J.; Arias, D.F. The statement, with permission from Nova Science Publishers, Inc.].
Figure A1.
Diagram of the fixed-bed bioreactor and some of its accessories. Source: References [18,19] [Reprinted from: Nova Science Publishers, Solid-State Cultivation of Grifola frondosa and Ganoderma lucidum: Technology, Research and Possibilities for Waste Utilization in Tropical Weathers, pp. 284, copyright (2020) Montoya, S.; Sánchez, Ó.J.; Arias, D.F. The statement, with permission from Nova Science Publishers, Inc.].

The bioreactor has two bodies for the lateral air diffuser system (13 in Figure A1), each of which faced combined positive (15 in Figure A1) and negative (15 in Figure A1) spin dispersion for distributing air when working with natural convection and directing the air flow when the bioreactor has forced aeration.
Figure A2.
Air diffuser system and air ejectors of the fixed-bed bioreactor. Source: References [18,19] [Reprinted from: Nova Science Publishers, Solid-State Cultivation of Grifola frondosa and Ganoderma lucidum: Technology, Research and Possibilities for Waste Utilization in Tropical Weathers, pp. 284, copyright (2020) Montoya, S.; Sánchez, Ó.J.; Arias, D.F. The statement, with permission from Nova Science Publishers, Inc.].
Figure A2.
Air diffuser system and air ejectors of the fixed-bed bioreactor. Source: References [18,19] [Reprinted from: Nova Science Publishers, Solid-State Cultivation of Grifola frondosa and Ganoderma lucidum: Technology, Research and Possibilities for Waste Utilization in Tropical Weathers, pp. 284, copyright (2020) Montoya, S.; Sánchez, Ó.J.; Arias, D.F. The statement, with permission from Nova Science Publishers, Inc.].

The bioreactor includes three substrate-containing boxes that can be disassembled (10 in Figure A1). These boxes contain the substrate formulated with lignocellulosic substrates that are inoculated with species of white rot fungi. Each box has a 10-kg capacity and is provided with hinges with a block (11, 12) on each side, which allows for the complete disassembly and release of the substrate block after incubation.
Figure A3.
Diagram of the bioreactor lid (top) and air mixer. Source: References [18,19] [Reprinted from: Nova Science Publishers, Solid-State Cultivation of Grifola frondosa and Ganoderma lucidum: Technology, Research and Possibilities for Waste Utilization in Tropical Weathers, pp. 284, copyright (2020) Montoya, S.; Sánchez, Ó.J.; Arias, D.F. The statement, with permission from Nova Science Publishers, Inc.].
Figure A3.
Diagram of the bioreactor lid (top) and air mixer. Source: References [18,19] [Reprinted from: Nova Science Publishers, Solid-State Cultivation of Grifola frondosa and Ganoderma lucidum: Technology, Research and Possibilities for Waste Utilization in Tropical Weathers, pp. 284, copyright (2020) Montoya, S.; Sánchez, Ó.J.; Arias, D.F. The statement, with permission from Nova Science Publishers, Inc.].

The bioreactor is provided with a control box for the temperature and relative humidity comprising a thermocouple selector, a display for six temperature points, a relative humidity display, a power-on indicator light, a general switch, and a power-off indicator light. The bioreactor also has an air mixer (33) that consists of a fresh air entrance (30 in Figure A3), an air recirculation pipe (31), an air exit towards the bioreactor (32), and a mixing tank for fresh and recycled air (33). There are stainless steel pipes with a double air expansion device and a mixer for injecting recirculating air when the bioreactor is working with forced aeration (2 in Figure A1).
References
- Sánchez, Ó.J.; Montoya, S. Production of bioethanol from biomass: An overview. In Biofuel Technologie—Recent Developments; Gupta, V.K., Tuohy, M., Eds.; Springer: Berlin, Germany, 2013; pp. 397–441. [Google Scholar]
- Farhadian, M.; Vachelard, C.; Duchez, D.; Larroche, C. In situ bioremediation of monoaromatic pollutants in groundwater: A review. Bioresour. Technol. 2008, 99, 5296–5308. [Google Scholar] [CrossRef] [PubMed]
- Fazaeli, H.; Mahmodzadeh, H.; Azizi, A.; Jelan, Z.; Liang, J.; Rouzbehan, Y.; Osman, A. Nutritive value of wheat straw treated with Pleurotus fungi. Asian Australas. J. Anim. Sci. 2004, 17, 1681–1688. [Google Scholar] [CrossRef]
- Rodrigues da Silva, R.; Pedezzi, R.; Beltramini, T. Exploring the bioprospecting and biotechnological potential of white-rot and anaerobic Neocallimastigomycota fungi: Peptidases, esterases, and lignocellulolytic enzymes. Appl. Microbiol. Biotechnol. 2017, 101, 3089–3101. [Google Scholar] [CrossRef]
- Sánchez, Ó.J.; Montoya, S. Assessment of polysaccharide and biomass production from three white-rot fungi by solid-state fermentation using wood and agro-industrial residues: A kinetic approach. Forests 2020, 11, 1055. [Google Scholar] [CrossRef]
- Fonseca, M.; Tejerina, M.; Sawostjanik-Afanasiuk, S.S.; Giorgio, E.; Barchuk, M.; Zapata, P.; Levin, L. Preliminary studies of new strains of Trametes sp. from Argentina for laccase production ability. Braz. J. Microbiol. 2016, 47, 287–297. [Google Scholar] [CrossRef]
- Montoya, S.; Sánchez, Ó.J.; Levin, L. Production of lignocellulolytic enzymes from three white-rot fungi by solid-state fermentation and mathematical modeling. Afr. J. Biotechnol. 2015, 14, 1304–1317. [Google Scholar]
- Wang, S.; Chen, Q.; Zhu, M.; Xue, F.; Li, W.; Zhao, T.; Li, G.; Zhang, G. An extracellular yellow laccase from white rot fungus Trametes sp. F1635 and its mediator systems for dye decolorization. Biochimie 2018, 148, 46–54. [Google Scholar] [CrossRef]
- Ooi, V.; Liu, F. Immunomodulation and anti-cancer activity of polysaccharide-protein complexes. Curr. Med. Chem. 2000, 7, 715–728. [Google Scholar] [CrossRef]
- Orzali, L.; Valente, M.T.; Scala, V.; Loreti, S.; Pucci, N. Antibacterial activity of essential oils and Trametes versicolor extract against Clavibacter michiganensis subsp. michiganensis and Ralstonia solanacearum for seed treatment and development of a rapid in vivo assay. Antibiotics 2020, 9, 628. [Google Scholar]
- Behera, S.; Ray, R. Solid state fermentation for production of microbial cellulases: Recent advances and improvement strategies. Int. J. Biol. Macromol. 2016, 86, 656–669. [Google Scholar] [CrossRef]
- Rodríguez, S.; Sanromán, M. Application of solid-state fermentation to ligninolytic enzyme production. Biochem. Eng. J. 2005, 22, 211–219. [Google Scholar] [CrossRef]
- Rivela, I.; Rodríguez, S.; Sanromán, M.A. Extracellular ligninolytic enzyme production by Phanerochaete chrysosporium in a new solid-state bioreactor. Biotechnol. Lett. 2000, 22, 1443–1447. [Google Scholar] [CrossRef]
- Rodríguez-Couto, S. Solid-state fermentation for laccases production and their applications. In Current Developments in Biotechnology and Bioengineering; Pandey, A., Larroche, C., Soccol, C.R., Eds.; Elsevier: Amsterdam, The Netherlands, 2018; pp. 211–234. [Google Scholar]
- Moore, D. Fungal Morphogenesis; Cambrige University Press: New York, NY, USA, 1998; 469p. [Google Scholar]
- Richard, T.L.; Walker, L.P.; Gossett, J.M. Effects of oxygen on aerobic solid-state biodegradation kinetics. Biotechnol. Prog. 2006, 22, 60–69. [Google Scholar] [CrossRef]
- Ashley, V.M.; Mitchell, D.A.; Howes, T. Evaluating strategies for overcoming overheating problems during solid-state fermentation in packed bed bioreactors. Biochem. Eng. J. 1999, 3, 141–150. [Google Scholar] [CrossRef]
- Montoya, S.; Sánchez, Ó.J.; Arias, D.F. Solid-State Cultivation of Grifola Frondosa and Ganoderma Lucidum: Technology, Research and Possibilities for Waste Utilization in Tropical Weathers; Nova Science Publishers: New York, NY, USA, 2020; p. 284. [Google Scholar]
- Montoya, S.; Sánchez, Ó.J.; Gutiérrez, L.F. Bioreactor to Obtain Bioactive Substances through Solid-State Fermentation Using Macromycetes Fungi. U.S. Patent US9556409, 31 January 2017. [Google Scholar]
- Montoya, S.; Patiño, Y.A.; Sánchez, Ó.J. Diseño eficiente de medios para la producción de lacasa, manganeso peroxidasa y endoxilanasa de Trametes versicolor cultivado sobre residuos agroindustriales, mediante modelamiento matemático (Efficient media design for production of laccase, manganese peroxidase and endoxylanase from Trametes versicolor grown on agro-industrial residues, through mathematical modeling). Invest. Innov. Ing. 2020, 8, 106–136. (In Spanish) [Google Scholar]
- Montoya, S.; Sánchez, O.J.; Levin, L. Polysaccharide production by submerged and solid-state cultures from several medicinal higher basidiomycetes. Int. J. Med. Mushrooms 2013, 15, 71–79. [Google Scholar] [CrossRef]
- Paszczyński, A.; Crawford, R.L. Degradation of azo compounds by ligninases from Phanerochaete chrysosporium: Involment of veratryl alcohol. Biochem. Biophys. Res. Commun. 1991, 178, 1056–1063. [Google Scholar] [CrossRef]
- Paszczyński, A.; Cadena, E.M.; Huyn, V.B. Manganese peroxidase of Phanerochaete Chrysosporium: Purification. Methods Enzymol. 1988, 161, 264–270. [Google Scholar]
- Nelson, N. A photometric adaptation of the Somogyi method for the determination of glucose. J. Biol. Chem. 1944, 153, 375–380. [Google Scholar]
- Miller, G.L. Use of dinitrosalicylic acid reagent for determination of reducing sugar. Anal. Chem. 1959, 31, 426–428. [Google Scholar] [CrossRef]
- Wood, T.M.; Bhat, K.M. Methods for measuring cellulase activities. In Methods in Enzymology; Elsevier: Amsterdam, The Netherlands, 1988; Volume 160, pp. 87–112. [Google Scholar]
- Ghose, T.K. Measurement of cellulase activities. Pure Appl. Chem. 1987, 59, 257–268. [Google Scholar] [CrossRef]
- Plassard, C.S.; Mousain, D.G.; Salsac, L.E. Estimation of mycelial growth of basidiomycetes by means of chitin determination. Phytochemistry 1982, 21, 345–348. [Google Scholar] [CrossRef]
- Leterme, P. Análisis de Alimentos y Forrajes (Analysis of Food and Forage); Universidad Nacional de Colombia: Palmira, Colombia, 2010; p. 66. (In Spanish) [Google Scholar]
- Pandey, A.; Soccol, C.R.; Rodríguez-León, J.A.; Nigam, P. Solid-state Fermentation in Biotechnology; Asiatech Publishers: New Delhi, India, 2001; p. 221. [Google Scholar]
- Bader, J.; Mast-Gerlach, E.; Popović, M.K.; Bajpai, R.; Stahl, U. Relevance of microbial coculture fermentations in biotechnology. J. Appl. Microbiol. 2010, 109, 371–387. [Google Scholar] [CrossRef]
- Chang, S.-T.; Miles, P.G. Mushrooms: Cultivation, Nutritional Value, Medicinal Effect, and Environmental Impact; CRC Press: New York, NY, USA, 2004; 451p. [Google Scholar]
- Oostra, J.; Le Comte, E.; Van den Heuvel, J.; Tramper, J.; Rinzema, A. Intra-particle oxygen diffusion limitation in solid-state fermentation. Biotechnol. Bioeng. 2001, 75, 13–24. [Google Scholar] [CrossRef]
- Montoya, S.; Orrego, C.; Levin, L. Growth, fruiting and lignocellulolytic enzyme production by the edible mushroom Grifola frondosa (maitake). World J. Microbiol. Biotechnol. 2012, 28, 1533–1541. [Google Scholar] [CrossRef]
- Pinto, P.A.; Dias, A.A.; Fraga, I.; Marques, G.; Rodrigues, M.A.M.; Colaço, J.; Sampaio, A.; Bezerra, R.M.F. Influence of ligninolytic enzymes on straw saccharification during fungal pretreatment. Bioresour. Technol. 2012, 111, 261–267. [Google Scholar] [CrossRef]
- Postemsky, P.; Bidegain, M.; González, R.; Figlas, N.; Cubitto, M. Pilot-scale bioconversion of rice and sunflower agro-residues into medicinal mushrooms and laccase enzymes through solid-state fermentation with Ganoderma lucidum. Bioresour. Technol. 2017, 231, 85–93. [Google Scholar] [CrossRef]
- Mata, G.; Murrieta Hernández, D.M.; Iglesias Andreu, L.G. Changes in lignocellulolytic enzyme activites in six Pleurotus spp. strains cultivated on coffee pulp in confrontation with Trichoderma spp. World J. Microbiol. Biotechnol. 2005, 21, 143–150. [Google Scholar] [CrossRef]
- Zhu, Y.; Zhang, H. Lignocellulose degradation, enzyme production and protein enrichment by Trametes versicolor during solid-state fermentation of corn stover. Afr. J. Biotechnol. 2011, 10, 9182–9192. [Google Scholar]
- Carlile, M.; Watkinson, S.; Gooday, G. The Fungi; Academic Press: London, UK, 2001; p. 588. [Google Scholar]
- Bari, E.; Daniel, G.; Yilgor, N.; Kim, J.S.; Tajick-Ghanbary, M.A.; Singh, A.P.; Ribera, J. Comparison of the decay behavior of two white-rot fungi in relation to wood type and exposure conditions. Microorganisms 2020, 8, 1931. [Google Scholar] [CrossRef]
- Nidetzky, B.; Steiner, W.; Hayn, M.; Claeyssens, M. Cellulose hydrolysis by the cellulases from Trichoderma reesei: A new model for synergistic interaction. Biochem. J. 1994, 298, 705–710. [Google Scholar] [CrossRef]
- Montoya, S.; Sánchez, Ó.J.; Levin, L. Evaluación de actividades endoglucanasa, exoglucanasa, lacasa y lignina peroxidasa en diez hongos de pudrición blanca (Evaluation of endoglucanase, exoglucanase, laccase, and lignin peroxidase activities in ten white rot fungi). Biotecnol. Sector Agrop. Agroind. 2014, 12, 115–124. (In Spanish) [Google Scholar]
- Rosales, E.; Rodríguez, S.; Sanromán, M. Increased laccase production by Trametes hirsuta grown on ground orange peelings. Enzyme Microb. Technol. 2007, 40, 1286–1290. [Google Scholar] [CrossRef]
- Torán, J.; Blánquez, P.; Caminal, G. Comparison between several reactors with Trametes versicolor immobilized on lignocellulosic support for the continuous treatments of hospital wastewater. Bioresour. Technol. 2017, 243, 966–974. [Google Scholar] [CrossRef]
- Anup, A.; Kruthi, K.; Mohan, R.; Devarai, K. Design of solid state bioreactor for industrial applications: An overview to conventional bioreactors. Biocatal. Agric. Biotechnol. 2017, 9, 11–18. [Google Scholar] [CrossRef]
- Arora, S.; Rani, R.; Ghosh, S. Bioreactors in solid state fermentation technology: Design, applications and engineering aspects. J. Biotechnol. 2018, 269, 16–34. [Google Scholar] [CrossRef]
- Souza Filho, P.F.; Zamani, A.; Ferreira, J.A. Valorization of Wheat Byproducts for the Co-Production of Packaging Material and Enzymes. Energies 2020, 13, 1300. [Google Scholar] [CrossRef]
Publisher’s Note: MDPI stays neutral with regard to jurisdictional claims in published maps and institutional affiliations. |
© 2021 by the authors. Licensee MDPI, Basel, Switzerland. This article is an open access article distributed under the terms and conditions of the Creative Commons Attribution (CC BY) license (http://creativecommons.org/licenses/by/4.0/).




