Abstract
Based on experimental data regarding the local distribution of metallic impurities in raw selenium and the composition of its vapor phase, the potential composition of the vapor–droplet suspension that leads to reduced condensate quality due to impurities with low partial vapor pressures relative to selenium, as well as metals with vapor pressures comparable to selenium, has been hypothesized. Due to selenium’s high aggressiveness towards structural materials and based on economic feasibility, the use of low-alloy steel of ordinary quality for the technical design of the distillation process, instead of alloyed steel, has been thermodynamically justified. A method has been developed, and a device to refine selenium has been manufactured, which differs from existing ones by the inertial purification of the vapor phase from droplet suspension. The development is protected by a security document (patent KZ No. 37275). Based on the completed developments, an industrial prototype of such equipment has been designed and implemented in production.
Keywords:
selenium; impurities; distillation; inertial cleaning; refining; environmental engineering 1. Introduction
Air flows carrying dispersed impurities in the form of solid particles, droplets, or bubbles are present in a number of natural phenomena. Examples of technical processes in which two-phase flows are used are combustion chambers of heat engines, heat exchangers with two-phase working bodies [1], dust collectors and droplet catchers of various types, and many other devices used in metallurgy [2,3,4,5], chemical [6], oil and gas [7,8], construction [9,10], and a number of other industries. These processes are accompanied by collision phenomena. In our case, these include interactions such as droplet/droplet and droplet/wall interactions. Collision phenomena can lead to processes such as coagulation and fragmentation, as well as the formation of films and streams on the surfaces being wetted, thereby playing a significant role in shaping the movement characteristics of droplets and influencing the flow of the surrounding continuous medium. As a result, the study of two-phase flows is extremely relevant [1,11].
Most published works focus on the interactions between droplets and other inclusions with water vapor. However, considering the relatively small difference, in terms of high-temperature processes, between the melting temperatures of water and selenium, as well as the vapor pressures of these substances, such studies present both scientific and technological interest.
The authors of [12] conducted studies on the boiling and evaporation mechanisms of heterogeneous water droplets containing graphite particles of various sizes and concentrations, heated by a high-temperature environment up to approximately 1373 K. It was found that adding small graphite particles to the heterogeneous droplets reduced their lifespan by 50% and promoted explosive droplet fragmentation.
The paper [13] presents the results of experimental studies on the collisions of water droplets and suspensions based on them in a gas medium, using high-speed video recording and specialized software to track the initial droplets and the fragments that form, at a temperature of 293 K, as well as in counterflows of heated steam at 773 K and combustion products (at 1073–1123 K). A statistical analysis of collision regimes was performed, with dependencies of their frequency on droplet size, velocity, collision angle, and other factors. Ranges of changes in the liquid surface area during fragmentation and droplet breakdown due to collisions in gas environments with different temperatures were established.
The transport of droplets on surfaces [14] and the processes of attraction and repulsion caused by evaporation between a pure water droplet and a droplet containing water with lower surface tension and lower vapor pressure on a high-energy surface were also investigated. It has been shown that if a water droplet is distributed within a certain critical time after the mixture droplet is dispersed, the latter will be attracted to and will follow the water droplet; after the critical time, it will be repelled.
The wetting and evaporation of stationary multi-component droplets, demonstrating diverse behaviors due to the uneven distribution of various components in both the liquid and vapor phases, have been studied [15]. The dynamics of droplet wetting, interphase mass flow, droplet lifetime, and flow regularities were examined.
Heating and phase transitions of water droplets in an air stream at a temperature of 413 K, humidified to a water vapor volume fraction of 0.3, were experimentally studied using condensation economizers [16]. It was found that in the additionally humidified flow, i.e., with an increase in the partial pressure of water vapor, the water droplet volume increased by 3%, and the evaporation temperature of the droplet increased by 290 K.
The method to clean selenium vapors by capturing the droplet suspension through filtration found practical application in the early 1970s [17]. In the steam pipeline connecting the distiller to the condenser, a filter cartridge made of glass or quartz fabric was installed on the distiller side. The duration of the evaporation process of the initial selenium batch increased by 20% due to the aerodynamic resistance to the flow of the vapor phase, but the commercial selenium began to be obtained in a single operation.
A similar method to clean the selenium vapor phase, which involved replacing the quartz fabric filtering material with a metal mesh made of alloyed steel and tilting the steam pipeline toward the distiller, remained in use until recently [18,19]. However, problems caused by the formation of selenides with iron and alloying metals [20], as well as the deposition of droplets performed by the steam flow on the filtering mesh, led to the blockage of mesh holes (Figure 1) and an increase in pressure in the vacuum distillation apparatus, which in turn raised the evaporation temperature and eventually halted the technological process.
Figure 1.
Photographs of the Filtering Element for the Vapor Phase—mesh: (a)—placed in the technological equipment; (b)—removed from it.
No other passive devices to filter the vapor phase in high-temperature processes have been found, which has led to the initiation of certain studies and the search for technical solutions to address this issue.
Moreover, there is no information about the composition of the vapor–droplet suspension and the interaction of selenium vapor with construction steels. Such aspects were attempted to be addressed hypothetically and through thermodynamic calculations.
2. Potential Composition of the Vapor–Droplet Phase
Due to the difficulty of instrumentally investigating the initial vapor–droplet mixture that is to be purified from droplets, which requires special studies, we have hypothesized the composition of the vapor–droplet phase based on prior information about the composition of the refined selenium, its vapor, and practical technological investigations.
In the initial selenium, spherical voids (Figure 2) were found, at the boundaries of which impurity elements concentrate. Inclusions with a predominance of carbon were observed (Figure 3).
Figure 2.
Spherical Void and Impurity in the Mass of Initial Selenium [21].
Figure 3.
Composition and Amount of Inclusion Elements at the Microprobe Analysis Site.
When studying the composition and possible localization of impurity elements, it was found that impurities, both difficult to volatilize and difficult to remove, such as tellurium, are unevenly distributed in the selenium mass, forming localized areas with high concentration.
The surface composition outside the spherical void corresponds to 100% selenium. Impurity elements are also localized outside the spherical formations in the selenium mass (Figure 4 and Figure 5).
Figure 4.
Impurity Elements in the Mass of Initial Selenium [21].
Figure 5.
Composition and Amount of Localized Impurity Elements in the Selenium Mass.
In the initial selenium, closely located localized areas of impurity element concentration with different elemental compositions were found, as in the initial selenium (Figure 6).
Figure 6.
Impurity Elements in the Mass of Selenium [21].
The composition and amount of impurity elements at the testing point 1, shown in Figure 6, are presented in Figure 7, and at point 2, are shown in Figure 8.
Figure 7.
Composition and Amount of Localized Impurity Elements in the Selenium Mass at Point 1.
Figure 8.
Composition and Amount of Impurity Elements in the Selenium Mass at Point 2. The element Te* is introduced for forced determination in the test sample.
Analyzing the data of the study, it is noted that the impurities are localized at the boundary between selenium and the void formation. The impurities are distributed in the selenium mass by localized regions. The amount and elemental composition of the impurity concentration regions vary randomly.
Mass spectrometric analysis of the vapor phase [17,22,23] has shown that when selenium undergoes sublimation and distillation, Sen+ ions are present in the vapor, with “n” ranging from 1 to 8. Furthermore, a small amount of Se9+ and Se10+ ions were also detected in the vapor phase. As temperature increases, the proportion of Se2 molecules rises, while the content of Se5 and Se6 decreases.
Impurity elements are present in selenium predominantly in the form of selenides. Iron, lead, zinc, and aluminum selenides have low partial vapor dissociation pressures and therefore remain in the distillation residue during the refining process.
Hard-to-remove impurities such as mercury, arsenic, and tellurium form selenides that dissociate upon heating. Mass spectrometric studies of the vapor phase above mercury selenide have revealed significant dissociation of the compound at temperatures above 415 K according to the reaction:
HgSe(s) = Hg(g) + aSe2(g) + bSe3(g) + cSe5(g) + dSe6(g) + eSe7(g) + fSe8(g),
The evaporation process of arsenic selenide at temperatures near 585 K can be described by the equation:
As2Se3(s) = 0.0168As2Se3(g) + 0.0775As2Se2(g) + 0.155AsSe(g) + 0.259As2(g) +
+ 0.285As4(g) + 0.132Se2(g) + 0.396Se6(g).
During the evaporation of selenium–tellurium systems, the vapor may contain Se2, Se4, Se6, Se8, Te, Te2, Te4, and TeSe molecules. The composition of this vapor varies depending on the temperature and alloy composition [24,25].
Thus, the presence of impurities in the condensate—whose corresponding selenides do not decompose at the operating distillation temperatures—can only be explained by the entrainment of selenium vapor–droplet suspensions locally enriched with these elements. The presence of difficult-to-remove impurities such as mercury, arsenic, and tellurium can similarly be attributed to entrainment by the vapor flow, as well as the dissociation of selenides yielding molecules with vapor pressures comparable to that of selenium. Therefore, one of the most effective methods to improve the purity of the obtained refined selenium is the removal of droplet suspensions from the selenium vapor phase—especially during the final stage of the batch refining process, when selenium in the distillator becomes enriched with impurities.
3. Selection of Structural Materials for Process Equipment Involving Liquid and Vapor Selenium
Due to selenium’s propensity to form selenides with most elements in the periodic table, the question of suitable construction materials for process equipment becomes critical.
The thermal stability of metal and non-metal selenides at high temperatures under various conditions is of great importance for distillation processes. The dissociation behavior of these compounds—whether they decompose and at what stages—directly impacts the efficiency and feasibility of extracting elemental selenium from industrial by-products. Furthermore, selenium exhibits high chemical reactivity with structural steels and alloying elements such as nickel, titanium, and chromium. This reactivity defines the durability and service life of the equipment used.
Distillation-based extraction and refining of selenium from industrial intermediates is performed at temperatures ranging from 673–773 K under vacuum conditions down to 13 Pa (1.3 × 10−4 atm.), and at an atmospheric boiling point of 945 K, as determined in our studies. Therefore, the relevant temperature range for the current investigation was selected as 673–945 K and the pressure range as 1.3 × 10−5 to 0.1 MPa (1.3 × 10−4 to 1 atm.).
Given these conditions, it was considered appropriate to examine the behavior of iron [26] and metal selenides in both liquid and vapor selenium. Due to the challenges of performing such laboratory investigations experimentally, thermodynamic equilibrium calculations were employed—specifically using the equilibrium constants (Kp) for the selenide–selenium (liquid) system—and the partial pressure diagram method, in which the gaseous component is represented by selenium vapor.
From an economic standpoint, steels (including alloyed grades) are the most viable materials for technical implementation of the process. One of the most widely used alloy steels is 12X18H9T (AISI 321), containing 12% chromium, 18% nickel, and 9% titanium, which was selected for focused analysis.
Thermodynamic constants were taken from standard reference sources and assumed to be temperature-independent for the purposes of calculation. These are presented in Table 1. Because many enthalpy and entropy values for the formation of metal selenides have not yet been experimentally determined, the missing values were estimated primarily using the method of analogous compounds [27].
Table 1.
Thermodynamic Functions of Selenides.
The possible decomposition reactions of selenides and the corresponding equilibrium constants at the boundary temperatures of the investigated interval are presented in Table 2.
Table 2.
Equilibrium Constants for the Decomposition Reactions of Selenides in Liquid Selenium.
Analyzing the data presented in Table 2, it can be observed that under selenium distillation conditions, the majority of the selenides of alloying elements are thermally stable. The exception is titanium selenide–Ti3Se4 (crystalline), which decomposes. The equilibrium constants of the dissociation reactions of the compounds listed vary in magnitude but are positive in sign, indicating that the reactions proceed in the forward direction. All lower metal selenides remain stable in liquid selenium at temperatures between 673 and 945 K.
A comparison of the equilibrium constants for the formation of the lower selenides of iron and alloying elements (the reverse of the decomposition reactions) suggests the following order of dissolution (disregarding the activities of alloying metals in solid iron): chromium, nickel, iron, titanium. This implies that elements preceding iron in this sequence will preferentially dissolve into the liquid selenium, resulting in the degradation of construction materials based on alloy steel. Moreover, increasing temperature is expected to accelerate the formation of selenides.
In evaluating the behavior of selenides of structural materials, it is essential to consider not only the forms of compounds formed by the alloying and matrix metals in vaporous selenium, but also their thermal stability.
Iron–Selenium System. The Fe–Se phase diagram [28] includes two compounds: iron selenide (FeSe), which melts congruently at 1348 K, and iron diselenide (FeSe2), which forms via a peritectic reaction at 858 K. The diagram was constructed taking into account the equilibrium between crystalline Fe(cr), FeSe(cr), FeSe2(cr), and gaseous Se2(g). The possible reactions between the components of the condensed and gas phases, along with the calculated logarithms of the equilibrium constants, are presented in Table 3.
Table 3.
Reactions and Equilibrium Constants for the Decomposition of Iron Selenides.
The equilibrium constant for reaction 4 (Table 3) is Kp = , and for the other reactions Kp = . The partial pressure diagram for the decomposition of iron selenides is shown in Figure 9. The region of pressures relevant to the selenium distillation refining process is shaded in the figure.
Figure 9.
Partial Pressure Diagram of the Fe(cr)–Se2(g) System.
The diagram shows that under selenium distillation conditions from its melts in vacuum at 673–803 K, the thermodynamically stable phase of iron impurity is iron diselenide FeSe2(cr), meaning that no dissociation of the compound is expected. At temperatures from approximately 803 K (determined graphically) to 945 K, and at pressures from 0.013 to 6.46 kPa (depending on the corresponding temperature), decomposition of iron diselenide occurs according to the reaction 2 FeSe2(cr) = 2 FeSe(cr) + Se2(g). This leads to the formation of iron monoselenide and the transfer of selenium into the vapor phase. The decomposition of iron monoselenide under selenium distillation conditions, both at atmospheric pressure and in vacuum, is unlikely. It is only possible under equilibrium conditions at temperatures above approximately 803–833 K and pressure around 13 Pa (0.1 mmHg).
Nickel–Selenium System. The Ni–Se phase diagram [30,31] contains five compounds: Ni3Se2, Ni6Se5, Ni21Se20, NiSe, and NiSe2. Ni3Se2 forms via a peritectic reaction at 1073 K. Ni6Se5 and Ni21Se20 form via peritectoid reactions at 943 K and 648 K, respectively. Ni6Se5 is stable in the temperature range 673–973 K. The homogeneity range of NiSe, which melts congruently at 1253 K, is 50.5–56.5 atm.% Se.
In constructing the partial pressure diagram, the equilibrium was considered between crystalline Ni(cr), Ni3Se2(cr), NiSe(cr), NiSe2(cr), and gaseous Se2(g). Due to the absence of reliable reference data, the enthalpy and entropy of formation for Ni3Se2(cr) were estimated using the method of analogous reactions. For the same reason, and because of the proximity of the stoichiometric compositions of Ni6Se5 (45.5 at.% Se) and Ni21Se20 (48.8 at.% Se) to the homogeneity range of NiSe, these compounds were excluded from the calculations. The possible reactions between the condensed and gas phases, along with the calculated equilibrium constants, are listed in Table 4.
Table 4.
Reactions and Equilibrium Constants for the Decomposition of Nickel Selenides.
The equilibrium constant for all reactions listed in Table 4 is Kp = . The partial pressure diagram for the decomposition of nickel selenides is shown in Figure 10.
Figure 10.
Partial Pressure Diagram of the Ni(cr)–Se2(g) System.
According to this diagram, the thermally stable nickel selenide under both atmospheric pressure distillation conditions (945 K, 101.3 kPa) and vacuum conditions (673–773 K, 13–1000 Pa) is Ni3Se2(cr). Both nickel monoselenide and nickel diselenide are stable only under excess pressure—greater than 101.3 kPa (1 atm).
Titanium–Selenium System. The Ti–Se phase diagram has not been constructed [29]. However, three compounds are known to form in this system: TiSe, TiSe2, and Ti3Se4.
Thermochemical investigations are limited to the paper [30], where, using a high-temperature heat-conduction calorimeter with an isothermal shield, the standard enthalpies of formation of titanium selenides with variable composition TiSex (where x ranges from 1.45 to 1.85) were determined from the thermal effect of direct synthesis reactions from the elements. It was established that the dependence follows a linear equation.
To estimate the enthalpies of formation of these compounds—due to the lack of reference data—the concentration range of this equation was extended to 1 ≤ x ≤ 2. The entropies of formation were approximately estimated using the additivity rule.
The possible reactions between the components of the condensed and gas phases, along with the calculated logarithms of the equilibrium constants, are presented in Table 5.
Table 5.
Reactions and Equilibrium Constants for the Decomposition of Titanium Selenides.
According to the partial pressure diagram (Figure 11), the only thermodynamically stable phase across the entire temperature range of 673–945 K and selenium partial pressures from 13 Pa to atmospheric pressure is crystalline titanium diselenide.
Figure 11.
Partial Pressure Diagram of Ti(cr)–Se2(g).
This means that titanium, present in steel as an alloying element, will react with gaseous selenium to form titanium diselenide, thereby contributing to the chemical corrosion of the structural material.
Due to the lack of available data, the thermodynamic activity of titanium in crystalline iron was not included in the equilibrium constant calculations. However, this omission does not affect the formation of TiSe2(cr), since according to the sequence of selenide formation reactions, Ti(cr) → TiSe(cr) → TiSe2(cr), the monoselenide of titanium is first formed from the elements under increasing selenium partial pressure. It is in this reaction that the activity of the metal should be accounted for. The decomposition reactions of titanium selenides follow the reverse sequence of their formation.
Chromium–Selenium System. In this system, within the selenium concentration range of ~50–60 at. %, a compound forms congruently from the melt, representing a disordered solid solution based on the compound Cr1−xSe [28]. Its melting temperature lies between ~1823 and ~1773 K, corresponding to the boundary compositions of CrSe and Cr2Se3. Upon cooling, the disordered solid solution decomposes, forming ordered phases CrSe, Cr3Se4, and Cr2Se3 at 578, 1184, and 1084 K, respectively. Thus, under distillation conditions for selenium extraction and refining, the stable phases are expected to be Cr3Se4 and Cr2Se3.
The thermodynamic functions of chromium selenides are known only for the sesquiselenide, as reported in paper [32,33,34,35,36,37,38,39,40], where the enthalpy and entropy of formation of γ-Cr2Se3 were determined using electromotive force measurements of concentration galvanic cells in the range of 413–493 K.
Accordingly, when constructing the partial pressure diagram, only the decomposition reaction of chromium sesquiselenide into its constituent elements was considered: 2Cr2Se3(cr) = 4Cr(cr) + 3Se2(g), with the equilibrium constant Kp = .
The thermodynamically stable phase at the temperatures and pressures typical of selenium distillation processes is Cr2Se3(cr) (Figure 12).
Figure 12.
Partial Pressure Diagram of Cr(cr)–Se2(g).
Chromium, present in steel as an alloying element, reacts with gaseous selenium to form chromium sesquiselenide, which promotes the chemical degradation of the structural material.
Based on the selenium partial pressure diagrams for systems with iron and alloying elements, it has been established that under the conditions of selenium distillation and refining at low pressures, iron, nickel, titanium, and chromium are represented by their thermodynamically stable higher selenides.
To simplify the interpretation of the chemical forms in equilibrium with gaseous selenium, and assuming that the process pressure during distillation corresponds to the selenium vapor’s partial pressure, the temperature ranges of thermally stable phases for vacuum thermal processing at 0.13, 1.33, and 6.67 kPa (1, 10, and 50 mmHg) were determined graphically and are summarized in Table 6.
Table 6.
Phases and Temperature Range of Their Stability in Vacuum.
Based on the above, the preferred material for contacting both liquid and gaseous selenium for the technical design of the process is carbon steel of ordinary quality.
4. Development of a Method and Device for Cleaning the Vapor Phase
As noted by the author of [1], the complexity of studying two-phase (multiphase) flows is due to two factors. On one hand, this is caused by the fact that the theory of single-phase flows is still under development, and on the other hand, adding a dispersed impurity in the form of particles (droplets) to a turbulent flow significantly complicates the flow pattern. This is due to the large variety of properties (primarily inertia) and the concentration of the dispersed inclusions, which leads to the implementation of numerous regimes of two-phase flows.
The filtration of the vapor phase from droplet suspension through a mesh filter [17,18,19] with small hole sizes led to clogging with trapped droplets, increased pressure in the distillation space, reduced evaporation intensity of selenium, and, consequently, decreased apparatus performance.
Therefore, due to technological necessity, we have developed a process and technical design to trap droplet suspensions in the selenium vapor during its refining.
We propose subjecting the vapor phase with droplet suspension to inertial cleaning by alternately changing the flow direction of the vapor between the distillation and condensation spaces, involving splashing of the original defective selenium. A synergistic effect is possible when droplets collide with the walls of the catcher [1,13], resulting in fragmentation, rebound, and deposition. The liquid phase of selenium, formed upon droplet collision with the walls of the catcher, is spontaneously returned to the distillation space at the same temperature as the distillation temperature. The intensity of vapor flow movement during inertial cleaning is 10–12 times higher than that in the distiller.
A device [31] has been developed to ensure inertial cleaning of the vapor phase from droplet suspension for selenium refining by vacuum distillation. This device is equipped with devices for loading the initial selenium, unloading the condensate, and evacuating gases. Purification from droplet suspension occurs in a splash trap, which is installed in the steam pipeline between the distiller and the condenser. The trap contains vertical partitions that alternately cover more than half of the cross-section for the passage of steam. The open area, the size of which is not less than 8–10% of the evaporation area of the distiller, forms a zigzag passage for the steam phase.
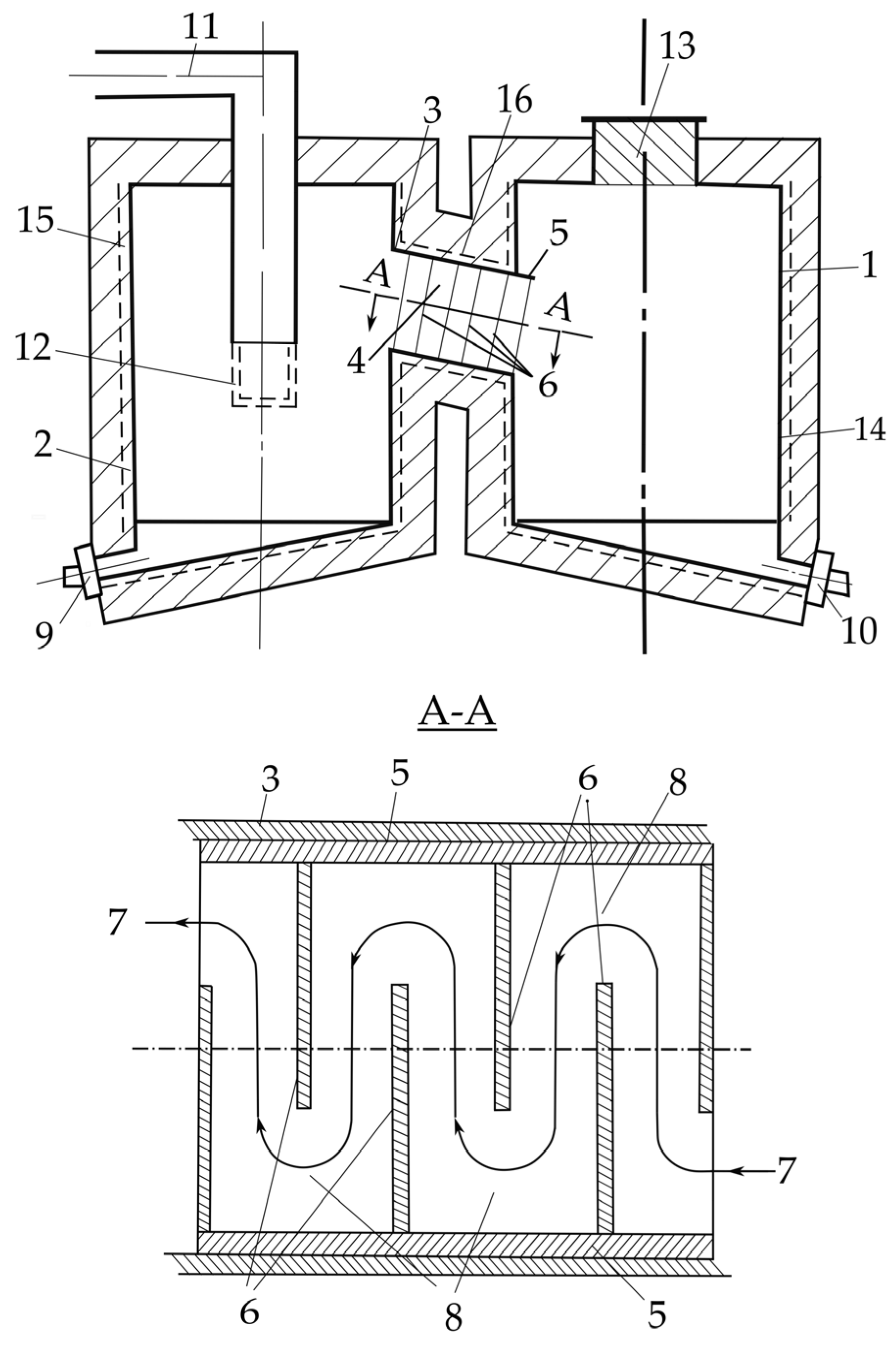
The apparatus is made of carbon steel of ordinary quality, grade St08 according to GOST 1050-88 [41]. The schematic diagram of the apparatus and inertial droplet catcher is shown in Figure 13.
Figure 13.
Vacuum Distillation Apparatus for Refining Selenium with an Inertial Droplet Catcher: 1—Distiller; 2—Condenser; 3—Vapor pipe; 4—Droplet catcher; 5—Inertial catcher housing; 6—Partitions; 7—Vapor flow direction; 8—Open area for vapor passage; 9—Refined selenium discharge device; 10—Residue discharge device from distillation; 11—Gas evacuation device; 12—Filter; 13—Loading device; 14, 15, 16—Heaters.
The apparatus is made in two chambers and includes a distiller and a condenser. They are connected by a heated steam pipeline with a slope towards the distiller. A droplet suspension catcher with a zigzag passage for steam is installed in the steam pipeline. At the bottom, the condenser is equipped with a device for unloading condensate, and the distiller is equipped with a similar device for releasing the distillation residue. A device for evacuating gases is installed in the condenser, equipped with a fabric filter for catching finely dispersed condensate after condensation of selenium in the condenser volume.
The vacuum distillation apparatus operates as follows. The raw selenium is loaded into the distiller through the loading device. A vacuum is created in the apparatus via the gas evacuation device. The distiller and vapor pipe are heated by activating the heaters. Upon reaching the distillation temperature, selenium transitions into the vapor phase, which undergoes inertial cleaning in the droplet catcher, heated to the same temperature as in the distiller. The selenium vapor with droplet suspension passes through the zigzag passage between the body of the catcher and the vertical partitions, through the open cross-sectional area, where it is cleaned of the droplet suspension of non-conforming selenium by colliding with the walls of the catcher. The captured selenium droplets flow down the body of the droplet catcher, which is installed in the vapor pipe inclined towards the distiller, and then return zigzag at the bottom of the catcher body, in the opposite direction to the vapor flow, into the distiller. The vacuum distillation apparatus operates as follows. The raw selenium is loaded into the distiller through the loading device. A vacuum is created in the apparatus via the gas evacuation device.
The appearance of the vacuum distillation apparatus is shown in the photograph in Figure 14.
Figure 14.
General View of the Selenium Refining Installation with the Inertial Droplet Catcher.
The selenium vapor with droplet suspension passes through the zigzag passage between the body of the catcher and the vertical partitions, through the open cross-sectional area, where it is cleaned of the droplet suspension of non-conforming selenium by colliding with the walls of the catcher. The captured selenium droplets flow down the body of the droplet catcher, which is installed in the vapor pipe inclined towards the distiller, and then return zigzag at the bottom of the catcher body, in the opposite direction to the vapor flow, into the distiller.
The vapor phase of selenium, cleaned of droplet suspension in the inertial catcher, then enters the condenser, where the selenium vapor primarily condenses on the walls into a solid or partially liquid phase. Some selenium vapor condenses within the volume of the condenser and is carried away with non-condensable gases to the filter, where it is purified from the dust-like fraction and returned by shaking the filter into the main mass of the condensate. Non-condensable gases, cleaned from the dust-like fraction of selenium, are evacuated through the device.
After transferring 70–90% of selenium into the vapor phase, the distillation process is stopped, the apparatus is filled with an inert gas relative to non-conforming selenium, and the distillation residue, enriched with less volatile elements than selenium, is discharged through the device from the distiller. When the inert gas pressure in the distiller reaches atmospheric pressure, electrical power is applied to the heater to raise the temperature to selenium’s melting point, converting it to a molten state, and it is poured into molds via the unloading device. After completing all operations, the technological cycle is repeated.
The technological parameters of the method, the operation of the apparatus of the proposed design, and the process conditions, compared to those of selenium vapor filtration, are provided below. Selenium refining, containing 95.1% Se by mass, was carried out in a vacuum apparatus where the distiller had a diameter of 30 cm, corresponding to an evaporation area of 706.5 cm2, and the vapor pipe diameter was 15 cm, with the inertial catcher body installed, which had 5 partitions with an open area for selenium vapor passage of 63.6 cm2, representing 9% of the evaporation area. The length of the inertial droplet catcher was 20 cm. The distillation temperature was maintained at 673 ± 10 K, and the pressure in the distiller at the beginning of the process was ~500 Pa. The temperature of the inertial droplet catcher was maintained throughout its length at 673 ± 10 K. The process duration for a single loading of 40 kg was 6 h, and the degree of distillation of refined selenium from non-conforming selenium was 70%. The pressure in the distiller at the end of the selenium distillation process was 600 Pa. The average selenium evaporation rate was 2.62 × 10−2 kg/(m2 × s). The cleaning of the inertial droplet catcher was not required, and no clogging with selenium condensate or refractory liquid phases was observed. The apparatus performance increased by 16.4%.
The composition of the extracted elements from non-conforming selenium with impurities corresponds to the requirements for the chemical composition of selenium of grade ST 1 according to GOST 10298-2018 [42]. The data are presented in Table 7.
Table 7.
Content of impurity elements in grade ST 1 (GOST 10298-2018), in the original and refined selenium.
Based on the developments performed, similar equipment has been designed and is in industrial use at a factory in the Republic of Kazakhstan.
5. Conclusions
Thus, based on the data on the local distribution of metal impurities in the raw selenium, the composition of the vapor phase, experimentally determined, the potential composition of the vapor–droplet suspension has been identified, which leads to a reduction in the quality of the condensate element in terms of impurity content. These impurities have a low partial vapor pressure relative to selenium, as well as metals with vapor pressure values comparable to selenium.
Due to selenium’s high aggressiveness towards structural materials and based on economic feasibility, the use of low-alloy steel of ordinary quality for the technical design of the distillation process, instead of alloyed steel, has been thermodynamically justified.
A method has been developed, and a device to refine selenium has been manufactured, which differs from existing ones by the inertial purification of the vapor phase from droplet suspension. The development is protected by a security document [31]. As a result of technological testing and the inertial method for cleaning selenium vapor from droplet suspension, the amount of impurities in the refined selenium—iron, copper, lead, and aluminum—was reduced by an order of magnitude, while the removal of difficult-to-remove selenium impurities—mercury, tellurium, arsenic, and sulfur—was not significant.
Based on the completed developments, an industrial prototype of such equipment has been designed and implemented in production.
Author Contributions
Conceptualization, V.V., S.T. and A.N.; Data curation, S.T., B.M., O.K., X.L. and B.S.; Formal analysis, A.N. and X.L.; Funding acquisition, S.T., A.N., O.K. and X.L.; Investigation, S.T., B.K., O.K. and X.L.; Methodology, B.K., B.M. and O.K.; Project administration, S.T.; Resources, V.V., B.K., B.M. and O.K.; Visualization, B.K.; Writing—original draft, V.V., S.T., B.K. and X.L.; Writing—review and editing, A.N., B.M., O.K. and B.S. All authors have read and agreed to the published version of the manuscript.
Funding
This research was funded by the Committee of Science of the Ministry of Science and Higher Education of the Republic of Kazakhstan (Grant AP 19676703).
Data Availability Statement
The data presented in this study are available in the article.
Conflicts of Interest
The authors declare no conflicts of interest.
References
- Varaksin, A.Y. Two-Phase Flows with Solid Particles, Droplets, and Bubbles: Problems and Research Results (Review). High Temp. 2020, 58, 595–614. [Google Scholar] [CrossRef]
- Volokitina, I.E.; Volokitin, A.V.; Latypova, M.A.; Chigirinsky, V.V.; Kolesnikov, A.S. Effect of Controlled Rolling on the Structural and Phase Transformations. Prog. Phys. Met. 2023, 24, 132–156. [Google Scholar] [CrossRef]
- Kolesnikov, A.S.; Sapargaliyeva, B.O.; Bychkov, A.Y.; Alferyeva, Y.O.; Syrlybekkyzy, S.; Altybaeva, Z.K.; Nurshakhanova, L.K.; Seidaliyeva, L.K.; Suleimenova, B.S.; Zhidebayeva, A.E.; et al. Thermodynamic modeling of the formation of the main minerals of cement clinker and zinc fumes in the processing of toxic technogenic waste of the metallurgical industry. Rasayan J. Chem. 2022, 15, 2181–2187. [Google Scholar] [CrossRef]
- Volokitina, I.; Bychkov, A.; Volokitin, A.; Kolesnikov, A. Natural Aging of Aluminum Alloy 2024 After Severe Plastic Deformation. Metallogr. Microstruct. Anal. 2023, 12, 564–566. [Google Scholar] [CrossRef]
- Khudyakova, T.M.; Kolesnikova, O.G.; Zhanikulov, N.N.; Ashirbaev, H.A.; Kolesnikova, V.A. Low-Basicity Cement, Problems and Advantages of its Utilization. Refract. Ind. Ceram. 2021, 62, 369–374. [Google Scholar] [CrossRef]
- Donayev, A.; Kolesnikov, A.; Shapalov, S.; Sapargaliyeva, B.; Ivakhniyuk, G. Studies of waste from the mining and metallurgical industry, with the determination of its impact on the life of the population. News Natl. Acad. Sci. Repub. Kazakhstan Ser. Geol. Tech. Sci. 2022, 454, 55–68. [Google Scholar] [CrossRef]
- Nadirov, K.S.; Zhantasov, M.K.; Bimbetova, G.Z.; Sadyrbayeva, A.S.; Orynbasarov, A.K.; Sakybayev, B.A. The study of the gossypol resin impact on adhesive properties of the intermediate layer of the pipeline three-layer rust protection coating. Inter. J. Adhes. Adhesiv. 2017, 78, 195–199. [Google Scholar] [CrossRef]
- Zhantasov, M.K.; Bimbetova, G.Z.; Sadyrbayeva, A.S.; Orynbasarov, A.K.; Kutzhanova, A.N.; Turemuratov, R.S.; Botabaev, N.E.; Zhantasova, D. Examination of optimal parameters of oxy-ethylation of fatty acids with a view to obtaining demulsifiers for deliquefaction in the system of skimming and treatment of oil: A method to obtain demulsifier from fatty acids. Chem. Today 2016, 34, 72–77. [Google Scholar]
- Zhangabay, N.; Sapargaliyeva, B.; Suleimenov, U.; Abshenov, K.; Utelbayeva, A.; Baibolov, K.; Fediuk, R.; Arinova, D.; Duissenbekov, B.; Kolesnikov, A.; et al. Analysis of Stress-Strain State for a Cylindrical Tank Wall Defected Zone. Materials 2022, 15, 5732. [Google Scholar] [CrossRef] [PubMed]
- Zhangabay, N.; Baidilla, I.; Tagybayev, A.; Ibraimbayeva, G.; Abshenov, K.; Nsanbayev, B.; Anarbayev, Y.; Kozlov, P. Thermophysical indicators of elaborated sandwich cladding constructions with heat-reflective coverings and air gaps. Case Stud. Constr. Mater. 2023, 18, e02161. [Google Scholar] [CrossRef]
- Golubev, V.G.; Filin, A.E.; Agabekova, A.B.; Taimasov, B.T.; Janpaizova, V.M.; Kenzhibayeva, G.S.; Suigenbayeva, A.Z. Mathematical description of the process of film condensation of vapors from steam-gas mixtures. Rasayan J. Chem. 2022, 15, 1905–1915. [Google Scholar] [CrossRef]
- Legros, J.C.; Lutoshkina, O.; Piskunov, M. Vaporization of water droplets with non-metallic inclusions of different sizes in a high-temperature gas. Int. J. Therm. Sci. 2018, 127, 360–372. [Google Scholar] [CrossRef]
- Kuznetsov, G.V.; Strizhak, P.A.; Shlegel, N.E. Interaction of Water ad Suspension Droplets during Their Collisions in a Gas Medium. Theor. Found. Chem. Eng. 2019, 53, 769–780. [Google Scholar] [CrossRef]
- Majhy, B.; Sen, A.K. Evaporation-induced transport of a pure aqueous droplet by an aqueous mixture droplet. Phys. Fluids 2020, 32, 032003. [Google Scholar] [CrossRef]
- Wang, Z.; Orejon, D.; Takata, Y.; Sefiane, K. Wetting and evaporation of multi-component droplets. Phys. Rep. 2022, 960, 1–37. [Google Scholar] [CrossRef]
- Miliauskas, G.; Puida, E.; Poškas, R.; Ragaišis, V.; Paukštaitis, L.; Jouhara, H.; Mingilaitẻ, L. Experimental investigations of water droplet transient phase changes in flue gas flow in the rage of temperatures characteristic of condensing economizer technologies. Energy 2022, 256, 124643. [Google Scholar] [CrossRef]
- Isakova, R.A.; Reznikov, A.A.; Spivak, M.M. Selenium refining. Alma-Ata Sci. In Distillation Processes of Selenium Extraction and Refining; Almaty Tengri Ltd.: Almaty, Kazakhstan, 2017. [Google Scholar]
- Khrapunov, V.E.; Kenzhaliev, B.K.; Isakova, R.A.; Volodin, V.N.; Chelokhsaev, L.S.; Trebukhov, S.A.; Sadvakasov, D.A. A Method of Refining Volatile Chemical Elements by Vacuum Distillation and an Apparatus for Its Implementation. Patent KZ No.12098, 15 October 2002. Available online: https://gosreestr.kazpatent.kz/Invention/Details?docNumber=133450 (accessed on 25 March 2025).
- Volodin, V.N.; Trebukhov, S.A. Distillation Processes of Selenium Extraction and Refining; Almaty Tengri Ltd.: Almaty, Kazakhstan, 2017; 222p. [Google Scholar] [CrossRef]
- Trebukhov, S.A.; Volodin, V.N.; Nitcenko, A.V.; Burabaeva, N.M.; Trebukhov, A.A. Integration of alloying metals of construction steels with liquid and vaporous selenium. Kompleks. Ispolz. Miner. Syra Complex Use Miner. Resour. 2017, 301, 16–21. Available online: https://kims-imio.kz/portfolio-item/%e2%84%962-2017/ (accessed on 31 March 2025).
- Trebukhov, S.A.; Kenzhaliyev, B.K.; Volodin, V.N.; Nitsenko, A.V.; Linnik, X.A.; Mishra, B. Liquid Selenium Granulation. Processes 2025, 13, 2094. [Google Scholar] [CrossRef]
- Goldfinger, P.; Jeunehomme, M. Mass spectrometric and knudsen-cell vaporization studies of group 2B–6B compounds. Trans. Faraday Soc. 1963, 59, 2851–2867. [Google Scholar] [CrossRef]
- Berkowitz, I.; Chupka, W.A. Equilibrium composition of selenium vapor the Termodinamics of Vaporication of HgSe, CdSe, SrSe. J. Chem. Phys. 1966, 45, 4289–4302. [Google Scholar] [CrossRef]
- Rao, Y.K. Composition of liquid-Saturated selenium vapor. Met. Trans. B 1983, 14, 308–311. [Google Scholar] [CrossRef]
- Ustyugov, G.P.; Vigdorovich, E.N.; Kudryavtsev, A.A. Molecular composition of steam in the tellurium–selenium system. News USSR Acad. Sci. Inorg. Mater. 1968, 4, 1796–1797. [Google Scholar]
- Zobac, O.; Novak, D.; Pavlu, J.; Friak, M.; Kroupa, A. Thermodynamic study of binary phase diagram iron-selenium. Calphad 2025, 88, 102774. [Google Scholar] [CrossRef]
- Kireev, V.A. Methods of practical calculations in thermodynamics of chemical reactions. Moscow Khimiya. In Distillation Processes of Selenium Extraction and Refining; Almaty Tengri Ltd.: Almaty, Kazakhstan, 2017. [Google Scholar]
- Lyakishev, N.P. Diagrams of the State of Double Metal Systems: Handbook; Mechanical Engineering: Moscow, Russia, 1997; Volume 2, p. 1024. Available online: https://f.eruditor.link/file/4033970/ (accessed on 27 March 2025).
- Lyakishev, N.P. Diagrams of the State of Double Metal Systems: Handbook; Mashinostroenie: Moscow, Russia, 2000; Volume 3, p. 448. Available online: https://h.twirpx.link/file/4033972/ (accessed on 10 March 2025).
- Pankratova, O.Y.; Undusk, E.P.; Vladimirova, V.A. and others. Thermochemistry of titanium selenides of variable composition TiSe1,5–2,0. J. Inorg. Chem. 1991, 36, 1249–1253. [Google Scholar]
- Kenzhaliev, B.K.; Volodin, V.N.; Trebukhov, S.A.; Ospanov, E.A.; Shakhalov, A.A. A Method for Refining Substandard Selenium by Vacuum Distillation and an Apparatus for Its Implementation. Patent KZ No. 37275, Application No. 2023/0906.1 Dated 27 December 2023, Published on 11 April 2025. Available online: https://gosreestr.kazpatent.kz/Invention/Details?docNumber=388600 (accessed on 28 April 2025).
- Goncharuk, L.V.; Lukashenko, G.M. Thermodynamic properties of chromium selenide Cr2Se3. J. Phys. Chem. 1986, 60, 1810–1811. [Google Scholar]
- Zha, G.; Wang, Y.; Cheng, M.; Huang, D.; Jiang, W.; Xu, B.; Yang, B. Purification of crude selenium by vacuum distillation and analysis. J. Mater. Res. Technol. 2020, 9, 2926–2933. [Google Scholar] [CrossRef]
- Makarychev, Y.B. Vapor–Gas Deposition of Polymer Coatings on Metals from Azeotropic Solutions of Organosilanes. Surfaces 2023, 6, 291–303. [Google Scholar] [CrossRef]
- Zhang, D. Significant Progress of Initiated Chemical Vapor Deposition in Manufacturing Soft Non-spherical Nanoparticles: Upgrading to the Condensed Droplet Polymerization Approach and Key Technological Aspects. ChemEngineering 2024, 8, 2. [Google Scholar] [CrossRef]
- Gubaidullin, D.A.; Gubaidullina, D.D.; Fedorov, Y.V. Mathematical Modeling of the Wave Dynamics of an Encapsulated Perfluorocarbon Droplet in a Viscoelastic Liquid. Mathematics 2023, 11, 1083. [Google Scholar] [CrossRef]
- Najafi, L.; Oropesa-Nuñez, R.; Bellani, S.; Martín-García, B.; Pasquale, L.; Serri, M.; Drago, F.; Luxa, J.; Sofer, Z.; Sedmidubský, D.; et al. Topochemical Transformation of Two-Dimensional VSe2 into Metallic Nonlayered VO2 for Water Splitting Reactions in Acidic and Alkaline Media. ACS Nano 2022, 16, 351–367. [Google Scholar] [CrossRef] [PubMed]
- Papavasileiou, A.V.; Antonatos, N.; Luxa, J.; Děkanovský, L.; Ashtiani, S.; Fomekong, R.L.; Sofer, Z. Two-dimensional VSe2 nanoflakes as a promising sensing electrocatalyst for nitrobenzene determination in water samples. Electrochim. Acta 2024, 475, 143653. [Google Scholar] [CrossRef]
- Song, D.; Zhou, Y.; Zhang, M.; He, X.; Li, X. Structural and Transport Properties of 1T-VSe2 Single Crystal Under High Pressures. Front. Mater. 2021, 8, 710849. [Google Scholar] [CrossRef]
- Yoon, H.; Hong, S. Highly improved photocurrent of a flexible MoS2 photodetector via a backside Al metal mirror and its in- and outward folding states. RSC Adv. 2024, 14, 34979–34984. [Google Scholar] [CrossRef] [PubMed]
- GOST 1050-88; Carbon Structural Quality Steel Gauged Bars with Special Surface Finish. General Specifications. Standartinform: Moscow, Russia, 1989. Available online: https://online.zakon.kz/Document/?doc_id=30116621 (accessed on 14 April 2025).
- GOST 10298-2018; Technical Selenium. Specifications. Standartinform: Moscow, Russia, 2018. Available online: https://online.zakon.kz/Document/?doc_id=38422958 (accessed on 14 April 2025).
Disclaimer/Publisher’s Note: The statements, opinions and data contained in all publications are solely those of the individual author(s) and contributor(s) and not of MDPI and/or the editor(s). MDPI and/or the editor(s) disclaim responsibility for any injury to people or property resulting from any ideas, methods, instructions or products referred to in the content. |
© 2025 by the authors. Licensee MDPI, Basel, Switzerland. This article is an open access article distributed under the terms and conditions of the Creative Commons Attribution (CC BY) license (https://creativecommons.org/licenses/by/4.0/).













