Integrated CFD and Experimental Analysis of Coke Oxidation in FCC Catalyst Regeneration Under O2/N2 and O2/CO2
Abstract
1. Introduction
2. Materials and Methods
2.1. Characterization Techniques
- Elemental analysis (EA): EA was used to determine the elemental content of the catalysts, including their C, N, H, and S content ratios.
- X-ray fluorescence (XRF): XRF analysis was used to investigate the metallic and nonmetallic elements in the catalysts. Several key catalyst components, such as aluminum oxide (Al2O3), silicon dioxide (SiO2), iron (III) oxide (Fe2O3), nickel oxide (NiO), lanthanum oxide (La2O3), and cerium oxide (CeO2), were identified by this method.
- X-ray photoelectron spectroscopy (XPS): XPS was used to analyze the chemical states of the elements on the catalyst surface. By deconvoluting the C 1s profile, different types of carbon species bonded to various elements (such as H, N, O, and S) were identified.
2.2. Experimental Setup
- Sample preparation: FCC catalyst (2 g) was introduced into the reactor with no pre-treatment to record the full combustion profile considering various coke contents.
- Heating procedure: The sample was gradually heated up to 1000 °C at a rate of 10 °C/min.
- Gas flow: The experiments were conducted under O2/N2 or O2/10% CO2/N2 flow at the rate of 200 mL/min; the gas compositions used are listed in Table 2.
- Oxygen partial pressures: Different oxygen partial pressures were applied and balanced with the predominant gas (N2).
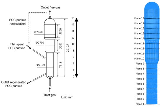
2.3. Computational Setup and Assumptions
3. Results and Discussion
3.1. Overview of the Combustion Process and Data Processing Approach
3.2. Material Characterization
3.3. Combustion Profiles
3.4. Kinetic Analysis
3.4.1. Coats–Redfern Linear Modeling
3.4.2. Nonlinear Modeling
3.4.3. Coke Oxidation Kinetics Under O2/CO2/N2
3.5. Computational Analysis
3.5.1. Model Validation Under D3 and 2nd Order Model
3.5.2. Coke Oxidation and Species Profile
4. Conclusions
- (1)
- Kinetic analysis confirmed the potential applicability of diffusion models, particularly the D3 model, which successfully integrated both regimes for analyzing coke oxidation kinetics on FCC catalysts and for considering the internal diffusion phenomena. The activation energies derived from these models were consistent with those from the literature, thereby confirming the reliability of the modeling strategies. Furthermore, adopting the flexible kinetic model and D3 model, the modified D3 model was introduced, which provided the best kinetic parameters for catalysts. Furthermore, all catalysts could be modeled by the D3 model due to the shrinking core model applied to the coke on the catalyst surface.
- (2)
- Our validation employed a comprehensive kinetic framework that included distinct coke oxidation steps and considered external diffusion and gasification reactions. Validation against industrial data confirmed its applicability using the D3 and second order model, since mass transfer was predominant in the industrial FCC regenerator.
- (3)
- The binary diffusion coefficient for the O2–N2 pair was higher than that for O2–CO2. This difference was attributed to the significance of external mass transfer, which caused oxygen to be consumed more rapidly under O2/N2 conditions because external diffusion was considered. Conversely, the slower diffusion of oxygen in a CO2-rich environment led to a marginally lower coke oxidation rate.
Supplementary Materials
Author Contributions
Funding
Data Availability Statement
Acknowledgments
Conflicts of Interest
Abbreviations
| CF | Coats–Redfern |
| EA | elemental analysis |
| FCC | fluid catalytic cracking |
| RSE | residual standard error |
| SFCC | spent fluid catalytic cracking |
| XPS | X-ray photoelectron spectroscopy |
| XRF | X-ray fluorescence |
References
- Güleç, F.; Meredith, W.; Snape, C.E. Progress in the CO2 capture technologies for fluid catalytic cracking (FCC) units: A review. Front. Energy Res. 2020, 8, 62. [Google Scholar] [CrossRef]
- Hu, Y.; Yan, J. Oxyfuel combustion for CO2 capture. In Handbook of Clean Energy Systems; Yan, J., Ed.; John Wiley & Sons: Chichester, UK, 2015; pp. 1–29. [Google Scholar] [CrossRef]
- Tang, Y.; Li, S.; Liu, C.; Qi, Y.; Yu, Y.; Zhang, K.; Su, B.; Yu, J.; Zhang, L.; Dai, B. Process simulation and techno-economic analysis on novel CO2 capture technologies for fluid catalytic cracking units. Fuel Process. Technol. 2023, 249, 107855. [Google Scholar] [CrossRef]
- Erdogan, A. A three-dimensional CFD study on multiphase flow in an FCC regenerator integrated with oxy-combustion. J. Appl. Fluid Mech. 2024, 17, 398–409. [Google Scholar] [CrossRef]
- de Mello, L.F.; Gobbo, R.; Moure, G.T.; Miracca, I. Oxy-combustion technology development for fluid catalytic crackers (FCC) — Large pilot scale demonstration. Energy Procedia 2013, 37, 7815–7824. [Google Scholar] [CrossRef]
- Zhang, H.; Shen, Z.; Gong, J.; Liu, H. Influences of regeneration atmospheres on structural transformation and renderability of fluidized catalytic cracking catalyst. Chin. J. Chem. Eng. 2023, 63, 71–80. [Google Scholar] [CrossRef]
- Zhou, J.; Zhao, J.; Zhang, J.; Zhang, T.; Ye, M.; Liu, Z. Regeneration of catalysts deactivated by coke deposition: A review. Chin. J. Catal. 2020, 41, 1048–1061. [Google Scholar] [CrossRef]
- Le Minh, C.L.; Jones, R.A.; Craven, I.E.; Brown, T.C. Temperature-programmed oxidation of coke deposited on cracking catalysts: Combustion mechanism dependence. Energy Fuels 1997, 11, 463–469. [Google Scholar] [CrossRef]
- Li, C.; Minh, C.L.; Brown, T.C. Kinetics of CO and CO2 evolution during the temperature-programmed oxidation of coke deposited on cracking catalysts. J. Catal. 1998, 178, 275–283. [Google Scholar] [CrossRef]
- Kanervo, J.M.; Krause, A.O.I.; Aittamaa, J.R.; Hagelberg, P.H.; Lipiäinen, K.J.T.; Eilos, I.H.; Hiltunen, J.S.; Niemi, V.M. Kinetics of the regeneration of a cracking catalyst derived from TPO measurements. Chem. Eng. Sci. 2001, 56, 1221–1227. [Google Scholar] [CrossRef]
- Shakor, Z.; Alasseel, A.; Al-Shafei, E. The structure of deposited coke on hydrocracking and reforming catalysts: Coke deactivation and kinetics. Can. J. Chem. Eng. 2024, 102, 2876–2891. [Google Scholar] [CrossRef]
- dos Santos, L.T.; Santos, F.M.; Silva, R.S.; Gomes, T.S.; Esteves, P.M.; Pimenta, R.D.M.; Menezes, S.M.C.; Chamberlain, O.R.; Lam, Y.L.; Pereira, M.M. Mechanistic insights of CO2-coke reaction during the regeneration step of the fluid cracking catalyst. Appl. Catal. A 2008, 336, 40–47. [Google Scholar] [CrossRef]
- Pereira, S.C.; Ribeiro, M.F.; Batalha, N.; Pereira, M.M. Catalyst regeneration using CO2 as reactant through reverse-Boudouard reaction with coke. Greenh. Gases Sci. Technol. 2017, 7, 843–851. [Google Scholar] [CrossRef]
- Li, S.; Qi, Y.; Tang, Y.; Jubaer, H.; Dai, B.; Zhou, S.; Liu, Q.; Chen, Z.; Zhu, Y.; Song, H.; et al. Non-destructive characterisation of coke deposit on FCC catalyst and its transient evolution upon air-firing and oxy-fuel regeneration. Chem. Eng. J. 2022, 430, 132998. [Google Scholar] [CrossRef]
- Tang, Y.; Li, S.; Qi, Y.; Yang, S.; Zhou, Q.; Zhang, R.; Qian, B.; Su, B.; Zhang, L.; Dai, B. Coke evolution during the air- and oxy-firing regeneration of a spent Ni/ZnO sulfur adsorbent. J. Environ. Chem. Eng. 2023, 11, 109455. [Google Scholar] [CrossRef]
- Zaidi, A.A.; Khan, A.; AlMohamadi, H.; Anjum, M.W.; Ali, I.; Naqvi, S.R.; Kokuryo, S.; Miyake, K.; Nishiyama, N. Catalytic pyrolysis of rice husk over defect-rich beta zeolites for biofuel production. Fuel 2023, 348, 128624. [Google Scholar] [CrossRef]
- Koga, N.; Vyazovkin, S.; Burnham, A.K.; Favergeon, L.; Muravyev, N.V.; Pérez-Maqueda, L.A.; Saggese, C.; Sánchez-Jiménez, P.E. ICTAC Kinetics Committee recommendations for analysis of thermal decomposition kinetics. Thermochim. Acta 2023, 719, 179384. [Google Scholar] [CrossRef]
- Yang, Y.; Lu, X.; Wang, Q. Investigation on the co-combustion of low calorific oil shale and its semi-coke by using thermogravimetric analysis. Energy Convers. Manag. 2017, 136, 99–107. [Google Scholar] [CrossRef]
- Amblard, B.; Singh, R.; Gbordzoe, E.; Raynal, L. CFD modeling of the coke combustion in an industrial FCC regenerator. Chem. Eng. Sci. 2017, 170, 731–742. [Google Scholar] [CrossRef]
- Chang, J.; Wang, G.; Lan, X.; Gao, J.; Zhang, K. Computational Investigation of a Turbulent Fluidized-bed FCC Regenerator. Ind. Eng. Chem. Res. 2013, 52, 4000–4010. [Google Scholar] [CrossRef]
- Tang, G.; Silaen, A.; Wu, B.; Fu, D.; Agnello-Dean, D.; Wilson, J.; Meng, Q.; Khanna, S.; Zhou, C.Q. Numerical study of a fluid catalytic cracking regenerator hydrodynamics. Powder Technol. 2017, 305, 662–672. [Google Scholar] [CrossRef]
- Tang, Y.; Liu, C.; Kuang, S.; Liu, Q.; Chen, Z.; Song, H.; Su, B.; Yu, J.; Zhang, L.; Dai, B. CFD modeling investigation of oxy-fuel combustion application in an industrial-scale FCC regenerator. J. Energy Inst. 2024, 117, 101796. [Google Scholar] [CrossRef]
- Oloruntoba, A.; Zhang, Y.; Hsu, C.S. State-of-the-art review of fluid catalytic cracking (FCC) catalyst regeneration intensification technologies. Energies 2022, 15, 2061. [Google Scholar] [CrossRef]
- Erdoğan, A.; Güleç, F. A CFD study on the start-up hydrodynamics of fluid catalytic cracking regenerator integrated with chemical looping combustion. Energy Sources A 2024, 46, 2941–2956. [Google Scholar] [CrossRef]
- Oloruntoba, A.; Zhang, Y.; Xiao, H. Study on effect of gas distributor in fluidized bed reactors by hydrodynamics-reaction-coupled simulations. Chem. Eng. Res. Des. 2022, 177, 431–447. [Google Scholar] [CrossRef]
- Yang, Z.; Zhang, Y.; Oloruntoba, A.; Yue, J. MP-PIC simulation of the effects of spent catalyst distribution and horizontal baffle in an industrial FCC regenerator. Part I: Effects on hydrodynamics. Chem. Eng. J. 2021, 412, 128634. [Google Scholar] [CrossRef]
- Zhong, H.; Chen, J.; Gao, F.; Zhang, J.; Zhu, Y.; Niu, B. 3D virtual full-loop CFD simulation of industrial two-stage FCC reaction–regeneration system. Int. J. Chem. React. Eng. 2022, 20, 1179–1191. [Google Scholar] [CrossRef]
- Li, S.; Jiang, Q.; Qi, Y.; Zhao, D.; Tang, Y.; Liu, Q.; Chen, Z.; Zhu, Y.; Dai, B.; Song, H.; et al. Influence of coke heterogeneity and the interaction between different coke species on the emission of toxic HCN and NOx from FCC spent catalyst regeneration. J. Hazard. Mater. 2022, 436, 129187. [Google Scholar] [CrossRef]
- Zou, J.H.; Zhou, Z.J.; Wang, F.C.; Zhang, W.; Dai, Z.H.; Liu, H.F.; Yu, Z.H. Modeling reaction kinetics of petroleum coke gasification with CO2. Chem. Eng. Process. Process Intensif. 2007, 46, 630–636. [Google Scholar] [CrossRef]
- Zhang, Y.; Sun, G.; Gao, S.; Xu, G. Regeneration kinetics of spent FCC catalyst via coke gasification in a micro fluidized bed. Procedia Eng. 2015, 102, 1758–1765. [Google Scholar] [CrossRef]
- Vyazovkin, S.; Burnham, A.K.; Criado, J.M.; Pérez-Maqueda, L.A.; Popescu, C.; Sbirrazzuoli, N. ICTAC Kinetics Committee recommendations for performing kinetic computations on thermal analysis data. Thermochim. Acta 2011, 520, 1–19. [Google Scholar] [CrossRef]
- Ebrahimi-Kahrizsangi, R.; Abbasi, M.H. Evaluation of reliability of Coats-Redfern method for kinetic analysis of non-isothermal TGA. Trans. Nonferrous Met. Soc. China 2008, 18, 217–221. [Google Scholar] [CrossRef]
- Muravyev, N.V.; Melnikov, I.N.; Monogarov, K.A.; Kuchurov, I.V.; Pivkina, A.N. The power of model-fitting kinetic analysis applied to complex thermal decomposition of explosives: Reconciling the kinetics of bicyclo-HMX thermolysis in solid state and solution. J. Therm. Anal. Calorim. 2022, 147, 3195–3206. [Google Scholar] [CrossRef]
- Cerqueira, H.S.; Sievers, C.; Joly, G.; Magnoux, P.; Lercher, J.A. Multitechnique characterization of coke produced during commercial resid FCC operation. Ind. Eng. Chem. Res. 2005, 44, 2069–2077. [Google Scholar] [CrossRef]
- Hano, T.; Nakashio, F.; Kusunoki, K. The burning rate of coke deposited on zeolite catalyst. J. Chem. Eng. Jpn. 1975, 8, 127–130. [Google Scholar] [CrossRef]
- Weisz, P.B.; Goodwin, R.B. Combustion of carbonaceous deposits within porous catalyst particles: II. Intrinsic burning rate. J. Catal. 1966, 6, 227–236. [Google Scholar] [CrossRef]










| Feed-Oil Properties | Refinery A (SFCC-2) | Refinery B (SFCC-4) |
|---|---|---|
| Density 20 °C (kg/m3) | 900.7 | 914.6 |
| Carbon residue (wt%) | 4.5 | 3.2 |
| Nitrogen content (μg/g) | 4100 | 3327 |
| Initial boiling point (IBP) (°C) | 257 | 234 |
| 10% (°C) | 388 | 340 |
| 30% (°C) | 500 | - |
| 50% (°C) | 550 | - |
| 70% (°C) | >557 | >510 |
| Distillate volume at 350 °C (%) | 8.0 | 11.8 |
| Distillate volume at 500 °C (%) | 27.0 | 72.6 |
| Cracking reactor reaction temperature (°C) | 520–550 | 520–550 |
| Cracking reactor outlet temperature (°C) | 490–525 | 490–525 |
| Cracking reactor pressure (MPa) | 0.2–0.3 | 0.2–0.3 |
| Catalyst | Oxygen Partial Pressure | CO2 Partial Pressure | N2 Partial Pressure | Heating Rate |
|---|---|---|---|---|
| SFCC-2 | 3%, 7%, 10% | 0, 10% | Balance | 10 °C/min |
| SFCC-4 | 3%, 7%, 10% | 0, 10% | Balance | 10 °C/min |
| Reaction Model | Code | f(α) | g(α) |
|---|---|---|---|
| First-order | F1 | (1 − α) | −ln(1 − α) |
| Second-order | F2 | (1 − α)2 | (1 − α) − 1 |
| Power law | P2 | 2α0.5 | α 0.5 |
| 1-D diffusion | D1 | 1/(2α) | α2 |
| 2-D diffusion | D2 | −ln(1 − α) | ((1 − α) ln(1 − α)) + α |
| 3-D diffusion | D3 | 3/2(1 − α)2/3 [1 − (1 − α)1/3]−1 | [1 − (1 − α)1/3]2 |
| Ginstling–Brounstein | D4 | 3(1 − (2/3) α) − (1 − α)2/3 | 2(1 − α) − 1 |
| Sample | C | N | H | S | Al2O3 | SiO2 | Fe2O3 | NiO | La2O3 | CeO2 | Others | H/C | N/C |
|---|---|---|---|---|---|---|---|---|---|---|---|---|---|
| SFCC-2 | 1.14 | 0.028 | 0.16 | 0.034 | 50.7 | 40.6 | 0.64 | 0.76 | 1.69 | 0.81 | 4.8 | 1.69 | 0.021 |
| SFCC-4 | 1.08 | 0.024 | 0.17 | 0.037 | 47.60 | 44.51 | 1.19 | 0.99 | 1.41 | 0.79 | 3.51 | 1.94 | 0.019 |
| Condition | O2/N2 Peak Temperature (°C) | O2/CO2 Peak Temperature (°C) |
|---|---|---|
| 3% O2 | 566 | 566 |
| 10% O2 | 541 | 532 |
| Condition | O2/N2 Peak Temperature (°C) | O2/CO2 Peak Temperature (°C) |
|---|---|---|
| 3% O2 | 604 | 614 |
| 10% O2 | 569 | 579 |
| O2 Partial Pressure | 3% | 7% | 10% | ||||||
|---|---|---|---|---|---|---|---|---|---|
| Model | Activation Energy (CF) | Pre-Exponential Factor (CF) | R2 | Activation Energy (CF) | Pre-Exponential Factor (CF) | R2 | Activation Energy (CF) | Pre-Exponential Factor (CF) | R2 |
| 1st order | 54.50 | 5.29 × 104 | 0.998 | 57.3 | 5.71 × 105 | 0.997 | 68.1 | 8.09 × 106 | 0.997 |
| 1.5th order | 60.10 | 9.79 × 105 | 0.992 | 64.1 | 2.14 × 106 | 0.985 | 88.5 | 3.80 × 108 | 0.981 |
| 2nd order | 66.20 | 3.24 × 106 | 0.979 | 71.85 | 9.37 × 106 | 0.962 | 112.14 | 3.20 × 108 | 0.933 |
| D1 | 103.44 | 1.49 × 108 | 0.992 | 105.94 | 2.39 × 108 | 0.992 | 102.12 | 3.53 × 108 | 0.934 |
| D2 | 108.8 | 2.06 × 108 | 0.995 | 112.02 | 3.74 × 108 | 0.996 | 112.3 | 1.24 × 108 | 0.959 |
| D3 | 115.2 | 1.50 × 108 | 0.998 | 119.5 | 3.36 × 108 | 0.998 | 128.3 | 5.80 × 109 | 0.985 |
| D4 | 111.68 | 7.20 × 107 | 0.996 | 114.3 | 1.30 × 108 | 0.998 | 117.4 | 7.02 × 108 | 0.969 |
| O2 Partial Pressure | 3% | 7% | 10% | ||||||
|---|---|---|---|---|---|---|---|---|---|
| Model | Activation Energy (CF) | Pre-Exponential Factor (CF) | R2 | Activation Energy (CF) | Pre-Exponential Factor (CF) | R2 | Activation Energy (CF) | Pre-Exponential Factor (CF) | R2 |
| 1st order | 63.05 | 1.42 × 106 | 0.979 | 52.71 | 4.34 × 105 | 0.977 | 55.46 | 7.67 × 105 | 0.969 |
| 1.5th order | 71.41 | 7.00 × 106 | 0.957 | 63.92 | 3.94 × 106 | 0.929 | 68.11 | 8.76 × 106 | 0.946 |
| 2nd order | 81.12 | 4.34 × 107 | 0.923 | 78.24 | 6.04 × 107 | 0.897 | 83.13 | 1.54 × 108 | 0.912 |
| D1 | 113.86 | 7.02 × 108 | 0.992 | 85.74 | 1.88 × 107 | 0.973 | 89.15 | 3.64 × 107 | 0.973 |
| D2 | 120.04 | 1.15 × 109 | 0.992 | 93.97 | 4.55 × 107 | 0.975 | 97.89 | 9.59 × 107 | 0.977 |
| D3 | 141.9 | 1.71 × 108 | 0.995 | 106.92 | 8.68 × 107 | 0.979 | 109.27 | 1.54 × 108 | 0.979 |
| D4 | 124.8 | 5.55 × 108 | 0.991 | 98.2 | 2.12 × 107 | 0.975 | 101.75 | 4.42 × 107 | 0.978 |
| Model | Activation Energy (Nonlinear) | Activation Energy (CF) |
|---|---|---|
| SFCC-2 | 116–166 | 115–128 |
| SFCC-4 | 140–150 | 107–141 |
| [35] | 109 | |
| [36] | 157 | |
| O2 Partial Pressure | 3% | 7% | 10% | |||
|---|---|---|---|---|---|---|
| Model | Activation Energy (KJ/mol) | Pre-Exponential Factor (min−1) | Activation Energy (KJ/mol) | Pre-Exponential Factor (min−1) | Activation Energy (KJ/mol) | Pre-Exponential Factor (min−1) |
| F1 | 58.35 | 3.49 | 61.58 | 6.23 | 71.88 | 87.36 |
| D3 | 110.20 | 3.92 × 102 | 116.62 | 1.16 × 104 | 133.62 | 9.03 × 104 |
| Modified D3 | 116.14 | 6.25 × 103 | 129.97 | 6.13 × 104 | 166.53 | 1.51 × 108 |
| O2 Partial Pressure | 3% | 7% | 10% | |||
|---|---|---|---|---|---|---|
| Model | Activation Energy (KJ/mol) | Pre-Exponential Factor (min−1) | Activation Energy (KJ/mol) | Pre-Exponential Factor (min−1) | Activation Energy (KJ/mol) | Pre-Exponential Factor (min−1) |
| F2 | 127.49 | 1.72 × 108 | 118.45 | 9.58 × 104 | 119.69 | 1.44 × 105 |
| D3 | 150.37 | 1.63 × 105 | 140.21 | 9.02 × 104 | 141.65 | 1.46 × 105 |
| Condition | Parameter | Estimate |
|---|---|---|
| O2/N2 | Ln A | 9.43 |
| Activation energy (J/mol) | 133.37 | |
| O2/CO2/N2 | Ln A | 8.33 |
| Activation energy (J/mol) | 130.20 |
| Condition | Parameter | Estimate |
|---|---|---|
| O2/N2 | Ln A | 16.02 |
| Activation energy (J/mol) | 180.67 | |
| O2/CO2/N2 | Ln A | 16.35 |
| Activation energy (J/mol) | 182.16 |
| Component | Air-Firing A | Air-Firing B | Industrial Data | Error A | Error B |
|---|---|---|---|---|---|
| H2O% | 5.3 | 5.5 | - | - | - |
| CO2% | 17.3 | 16.9 | 17.8 | 2.89 | 5.32 |
| O2% | 1.80 | 2.1 | 1.8 | 0 | 14.2 |
| C% | 0.363 | 0.368 | 0.39 | 7.44 | 5.98 |
| Dilute phase temperature (K) | 926 | 928 | 930 | 0.44 | 0.24 |
| Dense phase temperature (K) | 906 | 905 | 912 | 0.66 | 0.76 |
Disclaimer/Publisher’s Note: The statements, opinions and data contained in all publications are solely those of the individual author(s) and contributor(s) and not of MDPI and/or the editor(s). MDPI and/or the editor(s) disclaim responsibility for any injury to people or property resulting from any ideas, methods, instructions or products referred to in the content. |
© 2025 by the authors. Licensee MDPI, Basel, Switzerland. This article is an open access article distributed under the terms and conditions of the Creative Commons Attribution (CC BY) license (https://creativecommons.org/licenses/by/4.0/).
Share and Cite
Alsuwaidi, A.; Yang, S.; Appiagyei, A.B.; Salvilla, J.N.V.; Ahmad, N.; Song, H.; Liu, Q.; Ren, F.; Chen, Z.; Kuang, S.; et al. Integrated CFD and Experimental Analysis of Coke Oxidation in FCC Catalyst Regeneration Under O2/N2 and O2/CO2. Processes 2025, 13, 1718. https://doi.org/10.3390/pr13061718
Alsuwaidi A, Yang S, Appiagyei AB, Salvilla JNV, Ahmad N, Song H, Liu Q, Ren F, Chen Z, Kuang S, et al. Integrated CFD and Experimental Analysis of Coke Oxidation in FCC Catalyst Regeneration Under O2/N2 and O2/CO2. Processes. 2025; 13(6):1718. https://doi.org/10.3390/pr13061718
Chicago/Turabian StyleAlsuwaidi, Ahmad, Sasha Yang, Alfred Bekoe Appiagyei, John Nikko V. Salvilla, Nauman Ahmad, Haitao Song, Qianqian Liu, Fei Ren, Zhenyu Chen, Shibo Kuang, and et al. 2025. "Integrated CFD and Experimental Analysis of Coke Oxidation in FCC Catalyst Regeneration Under O2/N2 and O2/CO2" Processes 13, no. 6: 1718. https://doi.org/10.3390/pr13061718
APA StyleAlsuwaidi, A., Yang, S., Appiagyei, A. B., Salvilla, J. N. V., Ahmad, N., Song, H., Liu, Q., Ren, F., Chen, Z., Kuang, S., & Zhang, L. (2025). Integrated CFD and Experimental Analysis of Coke Oxidation in FCC Catalyst Regeneration Under O2/N2 and O2/CO2. Processes, 13(6), 1718. https://doi.org/10.3390/pr13061718

