Field-Effect Sensors Combined with the Scanned Light Pulse Technique: From Artificial Olfactory Images to Chemical Imaging Technologies
Abstract
1. Introduction
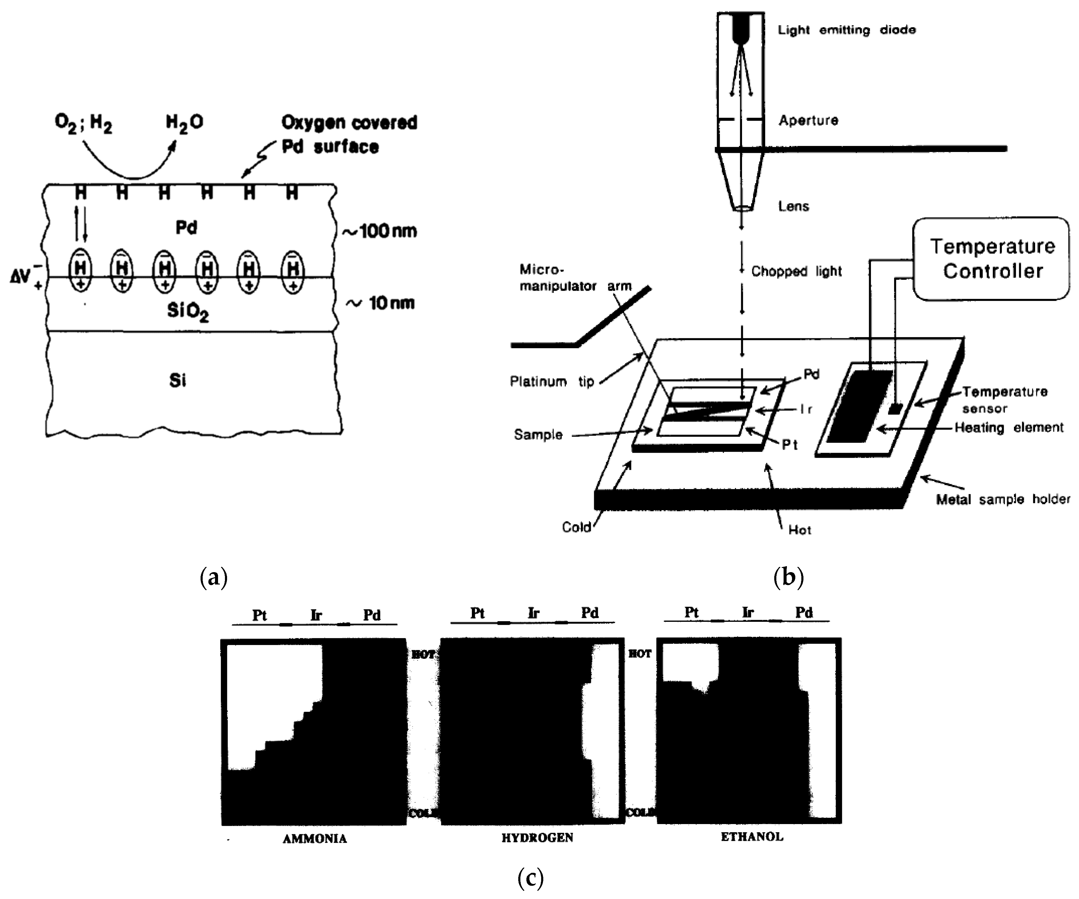
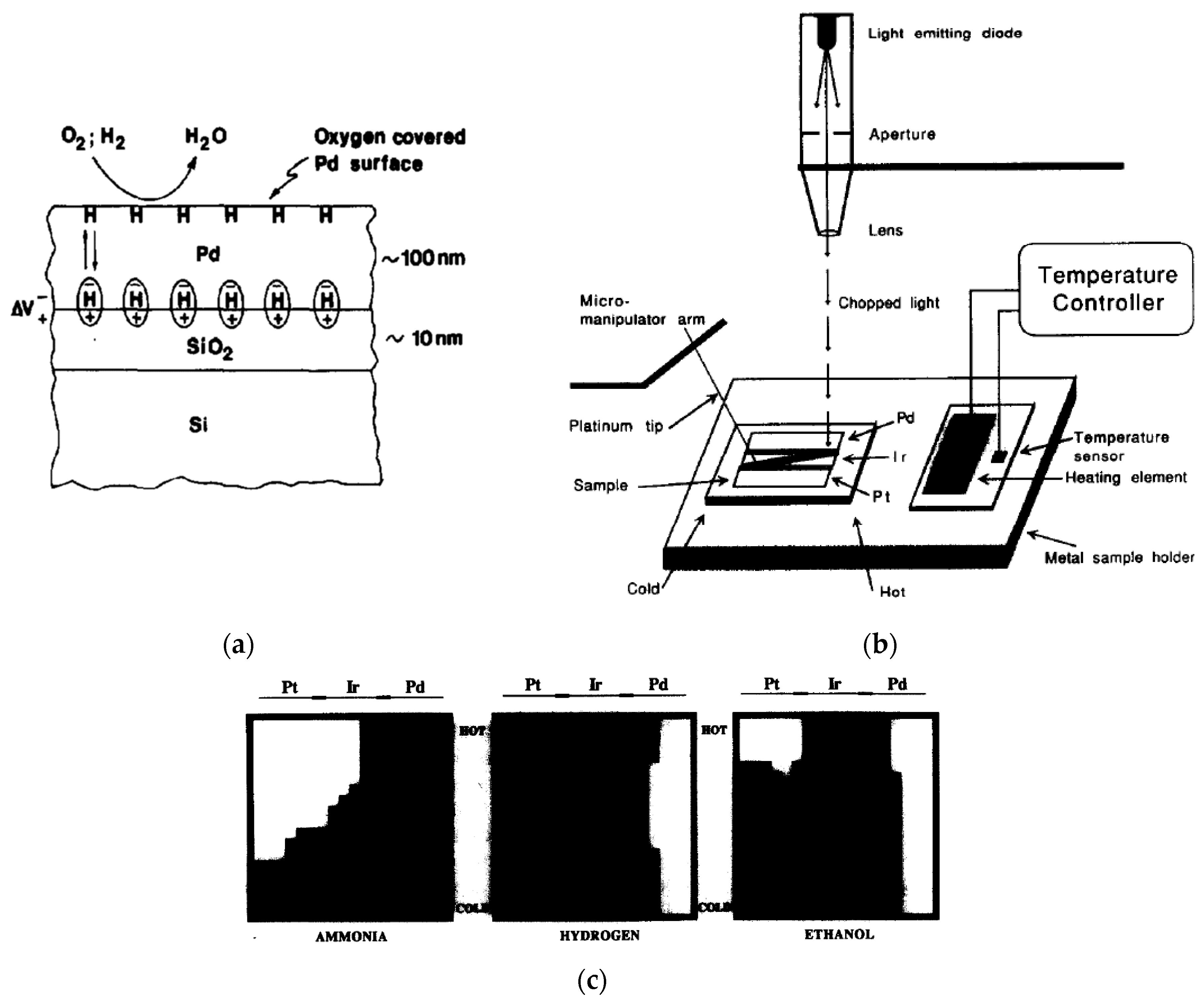
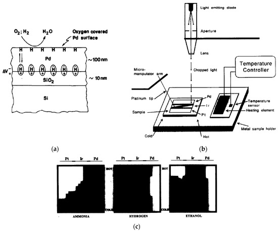
2. From SLPT to LAPS and Artificial Olfactory Images—How It Started
3. Further Development of Gas Sensors
4. Two-Dimensional Maps of Ion Concentration and Impedance
5. From Equilibrium to Non-Equilibrium Systems
6. Combination of Light-Addressing Technologies and Light-Addressed Actuation
7. Summary
Author Contributions
Funding
Conflicts of Interest
References
- Lundström, I.; Erlandsson, R.; Frykman, U.; Hedborg, E.; Spetz, A.; Sundgren, H.; Welin, S.; Winquist, F. Artificial ‘olfactory’ images from a chemical sensor using a light pulse technique. Nature 1991, 352, 47–50. [Google Scholar] [CrossRef]
- Winquist, F.; Sundgren, H.; Hedborg, E.; Spetz, A.; Lundström, I. Visual images of gas mixtures produced with field-effect structures. Sens. Actuators B 1992, 6, 157–161. [Google Scholar] [CrossRef]
- Lundström, I.; Svensson, C.; Spetz, A.; Sundgren, H.; Winquist, F. From hydrogen sensors to olfactory images—Twenty years with catalytic field-effect devices. Sens. Actuators B 1993, 13, 16–23. [Google Scholar] [CrossRef]
- Engström, O.; Carlsson, A. Scanned light pulse technique for the investigation of insulator–semiconductor interfaces. J. Appl. Phys. 1983, 54, 5245–5251. [Google Scholar] [CrossRef]
- Hafeman, D.G.; Parce, J.W.; McConnell, H.M. Light-addressable potentiometric sensor for biochemical systems. Science 1988, 240, 1182–1185. [Google Scholar] [CrossRef] [PubMed]
- Yoshinobu, T.; Miyamoto, K.; Werner, C.F.; Poghossian, A.; Wagner, T.; Schöning, M.J. Light-addressable potentiometric sensors for quantitative spatial imaging of chemical species. Annu. Rev. Anal. Chem. 2017, 10, 225–246. [Google Scholar] [CrossRef] [PubMed]
- Liu, Y.; Zhu, P.; Liu, S.; Chen, Y.; Liang, D.; Wang, M.; Du, L.; Wu, C. The Light-addressable potentiometric sensor and its application in biomedicine towards chemical and biological sensing. Chemosensors 2022, 10, 156. [Google Scholar] [CrossRef]
- Meng, Y.; Chen, F.; Wu, C.; Krause, S.; Wang, J.; Zhang, D.-W. Light-addressable electrochemical sensors toward spatially resolved biosensing and imaging applications. ACS Sens. 2022, 7, 1791–1807. [Google Scholar] [CrossRef]
- Luo, J.; Liu, S.; Chen, Y.; Tan, J.; Zhao, W.; Zhang, Y.; Li, G.; Du, Y.; Zheng, Y.; Li, X.; et al. Light addressable potentiometric sensors for biochemical imaging on microscale: A review on optimization of imaging speed and spatial resolution. ACS Omega 2023, 8, 42028–42044. [Google Scholar] [CrossRef]
- Ito, Y.; Morimoto, K.; Tsunoda, Y. Light-addressable potentiometric (LAP) gas sensor. Sens. Actuators B 1993, 13, 348–350. [Google Scholar] [CrossRef]
- Pecora, A.; Fortunato, G.; Carluccio, R.; Sacco, S. Hydrogenated amorphous silicon based light-addressable potentiometric sensor (LAPS) for hydrogen detection. J. Non-Cryst. 1993, 164–166, 793–796. [Google Scholar] [CrossRef]
- Kanai, Y.; Shimizu, M.; Uchida, H.; Nakahara, H.; Zhou, C.G.; Maekawa, H.; Katsube, T. Integrated taste sensor using surface photovoltage technique. Sens. Actuators B 1994, 20, 175–179. [Google Scholar] [CrossRef]
- Shimizu, M.; Kanai, Y.; Uchida, H.; Katsube, T. Integrated biosensor employing a surface photovoltage technique. Sens. Actuators B 1994, 20, 187–192. [Google Scholar] [CrossRef]
- Nakao, M.; Yoshinobu, T.; Iwasaki, H. Scanning-laser-beam semiconductor pH-imaging sensor. Sens. Actuators B 1994, 20, 119–123. [Google Scholar] [CrossRef]
- Suzurikawa, J.; Takahashi, H.; Kanzaki, R.; Nakao, M.; Takayama, Y.; Jimbo, Y. Light-addressable electrode with hydrogenated amorphous silicon and low-conductive passivation layer for stimulation of cultured neurons. Appl. Phys. Lett. 2007, 90, 093901. [Google Scholar] [CrossRef]
- Bucher, V.; Brunner, B.; Leibrock, C.; Schubert, M.; Nisch, W. Electrical properties of a light-addressable microelectrode chip with high electrode density for extracellular stimulation and recording of excitable cells. Biosens. Bioelectron. 2001, 16, 205–210. [Google Scholar] [CrossRef]
- Colicos, M.A.; Collins, B.E.; Sailor, M.J.; Goda, Y. Remodeling of synaptic actin induced by photoconductive stimulation. Cell 2001, 107, 605–616. [Google Scholar] [CrossRef] [PubMed][Green Version]
- Starovoytov, A.; Choi, J.; Seung, H.S. Light-directed electrical stimulation of neurons cultured on silicon wafers. J. Neurophysiol. 2005, 93, 1090–1098. [Google Scholar] [CrossRef] [PubMed]
- Krause, S.; Talabani, H.; Xu, M.; Moritz, W.; Griffiths, J. Scanning photo-induced impedance microscopy—An impedance based imaging technique. Electrochim. Acta 2002, 47, 2143–2148. [Google Scholar] [CrossRef]
- Hagiwara, T.; Takazawa, M.; Uchida, H.; Hasegawa, Y.; Yaji, T. An amperometric sensor for chemical imaging using photoconductive organic film. IEICE Trans. Electron. 2008, E91.C, 1863–1868. [Google Scholar] [CrossRef]
- Arai, H.; Goto, D.; Hasegawa, Y.; Uchida, H. Study on the two-dimensional chemical sensor using a photoconductive polymer film. IEEJ Trans. Sens. Micromachines 2013, 133, 290–296. [Google Scholar] [CrossRef]
- Choudhury, M.H.; Ciampi, S.; Yang, Y.; Tavallaie, R.; Zhu, Y.; Zarei, L.; Gonçalesa, V.R.; Gooding, J.J. Connecting electrodes with light: One wire, many electrodes. Chem. Sci. 2015, 6, 6769–6776. [Google Scholar] [CrossRef]
- Wu, F.; Zhou, B.; Wang, J.; Zhong, M.; Das, A.; Watkinson, M.; Hing, K.; Zhang, D.W.; Krause, S. Photoelectrochemical imaging system for the mapping of cell surface charges. Anal. Chem. 2019, 91, 5896–5903. [Google Scholar] [CrossRef]
- Bergveld, P. Development of an ion-sensitive solid-state device for neurophysiological measurements. IEEE Trans. Biomed. Eng. 1970, 17, 70–71. [Google Scholar] [CrossRef] [PubMed]
- Wagner, T.; Schöning, M.J. Light-addressable potentiometric sensors (LAPS): Recent trends and applications. In Electrochemical Sensor Analysis; Alegret, S., Merkoçi, A., Eds.; Elsevier: Amsterdam, The Netherlands, 2007; pp. 87–128. [Google Scholar]
- Liang, T.; Qiu, Y.; Gan, Y.; Sun, J.; Zhou, S.; Wan, H.; Wang, P. Recent developments of high-resolution chemical imaging systems based on light-addressable potentiometric sensors (LAPSs). Sensors 2019, 19, 4294. [Google Scholar] [CrossRef] [PubMed]
- Yoshinobu, T.; Schöning, M.J. Light-addressable potentiometric sensors for cell monitoring and biosensing. Curr. Opin. Electrochem. 2021, 28, 100727. [Google Scholar] [CrossRef]
- Lundström, I.; Shivaraman, M.S.; Svensson, C.M. A hydrogen-sensitive Pd-gate MOS transistor. J. Appl. Phys. 1975, 6, 3876–3881. [Google Scholar] [CrossRef]
- Sundgren, H.; Lundström, I.; Winquist, F.; Lukkari, I.; Carlsson, R.; Wold, S. Evaluation of multiple gas mixture with a simple MOSFET gas sensor array and pattern recognition. Sens. Actuators B 1990, 2, 115–123. [Google Scholar] [CrossRef]
- Sato, T.; Shimizu, M.; Uchida, H.; Katsube, T. Light-addressable suspended-gate gas sensor. Sens. Actuators B 1994, 20, 213–216. [Google Scholar] [CrossRef]
- Yamada, T.; Zhou, H.S.; Uchida, H.; Tomita, M.; Ueno, Y.; Honma, I.; Asai, K.; Katsube, T. Application of a cubic-like mesoporous silica film to a surface photovoltage gas sensing system. Microporous Mesoporous Mater. 2002, 54, 269–276. [Google Scholar] [CrossRef]
- Zhang, Q.; Wang, P.; Li, J.; Gao, X. Diagnosis of diabetes by image detection of breath using gas-sensitive LAPS. Biosens. Bioelectron. 2000, 15, 249–256. [Google Scholar] [CrossRef]
- Ermolenko, Y.; Yoshinobu, T.; Mourzina, Y.; Levichev, S.; Furuichi, K.; Vlasov, Y.; Schöning, M.J.; Iwasaki, H. Photocurable membranes for ion-selective light-addressable potentiometric sensor. Sens. Actuators B 2002, 85, 79–85. [Google Scholar] [CrossRef]
- Wu, Y.; Wang, P.; Ye, X.; Zhang, Q.; Li, R.; Yan, W.; Zheng, X. A novel microphysiometer based on MLAPS for drugs screening. Biosens. Bioelectron. 2001, 16, 277–286. [Google Scholar] [CrossRef]
- Bousse, L.; McReynolds, R.J.; Kirk, G.; Dawes, T.; Lam, P.; Bemiss, W.R.; Parce, J.W. Micromachined multichannel systems for the measurement of cellular metabolism. Sens. Actuators B 1994, 20, 145–150. [Google Scholar] [CrossRef]
- Nakao, M.; Inoue, S.; Oishi, R.; Yoshinobu, T.; Iwasaki, H. Observation of microorganism colonies using a scanning-laser-beam pH-sensing microscope. J. Ferment. Bioeng. 1995, 79, 163–166. [Google Scholar] [CrossRef]
- Miyamoto, K.; Sakakita, S.; Wagner, T.; Schöning, M.J.; Yoshinobu, T. Application of chemical imaging sensor to in-situ pH imaging in the vicinity of a corroding metal surface. Electrochim. Acta 2015, 183, 137–142. [Google Scholar] [CrossRef]
- Dantism, S.; Takenaga, S.; Wagner, T.; Wagner, P.; Schöning, M.J. Differential imaging of the metabolism of bacteria and eukaryotic cells based on light-addressable potentiometric sensors. Electrochim. Acta 2017, 246, 234–241. [Google Scholar] [CrossRef]
- Guo, Y.; Werner, C.F.; Handa, S.; Wang, M.; Ohshiro, T.; Mushiake, H.; Yoshinobu, T. Miniature multiplexed label-free pH probe in vivo. Biosens. Bioelectron. 2021, 174, 112870. [Google Scholar] [CrossRef] [PubMed]
- Wu, F.; Campos, I.; Zhang, D.W.; Krause, S. Biological imaging using light-addressable potentiometric sensors and scanning photo-induced impedance microscopy. Proc. R. Soc. A 2017, 473, 20170130. [Google Scholar] [CrossRef] [PubMed]
- Chen, L.; Zhou, Y.; Jiang, S.; Kunze, J.; Schmuki, P.; Krause, S. High resolution LAPS and SPIM. Electrochem. Commun. 2010, 12, 758–760. [Google Scholar] [CrossRef]
- Bard, A.J.; Fan, F.R.K.; Kwak, J.; Lev, O. Scanning electrochemical microscopy. Introduction and principles. Anal. Chem. 1989, 61, 132–138. [Google Scholar] [CrossRef]
- Thomas, C.A., Jr.; Springer, P.A.; Loeb, G.E.; Berwald-Netter, Y.; Okun, L.M. A miniature microelectrode array to monitor the bioelectric activity of cultured cells. Exp. Cell Res. 1972, 74, 61–66. [Google Scholar] [CrossRef] [PubMed]
- Spira, M.E.; Hai, A. Multi-electrode array technologies for neuroscience and cardiology. Nat. Nanotechnol. 2013, 8, 83–94. [Google Scholar] [CrossRef] [PubMed]
- Inoue, K.Y.; Matsudaira, M.; Kubo, R.; Nakano, M.; Yoshida, S.; Matsuzaki, S.; Suda, A.; Kunikata, R.; Kimura, T.; Tsurumi, R.; et al. LSI-based amperometric sensor for bio-imaging and multi-point biosensing. Lab Chip 2012, 12, 3481–3490. [Google Scholar] [CrossRef] [PubMed]
- Welden, R.; Schöning, M.J.; Wagner, P.H.; Wagner, T. Light-addressable electrodes for dynamic and flexible addressing of biological systems and electrochemical reactions. Sensors 2020, 20, 1680. [Google Scholar] [CrossRef] [PubMed]
- Sugihara, H.; Taketani, M.; Kamei, A.; Iwasaki, H. Two-Dimensional Sensor for Measuring Nerve Cell Activity and Measurement Device Using It. Japanese Patent 2,930,182, 3 August 1999. [Google Scholar]
- Yang, Y.; Ciampi, S.; Zhu, Y.; Gooding, J.J. Light-activated electrochemistry for the two-dimensional interrogation of electroactive regions on a monolithic surface with dramatically improved spatial resolution. J. Phys. Chem. C 2016, 120, 13032–13038. [Google Scholar] [CrossRef]
- Kashi, M.B.; Silva, S.M.; Yang, Y.; Gonçales, V.R.; Parker, S.G.; Barfidokht, A.; Ciampi, S.; Gooding, J.J. Light-activated electrochemistry without surface-bound redox species. Electrochim. Acta 2017, 251, 250–255. [Google Scholar] [CrossRef]
- Vogel, Y.B.; Gonçales, V.R.; Gooding, J.J.; Ciampi, S. Electrochemical microscopy based on spatial light modulators: A projection system to spatially address electrochemical reactions at semiconductors. J. Electrochem. Soc. 2018, 165, H3085–H3092. [Google Scholar] [CrossRef]
- Gerischer, H. Electrochemical behavior of semiconductors under illumination. J. Electrochem. Soc. 1966, 113, 1174–1182. [Google Scholar] [CrossRef]
- Shichijo, M.; Hasegawa, Y.; Uchida, H. Study of detection method for collagenase enzyme reaction using two dimensional electrochemical sensor. Electron. Commun. Jpn. 2020, 103, 90–96. [Google Scholar] [CrossRef]
- Kosugi, K.; Uchida, H. Study of LAAS sensitivity using back surface electric field. IEEJ Trans. Sens. Micromachines 2021, 141, 14–20. [Google Scholar] [CrossRef]
- Kosugi, K.; Hasegawa, Y.; Uchida, H. Light-addressable amperometric sensor with counter and working electrodes of the same material. IEEJ Trans. Electr. Electron. Eng. 2021, 16, 478–485. [Google Scholar] [CrossRef]
- Miyairi, A.; Hasegawa, Y.; Uchida, H. Measurement of acetylcholinesterase using a two-dimensional electrochemical sensor LAAS. Electron. Commun. Jpn. 2023, 106, e12425. [Google Scholar] [CrossRef]
- Zarei, L.; Tavallaie, R.; Choudhury, M.H.; Parker, S.G.; Bakthavathsalam, P.; Ciampi, S.; Gonçales, V.R.; Gooding, J.J. DNA hybridization detection on Si(100) surfaces using light-activated electrochemistry: A comparative study between bovine serum albumin and hexaethylene glycol as antifouling layers. Langmuir 2018, 34, 14817–14824. [Google Scholar] [CrossRef] [PubMed]
- Terrero Rodríguez, I.M.; Borrill, A.J.; Schaffer, K.J.; Hernandez, J.B.; O’Neil, G.D. Light-addressable electrochemical sensing with electrodeposited n-silicon/gold nanoparticle Schottky junctions. Anal. Chem. 2020, 92, 11444–11452. [Google Scholar] [CrossRef] [PubMed]
- Hernandez, J.B.; Epright, Z.D.; Terrero Rodríguez, I.M.; O’Neil, G.D. Electrodeposition parameters dramatically influence the morphology, stability, and performance of n-Si/Pt light-addressable electrochemical sensors. ChemElectroChem 2023, 10, e202300400. [Google Scholar] [CrossRef]
- Arthur, E.G.; Ali, H.; Hussain, A.; O’Neil, G.D. Square-wave voltammetry enables measurement of light-activated oxidations and reductions on n-type semiconductor/metal junction light-addressable electrochemical sensors. Anal. Chem. 2023, 95, 9219–9226. [Google Scholar] [CrossRef]
- Wang, J.; Yang, Z.; Chen, W.; Du, L.; Jiao, B.; Krause, S.; Wang, P.; Wei, Q.; Zhang, D.-W.; Wu, C. Modulated light-activated electrochemistry at silicon functionalized with metal-organic frameworks towards addressable DNA chips. Biosens. Bioelectron. 2019, 146, 111750. [Google Scholar] [CrossRef]
- Zhou, B.; Das, A.; Zhong, M.; Guo, Q.; Zhang, D.W.; Hing, K.A.; Sobrido, A.J.; Titirici, M.M.; Krause, S. Photoelectrochemical imaging system with high spatiotemporal resolution for visualizing dynamic cellular responses. Biosens. Bioelectron. 2021, 180, 113121. [Google Scholar] [CrossRef]
- Zhou, B.; Jiang, Y.; Guo, Q.; Das, A.; Sobrido, A.B.J.; Hing, K.A.; Zayats, A.V.; Krause, S. Photoelectrochemical detection of calcium ions based on hematite nanorod sensors. ACS Appl. Nano Mater. 2022, 5, 17087–17094. [Google Scholar] [CrossRef]
- Welden, R.; Komesu Nagamine, C.A.; Wagner, P.H.; Schöning, M.J.; Wagner, T. Photoelectrochemical enzymatic penicillin biosensor: A proof-of-concept experiment. Electrochem. Sci. Adv. 2021, 2, e2100131. [Google Scholar] [CrossRef]
- Jia, Y.; Li, F.; Jia, T.; Wang, Z. Meso-tetra(4-carboxyphenyl)porphine-enhanced DNA methylation sensing interface on a light-addressable potentiometric sensor. ACS Omega 2019, 4, 12567–12574. [Google Scholar] [CrossRef] [PubMed]
- Wagner, T.; Werner, C.F.; Miyamoto, K.; Schöning, M.J.; Yoshinobu, T. Development and characterisation of a compact light-addressable potentiometric sensor (LAPS) based on the digital light processing (DLP) technology for flexible chemical imaging. Sens. Actuators B 2012, 170, 34–39. [Google Scholar] [CrossRef]
- Miyamoto, K.; Sato, T.; Abe, M.; Wagner, T.; Schöning, M.J.; Yoshinobu, T. Light-addressable potentiometric sensor as a sensing element in plug-based microfluidic devices. Micromachines 2016, 7, 111. [Google Scholar] [CrossRef] [PubMed]
- Liang, T.; Gu, C.; Gan, Y.; Wu, Q.; He, C.; Tu, J.; Pan, Y.; Qiu, Y.; Kong, L.B.; Wan, H.; et al. Microfluidic chip system integrated with light addressable potentiometric sensor (LAPS) for real-time extracellular acidification detection. Sens. Actuators B 2019, 301, 127004. [Google Scholar] [CrossRef]
- Li, X.; Liu, S.; Tan, J.; Wu, C. Light-addressable potentiometric sensors in microfluidics. Front. Bioeng. Biotechnol. 2022, 10, 833481. [Google Scholar] [CrossRef]
- Welden, R.; Gottschalk, C.; Madarevic, I.; Van Bael, M.; Iken, H.; Schubert, J.; Schöning, M.J.; Wagner, P.H.; Wagner, T. Formation of controllable pH gradients inside microchannels by using light-addressable electrodes. Sens. Actuators B 2021, 346, 130422. [Google Scholar] [CrossRef]
- Welden, R.; Jablonski, M.; Wege, K.; Severins, R.; Keusgen, M.; Wege, C.; Wagner, P.H.; Wagner, T.; Schöning, M.J. Light-addressable actuator-sensor platform for monitoring and manipulation of pH gradients in microfluidics: A case study with the enzyme penicillinase. Biosensors 2021, 11, 171. [Google Scholar] [CrossRef]
- Breuer, L.; Pilas, J.; Guthmann, E.; Schöning, M.J.; Thoelen, R.; Wagner, T. Towards light-addressable flow control: Responsive hydrogels with incorporated graphene oxide as laser-driven actuator structures within microfluidic channels. Sens. Actuators B 2019, 288, 579–585. [Google Scholar] [CrossRef]
- Emiliani, V.; Entcheva, E.; Hedrich, R.; Hegemann, P.; Konrad, K.R.; Lüscher, C.; Mahn, M.; Pan, Z.-H.; Sims, R.R.; Vierock, J.; et al. Optogenetics for light control of biological systems. Nat. Rev. Methods Prim. 2022, 2, 55. [Google Scholar] [CrossRef]
- Zhong, K.; Khorshid, M.; Li, J.; Markey, K.; Wagner, P.H.; Song, K.; Van Cleuvenbergen, S.; Clays, K. Fabrication of optomicrofluidics for real-time bioassays based on hollow sphere colloidal photonic crystals with wettability patterns. J. Mater. Chem. C 2016, 4, 7853–7858. [Google Scholar] [CrossRef]
- Klaus, D.; Klawinski, D.; Amrehn, S.; Tiemann, M.; Wagner, T. Light-activated resistive ozone sensing at room temperature utilizing nanoporous In2O3 particles: Influence of particle size. Sens. Actuators B 2015, 217, 181–185. [Google Scholar] [CrossRef]
- Liu, G.L.; Kim, J.; Lu, Y.; Lee, L.P. Optofluidic control using photothermal nanoparticles. Nat. Mater. 2006, 5, 27–32. [Google Scholar] [CrossRef]
- Peng, H.-Y.; Yang, C.-M.; Chen, Y.-P.; Liu, H.-L.; Chen, T.-C.; Pijanowska, D.G.; Chu, P.-Y.; Hsieh, C.-H.; Wu, M.-H. An integrated actuating and sensing system for light-addressable potentiometric sensor (LAPS) and light-actuated AC electroosmosis (LACE) operation. Biomicrofluidics 2021, 15, 024109. [Google Scholar] [CrossRef]
- Zhou, B.; Das, A.; Kappers, M.J.; Oliver, R.A.; Humphreys, C.J.; Krause, S. InGaN as a substrate for AC photoelectrochemical imaging. Sensors 2019, 19, 4386. [Google Scholar] [CrossRef]
- Yang, C.-M.; Yang, Y.-C.; Chen, C.-H. Thin-film light-addressable potentiometric sensor with SnOx as a photosensitive semiconductor. Vacuum 2019, 168, 108809. [Google Scholar] [CrossRef]
- Chen, C.-H.; Yang, C.-M. A IGZO-based light-addressable potentiometric sensor on a PET susbtrate. In Proceedings of the 2019 IEEE International Conference on Flexible and Printable Sensors and Systems (FLEPS), Glasgow, UK, 8–10 July 2019. [Google Scholar] [CrossRef]
- Chen, C.-H.; Akuli, N.; Lu, Y.-J.; Yang, C.-M. Laser illumination adjustments for signal-to-noise ratio and spatial resolution enhancement in static 2d chemical images of NbOx/IGZO /ITO/glass light-addressable potentiometric sensors. Chemosensors 2021, 9, 313. [Google Scholar] [CrossRef]
- Li, Y.-C.; Jiao, B.; Zhang, Y.-J.; Wang, J.; Ren, W.; Zhang, D.-W.; Hou, X.; Wu, Z.-X. Bipolar light-addressable potentiometric sensor based on fullerene photosensitive layer. Adv. Mater. Technol. 2021, 6, 2001221. [Google Scholar] [CrossRef]
- Li, F.; Zhang, J.; Hu, S.; Jia, Y. Possibility of combining carbon dots and liquid exfoliated graphene as a carbon-based light addressable potentiometric sensor. ACS Sens. 2021, 6, 1218–1227. [Google Scholar] [CrossRef] [PubMed]
- Yang, C.-M.; Yang, Y.-C.; Jiang, B.-H.; Yen, J.-H.; Su, X.-M.; Chen, C.-P. An organic semiconductor obtained with a low-temperature process for light-addressable potentiometric sensors. Sens. Actuators B 2023, 381, 133449. [Google Scholar] [CrossRef]
- Li, G.; Wu, G.; Yan, R.; Li, X.; Liang, J.; Tan, M.; Zhou, Z. Carbon-based light addressable potential sensor based on nitrogen-doped graphene quantum dots for detection of low-density lipoprotein. Microchem. J. 2024, 196, 109556. [Google Scholar] [CrossRef]
- Wei, C.-K.; Peng, H.-Y.; Tsai, Y.-C.; Chen, T.-C.; Yang, C.-M. Fluorographene sensing membrane in a light-addressable potentiometric sensor. Ceram. Int. 2019, 45, 9074–9081. [Google Scholar] [CrossRef]
- Tan, J.; Liu, S.; Luo, J.; Li, H. Well-ordered polystyrene colloidal spheres for light addressable potentiometric sensor. Thin Solid Films 2020, 716, 138417. [Google Scholar] [CrossRef]
- Tan, J.; Liu, S.; Luo, J.; Li, H.; Chen, Y.; Du, Y.; Li, X. Honeycomb meshed working electrodes based on microsphere lithography for high-resolution chemical image sensor. Anal. Chim. Acta 2021, 1178, 338798. [Google Scholar] [CrossRef]
- Tan, J.; Liu, S.; Luo, J.; Chen, Y.; Zhao, W.; Li, H.; Li, G.; Li, X. Light addressable potentiometric sensor with well-ordered pyramidal pits-patterned silicon. Anal. Chim. Acta 2023, 1238, 340599. [Google Scholar] [CrossRef]
- Chen, D.; Hao, Z.; Li, X.; Liang, J.; Tong, X. Trench bottom optical isolation for suppressing lateral diffusion of photocarriers in LAPS. IEEE Sens. J. 2023, 23, 10538–10545. [Google Scholar] [CrossRef]
- Chen, Y.; Liu, S.; Luo, J.; Zhao, W.; Li, G.; Du, Y.; Tan, J.; Tan, Y.; Zhang, Y. Self-assembly crack metallic network applied on light-addressable potentiometric sensor for optimizing photoelectric conversion efficiency. J. Electroanal. Chem. 2023, 948, 117792. [Google Scholar] [CrossRef]
- Tian, Y.; Liang, T.; Zhu, P.; Chen, Y.; Chen, W.; Du, L.; Wu, C.; Wang, P. Label-free detection of E. coli O157:H7 DNA using light-addressable potentiometric sensors with highly oriented ZnO nanorod arrays. Sensors 2019, 19, 5473. [Google Scholar] [CrossRef]
- Zhang, W.; Liu, C.; Zou, X.; Zhang, H.; Xu, X. Micrometer-scale light-addressable potentiometric sensor on an optical fiber for biological glucose determination. Anal. Chem. 2020, 1123, 36–43. [Google Scholar] [CrossRef]
- Liang, J.; Huang, Q.; Wu, L.; Wang, L.; Sun, L.; Zhou, Z.; Li, G. Silicon-based field-effect glucose biosensor based on reduced graphene oxide-carboxymethyl chitosan-platinum nanocomposite material modified LAPS. Sens. Actuators A 2024, 366, 114937. [Google Scholar] [CrossRef]
- Tian, Y.; Liu, S.; Liu, Y.; Chen, Y.; Noureen, B.; Du, L.; Jing, D.; Wu, C. Triple-helix molecular switch-based light-addressable potentiometric aptasensor for the multi-channel highly sensitive label-free detection and spatiotemporal imaging of okadaic acid. Sens. Actuators B 2023, 389, 133892. [Google Scholar] [CrossRef]
- Wang, J.; Chen, F.; Yang, Q.; Meng, Y.; Jiang, M.; Wang, Y.; Zhang, D.-W.; Du, L. Light-addressable electrochemical immunoassay for multiplexed detection of antigen. Sens. Actuators B 2023, 374, 132821. [Google Scholar] [CrossRef]
- Li, F.; Hu, S.; Zhang, R.; Gu, Y.; Li, Y.; Jia, Y. Porous graphene oxide enhanced aptamer specific circulating-tumor-cell sensing interface on light addressable potentiometric sensor: Clinical application and simulation. ACS Appl. Mater. Interfaces 2019, 11, 8704–8709. [Google Scholar] [CrossRef] [PubMed]
- Li, G.; Li, W.; Li, S.; Shi, X.; Liang, J.; Lai, J.; Zhou, Z. A novel aptasensor based on light-addressable potentiometric sensor for the determination of alpha-fetoprotein. Biochem. Eng. J. 2020, 164, 107780. [Google Scholar] [CrossRef]
- Liang, J.; Shi, X.; Feng, H.; Chen, M.; Li, W.; Lai, J.; Hu, W.; Li, G. 1,5-anhydroglucitol biosensor based on light-addressable potentiometric sensor with RGO-CS-Fc/Au NPs nanohybrids. Bioelectrochemistry 2021, 142, 107938. [Google Scholar] [CrossRef] [PubMed]
- Li, G.; Wang, B.; Zhao, L.; Shi, X.; Wu, G.; Chen, W.; Sun, L.; Liang, J.; Zhou, Z. Label-free detection of glypican-3 using reduced graphene oxide/polyetherimide/gold nanoparticles enhanced aptamer specific sensing interface on light-addressable potentiometric sensor. Electrochim. Acta 2022, 426, 140808. [Google Scholar] [CrossRef]
- Li, G.; Li, S.; Huang, Q.; Li, X.; Zhang, Z.; Liang, J.; Zhou, Z. Rapid and specific detection of LDL based on light addressable potentiometric sensor decorated with reduced graphene oxide-polyaniline-hemin nanocomposites. Microchem. J. 2023, 194, 109314. [Google Scholar] [CrossRef]
- Jiang, N.; Liang, T.; Qin, C.; Yuan, Q.; Liu, M.; Zhuang, L.; Wang, P. A microphysiometric system based on LAPS for real-time monitoring of microbial metabolism. Chemosensors 2022, 10, 177. [Google Scholar] [CrossRef]
- Wang, J.; Tian, Y.; Chen, F.; Chen, W.; Du, L.; He, Z.; Wu, C.; Zhang, D.-W. Scanning electrochemical photometric sensors for label-free single-cell imaging and quantitative absorption analysis. Anal. Chem. 2020, 92, 9739–9744. [Google Scholar] [CrossRef]
- Jacques, R.; Zhou, B.; Marhuenda, E.; Gorecki, J.; Das, A.; Iskratsch, T.; Krause, S. Photoelectrochemical imaging of single cardiomyocytes and monitoring of their action potentials through contact force manipulation of organoids. Biosens. Bioelectron. 2023, 223, 115024. [Google Scholar] [CrossRef]
- Chen, F.; Guo, Q.; Yang, Q.; Meng, Y.; Jiang, M.; Wang, J.; Zhang, D.-W. Label-free imaging of cell apoptosis by a light-addressable electrochemical sensor. Anal. Chem. 2023, 95, 8898–8905. [Google Scholar] [CrossRef] [PubMed]
- Wang, J.; Chen, F.; Guo, Q.; Meng, Y.; Jiang, M.; Wu, C.; Zhuang, J.; Zhang, D.-W. Light-addressable square wave voltammetry (LASWV) based on a field-effect structure for electrochemical sensing and imaging. ACS Sens. 2021, 6, 1636–1642. [Google Scholar] [CrossRef] [PubMed]
- Shibano, S.; Kawata, Y.; Inami, W. Evaluation of pH measurement using electron-beam-induced current detection. Phys. Status Solidi A 2021, 218, 2100147. [Google Scholar] [CrossRef]
- Nii, K.; Inami, W.; Kawata, Y. High spatial resolution ion imaging by focused electron-beam excitation with nanometric thin sensor substrate. Sensors 2022, 22, 1112. [Google Scholar] [CrossRef]














| Year | Technology | Function | References | 
|---|---|---|---|
| 1983 | Scanned light pulse technique (SLPT) | Investigation of insulator–semiconductor interface | [4] | 
| 1988 | Light-addressable potentiometric sensor (LAPS) | Potentiometric sensing of an analyte at a specified location on the sensing surface | [5] | 
| 1991 | Artificial olfactory image | Generation of a gas-specific pattern to be classified and recognized by machine learning | [1] | 
| 1993 | LAPS-based gas sensor | Sensing of gases such as oxygen and hydrogen by a LAPS | [10,11] | 
| 1994 | Integrated surface photovoltage (SPV) sensor | Multianalyte sensing on a single sensor chip | [12,13] | 
| 1994 | Chemical imaging sensor | Visualization of the spatial distribution of pH or the concentration of a specific analyte on the sensing surface | [14] | 
| 2001 | Light-addressable electrode (LAE) | Delivery of an electric current to a specified location on the electrode surface, mainly used for stimulating neurons | [15,16,17,18] | 
| 2002 | Scanning photo-induced impedance microscopy (SPIM) | Visualization of the spatial distribution of impedance on the sensing surface | [19] | 
| 2008 | Light-addressable amperometric sensor (LAAS) | Amperometric sensing of an analyte at a specified location on the sensing surface | [20,21] | 
| 2015 | Light-activated electrochemistry (LAE) | Local activation of an electrochemical reaction at a specified location on the electrode surface | [22] | 
| 2019 | Photoelectrochemical imaging system (PEIS) | Hybrid of light-activated electrochemistry and LAPS | [23] | 
| Disclaimer/Publisher’s Note: The statements, opinions and data contained in all publications are solely those of the individual author(s) and contributor(s) and not of MDPI and/or the editor(s). MDPI and/or the editor(s) disclaim responsibility for any injury to people or property resulting from any ideas, methods, instructions or products referred to in the content. | 
© 2024 by the authors. Licensee MDPI, Basel, Switzerland. This article is an open access article distributed under the terms and conditions of the Creative Commons Attribution (CC BY) license (https://creativecommons.org/licenses/by/4.0/).
Share and Cite
Yoshinobu, T.; Miyamoto, K.-i.; Wagner, T.; Schöning, M.J. Field-Effect Sensors Combined with the Scanned Light Pulse Technique: From Artificial Olfactory Images to Chemical Imaging Technologies. Chemosensors 2024, 12, 20. https://doi.org/10.3390/chemosensors12020020
Yoshinobu T, Miyamoto K-i, Wagner T, Schöning MJ. Field-Effect Sensors Combined with the Scanned Light Pulse Technique: From Artificial Olfactory Images to Chemical Imaging Technologies. Chemosensors. 2024; 12(2):20. https://doi.org/10.3390/chemosensors12020020
Chicago/Turabian StyleYoshinobu, Tatsuo, Ko-ichiro Miyamoto, Torsten Wagner, and Michael J. Schöning. 2024. "Field-Effect Sensors Combined with the Scanned Light Pulse Technique: From Artificial Olfactory Images to Chemical Imaging Technologies" Chemosensors 12, no. 2: 20. https://doi.org/10.3390/chemosensors12020020
APA StyleYoshinobu, T., Miyamoto, K.-i., Wagner, T., & Schöning, M. J. (2024). Field-Effect Sensors Combined with the Scanned Light Pulse Technique: From Artificial Olfactory Images to Chemical Imaging Technologies. Chemosensors, 12(2), 20. https://doi.org/10.3390/chemosensors12020020
 
        




 
       