Location Proof Systems for Smart Internet of Things: Requirements, Taxonomy, and Comparative Analysis
Abstract
1. Introduction
- Development of a taxonomy based on different aspects of location proof systems through a framework that considered nature (reactive or proactive), localization technique employed, deployment model, lifespan (one-time use, persistent), scope (single location proof or travel path history, and so forth), and primitives used for providing location privacy.
- Discussion of the design challenges of location proof systems.
- Providing a comparative analysis of distributed location proof systems, and providing insight into their capabilities.
- Summarization of the possible attacks on location proof systems.
- Identification of the future trends for research in the context of location proof systems (such as the application of blockchain models for location provenance and location-based access control).
2. Application Areas of Location Proof Systems
- Location-Based Data Restricted Access [29]: For outsourced data in cloud storage, the user may be restricted by their cloud storage service provider (CSP) through service level agreements (SLAs) to accessing data within restrict geographic region. Data access can be restricted at the granularity of city, state, time zone, or political boundaries. Therefore, users accessing the data are required to ensure the CSP about their geolocation. Location proof system can help both users and CSPs regarding compliance with SLAs.
- Student Attendance-Based Reward System: Today, smart devices are cheap enough to be afforded by students. To improve students’ attendance in classes, universities can compel students to provide location proofs to ensure their physical presence in the classes using their smart devices. Students can then submit these proofs at the end of the semester to the teacher. Such attested attendance can be used in formative or summative assessment.
- Customer-Loyalty Reward System: In amusement parks, utility stores, café shops, etc., visitors may be offered special discounts based on proof of location, to provide, for example, evidence of the frequency of visits.
- Field Operations Monitoring: In certain situations, and countries, mobile operators delegate their post-paid customer’s bill delivery to third party courier services. These courier service companies have field workers that delivering the bills to customers. If they fail to deliver bills to customers in a timely manner, a mobile operator can face complaints and less of customers. Therefore, both the mobile company and courier service can make their field operations more reliable through the use of location proof systems, enforcing their employees to obtain location proofs to ensure that they have delivered the bills to the customer’s location. This can provide protection against false client claims (for example, they did not receive the bill or received it late). Similarly, pharmaceutical companies can utilize location proofs of the medical representatives and sales representatives to ensure that they are visiting hospitals and doctors.
- Location-Specific Team-Biased Audio Commentary of Sports [5]: Team-biased audio commentaries of a match can be produced and served based on the location of the user.
- Prevention against Stolen ATM Cards [30]: During a cash withdrawal from an ATM, it is possible to seek a match in the location of a customer’s smart device and the ATM before allowing a transaction. Such a system might enable an alert to be raised if there is not a match in locations, and this used to identify stolen ATM cards, thereby preventing financial loss.
- Supervising People of Limited Personal Freedom: Another application of the location proof system is monitoring people who have been given bail by the court, but who are not allowed to leave the city. Due to the current pandemic of COVID-19, LBS can be used by medical units or governments to monitor the location the infected patients who in turn can use such system to show that they were present at the specified location at a specific time using the location proof system.
3. Evolution Timeline of Location Proof Systems
4. Trust Evaluation and Requirements of the Location Provenance Chain
4.1. Trust Evaluation Criteria
- Spatio-Temporal Correlation: Time difference and the distance between two consecutive location proofs can aid in the determination of false proofs. Consider a case where a user is able to successfully obtain location proof LP1 for location A at time instance TA and LP2 for location B at time instance TB. Now (TB—TA) is short enough that it is practically impossible for the user to travel from A to B in this significantly short time.
- Trends Analysis: In trends analysis, the focus is on identifying the outliers where a user’s location proof time deviates from past patterns since all past location proofs are part of the provenance chain. Data can be extracted from the provenance chain, and outlier detection techniques based on machine learning can be applied to detect where user location proofs deviate from the past pattern.
4.2. Evaluation Criteria for Protocol Characteristics
- Proof Generation Time: Proof generation time is defined as the interval between the request generated by the user and the final proof generated by the system. It should be short enough (few seconds) for the system to be practically usable in real-time situations.
- Decentralized Decision Time: This is the time interval between the participant approval request by the user and the final approval message received by containing the selected location authority and witness to aid them in proof generation.
- Decision Block Size: The decision block size depends on the signature scheme used to provide non-repudiation by all entities involved in the decentralized decision. The size of the decision block will have a direct impact on overall storage capacity required by nodes in the administration layer.
- Location Proof Size: Since location proofs will be stored on the user’s mobile device, its size must be appropriate with respect to the storage capacity of smart devices.
- Verification Time: It should be short enough (realistically a few seconds for most use cases) for the system to be practically usable.
- Collusion Detection Rate: Given the potential for users to collude, is it important for a system to identify any cases of collusions. This can be ascertained through the use of simulated attacks.
- Vulnerability Matrix: A vulnerability matrix can be generated to mark the scenarios where the system was able to resist the attacks and to determine the gaps where false proof generation is possible.
4.3. Requirements
- Chronological Order: Order of the location proofs recorded in the provenance chain must match the sequence of locations visited by the user.
- Time-Stamping: In a distributed environment, clocks of each of the entities in the location proof system can be different. Since the clock of the user’s smart device cannot be trusted, time-stamping presents a real challenge for accurately recording the chronological order of location proofs of user visits.
- Tamper Evidence: The location provenance chain should be tamper evident. If any tampering has been made to the chain or an individual proof, it should be detectable.
- Validation: The provenance chain can be used to validate the location visit claims along with their chronological order.
- Non-Repudiation: In the scenario of repudiation of a location visit by the user, the location provenance chain must be able to provide a user’s signed location proof.
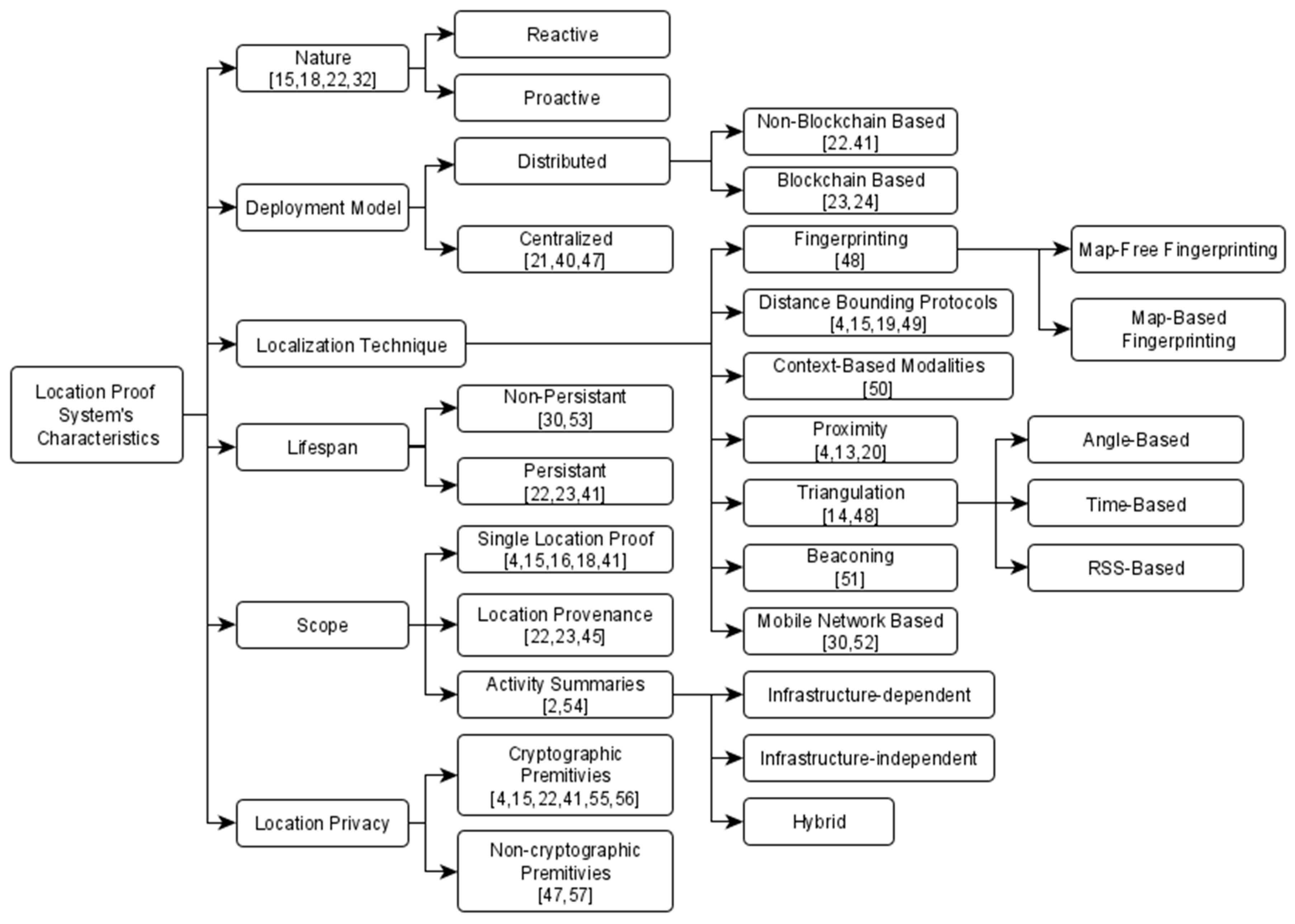
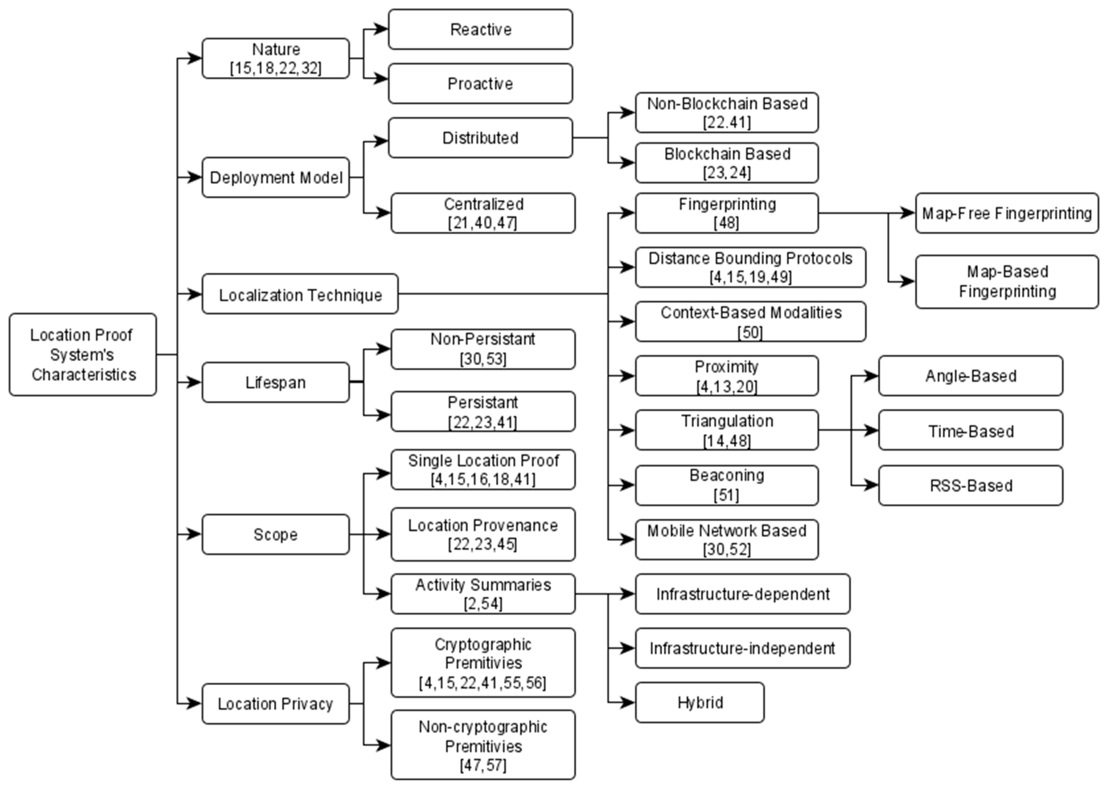
5. Taxonomy of Location Proof Systems
- Nature: Location proof systems can be reactive or proactive [15,18,22,32]. Reactive proofs are application dependent, requiring dedicated hardware, and they cannot be re-used for other applications. In contrast, proactive proofs are application agnostic and are reusable for multiple applications. Proactive location proofs are tied to the user, whereas reactive location proofs are tied to the application.
- Deployment Model: For the deployment perspective, initially, secure location proofs systems relied on a centralized server [21,40,47]. Subsequently, due to performance issues, deployment complexity, and dependency on trust third parties, focus has shifted to distributed models. Distributed location proof systems mitigate performance bottlenecks by eliminating the single centralized server and eradicate the need for trusted third parties [22,41]. Distributed location proof systems can be categorized into 2-party (prover, location authority (LA)) and witness-oriented protocols. Furthermore, witness-oriented location proof systems are subcategorized into 3-party (prover, LA, witness) and multi-party (prover, LA, multiple witnesses). However, the latest research is exploring a decentralized model of blockchain for location proof systems [23,24].
- Localization Technique: For location identification of the user’s device, localization and network/localization infrastructure-independent approaches have been employed [47]. Localization is a mechanism by which a device provides location relative to some other device, maps, or satellite, etc. For localization, multiple software-based or hardware-based techniques have been used, including:
- ▪
- Fingerprint [48]: The fingerprinting technique relies on the variations of characteristics of signals. Received signal strength (RSS) is the most used method for fingerprint-based localization. Beyond measuring the difference between signals in various positions, two other approaches commonly used include radio-map based fingerprint localization and map-free fingerprint localization. Techniques based on a radio map first establish a map of location points and signal strengths. Later on, to identify the location of the device, the pre-collected signal strengths against saving points are used as a reference, however, this technique is not reliable for secure localization. On the other hand, map-free fingerprint localization reduces the complexity of the radio map technique, but it is only applicable for non-static localization.
- ▪
- Distance-Bounding Protocols [4,15,19,49]: A distance-bounding protocol is a technique that allows the verifying party to attain an upper bound on the distance of the target. It works on single-bit challenge requiring a rapid single-bit response. Multiple rounds of this challenge response are performed, and delays of response are analyzed to determine the upper bound on distance. A distance-bounding protocol work by measuring round-trip time (RTT) or signal strength. However, physical presence detection using distance-bounding protocols involves a trade-off between performance and localization reliability.
- ▪
- Context-Based Modalities [50]: The underlying idea for context-based localization techniques is the measurement of contextual values (such as acoustic environment, ambient light and noise level, atmospheric gases, temperature, humidity and air pressure, Wi-Fi and Bluetooth signal strength) and the utilization of them as a proof of physical presence at the location. The verifier and user simultaneously capture such contextual data. Then, the user generates the proof of presence, including the contextual information, and the verifier validates the contextual measures to certify the physical presence of the user.
- ▪
- ▪
- Triangulation [14,48]: In triangulation, geometric mathematics are involved in calculating the user’s location. Triangulation can be angle based, time based, or RSS based. Angle-based triangulation measures the angle of the received signal and is dependent on directional antenna technology. In time-based triangulation, the travel speed of wireless signals serves as a reference, and the time difference is measured for communication between the beacon and the user’s device to determine the approximate location of the user. For time-based triangulation, two methods are commonly used: (i) time-of-arrival (ToA) and (ii) time-difference-of-arrival (TDoA). ToA measures the time difference of the packet’s transmission between the beacon and smart device. TDoA extends ToA by synchronizing the beacon’s time and evaluating their hyperbolic curves for potential locations. The intersection point of these curves is supposed to be a correction transmission, which is used to estimate the user’s location. In RSS-based triangulation, the received signal strength is used to infer the user’s location.
- ▪
- Beaconing [51]: In the beaconing approach, a location verifier beacons the specific information, and users in the vicinity are required to capture this information utilizing the built-in sensors of the smart device, e.g., Wi-Fi or Bluetooth.
- ▪
- Lifespan: Based on the lifespan of location proofs, they can be categorized into persistent and non-persistent types. Non-persistent location proofs [30,53] are one-time use only, e.g., to ensure that the cash withdrawal at an ATM is by the cardholder him/herself—the location of the smart device of user and ATM should be same. On the other hand, persistent location proofs are stored in permanent storage such as in a user’s mobile device [22], centralized server [41] or on a blockchain [23]. Persistent location proofs could be reused in the future to prove the claims of presence at a location at a time instance. For example, at the end of a semester, students can present the location proofs of attendance in classes to the teacher. Similarly, an engineer can present location proofs of his site visits at the end of the month.
- Scope: Location proof systems can support single location proof [4,15,16,18,41] activity summaries, distance covered, or travel history established by recording the chronological order of single location proofs in a chain [22,23,45]. Activity summaries [2,54] represent the user’s physical activity, such as jogging on a track covering a certain distance. Systems supporting activity summaries can rely on existing infrastructures like social network operators. Infrastructure-independent and hybrid schemes for generating activity summaries also exist in the literature.
- Location Privacy: Location privacy is an important aspect of location proof systems. It determines the granularity level of the location information to be exposed to the auditor. To preserve location privacy, cryptographic and non-cryptographic techniques are both used in existing schemes. Cryptographic [4,15,22,41,55,56] techniques include hashing, MACs, symmetric encryption, and digital signatures. Non-cryptographic [47,57] techniques can use the channel’s physical layer characteristics to generate signatures.
6. Comparative Analysis of Location Proof Systems
7. Design Challenges and Future Research
- Proof Generation Time [22]: Proof generation time is the interval between the request generated by the user and the final proof generated by the system. It should be short enough (a few seconds) for the system to be practically usable. However, there is a trade-off between security and proof generation time. Higher security guarantees, with the higher proof generation times, make the system impractical in real scenarios.
- Storage [41]: This concerns where proofs are stored. Storing all proofs in a central server will result in bottlenecks. In the distributed model, each location may have common storage for location proofs; nevertheless, in the verification process, it becomes difficult to access the proofs from distributed locations. Storing the location proofs over the user’s smart device is preferred if the user is trustable. However, the user has full control over their device and can manipulate the proofs, thus demanding proofs to be tamper evident.
- Proof Size [41]: Location proof size becomes a constraint for location proof systems keeping in view the storage capacity of smart devices and location authority, especially when location provenance is supported. Additionally, space requirements change when location privacy is enabled, supporting granularity levels for location information with respect to entities in the system.
- A Number of Entities/Witnesses Involved [15,22]: Distributed location proof systems and witness-oriented location protocols involve two or more entities in the proof protocol. A number of entities involved in the location proof protocol provide reliability of the physical presence of a user at a location. However, having more entities in the protocol provides reliability at the cost of proof generation time.
- Collusion Resistance [15,22]: When multiple entities are involved in the proof generation protocol, collusion attack possibility increases. Since all the entities are not trustable, the location proof system must be collusion resistant. In this context, trust evaluation mechanisms can mitigate the collusion problem to some extent.
- Security: For trustworthiness of the location proof system, the following attributes must be provided:
- ▪
- ▪
- ▪
- Chronological Order: Order of the location proofs recorded in the provenance chain must depict the same sequence as the locations visited by the user [15].
- Time stamping: In a distributed setup, clocks of the entities in the location proof system can be different, as the clock of the user’s smart device cannot be trusted. Therefore, time stamping is a real challenge to accurately record the chronological order of location proofs of user visits [41].
- Tamper Evidence: A location provenance chain should be tampering evident. If any tampering has been done to the chain or individual proof, it is detectable [15].
- Validation: The provenance chain can be used to validate the location visit claims along with their chronological order [15].
- Non-Repudiation: In the scenario of repudiation of a location visit by the user, the location provenance chain must be able to provide proof of the user’s presence [15].
Future of Location Proof Systems with Blockchain
8. Conclusions
Author Contributions
Funding
Acknowledgments
Conflicts of Interest
References
- Carbunar, B.; Potharaju, R. You unlocked the mt. everest badge on foursquare! Countering location fraud in geosocial networks. In Proceedings of the 2012 IEEE 9th International Conference on Mobile Ad-Hoc and Sensor Systems (MASS 2012), Las Vegas, NV, USA, 8–11 October 2012. [Google Scholar]
- Pham, A.; Huguenin, K.; Bilogrevic, I.; Dacosta, I.; Hubaux, J.-P. Securerun: Cheat-proof and private summaries for location-based activities. IEEE Trans. Mob. Comput. 2016, 15, 2109–2123. [Google Scholar] [CrossRef]
- O’Neill, P.H.; Ryan-Mosley, T.; Johnson, B. A Flood of Coronavirus Apps Are Tracking Us. Now It’s Time to Keep Track of Them. MIT Technol. Rev. 2020. Available online: https://www.technologyreview.com/2020/05/07/1000961/launching-mittr-covid-tracing-tracker/ (accessed on 15 September 2020).
- Gambs, S.; Killijian, M.O.; Roy, M.; Traoré, M. PROPS: A privacy-preserving location proof system. In Proceedings of the Reliable Distributed Systems (SRDS), 2014 IEEE 33rd International Symposium on Reliable Distributed Systems, Nara, Japan, 6–9 October 2014. [Google Scholar]
- Saroiu, S.; Wolman, A. Enabling New Mobile Applications with Location Proofs. In Proceedings of the 10th Workshop on Mobile Computing Systems and Applications, Santa Cruz, CA, USA, 23–24 February 2009. [Google Scholar]
- Mainetti, L.; Patrono, L.; Secco, A.; Sergi, I. An IoT-aware AAL system for elderly people. In Proceedings of the 2016 International Multidisciplinary Conference on Computer and Energy Science (SpliTech), Split, Croatia, 13–15 July 2016. [Google Scholar]
- Sun, Y.; Wang, N.; Guo, X.; Peng, Z. Understanding the acceptance of mobile health services: A comparison and integration of alternative models. J. Electron. Commer. Res. 2013, 14, 183. [Google Scholar]
- Yan, S.; Malaney, R.; Nevat, I.; Peters, G.W. Location verification systems for VANETs in Rician fading channels. IEEE Trans. Veh. Technol. 2016, 65, 5652–5664. [Google Scholar] [CrossRef]
- Fraifer, M.; Fernström, M. Smart car parking system prototype utilizing CCTV nodes: A proof of concept prototype of a novel approach towards IoT-concept based smart parking. In Proceedings of the 2016 IEEE 3rd World Forum on Internet of Things (WF-IoT), Reston, VA, USA, 12–14 December 2016. [Google Scholar]
- Agadakos, I.; Hallgren, P.; Damopoulos, D.; Sabelfeld, A.; Portokalidis, G. Location-enhanced Authentication Using the IoT: Because You Cannot Be in Two Places at Once. In Proceedings of the 32nd Annual Conference on Computer Security Applications, New York, NY, USA, 5–9 December 2016. [Google Scholar]
- Koh, J.Y.; Nevat, I.; Leong, D.; Wong, W.-C. Geo-spatial location spoofing detection for Internet of Things. IEEE Internet Things J. 2016, 3, 971–978. [Google Scholar] [CrossRef]
- Khan, R.; Haque, M.; Hasan, R. A secure location proof generation scheme for supply chain integrity preservation. In Proceedings of the 2013 IEEE International Conference on Technologies for Homeland Security, HST, Waltham, MA, USA, 12–14 November 2013. [Google Scholar]
- Muthukrishnan, K.; Lijding, M.; Havinga, P. Towards smart surroundings: Enabling techniques and technologies for localization. In Proceedings of the LoCA: International Symposium on Location- and Context-Awareness, Oberpfaffenhofen, Germany, 12–13 May 2005. [Google Scholar]
- Duckham, M.; Kulik, L. Location privacy and location-aware computing. Dyn. Mob. GIS Investig. Chang. Space Time 2006, 3, 35–51. [Google Scholar]
- Wang, X.; Pande, A.; Zhu, J.; Mohapatra, P. STAMP: Enabling privacy-preserving location proofs for mobile users. IEEE/ACM Trans. Netw. 2016, 24, 3276–3289. [Google Scholar] [CrossRef]
- Zhu, Z.; Cao, G. APPLAUS: A Privacy-Preserving Location Proof Updating System for location-based services. In Proceedings of the 2011 Proceedings IEEE INFOCOM, Shanghai, China, 10–15 April 2011. [Google Scholar]
- Lenders, V.; Koukoumidis, E.; Zhang, P.; Martonosi, M. Location-based trust for mobile user-generated content: Applications, challenges and implementations. In Proceedings of the 9th Workshop on Mobile Computing Systems and Applications, Napa Valley, CA, USA, 25–26 February 2008. [Google Scholar]
- Khan, R.; Zawoad, S.; Haque, M.M.; Hasan, R. Who, When, and Where? Location Proof Assertion for Mobile Devices. In Proceedings of the IFIP Annual Conference on Data and Applications Security and Privacy, Vienna, Austria, 14–16 July 2014. [Google Scholar]
- Singelee, D.; Preneel, B. Location verification using secure distance bounding protocols. In Proceedings of the IEEE International Conference on Mobile Adhoc and Sensor Systems Conference 2005, Washington, DC, USA, 7 November 2005. [Google Scholar]
- Waters, B.; Felten, E. Secure, Private Proofs of Location; Technical Report; Princeton University: Princeton, NJ, USA, December 2002. [Google Scholar]
- Luo, W.; Hengartner, U. Proving Your Location Without Giving Up Your Privacy. In Proceedings of the Eleventh Workshop on Mobile Computing Systems & Applications, Annapolis, MD, USA, 22–23 February 2010. [Google Scholar]
- Hasan, R.; Khan, R.; Zawoad, S.; Haque, M.M. WORAL: A witness oriented secure location provenance framework for mobile devices. IEEE Trans. Emerg. Top. Comput. 2016, 4, 128–141. [Google Scholar] [CrossRef]
- Brambilla, G.; Amoretti, M.; Zanichelli, F. Using Block Chain for Peer-to-Peer Proof-of-Location. arXiv 2016, arXiv:1607.00174. [Google Scholar]
- Amoretti, M.; Brambilla, G.; Medioli, F.; Zanichelli, F. Blockchain-Based Proof of Location. In Proceedings of the 2018 IEEE International Conference on Software Quality, Reliability and Security Companion (QRS-C), Lisbon, Portugal, 16–20 July 2018. [Google Scholar]
- Nasrulin, B.; Muzammal, M.; Qu, Q. A Robust Spatio-Temporal Verification Protocol for Blockchain. In International Conference on Web Information Systems Engineering; Springer: Cham, Switzerland, 2018. [Google Scholar]
- Neisse, R.; Steri, G.; Fovino, I.N. A Blockchain-based Approach for Data Accountability and Provenance Tracking. In Proceedings of the 12th International Conference on Availability, Reliability and Security, Reggio Calabria, Italy, 29 August–1 September 2017. [Google Scholar]
- Nosouhi, M.R.; Yu, S.; Zhou, W.; Grobler, M.; Keshtiar, H. Blockchain for secure location verification. J. Parallel Distrib. Comput. 2020, 136, 40–51. [Google Scholar] [CrossRef]
- Zafar, F.; Khan, A.; Suhail, S.; Ahmed, I.; Hameed, K.; Khan, H.M.; Jabeen, F.; Anjum, A. Trustworthy Data: A Survey, Taxonomy and future trends of Secure Provenance Schemes. J. Netw. Comput. Appl. 2017, 94, 50–68. [Google Scholar] [CrossRef]
- Zafar, F.; Khan, A.; Malik, S.U.R.; Ahmed, M.; Anjum, A.; Khan, M.I.; Javed, N.; Alam, M.; Jamil, F. A survey of cloud computing data integrity schemes: Design challenges, taxonomy and future trends. Comput. Secur. 2017, 65, 29–49. [Google Scholar] [CrossRef]
- Camenisch, J.; Ortiz-Yepes, D.A.; Preiss, F.-S. Strengthening authentication with privacy-preserving location verification of mobile phones. In Proceedings of the 14th ACM Workshop on Privacy in the Electronic Society, Denver, CO, USA, 12 October 2015. [Google Scholar]
- Gabber, E.; Wool, A. How to Prove Where You Are: Tracking the Location of Customer Equipment. In Proceedings of the 5th ACM Conference on Computer and Communications Security, San Francisco, CA, USA, 3–5 November 1998. [Google Scholar]
- Denning, D.E.; MacDoran, P.F. Location-based authentication: Grounding cyberspace for better security. Comput. Fraud Secur. 1996, 1996, 12–16. [Google Scholar] [CrossRef]
- Capkun, S.; Hubaux, J.P. Secure positioning of wireless devices with application to sensor networks. In Proceedings of the IEEE 24th Annual Joint Conference of the IEEE Computer and Communications Societies, Miami, FL, USA, 13–17 March 2005. [Google Scholar]
- Zugenmaier, A.; Kreutzer, M.; Kabatnik, M. Enhancing applications with approved location stamps. In Proceedings of the IEEE Intelligent Network 2001 Workshop. IN 2001 Conference Record (Cat. No.01TH8566), Boston, MA, USA, 6–9 May 2001. [Google Scholar]
- Gruteser, M.; Grunwald, D. Anonymous Usage of Location-Based Services through Spatial and Temporal Cloaking. In Proceedings of the 1st International Conference on Mobile Systems, Applications and Services, San Francisco, CA, USA, 5–8 May 2003. [Google Scholar]
- Bauer, K.; McCoy, D.; Anderson, E.; Breitenbach, M.; Grudic, G.; Grunwald, D.; Sicker, D. The Directional Attack on Wireless Localization. In Proceedings of the GLOBECOM 2009–2009 IEEE Global Telecommunications Conference, Honolulu, HI, USA, 30 November–4 December 2009. [Google Scholar]
- Brassil, J.; Netravali, R.; Haber, S.; Manadhata, P.; Rao, P. Authenticating a mobile device’s location using voice signatures. In Proceedings of the 2012 IEEE 8th International Conference on Wireless and Mobile Computing, Networking and Communications (WiMob), Barcelona, Spain, 8–10 October 2012. [Google Scholar]
- Saroiu, S.; Wolman, A. I Am a Sensor, and I Approve This Message. In Proceedings of the Eleventh Workshop on Mobile Computing Systems & Applications, Annapolis, MD, USA, 22–23 February 2010. [Google Scholar]
- Gilbert, P.; Cox, L.P.; Jung, J.; Wetherall, D. Toward Trustworthy Mobile Sensing. In Proceedings of the Eleventh Workshop on Mobile Computing Systems & Applications, Annapolis, MD, USA, 22–23 February 2010. [Google Scholar]
- Luo, W.; Hengartner, U. Veriplace: A privacy-aware location proof architecture. In Proceedings of the 18th SIGSPATIAL International Conference on Advances in Geographic Information Systems, San Jose, CA, USA, 3–5 November 2010. [Google Scholar]
- Hasan, R.; Burns, R. Where have you been? Secure location provenance for mobile devices. arXiv 2011, arXiv:1107.1821. [Google Scholar]
- Davis, B.; Chen, H.; Franklin, M. Privacy-preserving Alibi Systems. In Proceedings of the 7th ACM Symposium on Information, Computer and Communications Security, Seoul, Korea, 2–4 May 2012. [Google Scholar]
- Ananthanarayanan, G.; Haridasan, M.; Mohomed, I.; Terry, D.; Thekkath, C.A. StarTrack: A Framework for Enabling Track-based Applications. In Proceedings of the 7th International Conference on Mobile Systems, Applications, and Services, Kraków, Poland, 22–25 June 2009. [Google Scholar]
- González-Tablas, A.I.; Ramos, B.; Ribagorda, A. Path-Stamps: A Proposal for Enhancing Security of Location Tracking Applications. In Proceedings of the CAiSE Workshops, Klagenfurt/Velden, Austria, 16–20 June 2003. [Google Scholar]
- Khan, R.; Zawoad, S.; Haque, M.M.; Hasan, R. OTIT: Towards Secure Provenance Modeling for Location Proofs. In Proceedings of the 9th ACM Symposium on Information, Computer and Communications Security, Kyoto, Japan, 3–6 June 2014. [Google Scholar]
- Bucher, D.; Rudi, D.; Buffat, R. Captcha Your Location Proof—A Novel Method for Passive Location Proofs in Adversarial Environments. In Proceedings of the LBS 2018: 14th International Conference on Location Based Services, Zurich, Switzerland, 15–17 January 2018. [Google Scholar]
- Talasila, M.; Curtmola, R.; Borcea, C. Link: Location verification through immediate neighbors knowledge. In Proceedings of the International Conference on Mobile and Ubiquitous Systems: Computing, Networking, and Services, Sydeny, Australia, 6–9 December 2010. [Google Scholar]
- Stojkoska, B.R.; Kosovic, I.N.; Jagust, T. A Survey of Indoor Localization Techniques for Smartphones. In Proceedings of the 8th International Conference ICT Innovations 2016, Ohrid, Macedonia, 5–7 September 2016. [Google Scholar]
- Yu, D.-Y.; Ranganathan, A.; Masti, R.J.; Soriente, C.; Capkun, S. W-SPS: Designing a Wide-Area Secure Positioning System. IACR Cryptol. Eprint Arch. 2015, 2015, 230. [Google Scholar]
- Miettinen, M.; Asokan, N.; Koushanfar, F.; Nguyen, T.D.; Rios, J.; Sadeghi, A.-R.; Sobhani, M.; Yellapantula, S. I Know Where You Are: Proofs of Presence Resilient to Malicious Provers. In Proceedings of the 10th ACM Symposium on Information, Computer and Communications Security, Singapore, 14–17April 2015. [Google Scholar]
- Javali, C.; Revadigar, G.; Rasmussen, K.B.; Hu, W.; Jha, S. I Am Alice, I Was in Wonderland: Secure Location Proof Generation and Verification Protocol. In Proceedings of the 2016 IEEE 41st Conference on Local Computer Networks (LCN), Dubai, UAE, 7–10 November 2016. [Google Scholar]
- Deak, G.; Curran, K.; Condell, J. A survey of active and passive indoor localisation systems. Comput. Commun. 2012, 35, 1939–1954. [Google Scholar] [CrossRef]
- Wang, W.; Chen, Y.; Zhang, Q. Privacy-Preserving Location Authentication in Wi-Fi Networks Using Fine-Grained Physical Layer Signatures. IEEE Trans. Wirel. Commun. 2016, 15, 1218–1225. [Google Scholar] [CrossRef]
- Pham, A.; Huguenin, K.; Bilogrevic, I.; Hubaux, J.-P. Secure and Private Proofs for Location-based Activity Summaries in Urban Areas. In Proceedings of the 2014 ACM International Joint Conference on Pervasive and Ubiquitous Computing, Seattle, WA, USA, 13–17 September 2014. [Google Scholar]
- Mengjun, L.; Shubo, L.; Rui, Z.; Yongkai, L.; Jun, W.; Hui, C. Privacy-preserving distributed location proof generating system. China Commun. 2016, 13, 203–218. [Google Scholar] [CrossRef]
- Dupin, A.; Robert, J.-M.; Bidan, C. Location-proof system based on secure multi-party computations. In Proceedings of the 12th International Conference, ProvSec 2018, Jeju, Korea, 25–28 October 2018. [Google Scholar]
- Brassil, J.; Manadhata, P.K. Proving the location of a mobile device user. In Proceedings of the 4th International Conference, MobiSec 2012, Frankfurt am Main, Germany, 25–26 June 2012. [Google Scholar]
- Subhashri, C.; Vijayalakshmi, P. Enabling collusion resistant location proof and secure location sharing for mobile users. Adv. Nat. Appl. Sci. 2017, 11, 62–72. [Google Scholar]
- Hu, H.; Chen, Q.; Xu, J.; Choi, B. Assuring Spatio-Temporal Integrity on Mobile Devices with Minimum Location Disclosure. IEEE Trans. Mobile Comput. 2017, 16, 3000–3013. [Google Scholar] [CrossRef]
- Ni, X.; Luo, J.; Zhang, B.; Teng, J.; Bai, X.; Liu, B.; Xuan, D. A mobile phone-based physical-social location proof system for mobile social network service. Secur. Commun. Netw. 2016, 9, 1890–1904. [Google Scholar] [CrossRef]


| Reference | Localization Via | Cryptographic Primitives | LP | ETE | Attacker Modal | Strength | Weakness | |
|---|---|---|---|---|---|---|---|---|
| [2] | Wi-Fi | Public-key encryption scheme | ✓ | ✕ | The prover is untrusted, while the social network operator and Wi-Fi access point network operator is semi-trusted (honest-but-curious). | The accuracy of lower bounds of distance covered is achieved where multiple access points co-exist. The delay-based challenge response mechanism is applied to prevent proxy-relay attacks. Pseudonyms are used for location privacy preservation. | Unable to resist Wi-Fi channel characteristic-based attacks like if the user increases the transmission power of his device to falsely show that he is close enough to the access point. No protection against attacks launched by collusion of the social network operator and the access point network operator. | |
| [4] | Proximity testing using the Bussard–Bagga distance bounding protocol | Unique group signature, Pederson commitment, zero-knowledge proof, hashing | ✓ | ✕ | Prover, witness, and verifier are untrusted. CA and AL are trusted. | Group signatures used to preserve the privacy of users, and original identity can still be disclosed by LA. For granularity levels of location information, hash chaining is used. | Higher memory usage. Unable to resist P-W collusion attacks. | |
| [15] | Bluetooth, Wi-Fi | DSA, RSA, SHA-1, 128-bit AES | ✓ | ✓ | Prover, witness, and verifier are untrusted. CA is semi-trusted. | Tamper-evident location proofs. Witness assertion support provides protection against 2-way collusion. Multiple witnesses can be involved in proof generation. Entropy-based trust modal for collusion detection. Granularity level supported for exposing location information. | To testify, user proximity relies on the Bussard–Bagga distance bounding protocol, which is time-consuming. Prover-witness collusion detection efficiency is higher when the user’s mobility is high and lower when mobility is lower. Location provenance for tracking travel history is not supported. | |
| [22] | Wi-Fi | RSA (2048-bit) signatures, SHA-2 hashing with digest size 256 and 512 for hashing messages in protocol | ✓ | ✕ | Prover, location authority and witness are untrusted. | Tamper-evident, verifiable location proofs. Location provenance supported for capturing the travel history with chronological order preservation. | Unable to resist 3-way collusion. The auditor can be overloaded by a malicious user and therefore vulnerable to the single point of failure. | |
| [23] | Bluetooth | ECDSA | ✓ | ✕ | All participants are part of a peer-to-peer network and can be in one of three roles (prover, request responder and verifier) at the instance of time. All are assumed malicious but not all same instance. | Decentralized location proof system. Distributed consensus used to save location provenance over the blockchain. | No support for witness assertion. No protection against prover and request receiving a peer collusion attack. No protection against 3-way collusion. | |
| [30] | Mobile network operator (MNO) | Anonymous credentials | ✓ | ✕ | MNO is a trusted location source, however, the service provider is semi-trusted, and the prover is untrusted. | Privacy-by-design approach is used by utilizing anonymous credentials. No dependency on sensors in mobile devices. Location information is trustworthy even if the mobile device is fully compromised. The scheme is able to resist replay attacks, MNO and service provider collusion attacks. | Reported area accuracy is limited. | |
| [41] | Wi-Fi, Bluetooth | 1024-bit DSA-signatures, SHA-1 Hashing | ✓ | ✕ | Prover, location authority and witness are untrusted. | Eliminated the dependency on multiple trusted parties. Hash chain- and bloom filter-based location provenance supported. | No protection against 3-way collusion and Sybil attacks. | |
| [47] | Bluetooth | Non-cryptographic technique | ✕ | ✓ | Prover and verifier both are malicious. | No reliance on network/localization infrastructure. The centralized architecture provides a global view of the complete system. Location claims are accepted and rejected on the basis of trust scores of neighbors. | Centralized location verification authority is a single point of failure as becomes the bottleneck. Limited collusion resistance. No protection against Sybil attacks. Prone to physical layer characteristic attacks such as using a non-standard wireless interface to generate higher signal strength. No location privacy protection mechanism. | |
| [49] | Distance bounding protocol | anonymous credentials and the Camenisch– Lysyanskaya (CL) signature scheme | ✓ | ✕ | The prover is untrusted, and the verifier is honest but curious. LNS is assumed trusted. | Verifiable multilateration is used for provable protection against spoofing attacks and supports location verification. | The location naming service (LNS) is a trusted store containing signed entries that map user-defined labels (referred to as location labels) to their corresponding sets of locations. DoS on LNS can downgrade the whole system. | |
| [50] | Contextual variation measurement matching | - | ✓ | ✕ | The prover is malicious, and the verifier is trusted. | Context-based proof of presence (PoP) with entropy measurement techniques to resist against malicious prover. PoP utilizes an ambient noise level for privacy protection instead of actual fine-grained audio signals. | Vulnerable to relay attacks. | |
| [51] | Wi-Fi signal characteristics, e.g., channel state information (CSI) | SHA-1 hashing, public key-signature scheme and fuzzy vault (a cryptographic primitive) | ✓ | ✕ | The prover is dishonest, while the access point and verifier are honest and trusted. | Utilize wireless channel characteristics to validate user’s location and context information Fuzzy vault used to preserve privacy. Better performance because the time of proof generation is independent of the size of the location tag embedded in location proof and the distance between a mobile user and the location proof provider. Experimental evaluation conducted for indoor environments. | No support for location provenance. Vulnerable to collusion attacks. | |
| [53] | Wi-Fi | TLDC (two-layer differential coding), CFO encryption | ✓ | ✕ | LBS provider is assumed trusted, and the user is untrusted. | Physical layer information (carrier frequency offset (CFO), multipath, channel state information (CSI)) available in legacy Wi-Fi preamble is used for user’s location information verification. | Based on experimentation, authentication accuracy is 93.2%, while privacy leakage is 45.7% in comparison to state-of-art approaches. LBS provider and user collusion attack not considered. | |
| [54] | Wi-Fi | The digital signature scheme, order-preserving encryption | ✓ | ✕ | Prover and the service provider are untrusted. However, access points are semi-trusted. | Maximize the accuracy of summaries by computing an optimal set of access points to communicate with. Pseudonyms used for privacy preservation. | Limited location privacy protection against access point operators. Unable to resist prover, access point and service provider collusion attacks. | |
| [55] | GPS, Bluetooth, Wi-Fi | Shamir secret sharing scheme, symmetric encryption, Diffie–Hellman protocol | ✓ | ✕ | CA and verifier are semi-trusted, while prover and witness are untrusted. | Better performance in detection and resistance against prover–prover collusion and prover–witness collusion attacks. For privacy protection, pseudonyms are used. | The more witnesses, the more overhead encryption and decryption of key shares. Unable to resist 3-way collusion as witness selection control lies with the prover. Location provenance (to track the chronological order of proofs) is not supported. In the basic scheme, due to privacy protection, the Diffie–Hellman protocol used is not resistant to man-in-the-middle attacks. | |
| [58] | Bluetooth, Wi-Fi | Ciphertext policy attribute-based encryption (CP-ABE) blowfish | ✓ | ✕ | The prover is untrusted whereas, the witness can be trusted or untrusted. | Ciphertext policy attribute-based encryption (CP-ABE) is used to detect collusion. Multiple witnesses can be involved to make the collusion hard. | No support for location provenance. Limited collusion protection. | |
| [59] | GPS | Prefix-verifiable MAC (PMAC) | ✓ | ✕ | Location authenticator is assumed trusted, while prover and verifier are semi-honest | Prefix-verifiable MAC (PMAC) is used for tamper-proof location evidence. Reduced computation and communication cost. Granularity level for exposing location information. | No support for location provenance. | |
| [60] | Bluetooth | Symmetric shared key and a public key signature scheme | ✓ | ✓ | Prover and witness both are assumed malicious. | Encounter-based location proof exchange. Mechanism-based on the concept of physical–social locations (PSL) or a witnessing zone, which is the geographic region that is frequently visited by people over a fairly long period with social significance, that is, workplaces or neighborhoods. Reputation model to Evaluate a user’s behavior as a witness. MPSL is a lightweight, accurate and fast. | Prone to prover–witness collusion, however, the cost of launching such attach is higher because the prover has to generate multiple proofs for the same location. System’s performance depends on the user’s density and witnessing zone’s coverage. | |
Publisher’s Note: MDPI stays neutral with regard to jurisdictional claims in published maps and institutional affiliations. |
© 2020 by the authors. Licensee MDPI, Basel, Switzerland. This article is an open access article distributed under the terms and conditions of the Creative Commons Attribution (CC BY) license (http://creativecommons.org/licenses/by/4.0/).
Share and Cite
Zafar, F.; Khan, A.; Anjum, A.; Maple, C.; Shah, M.A. Location Proof Systems for Smart Internet of Things: Requirements, Taxonomy, and Comparative Analysis. Electronics 2020, 9, 1776. https://doi.org/10.3390/electronics9111776
Zafar F, Khan A, Anjum A, Maple C, Shah MA. Location Proof Systems for Smart Internet of Things: Requirements, Taxonomy, and Comparative Analysis. Electronics. 2020; 9(11):1776. https://doi.org/10.3390/electronics9111776
Chicago/Turabian StyleZafar, Faheem, Abid Khan, Adeel Anjum, Carsten Maple, and Munam Ali Shah. 2020. "Location Proof Systems for Smart Internet of Things: Requirements, Taxonomy, and Comparative Analysis" Electronics 9, no. 11: 1776. https://doi.org/10.3390/electronics9111776
APA StyleZafar, F., Khan, A., Anjum, A., Maple, C., & Shah, M. A. (2020). Location Proof Systems for Smart Internet of Things: Requirements, Taxonomy, and Comparative Analysis. Electronics, 9(11), 1776. https://doi.org/10.3390/electronics9111776

