Abstract
Lithium phosphorus-oxynitride (LiPON) films were deposited by the method of anodic evaporation of Li3PO4 in the nitrogen plasma of a low-pressure arc. A method for adjusting the degree of decomposition of vapors is proposed based on a change in the frequency of interaction of electrons with vapors at a constant heating power of the anode-crucible. The conditions ensuring the formation of films with a homogeneous microstructure and ionic conductivity (1–2) × 10−6 S/cm at a deposition rate of 8 nm/min have been determined. It is shown that the degree of vapor dissociation critically affects the morphology of the films and the magnitude of their ionic conductivity. The results of cyclic tests of LiPON films deposited by anodic evaporation in a low-pressure arc are presented.
1. Introduction
Lithium-conducting solid-ion electrolyte LiPON is obtained by replacing part of the oxygen atoms in lithium orthophosphate (Li3PO4) with nitrogen atoms [1]. LiPON films are promising for creating all-solid-state lithium-ion batteries for the power supply of miniature devices [2,3,4]. Despite the relatively low values of ionic conductivity, which at room temperature is (1–3) × 10−6 S/cm, the small thickness of the electrolyte film (fractions-units of µm) allows minimizing the internal resistance of the power supply and increasing its specific power [5]. The most common method for the synthesis of LiPON films is RF magnetron sputtering, but due to the limited value of the maximum permissible power density on the surface of the target being sputtered, the film deposition rate by this method is limited to several nm/min [6]. The high deposition rate of LiPON films (up to 178 nm/min) was achieved by electron beam evaporation of Li3PO4, followed by transportation of lithium vapor in a supersonic He+N2 jet and vapor deposition in a nitrogen-argon plasma of arc discharge [7,8,9]. However, the method has not been widely used due to the complexity of its implementation and the relatively low values of the conductivity of ionic films (~5 × 10−7 S/cm).
LiPON films with an ionic conductivity of up to 1 × 10−6 S/cm were deposited by anodic evaporation of Li3PO4 in the nitrogen plasma of a low-pressure arc at a deposition rate of up to 4 nm/min [10]. The studies have shown that in the process of arc anodic evaporation of Li3PO4, due to the intense interaction of vapor and a dense flow of electrons heating the crucible, the dissociation of Li3PO4 molecules occurs, which has a significant effect on the deposition process and properties of LiPON films. Other factors that affect the process of film growth, their microstructure, and properties are the high temperature of the growing film (up to 300 °C) due to thermal radiation from plasma and a hot crucible, as well as a high rate of vapor condensation.
The identified disadvantages of the anode evaporation method include the difficulty of stabilizing the initial stage of the evaporation process since the intense interaction of vapor with plasma near the surface of Li3PO4 leads to irregular changes in the heating power of the crucible and the evaporation rate of the substance from the crucible, as well as a low degree of reproducibility of the properties of films in a series of experiments due to spatial heterogeneity and temporal instability of the arc plasma parameters in the film deposition zone. It turned out that a slight (~10%) change in the ratio of the density of vapor and plasma flows in the deposition zone led to a significant (by an order of magnitude) difference in the ionic conductivity of closely spaced samples.
A distinctive feature of films deposited by anodic evaporation is their granular structure [10]. The films consist of tightly packed, rounded globules ~1 µm in size. The films deposited by electron beam evaporation also consisted of separate structural elements, the size and shape of which varied depending on the discharge current, nitrogen pressure, and the magnitude of the bias voltage [4,5,6]. On the contrary, films deposited by magnetron sputtering have, as a rule, a homogenous structure; the appearance of a granular structure was observed with an increase in the proportion of lithium in the films [11], with increased nitrogen pressure during the deposition of films [12,13], as well as a result of the interaction of films with the atmosphere [14]. The imperfection of the film structure is one of the reasons limiting the achievement of high values of ionic conductivity in films.
The aim of this work was to determine the conditions for the synthesis of LiPON films with a homogeneous microstructure and high ionic conductivity in a low-pressure arc. To achieve this goal, the electrode system of the film deposition device used in previous experiments [10] was significantly modified. This made it possible to stabilize the evaporation process and ensure the uniformity of the plasma in the film deposition zone, as well as the possibility of independently adjusting the frequency of the interaction of electrons with vapor by changing the vapor pressure or discharge current. The paper presents the results of studies of the influence of the degree of decomposition of Li3PO4 vapor on the ionic conductivity of films, cyclic tests of films, and measurements of specific electrical capacitance.
2. Materials and Methods
A modified version and prototype [10] of the electrode system of the device for deposition of thin LiPON films by evaporation of Li3PO4 in a low-pressure discharge plasma in nitrogen are shown in Figure 1.
Figure 1.
Electrode system of the modified (a) and prototype (b) LiPON film deposition devices. 1—self-heating hollow cathode; 2—anodes; 3—crucible; 4—thermionic cathode; 5, 6—screens; 7—resistors; 8—sample holder.
The changes in the electrode system, compared to [10], implied the transition to the axisymmetric configuration of the arc discharge electrodes, the use of an autonomous crucible heater, and a sectioned anode with forced current distribution across the anode elements. The arc discharge between the self-heating hollow cathode 1 and the anodes 2 generates argon plasma, which is used to clean the surface of the substrates by ion sputtering, or nitrogen plasma to saturate the growing film with nitrogen. Heating of the crucible 3 to temperatures at which evaporation of the Li3PO4 powder (mass fraction of 99.5%) loaded into the crucible occurred could be carried out both by switching part of the main discharge current to the crucible and in an auxiliary discharge between the direct-heat thermionic cathode 4 and the crucible 3. Localization of this discharge in the crucible area using a shielding electrode 5 excludes the interaction of the discharge plasma with Li3PO4 vapors, which reduces the degree of their dissociation. Combined heating with an adjustable ratio of the currents of the main and auxiliary discharges at a constant heating power of the crucible was used in experiments to study the effect of the degree of dissociation of Li3PO4 vapors on the microstructure of films.
The axisymmetricity of the electrode system ensures spatial uniformity of the plasma in the annular zone of film deposition. The sectioned anode 2 consisted of 4 tungsten rods installed at a distance of 7 cm from the discharge axis, equidistant from each other. The rods (diameter 2 mm, length 50 mm) were placed inside the cylindrical screens 6 and connected to the power supply through resistors 7 made of chromium-nickel alloy Cr20Ni80 with a resistance of 1 Ω. The shielding of the anodes and the forced distribution of current across the anode sections reduce the probability of an azimuthal inhomogeneity of the plasma in the volume due to the formation and growth of non-conducting films on the surface of the anode up to its complete “disappearance”.
Stabilization of the evaporation conditions and discharge parameters was achieved as a result of the improvement of the electrode structure, the uniformity of the plasma in the film deposition zone, and the adjustable degree of vapor dissociation created conditions for obtaining a batch of samples with similar film parameters during the deposition cycle. It also ensured the reproducibility of the film parameters from cycle to cycle. This made it possible to obtain statistically significant results describing the dependencies of the film parameters on the experimental conditions and to optimize the conditions for the synthesis of films.
After Li3PO4 powder weighing 0.8 g was loaded into the crucible, the substrates were installed on the sample holder 8, and a residual vacuum of 1 × 10−3 Pa was achieved in the working chamber using a turbomolecular pump. Ion cleaning of the substrate surface was carried out. For this, argon was supplied through the cathode cavity (50 sccm), a discharge was ignited between the self-heating cathode and the sectioned anode with a current of 10 A, a negative bias voltage of the sample holder was applied (−500 V, 50 kHz, 10 µs), and the substrates were treated for 10 min with argon ions at a current density of 3 mA/cm2.
At the same time, the crucible was heated to operating temperature, for which a directly heated wire cathode was heated, and a discharge was ignited between the crucible and the cathode with a current of 6 A and a voltage of 55–60 V. At a distance of 150 mm between the crucible and the substrates, the deposition of films at a rate of 5–8 nm/min was provided by the evaporation of powder from the solid phase. Higher film deposition rates (~15 nm/min) were obtained by evaporation from the Li3PO4 melt at a heating power of up to 500 W. Heating of the crucible by an autonomous discharge allowed to exclude the phase of unstable evaporation and unstable combustion of a discharge with a hollow cathode at the stage of Li3PO4 heating.
After the cleaning of the substrates was completed and the required heating power of the crucible was reached, nitrogen was supplied to the chamber (50–150 sccm) and the discharge with a self-heated cathode was transferred to a pulse-periodic burning mode (10–30 A, 10 µs, and 50 kHz), which allowed minimizing the probability of instabilities associated with the transition of the arc to the burning mode with the cathode spot. Then part of the discharge current with a hollow cathode was switched to the crucible circuit, and the auxiliary discharge current was reduced by this amount. Thus, at a constant heating power, the degree of vapor dissociation was regulated, which has a decisive effect on the ionic conductivity of LiPON films. To control the evaporation rate and the degree of dissociation of Li3PO4 vapors, the intensity of the lithium atom line (670 nm) in the plasma optical emission spectrum was measured using the OceanOptics HR4000 spectrometer (Ocean Optics, Inc., Dunedin, FL, USA).
The pressure of the gas mixture (Ar+N2) was regulated in the range of ~0.3–0.7 Pa. The films were deposited on the four polished stainless steel 12Cr18Ni10Ti substrates with a diameter of 20 mm that were under floating potential. The duration of the film deposition process was usually 2 h, and the thickness of the films was ~0.5–1 µm. The temperature of the substrates during deposition was 270–300 °C. After the films were deposited and the samples cooled, they were moved to an installation with a magnetron sputtering system, in which electrically conductive metal contacts were deposited on the surface of the films.
The ionic conductivity of LiPON films in the obtained symmetric condensed (capacitor) structures was measured by electrochemical impedance spectroscopy [15] using a potentiostat P-45X (Electro Chemical Instruments, Chernogolovka, Russia). The signal amplitude was 0.15 V, and the frequency range was 0.5–1 × 106 Hz. Cyclic voltammetry and multicycle tests of “steel/LiPON/steel” capacitor structures with blocking electrodes were carried out in the voltage range of 0–4 V and potential sweep rates of 0.01–1 V/s in Ar at room temperature. The morphology of the surface of the films was studied using optical (Olympus BX51TRF-5, Olympus Corporation, Tokyo, Japan) and atomic force (Ntegra Prima, NTMDT, Moscow, Russia) microscopes. The thickness of the films was estimated by the gravimetric method as well as by the method of abrasive ball abrasion on the Calotest device (CSM Instruments, Peseux, Switzerland).
3. Results
Images of the surface of LiPON films deposited by anodic evaporation in an arc are shown in Figure 2. The films have a granular structure and consist of globules. The sizes of globules range within ~0.5–8 µm, and with an increase in the discharge current, the number of globules on a single surface decreases and their size increases. If in the films deposited at a discharge current of 10 A (Figure 2a), the globules form a practically continuous structure, then with an increase in the current to 20 A (Figure 2c), the surface area occupied by the globules decreases to 28%. The as-deposited films had an amorphous structure; however, the XRD results presented in the previous work [10] indicate the presence of traces of the LiOH crystalline phase, the appearance of which is due to the formation of globules.
Figure 2.
Images of the surface of LiPON films deposited at discharge currents: (a) 10 A; (b) 15 A; (c) 20 A.
An image of globules obtained by atomic force microscopy in semicontact mode is shown in Figure 3. The morphology of the surface of large globules indicates a heterogeneous process of their growth in volume. Measurements showed that the globules were characterized by a higher surface energy compared to the matrix. Similar secondary inclusions on the surface of globules were observed in [16,17]; their formation was associated with the segregation of Li in films. Rapid diffusion of Li atoms to the surface and subsequent reactions with water vapor and CO2 lead to the formation of the compounds LiOH, Li2O, Li2CO3, etc. [17]. The presence of traces of LiOH is evidenced by the results of the film analysis presented earlier in [10]. The results of the analysis of the elemental composition of the film matrix and inclusions by the energy dispersion method show a lower content of P and N (by 5.4 and 4.6 at.%, respectively) and increased O content (by 7 at.%) in globules, which indicates the formation of secondary compounds other than LiPON.
Figure 3.
Image of the film surface obtained by atomic force microscopy.
A decrease in the intensity of the interaction of vapor with the discharge plasma and in the degree of Li3PO4 dissociation when the crucible was heated in a discharge with a direct heated cathode made it possible to obtain films with a homogeneous microstructure without globules (Figure 4). However, such films, as obtained in [7], had low ionic conductivity.
Figure 4.
Image of a film surface with a homogeneous microstructure.
Heating of the crucible in a discharge with a self-heating hollow cathode and heating using a discharge with a thermionic cathode correspond to modes with a maximum and minimum degree of vapor dissociation. In the first mode, as a result of the segregation of free Li, films with a coarse-grained structure are synthesized; in the second mode, homogeneous films with low ionic conductivity are formed. Combined heating of the crucible with an adjustable ratio of discharge currents with a self-heating hollow cathode and with a direct-heated cathode made it possible to implement intermediate modes with varying degrees of vapor dissociation, which is determined only by the current of the discharge with a self-heating cathode. The dependence of the ionic conductivity of films on the ratio of discharge currents with a hollow (IHC) and direct-heated cathode in the crucible circuit (ITC) at a constant heating power of the crucible (360 W) and the hollow cathode current of 15 A is shown in Figure 5. The ionic conductivity of synthesized LiPON films increases monotonically over the entire range of changes in the current ratio. The films deposited under these conditions are homogeneous and have high ionic conductivity. An increase in the hollow cathode current up to 40 A led to an increase in the deposition rate and the formation of granular films with low ionic conductivity.
Figure 5.
Dependence of the ion conductivity of LiPON films on the fraction of the discharge current with a hollow cathode in the crucible circuit.
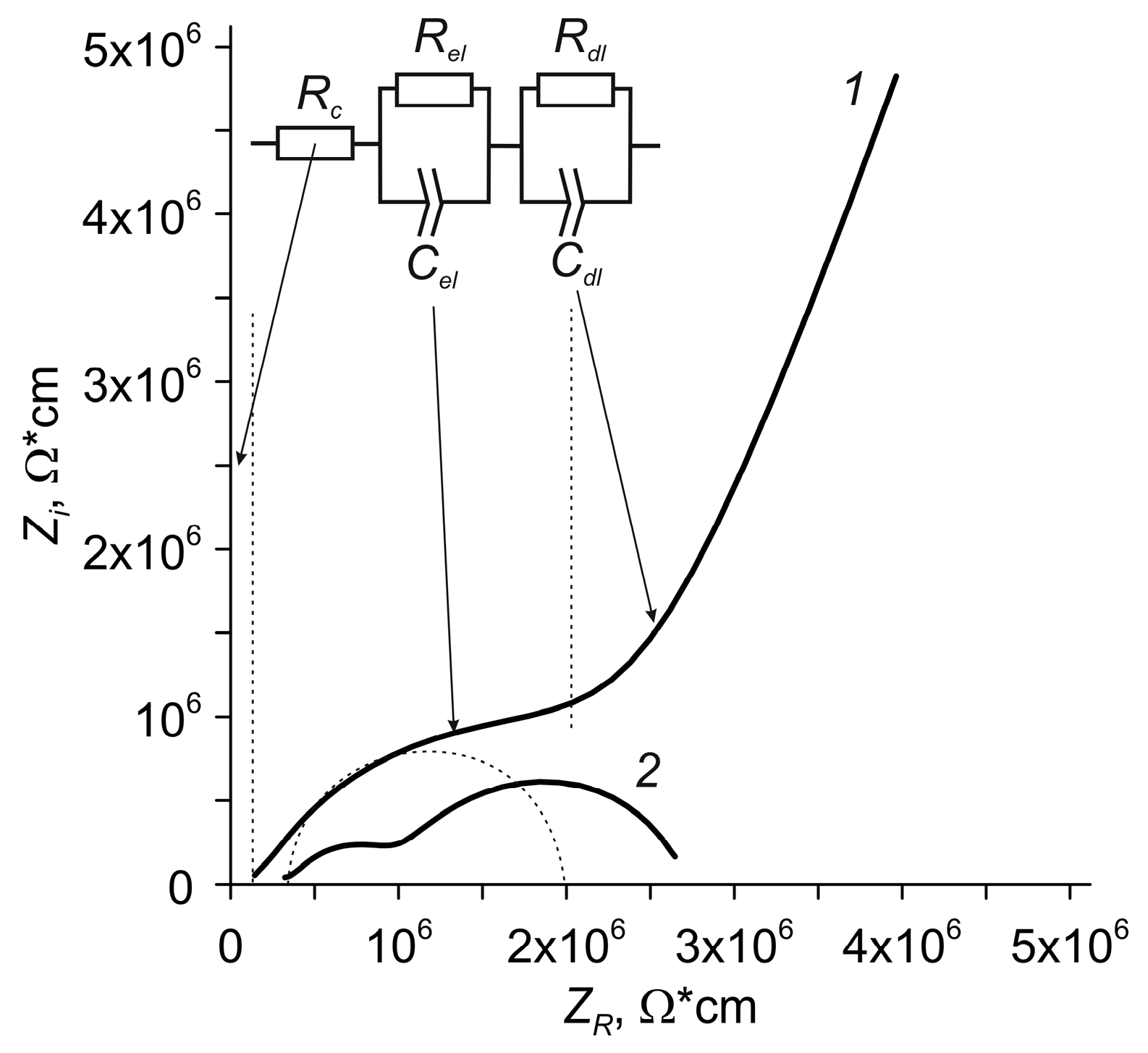
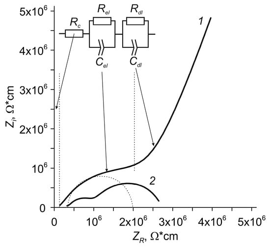
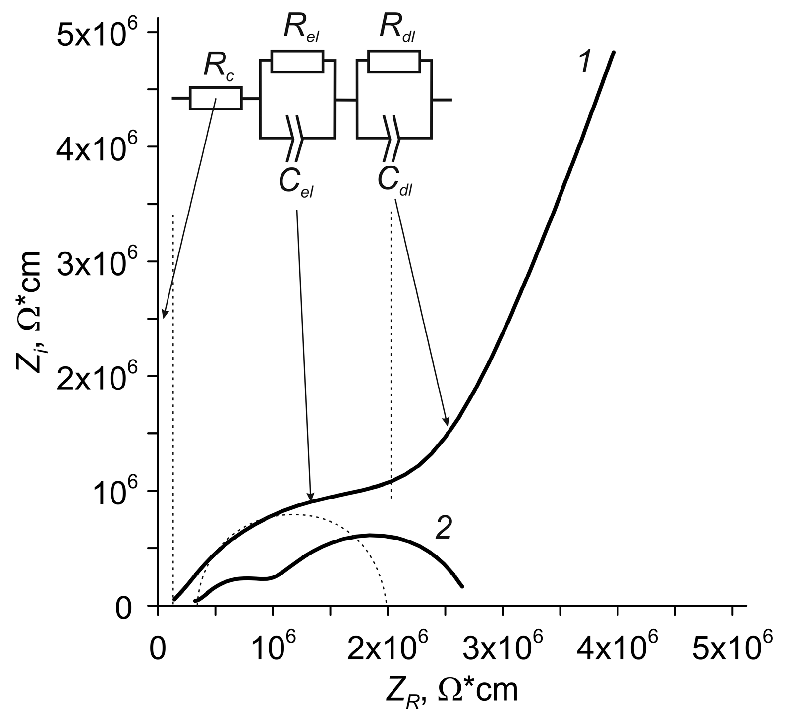
The type of Nyquist diagrams for LiPON films depends on the conditions of their deposition and may contain one or two semicircles and a linear section in the low-frequency region (Figure 6). For the analysis of the diagrams, an equivalent circuit was used, including Rc—resistance of the contacts; CPEel and CPEdl—constant phase elements characterizing the electrical capacitance of the film (el) and the double layer (dl) that occurs at the boundary of the film and the substrate (interface); Rel, Rdl—the electrical resistance of the electrolyte and the interface. The semicircle in the high-frequency region caused by the impedance of the LiPON film is used to calculate its ionic conductivity.
Figure 6.
Nyquist diagrams of LiPON films.
The presence of a linear section in the low-frequency region indicates the formation of a double layer, and in the model system, this is described by the Rdl Cdl cell with a high Rdl value (for diagram 1 in Figure 6, the Rdl is more than 1010 Ω). The appearance of a second semicircle in the impedance spectrum (diagram 2 in Figure 6) instead of a straight line indicates a significant decrease in Rdl. A diagram in the form of a single semicircle without a straight line in the low-frequency region indicates a significant electronic conductivity of the plates. The measured values of the ionic conductivity of the LiPON films deposited in experiments were in the range of (1–20)·10−7 S/cm.
The manufactured capacitor structures “steel/LiPON/steel” were tested in the cyclic potential scan mode at different scan rates. The measurement results of this method allow for calculating the capacity of the double layer and assessing the stability of the electrolyte [18]. The profile of cyclic voltammetry characteristics (CVs) depends on the ratio of capacitive and resistive properties of the capacitor structure [19]. For an ideal capacitive structure, the CV is a rectangle symmetrical with respect to the voltage axis, the rounding of the corners of which, with an increase in the scanning rate of the potential, is due to the limited rate of ion transport in the volume of the electrolyte. In the other extreme case, when the dominant property of the structure is resistance, the CV is a straight line. The set of CVs obtained for the “steel/LiPON/steel” structure in the range of interelectrode voltage U = 1–3 V and potential scan rate V = 0.5–1 V/s, the thickness of the LiPON film, which was 0.5 µm, and the value of ionic conductivity ~2·10−6 S/cm, is shown in Figure 7.
Figure 7.
Cyclic voltammetry profiles obtained for the structure “steel/LiPON/steel”. Potential scan rate of 1 V/s.
The dependence of the specific capacitance (C) on the scan rate V calculated according to Figure 7 is shown in Figure 8. The calculation was carried out using the equation [18]:
where I is the charging-discharging current of the capacity, and S is the contact surface area (S = 2 cm2). As V increases, the capacitance of the capacitor decreases.
C = 1/(2 × U × V × S) ∫ I(U)dU,
Figure 8.
Dependence of the specific capacity of the structure “steel/LiPON/steel” on the rate of the potential scan.
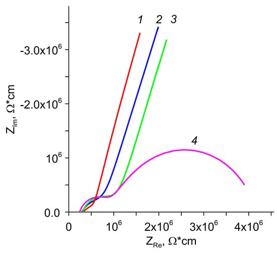
Multicycle tests of the “steel/LiPON/steel” structure were carried out in argon. As a result of tests at a potential scan rate of 1 V/s in the voltage range of values 0–1 V for 104 cycles, the capacitance of the structure decreased by about 20% (Figure 9), and the ionic conductivity decreased by 3 times (Figure 10). With an increase in the voltage range over 2.5 V after 400 cycles, the structure degraded, resulting in a significant decrease in the value of Rdl (see the equivalent circuit in Figure 6), and a second semicircle appeared in the low-frequency part of the impedance spectrum (Figure 10, curve 4), while the ionic conductivity of the LiPON film did not change significantly.
Figure 9.
Dependence of the specific capacity of the structure “steel/LiPON/steel” on the number of test cycles. The potential scan rate is 1 V/s. The range of potential change is 0–1 V.
Figure 10.
Nyquist diagrams of LiPON film after deposition (1); after 5000 (2); 104 (3); 400 (4) test cycles in the potential range 1 (2, 3); 2.5 V (4).
4. Discussion
The method of LiPON film deposition by thermal evaporation of Li3PO4 in nitrogen plasma has the possibility of achieving high evaporation rates and vapor condensation. Anodic evaporation of Li3PO4 in an arc is accompanied by intense dissociation of Li3PO4 vapors in plasma, and vapor condensation occurs under the influence of dense nonequilibrium plasma on the growing surface of films. A significant effect of plasma parameters on the properties of LiPON films deposited by magnetron sputtering was previously shown in [20]. It was found that samples obtained outside the magnetron discharge core had higher ionic conductivity.
Experiments with combined heating of the crucible have shown that in order to create ionic conductivity in films, it is necessary to maintain a certain degree of dissociation of Li3PO4 vapors in plasma. The appearance of ionic conductivity was correlated with the formation of a grain structure in the films.
In [18], devoted to the study of the properties of the “Pt/LiPON/Pt” structure, the exceptional cyclic ability and high reliability of double layer condenser structures with blocking metal electrodes were experimentally confirmed due to the rapid, reversible, and nondestructive adsorption of charge carriers on the interface of the electrolyte/electrode. The specific capacitance of the samples obtained in our studies of the “steel/LiPON/steel” structure turned out to be close to the values given in [18]; however, high cyclic resistance was shown only in a fairly narrow voltage window (0–1 V).
The reasons for the degradation of the “Ti/LiPON/Ti” capacitor structure as a result of cyclic tests were investigated in [20]. It was shown that the appearance of the second semicircle in the Nyquist diagrams was due to a change in the composition of the LiPON film in the layer at the boundary with the electrodes. The modified layer was formed only in films with increased ionic conductivity due to the high mobility of lithium ions, and the layer also appeared in the “Pt/LiPON/Pt” structure, whereas this effect was not observed in [15].
The processes at the boundary between a solid electrolyte and electrodes, leading to the low cyclic stability of all-solid-state electrochemical batteries, are considered in [21,22]. The problem of interface formation is also critically important for double-layer capacitors, since even electrodes made of precious metals are not completely blocking. Electrochemical oxidation can occur at the Ag/LiPON boundary when the value of the interelectrode voltage corresponding to the redox potential of the electrode material is reached (3.7 V for Ag/Ag+ with respect to Li/Li+), and further interaction of Ag+ ions with the electrolyte leads to the formation of a reaction layer with increased electrical resistance [23].
Li-Pt compounds formed in the Pt/LiPON structure lead not only to leakage currents and disruption of the double layer [24], but also to mechanical destruction of the film [25]. Such destruction, accompanied by the growth of dome-shaped inclusions, was observed in [25] in situ tests of a capacitor cell at a current density of up to 1 mA/cm2 and was explained by a local increase in the concentration of Li and an increase in its diffusion in the direction of the film surface. A similar effect was observed in our experiments; however, unlike [25], the formation of globules occurred already during the deposition of the LiPON film, so that Li3PO4 vapors were intensively dissociated in the discharge plasma.
Thus, the formation of free Li atoms as a result of the dissociation of Li3PO4 vapors in plasma ensures the appearance of ionic conductivity in the deposited films and, at the same time, causes the formation of a grain structure of films, which reduces the multicycle stability of LiPON films obtained by thermal evaporation in a low-pressure arc.
5. Conclusions
Lithium phosphorus oxynitride (LiPON) films were deposited by thermal evaporation of Li3PO4 in the arc discharge with a self-heating hollow cathode and crucible anode, heated autonomously in a discharge with a direct-heating thermionic cathode. The electrode system provides stable evaporation of Li3PO4, plasma uniformity in the deposition area of coatings, and regulation of the degree of vapor decomposition.
A significant effect of the discharge current on the microstructure of films has been established, which consists of an increase in the degree of agglomeration of spherical inclusions on the surface of films with an increase in current due to Li segregation. By optimizing the magnitude of the discharge current and the degree of dissociation of Li3PO4 vapors in the discharge plasma, films with a homogeneous microstructure and an ionic conductivity of 1.6 × 10−6 S/cm were obtained.
The specific capacitance of the “steel/LiPON/steel” structure was estimated by cyclic voltammetry, which amounted to ~47 µF/cm2 at a potential scan rate of 0.1 V/s for 0.5 mm thick LiPON film with an ionic conductivity of 1·10−6 S/cm.
Author Contributions
Methodology, N.G. and A.K.; Validation, N.G. and A.K.; Formal analysis, N.G. and A.K.; Investigation, A.K., P.T. and A.E.; Writing—original draft, A.K.; Writing—review & editing, N.G.; Project administration, N.G. All authors have read and agreed to the published version of the manuscript.
Funding
This research was funded by the Ministry of Science and Higher Education of the Russian Federation (project No. 075-15-2021-1348) within the framework of event (No. 3.1.9).
Institutional Review Board Statement
Not applicable.
Informed Consent Statement
Not applicable.
Data Availability Statement
Not applicable.
Conflicts of Interest
The authors declare no conflict of interest.
References
- Bates, J.B.; Dudney, N.J.; Gruzalski, G.R.; Zuhr, R.A.; Choudhury, A.; Luck, C.F.; Robertson, J.D. Electrical properties of amorphous lithium electrolyte thin films. Solid State Ion. 1992, 647, 53–56. [Google Scholar] [CrossRef]
- Li, L.; Liu, S.; Zhou, H.; Lei, Q.; Qian, K. All Solid-State Thin-Film Lithium-ion Battery with Ti/ZnO/LiPON/LiMn2O4/Ti Structure Fabricated by Magnetron Sputtering. Mater. Lett. 2018, 216, 135–138. [Google Scholar] [CrossRef]
- Young, J.K.; Yoon, S. Lithium phosphorus oxynitride thin films for rechargeable lithium batteries: Applications from thin-film batteries as micro batteries to surface modification for large-scale batteries. Ceram. Int. 2022, 48, 10372–10390. [Google Scholar] [CrossRef]
- Kanazawa, S.; Baba, T.; Yoneda, K.; Mizuhata, M.; Kanno, I. Deposition and performance of all solid-state thin-film lithium-ion batteries composed of amorphous Si/LiPON/VO-LiPO multilayers. Thin Solid Film. 2020, 697, 137840. [Google Scholar] [CrossRef]
- Nowak, S.; Berkemeier, F.; Schmitz, G. Ultra-thin LiPON films—Fundamental properties and application in solid state thin film model batteries. J. Power Sources 2015, 275, 144–150. [Google Scholar] [CrossRef]
- Choi, C.H.; Cho, W.I.; Cho, B.W.; Kim, H.S.; Yoon, Y.S.; Tak, Y.S. Radio-Frequency Magnetron Sputtering Power Effect on the Ionic Conductivities of Lipon Films. Electrochem. Solid State Lett. 2002, 5, A14–A17. [Google Scholar] [CrossRef]
- Kim, Y.G.; Wadley, H.N.G. Lithium phosphorous oxynitride films synthesized by a plasma-assisted directed vapor deposition approach. J. Vac. Sci. Technol. A 2008, 26, 174–183. [Google Scholar] [CrossRef]
- Kim, Y.G.; Wadley, H.N.G. Plasma-assisted deposition of lithium phosphorus oxynitride films: Substrate bias effects. J. Power Sources 2009, 187, 591–598. [Google Scholar] [CrossRef]
- Kim, Y.G.; Wadley, H.N.G. The influence of the nitrogen-ion flux on structure and ionic conductivity of vapor deposited lithium phosphorus oxynitride films. J. Power Sources 2011, 196, 1371–1377. [Google Scholar] [CrossRef]
- Gavrilov, N.; Kamenetskikh, A.; Tretnikov, P.; Nikonov, A.; Sinelnikov, L.; Butakov, D.; Nikolkin, V.; Chukin, A. Synthesis of Lithium Phosphorus Oxynitride (LiPON) Thin Films by Li3PO4 Anodic Evaporation in Nitrogen Plasma of a Low-Pressure Arc Discharge. Membranes 2022, 12, 40. [Google Scholar] [CrossRef]
- Suzuki, N.; Inaba, T.; Shiga, T. Electrochemical properties of LiPON films made from a mixed powder target of Li3PO4 and Li2O. Thin Solid Films 2012, 520, 1821–1825. [Google Scholar] [CrossRef]
- Christiansen, A.S.; Stamate, E.; Thyden, K. Plasma properties during magnetron sputtering of lithium phosphorous oxynitride thin films. J. Power Sources 2015, 273, 863–872. [Google Scholar] [CrossRef]
- Park, H.Y.; Nam, S.C.; Lim, Y.C.; Choi, K.G.; Lee, K.C.; Park, G.B.; Lee, S.R.; Kim, H.P.; Cho, S.B. Effects of sputtering pressure on the characteristics of lithium ion conductive lithium phosphorous oxynitride thin film. J. Electroceram. 2006, 17, 1023–1030. [Google Scholar] [CrossRef]
- Yun, D.J.; Lim, S.; Won, J.Y.; Kim, K.; Lee, H.; Hwang, J.; Chung, J.; Kim, Y.S.; Kwon, Y.-N.; Lee, B.I.; et al. Chemical/morphological transition behavior of lithium phosphorus oxynitride solid-electrolyte in air: An analytical approach based on X-ray photoelectron spectroscopy and atomic force microscopy. J. Power Sources 2018, 399, 231–237. [Google Scholar] [CrossRef]
- Barsoukov, E.; Macdonald, J.R. Impedance Spectroscopy: Theory, Experiment and Applications; Wiley: New York, NY, USA, 2005. [Google Scholar]
- Nimisha, C.S.; Rao, G.M.; Munichandraiah, N.; Natarajan, G.; Cameron, D.C. Chemical and microstructural modifications in LiPON thin films exposed to atmospheric humidity. Solid State Ion. 2011, 185, 47–51. [Google Scholar] [CrossRef]
- Xia, H.; Wang, H.L.; Xiao, W.; Lai, M.O.; Lu, L. Thin film Li electrolytes for all-solid-state micro-batteries. Int. J. Surf. Sci. Eng. 2009, 3, 23–43. [Google Scholar] [CrossRef]
- Sallaz, V.; Oukassi, S.; Voiron, F.; Raphael, S.; Berardan, D. Assessing the potential of LiPON-based electrical double layer microsupercapacitors for on-chip power storage. J. Power Sources 2020, 451, 227786. [Google Scholar] [CrossRef]
- Gryzlov, D.Y.; Kulova, T.L.; Skundin, A.M.; Andreev, V.N.; Mel’nikov, V.P.; Kalinichenko, V.N. A Double Layer Supercapacitor for Wide Temperature Range. Electrochem. Energet. 2019, 19, 141–147. [Google Scholar] [CrossRef]
- Van-Jodin, L.L.; Claudel, A.; Secouard, C.; Sabary, F.; Barnes, J.-P.; Martin, S. Role of the chemical composition and structure on the electrical properties of a solid state electrolyte: Case of a highly conductive LiPON. Electrochim. Acta 2018, 259, 742–751. [Google Scholar] [CrossRef]
- Nie, K.; Hong, Y.; Qiu, J.; Yu, X.; Li, H.; Chen, L. Interfaces Between Cathode and Electrolyte in Solid State Lithium Batteries: Challenges and Perspectives. Front. Chem. 2018, 6, 616. [Google Scholar] [CrossRef]
- Chen, Y.; Wen, K.; Chen, T.; Zhang, X.; Armand, M.; Chen, S. Recent progress in all-solid-state lithium batteries: The emerging strategies for advanced electrolytes and their interfaces. Energy Storage Mater. 2020, 31, 401–433. [Google Scholar] [CrossRef]
- Liu, W.Y.; Fu, Z.W.; Qin, Q.Z. A “Lithium-Free” Thin-Film Battery with an Unexpected Cathode Layer. J. Electrochem. Soc. 2008, 155, A8–A13. [Google Scholar] [CrossRef]
- Okita, K.; Ikeda, K.; Sano, H.; Iriyama, Y.; Sakaebe, H. Stabilizing lithium plating-stripping reaction between a lithium phosphorus oxynitride glass electrolyte and copper thin film by platinum insertion. J. Power Sources 2011, 196, 2135–2142. [Google Scholar] [CrossRef]
- Motoyama, M.; Ejiri, M.; Yamamoto, T.; Iriyama, Y. In Situ Scanning Electron Microscope Observations of Li Plating/Stripping Reactions with Pt Current Collectors on LiPON Electrolyte. J. Electrochem. Soc. 2018, 165, A1338–A1347. [Google Scholar] [CrossRef]
Disclaimer/Publisher’s Note: The statements, opinions and data contained in all publications are solely those of the individual author(s) and contributor(s) and not of MDPI and/or the editor(s). MDPI and/or the editor(s) disclaim responsibility for any injury to people or property resulting from any ideas, methods, instructions or products referred to in the content. |
© 2023 by the authors. Licensee MDPI, Basel, Switzerland. This article is an open access article distributed under the terms and conditions of the Creative Commons Attribution (CC BY) license (https://creativecommons.org/licenses/by/4.0/).









