Enhancing Image Encryption with the Kronecker xor Product, the Hill Cipher, and the Sigmoid Logistic Map
Abstract
1. Introduction
Contribution of the Study
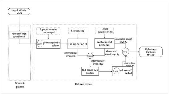
- This paper presents a novel image encryption method that combines the Hill Cipher, sigmoid logistic map, and Kronecker xor product matrix techniques. The sigmoid logistic map was modified in this method to generate complex pseudo-random numbers that are effective in encrypting images. By integrating these three techniques, the proposed image encryption method offers a new approach to digital encryption that has not been explored previously. The combination of the Hill Cipher, sigmoid logistic map, and Kronecker xor product matrix brings together a range of strengths to provide robust security for images. This contribution is expected to be a valuable addition to the field of image encryption.
- One contribution of this paper is the use of the Kronecker bitwise exclusive OR operation to make the image pixels more obscure and increase the size of the image. The Kronecker product of matrices is a well-known technique that is often used for digital watermarking, encryption, and compression. In this study, we adapted the Kronecker product approach by replacing the product operator with the xor operator, which generates extremely large and complex keys. These keys are then combined with the complex keys generated by the modified sigmoid logistic map through the xor operation. This contribution represents a new application of the Kronecker product and xor operator for image encryption and adds to the growing body of knowledge in this field.
- It is important to note that the Kronecker product used in this paper is the Kronecker xor product, not the Kronecker tensor product. The Kronecker xor product can significantly increase the size of the data being stored when used for encryption. While this additional storage space may be a consideration, it is essential to weigh this against the importance of protecting the sensitive information being stored. The Kronecker xor product is an effective method for ensuring that data is secure and not accessible to unauthorized parties.
- Another contribution of this paper is the thorough testing and evaluation of the encrypted image, which was performed and compared to other similar studies. The results of these tests suggest that the proposed image encryption method meets all the criteria for good encryption. The effectiveness of the proposed method was demonstrated through comparison with other techniques, providing confidence in its ability to secure images against potential threats.
2. Preliminaries
2.1. Logistic Map
2.2. Sigmoid Function
2.3. Kronecker Product
2.4. Hill Cipher
3. Design and Implementation of the Proposed Scheme
3.1. Image Scrambling
3.2. Diffusion of Image Pixels
3.3. Flowchart of the Encrypted System
3.4. Decryption Step for Proposed Algorithm
4. Simulation Results and Analysis
4.1. Key Space
4.2. Key Sensitivity
4.3. Noise and Data Loss Analysis
4.4. Differential Attack
4.5. Histogram
4.6. Information Entropy
4.7. Correlation
4.8. Peak Signal-to-Noise Ratio (PSNR) and Mean Square Error Analysis (MSE)
5. Conclusions
Author Contributions
Funding
Institutional Review Board Statement
Informed Consent Statement
Data Availability Statement
Conflicts of Interest
Appendix A
| Algorithm A1. Encryption Pseudo-code. |
| % Read an image from file P = imread(‘my_image.png’); % Perform the shift rows operation on the image shifted_image = shift_rows(P); function shifted_image = shift_rows(P) % Shift rows operation for an image % Determine the dimensions of the input image [height, width, channels] = size(P); % Check that the image can be divided into 4 × 4 blocks if mod(height, 4) ~= 0 || mod(width, 4) ~= 0 error(‘Image dimensions are not divisible by 4.’); end % Initialize the shifted image P = zeros(size(P)); % Iterate through each 4 × 4 block in the image for i = 1:4:height for j = 1:4:width % Extract the current 4 × 4 block block = P(i:i + 3, j:j + 3, :) % Shift each row to the left by its index minus 1 for k = 1:4 block(k,:) = circshift(block(k,:), [0, − (k − 1)]); end % Store the shifted block in the output image P(i:i + 3, j:j + 3, :) = block; end end For each odd column i: Let top_value_i = P [1][i] For each even column j corresponding to column i: If j > 1: For each row k: P[k][j] = P[k][j] XOR top_value_i For each even column i: Let top_value_i = P [1][i] For each odd column j corresponding to column i: If j > 1: For each row k: P[k][j] = P[k][j] XOR top_value_i % Divide the image into 4 × 4 blocks H’ = mat2cell(P, 4*ones(1,size(P,1)/4), 4*ones(1,size(P,2)/4)); % Encrypt each block using the Hill Cipher algorithm for i = 1:size(H’,1) for j = 1:size(H’,2) % Convert the block into a column vector v = reshape(H’{i,j}, [], 1); % Compute the product of the key matrix and the column vector c = mod(K*v, 256); % Convert the resulting column vector back into a 4 × 4 block K1{i,j} = reshape(c, size(H’{i,j})); end end % Concatenate the encrypted blocks to form the encrypted image E = cell2mat(K2); for i = 1:n % Generate new secret key value from sigmoid-logistic map x = r*x/(1 + e^x)*(1 − x/(1 + e6^x)); k2(i) = uint8(255*x); % Scale to 8-bit unsigned integer (0–255) end K4 = bitxor(K1, k2); // Apply Kronecker xor transformation to expand matrix K4 to size N^2 x N^2 K5= kron(K4, ones(N, N)); // Shift rows of M by NTH positions K5= circshift(K5, [N, 0]); // Apply bitwise exclusive OR operation to each element of M with other elements of M, keeping its value unchanged for i = 1:N^2 for j = 1:N^2 K5(i,j) = bitxor(K5(i,j), K5(mod(i + NTH-1, N^2) + 1, mod(j + NTH-1, N^2) + 1)); end end K3 = zeros(size(K5)); for i = 1:numel(K5) x = r*x/(1 + exp(x))*(1 − x/(1 + exp(e^x))); K3(i) = mod(round(x*256), 256); % modulo 256 to match the image data end % Load the K5 matrix load(‘K5.mat’); % assuming K5 is saved in a .mat file % XOR K5 with the sigmoid logistic keys k3 ciphertext = bitxor(K5, K3); |
| Algorithm A2. Decryption pseudo-code. |
| Input image C M->xor(C,key2) function M = inverseKroneckerxor(matrix M, int I) M = shiftRowsUp(M, I) M = contractMatrix(M) for i = 1 to M.numRows for j = 1 to M.numColumns M[i][j] = M[i][j] XOR M[i][j − 1] xor M[i − 1][j] xor M[i − 1][j − 1] return K4 end function numkeys = K4 function numKeys = inverseGenerateSecretKeys(secretKeys, numKeys) % Undo bitwise xor with secretKeyElements secretKeyElements = [1, 2, 3, 4]; keys = xor(secretKeys, secretKeyElements); % Use inverse logisticMap function to generate numKeys numKeys = inverseLogisticMap(keys); end state = numkeys; for i = 1:size(state, 1) for j = 1:size(state, 2) if i == 1 && j == 1 % Skip top-left value continue end if i == 1 % Handle top row if mod(j, 2) == 0 % Even column state(i, j) = xor(state(i, j), state(i, j − 1)); else % Odd column state(i, j) = xor(state(i, j), state(i + 1, j)); end else % Handle all other values if mod(j, 2) == 0 % Even column state(i, j) = xor(state(i, j), state(i, j − 1)); else % Odd column state(i, j) = xor(state(i, j), state(i−1, j)); end end end end end function state = inverseShiftRows(state) for i = 2:n-size % Shift rows 2-n-size P(i,:) = circshift(state(i,:), [0, −(i − 1)]); end end |
| IMAGE | SIZE | NPCR | UACI | ENTROPY | PSNR | MSE |
|---|---|---|---|---|---|---|
| LENA | 32 × 32 | 99.69120 | 33.41020 | 7.99650 | 8.93950 | 94.56743 |
| 64 × 64 | 99.62130 | 33.44530 | 7.99780 | 8.43100 | 94.24519 | |
| 128 × 128 | 99.60730 | 33.44770 | 7.90040 | 8.79068 | 96.54386 | |
| 256 × 256 | 99.6891 | 33.32720 | 7.89930 | 8.08182 | 98.56431 | |
| CAMERAMAN | 32 × 32 | 33.34790 | 7.90010 | 8.17186 | 105.90900 | |
| 64 × 64 | 99.58610 | 33.35810 | 7.99936 | 8.85879 | 105.99800 | |
| 128 × 128 | 99.69970 | 33.47560 | 7.90560 | 8.37410 | 107.85600 | |
| 256 × 256 | 99.99970 | 33.49106 | 7.90060 | 8.20933 | 107.98750 | |
| PEPPER | 32 × 32 | 99.58810 | 33.41230 | 7.99910 | 8.14837 | 94.67875 |
| 64 × 64 | 99.62570 | 33.34992 | 7.99540 | 8.55323 | 94.89750 | |
| 128 × 128 | 99.61949 | 33.49137 | 7.99610 | 8.96133 | 94.21672 | |
| 256 × 256 | 99.60714 | 33.45404 | 7.99730 | 8.43100 | 94.24519 | |
| BABOON | 32 × 32 | 99.57810 | 33.35140 | 7.89970 | 9.37974 | 99.90874 |
| 64 × 64 | 99.62429 | 33.48444 | 7.86610 | 9.43248 | 100.19087 | |
| 128 × 128 | 99.63179 | 33.31653 | 7.84320 | 9.27922 | 98.98765 | |
| 256 × 256 | 99.61445 | 33.46576 | 7.85460 | 9.12840 | 99.99876 | |
| RICE | 32 × 32 | 99.62432 | 33.30754 | 7.99930 | 9.02900 | 107.87650 |
| 64 × 64 | 99.63109 | 33.42864 | 7.99540 | 9.39561 | 105.98760 | |
| 128 × 128 | 99.60689 | 33.40145 | 7.90870 | 9.35469 | 101.15210 | |
| 256 × 256 | 99.62870 | 33.40266 | 7.99890 | 9.69764 | 105.90800 | |
| HOUSE | 32 × 32 | 99.63182 | 33.32305 | 7.91681 | 9.66016 | 133.87900 |
| 64 × 64 | 99.61221 | 33.48850 | 7.92955 | 9.88513 | 128.02300 | |
| 128 × 128 | 99.62649 | 33.90039 | 7.96809 | 9.22140 | 130.14300 | |
| 256 × 256 | 99.60129 | 33.59067 | 7.90526 | 9.32130 | 129.85400 |
References
- Ramasamy, P.; Ranganathan, V.; Kadry, S.; Damaševičius, R.; Blažauskas, T. An image encryption scheme based on block scrambling, modified zigzag transformation and key generation using Enhanced Logistic-Tent Map. Entropy 2019, 21, 656. [Google Scholar] [CrossRef] [PubMed]
- Hua, Z.; Jin, F.; Xu, B.; Huang, H. 2D Logistic-Sine-coupling map for image encryption. Signal Process. 2018, 149, 148–161. [Google Scholar] [CrossRef]
- Hénon, M. Numerical study of quadratic area-preserving mappings. Q. Appl. Math. 1969, 27, 291–312. [Google Scholar] [CrossRef]
- Phatak, S.C.; Rao, S.S. Logistic map: A possible random-number generator. Phys. Rev. E 1995, 51, 3670–3678. [Google Scholar] [CrossRef] [PubMed]
- Ravichandran, D.; Banu, S.A.; Murthy, B.; Balasubramanian, V.; Fathima, S.; Amirtharajan, R. An efficient medical image encryption using hybrid DNA computing and chaos in transform domain. Med Biol. Eng. Comput. 2021, 59, 589–605. [Google Scholar] [CrossRef] [PubMed]
- Pathak, B.; Pondkule, D.; Shaha, R.; Surve, A. Visual Cryptography and Image Processing Based Approach for Bank Security Applications. In Proceedings of the Second International Conference on Computer Networks and Communication Technologies, Coimbatore, India, 23–24 May 2019; Smys, S., Senjyu, T., Lafata, P., Eds.; Springer International Publishing: Cham, Switzerland, 2020; pp. 292–298. [Google Scholar] [CrossRef]
- Valandar, M.Y.; Ayubi, P.; Barani, M.J. A new transform domain steganography based on modified logistic chaotic map for color images. J. Inf. Secur. Appl. 2017, 34, 142–151. [Google Scholar] [CrossRef]
- Arab, A.A.; Rostami, M.J.B.; Ghavami, B. An image encryption algorithm using the combination of chaotic maps. Optik 2022, 261, 169122. [Google Scholar] [CrossRef]
- Babu, B.M. Image Encryption Using Chaotic Maps and DNA Encoding. J. Xidian Univ. 2020, 14. [Google Scholar] [CrossRef]
- Cun, Q.; Tong, X.; Wang, Z.; Zhang, M. Selective image encryption method based on dynamic DNA coding and new chaotic map. Optik 2021, 243, 167286. [Google Scholar] [CrossRef]
- Zhu, X.; Liu, H.; Liang, Y.; Wu, J. Image encryption based on Kronecker product over finite fields and DNA operation. Optik 2020, 224, 164725. [Google Scholar] [CrossRef]
- Wang, X.; Su, Y. Image encryption based on compressed sensing and DNA encoding. Signal Process. Image Commun. 2021, 95, 116246. [Google Scholar] [CrossRef]
- Zhang, D.; Liao, X.; Yang, B.; Zhang, Y. A fast and efficient approach to color-image encryption based on compressive sensing and fractional Fourier transform. Multimedia Tools Appl. 2017, 77, 2191–2208. [Google Scholar] [CrossRef]
- Sun, X.; Shao, Z.; Shang, Y.; Liang, M.; Yang, F. Multiple-image encryption based on cascaded gyrator transforms and high-dimensional chaotic system. Multimedia Tools Appl. 2021, 80, 15825–15848. [Google Scholar] [CrossRef]
- Wang, X.; Gao, S. Image encryption algorithm for synchronously updating Boolean networks based on matrix semi-tensor product theory. Inf. Sci. 2020, 507, 16–36. [Google Scholar] [CrossRef]
- Essaid, M.; Akharraz, I.; Saaidi, A.; Mouhib, E.A. Image encryption scheme based on a new secure variant of Hill cipher and 1D chaotic maps. J. Inf. Secur. Appl. 2019, 47, 173–187. [Google Scholar] [CrossRef]
- Duan, H.; Pang, X. A multivariate grey prediction model based on energy logistic equation and its application in energy prediction in China. Energy 2021, 229, 120716. [Google Scholar] [CrossRef]
- Ridout, M.S.; Cole, D.J.; Morgan, B.J.T.; Byrne, L.J.; Tuite, M.F. New Approximations to the Malthusian Parameter. Biometrics 2006, 62, 1216–1223. [Google Scholar] [CrossRef] [PubMed]
- Wang, J.; Liu, L.; Xu, M.; Li, X. A novel content-selected image encryption algorithm based on the LS chaotic model. J. King Saud Univ. - Comput. Inf. Sci. 2022, 34, 8245–8259. [Google Scholar] [CrossRef]
- Wang, X.; Liu, C.; Jiang, D. Visually meaningful image encryption scheme based on new-designed chaotic map and random scrambling diffusion strategy. Chaos, Solitons Fractals 2022, 164, 112625. [Google Scholar] [CrossRef]
- Wang, X.; Wang, X.; Teng, L.; Jiang, D. A novel meaningful image encryption algorithm based on newly-designed coupled map lattice and adaptive embedding. Optik 2022, 270, 170073. [Google Scholar] [CrossRef]
- Teng, L.; Wang, X.; Xian, Y. Image encryption algorithm based on a 2D-CLSS hyperchaotic map using simultaneous permutation and diffusion. Inf. Sci. 2022, 605, 71–85. [Google Scholar] [CrossRef]
- Datta, L. A Survey on Activation Functions and their relation with Xavier and He Normal Initialization. arXiv 2020, arXiv:2004.06632. [Google Scholar] [CrossRef]
- Henderson, H.; Pukelsheim, F.; Searle, S.R. On the history of the kronecker product. Linear Multilinear Algebra 1983, 14, 113–120. [Google Scholar] [CrossRef]
- Christensen, C. Lester Hill Revisited. Cryptologia 2014, 38, 293–332. [Google Scholar] [CrossRef]
- Hill, L.S. Cryptography in an Algebraic Alphabet. Am. Math. Mon. 1929, 36, 306. [Google Scholar] [CrossRef]
- Hidayat, T.; Mahardiko, R. A Systematic Literature Review Method On AES Algorithm for Data Sharing Encryption On Cloud Computing. Int. J. Artif. Intell. Res. 2020, 4, 49–57. [Google Scholar] [CrossRef]
- Carlson, A.; Gang, G.; Gang, T.; Ghosh, B.; Dutta, I.K. Evaluating True Cryptographic Key Space Size. In Proceedings of the 2021 IEEE 12th Annual Ubiquitous Computing, Electronics & Mobile Communication Conference (UEMCON), New York, NY, USA, 1–4 December 2021; IEEE: New York, NY, USA, 2021; pp. 0243–0249. [Google Scholar] [CrossRef]
- Wang, X.; Liu, H. Cross-plane multi-image encryption using chaos and blurred pixels. Chaos, Solitons Fractals 2022, 164, 112586. [Google Scholar] [CrossRef]
- Zhang, X.; Wang, X. Multiple-image encryption algorithm based on DNA encoding and chaotic system. Multimed. Tools Appl. 2018, 78, 7841–7869. [Google Scholar] [CrossRef]
- Zhou, N.; Yan, X.; Liang, H.; Tao, X.; Li, G. Multi-image encryption scheme based on quantum 3D Arnold transform and scaled Zhongtang chaotic system. Quantum Inf. Process. 2018, 17, 338. [Google Scholar] [CrossRef]
- Zhang, X.; Wang, X. Multiple-image encryption algorithm based on mixed image element and chaos. Comput. Electr. Eng. 2017, 62, 401–413. [Google Scholar] [CrossRef]
- Zhao, H.; Wang, S.; Wang, X. Fast image encryption algorithm based on multi-parameter fractal matrix and MPMCML system. Chaos, Solitons Fractals 2022, 164, 112742. [Google Scholar] [CrossRef]
- Patro, K.A.K.; Acharya, B. A novel multi-dimensional multiple image encryption technique. Multimedia Tools Appl. 2020, 79, 12959–12994. [Google Scholar] [CrossRef]
- Zhou, S.; Wang, X.; Zhang, Y.; Ge, B.; Wang, M.; Gao, S. A novel image encryption cryptosystem based on true random numbers and chaotic systems. Multimedia Syst. 2021, 28, 95–112. [Google Scholar] [CrossRef]
- Zheng, J.; Zeng, Q. The unified image encryption algorithm based on composite chaotic system. Multimedia Tools Appl. 2022, 1–20. [Google Scholar] [CrossRef]
- Wang, X.; Zhang, M. An image encryption algorithm based on new chaos and diffusion values of a truth table. Inf. Sci. 2021, 579, 128–149. [Google Scholar] [CrossRef]
- Zhang, Y.-Q.; Hao, J.-L.; Wang, X.-Y. An Efficient Image Encryption Scheme Based on S-Boxes and Fractional-Order Differential Logistic Map. IEEE Access 2020, 8, 54175–54188. [Google Scholar] [CrossRef]
- Gao, X. Image encryption algorithm based on 2D hyperchaotic map. Opt. Laser Technol. 2021, 142, 107252. [Google Scholar] [CrossRef]
- Srivastava, R.; Singh, O.P. Performance Analysis of Image Encryption Using Block Based Technique. Int. J. Adv. Res. Electr. Electron. Instrum. Eng. 2015, 4, 4266–4271. [Google Scholar]













| Algorithm | Average | Lena | Lena | Lena | ||||
|---|---|---|---|---|---|---|---|---|
| NPCR | 99.62314 | 99.6073 | 99.6213 | 99.6912 | 99.5861 | 99.6639 | 99.6541 | 99.5781 |
| UACI | 33.3955 | 33.4477 | 33.4213 | 33.4102 | 33.3896 | 33.3581 | 33.4123 | 33.3514 |
| Algorithm | Proposed | Ref [33] | Ref [32] | Ref [34] | Ref [35] | Ref [36] |
|---|---|---|---|---|---|---|
| NPCR | 99.62314 | 99.6094 | 99.62 | 99.6273 | 99.6101 | 99.60 |
| UACI | 33.3955 | 33.4635 | 33.50 | 33.4691 | 33.45.93 | 33.45 |
| Algorithm | Lena | Lena | |||||
|---|---|---|---|---|---|---|---|
| Plain Image | 6.4971 | 6.4512 | 6.7457 | 7.3801 | 7.5264 | 6.5335 | 7.5468 |
| Encrypted image | 7.9981 | 7.9978 | 7.9991 | 7.9954 | 7.9991 | 7.8546 | 7.9989 |
| Proposed (Average) | Ref [19] | Ref [29] | Ref [33] | Ref [35] | Ref [37] | Ref [38] | |
|---|---|---|---|---|---|---|---|
| Entropy | 7.9992 | 7.999284 | 7.9022 | 7.996513 | 7.9977 | 7.9970 | 7.9974 |
| Image | Plaintext | Ciphertext | Average | ||||
|---|---|---|---|---|---|---|---|
| Horizontal | Vertical | Diagonal | Horizontal | Vertical | Diagonal | ||
| House(128 × 128) | 0.9507 | 0.9396 | 0.9058 | −0.0001 | −0.0085 | 0.0009 | −0.0025 |
| Cameraman(64 × 64) | 0.8908 | 0.9315 | 0.8443 | 0.0056 | −0.0075 | 0.0159 | 0.0047 |
| Lena (128 × 128) | 0.8988 | 0.8573 | 0.9481 | 0.0049 | −0.0022 | −0.0042 | −0.00053 |
| Ref [29] | - | - | - | 0.001136 | 0.00080 | 0.00147 | 0.00113 |
| Ref [30] | - | - | - | 0.002225 | 0.003075 | 0.001625 | 0.00230 |
| Ref [39] | - | - | - | 0.0021 | 0.0029 | 0.0023 | 0.00243 |
| Cameraman | Lena | Pepper | Rice | House | |
|---|---|---|---|---|---|
| MSE | 107.856 | 89.2446 | 94.24519 | 101.1521 | 130.143 |
| PSNR | 8.3741 | 8.5655 | 8.4310 | 9.3546 | 9.2214 |
Disclaimer/Publisher’s Note: The statements, opinions and data contained in all publications are solely those of the individual author(s) and contributor(s) and not of MDPI and/or the editor(s). MDPI and/or the editor(s) disclaim responsibility for any injury to people or property resulting from any ideas, methods, instructions or products referred to in the content. |
© 2023 by the authors. Licensee MDPI, Basel, Switzerland. This article is an open access article distributed under the terms and conditions of the Creative Commons Attribution (CC BY) license (https://creativecommons.org/licenses/by/4.0/).
Share and Cite
Mfungo, D.E.; Fu, X.; Wang, X.; Xian, Y. Enhancing Image Encryption with the Kronecker xor Product, the Hill Cipher, and the Sigmoid Logistic Map. Appl. Sci. 2023, 13, 4034. https://doi.org/10.3390/app13064034
Mfungo DE, Fu X, Wang X, Xian Y. Enhancing Image Encryption with the Kronecker xor Product, the Hill Cipher, and the Sigmoid Logistic Map. Applied Sciences. 2023; 13(6):4034. https://doi.org/10.3390/app13064034
Chicago/Turabian StyleMfungo, Dani Elias, Xianping Fu, Xingyuan Wang, and Yongjin Xian. 2023. "Enhancing Image Encryption with the Kronecker xor Product, the Hill Cipher, and the Sigmoid Logistic Map" Applied Sciences 13, no. 6: 4034. https://doi.org/10.3390/app13064034
APA StyleMfungo, D. E., Fu, X., Wang, X., & Xian, Y. (2023). Enhancing Image Encryption with the Kronecker xor Product, the Hill Cipher, and the Sigmoid Logistic Map. Applied Sciences, 13(6), 4034. https://doi.org/10.3390/app13064034

