Abstract
The construction industry consumes a substantial amount of resources. The associated environmental degradation and accelerating biodiversity loss highlight the urgent need for sustainable building materials that can match the performance of conventional alternatives. The objective of this experimental study was to investigate a fully reused, binder-free earth-based material that remains recyclable after its useful life. The material consists of smectite-rich excavation earth and processed demolition waste in a 2:1 ratio, which was compacted under high pressures and subsequently tested to evaluate its mechanical properties. Cylindrical specimens were fabricated via double-ended uniaxial compaction at pressures ranging from 12.5 to 100 MPa and consolidation times between 1 s and 30 min. They were then tested for their compressive strength and water durability. The findings indicate a strong positive correlation between compaction pressure, density, and compressive strength. A compressive strength of 19.2 MPa was reached by specimens that were compacted at 100 MPa for 30 min, achieving values comparable to standard C20/25 concrete. Despite an increase in strength, water durability decreased with increasing compaction pressure but improved with higher molding water content, possibly due to changes in the microstructure. The findings confirm that compressed earth can reach similar compressive strength to conventional materials with a significantly smaller ecological footprint.
1. Introduction
The present system of the construction industry has been found to greatly surpass the ecological limits of our planet by consuming more resources than the Earth can sustainably provide. However, a substantial transformation is necessary to overcome the numerous challenges that have emerged, not least as a consequence of this unsustainable practice. As stated in the Global-Status-Report 2024/25, the buildings and construction sector is currently far from meeting its 2030 and 2050 climate targets. Conventional materials such as cement and steel remain a significant source of emissions, contributing 18% to the sector’s global carbon footprint. To realign with the 2030 targets, the report posits that annual emissions would need to be reduced by 10.8%, which is more than double the rate originally targeted [1].
The implementation of a well-functioning and practiced circular economy, the reduction in the ecological footprint, while ensuring affordability are the key objectives that must be addressed in the building sector. Earth has a combination of several positive properties, making it a promising construction material of the future due to its potentially low embodied energy, full recyclability, non-toxic nature and hygroscopic qualities. A widespread, high availability ensures affordable prices [2,3]. Despite the revival of earth construction in recent years, further innovations are still needed to bring earth materials into a position where they can compete with conventional, environmentally harmful alternatives. Particularly the water durability and strength of load bearing earthen building materials show the greatest need for innovation. However, improving these properties would have a considerable leverage effect, possibly marking a positive tipping point that would enable their widespread use, also in urban areas.
In many parts of the world, it is common practice to stabilize earth with cementitious binders to increase water resistance and stability [4]. Unfortunately, this causes a reduction in the most beneficial properties, such as climate compatibility, the potential for unproblematic recycling and its moisture buffering capacity [5,6,7]. Accordingly, there has been a growing focus on finding alternative stabilization methods in recent decades [8], with biopolymers receiving particular attention. However, their widespread use is constrained by high production costs, primarily driven by the energy-intensive extraction process [9].
Another procedure that has been demonstrated to enhance the strength of earth materials is the process of compacting them into solid compressed earth blocks (CEB). The theoretical premise is that densification minimizes porosity and forces a closer packing of particles, thereby creating a microstructure comparable to sedimentary rocks. A higher dry bulk density of CEB is generally associated with higher strength [10]. Bruno et al. (2017) [11] have investigated a novel approach by increasing the compaction pressure and consolidation time to higher levels than typically employed in the production of CEB. They demonstrated that increasing the compaction pressure can considerably enhance the compressive and flexural strength of compressed earth blocks. In their research, they explored compaction pressures reaching up to 250 MPa and found that a pressure of 100 MPa in combination with a consolidation time of 20 min was most beneficial. CEB compacted with these settings achieved a compressive strength of 14.6 MPa comparable to that of fired bricks, but with much lower energy demand [11]. Nevertheless, subsequent studies [12,13] have shown that hypercompaction neither improves water resistance nor can it compensate for a poorly graded earth mix. Both studies investigated ideal mixtures for the production of CEB with mainly kaolinite or illite clay minerals. Although [13] additionally compared a variant that was modified by the addition of sand aggregate. Consequently, the central research gap lies in the development of a sustainable but mechanically resistant earthen building material, while keeping its outstanding inherent qualities. The term “hypercompaction” was introduced by [11] and refers to a compaction pressure for producing CEBs that exceeds the pressure range commonly used in the industry. The grain size distribution of the raw earth mix used in this study was found to be unsuitable for CEB production (see 2.1.1), necessitating a modification, which was achieved by the addition of processed construction debris. Previous research supports this approach. For example, Ref. [14] demonstrated that modifying earth with construction and demolition waste, such as crushed brick and concrete, significantly increases the compressive strength and reduces swelling behavior of clays. This was anticipated to be particularly beneficial for mitigating the unfavorable swelling behavior of the smectite-rich raw earth used in this study. However, this modification alone proved insufficient in achieving adequate water durability in the samples of this study.
Smectites are very common clay minerals with an expandable interlayer space that allows water molecules and exchangeable cations to penetrate, resulting in pronounced swelling upon wetting and shrinkage during drying [15], potentially compromising the structural integrity of earth construction. Despite the wide availability of loam, its diverse compositions render many raw mixtures unsuitable for CEB production [10,16]. Even though [13] have previously analyzed mixtures with unfavorable particle size distributions, the effect of hypercompaction on a smectite rich clay fraction modified with demolition waste has not yet been investigated.
Building on this background, the present study follows an experimental approach to demonstrate the potential of materials that are generated in large quantities by the industry but are commonly discarded in landfills. With an annual output estimated at two billion tons, construction waste accounts for approximately one third of the total global waste [1]. Consequently, the specimens of this research are entirely composed of recycled or reused components: two-thirds raw earth (excavation debris containing clay) and one-third processed construction waste. No additional binding agents were used.
The incorporation of excavation material into earth construction does offer a number of environmental benefits, including the potential of reducing transport distances and the repurposing of a resource that is typically landfilled rather than put to use. For instance, Ref. [17] identified long transport routes as a key contributor to elevated CO2 emissions in new construction. Ultimately, it could help to lower the overall energy footprint of building materials. Historically, the use of excavated material was a common practice [18] and various model projects suggest that this approach could once again be a viable solution today [19,20].
The study pursues three main objectives: (i) to investigate how hypercompaction affects an earth mixture with a high smectite content, which is generally considered unsuitable for conventional CEB; (ii) to investigate the potential of fully recycled raw materials for competitive building products; and (iii) to gain a deeper understanding of the double-sided uniaxial compaction process for earth compaction at elevated pressures by analyzing the relationship between compaction pressure, water distribution in young compacts, and their molding water content, as well as by comparing press power consumption with the compressive strength of conditioned compacts. Together, these objectives aim to experimentally investigate the potential of hypercompacted reused earth as a viable, sustainable alternative to conventional building materials.
2. Materials and Methods
In this research, the compressive strength and water durability of the hypercompacted earth were tested to evaluate its performance. A schematic overview of the experimental program and the methodology is presented in Figure 1.
Figure 1.
Schematic overview of the experimental program: material processing, specimen fabrication via hypercompaction, and testing methods.
2.1. Materials
The raw earth was sourced from a depth of approximately 20 m during the construction of the U5 subway line at Reinprechtsdorfer Straße 14, 1050 Vienna. This soil, locally known as Viennese Tegel, is a mostly gray, marly loam that deposited as marine sediment in the Vienna Basin between 5 and 16 million years ago during the Paratethys and Pannonean Sea [21].
Raw Material Characterization and Modification
According to the current scientific consensus, the analysis of the physical properties (see Figure 2) suggests that the raw earth material is unsuitable for CEB production (as discussed in [6,22,23,24,25,26,27]). In particular, the high proportion of fine particles can have a negative impact on water resistance, frost resistance and strength. An elevated clay content also leads to greater water absorption and associated swelling, which can compromise the structural integrity of the compressed earth.
Figure 2.
The diagram presents the grain size distribution for the raw earth and modified earth mixtures, as well as the recommended range for CEB according to the guidelines by (a) AFNOR [23], (b) CraTerre [24], (c) MOPT [25], and (d) Houben and Guillaud [26].
The determination of the grain size distribution revealed that the raw material consists predominantly of fine particles, with the largest grains measuring 0.5 mm. The fine fraction, smaller than 0.063 mm was analyzed by sedimentation, while larger particles were measured through sieving, following ISO 17892-4 standard [28]. The particle composition of the material is dominated by silt, with significant amounts of clay and minimal sand content. The increasing proportion of fine particles leads to increased water absorption and swelling. A high moisture content in earth construction can be directly correlated with reduced stability [29,30]. The consistency limits of the fine particles determined in accordance with ISO 17892-12 [31] were then used to classify the soil as low plasticity clay (ClL), as specified by ISO 14688-2 [32]. A semi-quantitative XRD analysis of the clay fraction revealed a high proportion of smectite, slightly more than half, along with a quarter of illite and smaller amounts of kaolinite and chlorite. Part of the kaolinite showed signs of extensive weathering. Please refer to Table 1 for a comprehensive overview of the raw earth properties.
Table 1.
Material characterization: summary of raw earth properties.
Smectites are 2:1 clay minerals where chemical substitutions can appear in both the octahedral and tetrahedral sheets, resulting in a negative layer charge. The charge is balanced by exchangeable cations between layers. In comparison to other clay minerals, such as illite, the negative surface charge of smectite remains relatively low. This allows hydrated cations to enter the interlayer space and expand the lattice, as the bonding forces between the layers and cations are weaker [15].
Collectively, this mechanism, in conjunction with the substantial specific surface area, are the fundamental reasons for the significant swelling behavior of smectite. Swelling and shrinking by drying can be problematic in earthen building materials, as the resulting volume changes lead to internal tension, potentially compromising its structural integrity [16].
In order to compensate for the unfavorable grain size distribution this study modified the raw earth with an aggregate to bring it closer to the established recommendations. Although sand is commonly used for this purpose, its mining can cause serious environmental damage, including habitat destruction and soil erosion [33]. A core constraint of the experimental setup was the exclusive utilization of reused materials, thereby intentionally avoiding any primary raw materials in the mixture. Consequently, a more environmentally friendly approach was applied by using demolition waste instead. Which was kindly provided by Altlastensanierung und Abraumdeponie Langes Feld GmbH and consists of an unsorted mixture of fired bricks, mortar and concrete, as it is typically discarded on construction sites and deposited in landfills. However, the material is unsorted and may also contain glass and traces of plastic and wood. The mixture is primarily composed of brick debris, accounting for approximately 70–80% of the total mass. The remaining part consists of concrete and mortar, with minor fragments of glass and organic material.
For the purpose of this study, the waste was crushed to particles smaller than 2 mm using a Retsch BB200 jaw crusher. Any particles larger than 2 mm were sieved out, after which the remaining grains were washed through a 63 µm sieve until the water came out clear. Floating plastic or wood could be easily removed through skimming during this step, resulting in an aggregate largely free of organic matter. After drying at 105 °C for 1–2 h, the material was separated into five fractions of grain sizes and recombined in equal parts to ensure a consistently graded composition with grain sizes between 0.063 mm and 1 mm. The processed demolition waste is shown in Figure 3. The analysis of the grading curve indicated that the most promising parameter was a 1:2 ratio of processed demolition waste to raw earth. This modification reduced the clay content to 17.2%, a value considered suitable for CEB production. Although the particle size distribution is, with modification, still not fully within the recommended bands by [23,24,25], it can be considered well-graded. Reference [13] demonstrated that gap-graded mixtures showed lower water durability than well-graded ones, even when the grain size distribution of a well-graded mixture did not fall within the ideal band.
Figure 3.
The crushed and washed demolition waste after drying.
Despite the findings of prior studies [34,35], that demonstrated the potential of the finest particles of crushed fired brick and concrete to enhance the compressive and flexural strength of compressed earth, it was decided to remove them for the purpose of this study. This involved a trade-off between optimizing material properties and sustainability. Driven by the goal of promoting circularity, the fine grain fractions were removed to allow the demolition waste to fully replace sand as a primary resource and correct the grain size distribution towards a more favorable composition. This stands in contrast to [35], which tested a similar grain size distribution of the raw material but relied on substantial sand additions and used crushed brick only as a minor supplement.
2.2. Methods
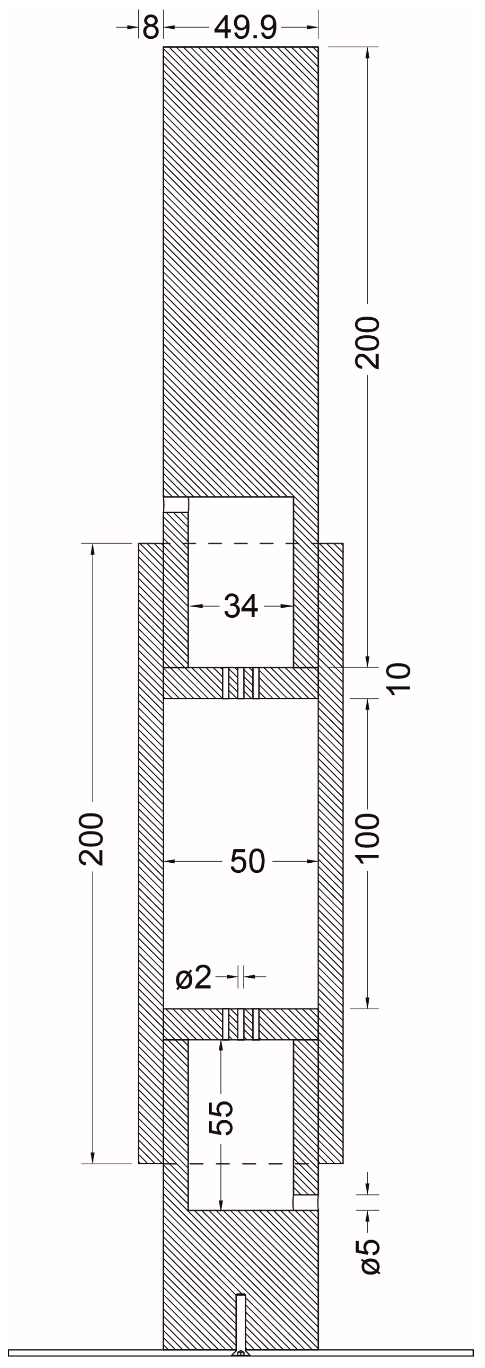
Cylindrical samples made from unstabilized earth are statically compacted at four pressure levels and three separate consolidation times. Then they were conditioned and tested to assess their compressive strength in a series of six and their resistance to water in an immersion test in a series of three, as specified in DIN 18945 [36]. The test specimens with dimensions of 50 mm in diameter and 100 mm in height are compacted using a ZwickRoell Z250 testing machine and a steel mold. The mold consists of a steel tube with an 8 mm wall thickness and a 50 mm inner diameter, into which the loose earth material is filled. Two precisely fitting pistons (spacing: 1/10 mm), one positioned at the top and the other at the bottom, hold the material and compress it into a compact cylinder. This technique is referred to as double-ended uniaxial compaction, in which friction between the mold walls and the sample material is minimized, thereby fostering uniform compaction. One of the pistons is longer, which facilitates the demolding of the young compact by simply pushing it out of the tube. To ensure an easy escape of air and water during consolidation, perforated disks are placed between the pistons and the sample material. Each disk has six 2 mm holes at its center, which has proven to be sufficient for the compressive strength testing series due to the relatively low moisture content of the material at its respective optimum water content (OWC). However, the drainage proved to be insufficient to also test extreme molding water contents in the immersion test series. In order to prevent clogging by fine particles, filter paper is used on both sides of each disk. Additionally, three stainless steel sieves with a mesh size of 63 µm are used on the side that faces the sample to support the filter paper during high pressure. Refer to Figure 4 and Figure 5 for a more comprehensive overview of the setup.
Figure 4.
Setup of the steel mold.
Figure 5.
Section of the steel mold. Dimensions in millimeter.
The raw earth material was dried at 55 °C in an oven, then manually mixed with water and processed construction waste in 450 g batches until the mixture appeared homogeneous. Afterwards, the material was placed in sealed plastic bags and stored inside a closed container to prevent any evaporation. They were then set aside for a minimum of 24 h to facilitate equalization. It has been demonstrated that the required material weight for a 100 mm high specimen can be calculated accurately, with a tolerance of ±0.3 mm, particularly when the density at OWC is known. This eliminates the need for the circuitous and error-prone process of cutting specimens to the desired size. In addition, compaction from both sides ensures that the end faces of the specimens are precisely parallel to the highly accurate supports of the press (testing machine).
Subsequently, the mold is filled with the expected weight for the given setting using a funnel and tamped manually with a wooden stick. After preparation, it is mounted onto the press and the mechanical compaction process is started. Initially, the press operates in displacement-controlled mode, applying force at a rate of 0.5 mm/s until a pressure of 2 MPa is reached. Upon reaching this pressure, the system switches to pressure-controlled mode, where the pressure is increased at a rate of 0.5 MPa/s until the target value is reached and held for a predetermined duration. In this study, the compaction rate is considerably slower than the 2 MPa/s of previous studies by [11,37], to ensure full process control.
Companies that produce CEB in accordance with the DIN 18945 [36] standard typically use a compaction pressure of approximately 12.5 MPa. Consequently, this pressure was selected as a reference value. In addition, three higher compaction pressures were investigated, which corresponded to a doubling: 25 MPa, 50 MPa, and 100 MPa. To investigate the influence of the consolidation time, three different settings were used: 30 min, 3 min and 1 s of consolidation at a constant pressure level. The consolidation time was measured from the moment at which the target pressure was reached. The 30 min were defined as a reference value based on previous studies [11] and analysis of the OWC determination series (see Figure 6).
Figure 6.
Compaction curves at 12.5, 25, 50, and 100 MPa, as well as modified Proctor (MPT). At Sr = 1 the pores are fully saturated, indicating that 100% of the pore volume is filled with water.
2.3. Determining the Optimum Water Content (OWC)
The OWC is the water content of a grain mixture at which compaction is most favorable and results in the highest dry density at a specific compaction effort [38]. Note that a higher dry density is associated with greater strength [10]. First, the OWC for each compaction pressure was determined after 60 min of consolidation. Based on the findings of previous studies [11], it was assumed that primary consolidation and a significant part of secondary consolidation are completed after this time.
Immediately after compaction, the young compacts were weighed, measured and dried at 105 °C until reaching constant mass. Constant mass was defined based on DIN 18945 [36] when two successive weights at 24 h intervals differ by no more than 0.2% of the smaller value. The dry bulk density was determined by using the mass of the dried samples and the volume of the freshly compacted samples and represented graphically in curves. As the compaction effort increases, the density grows, while the respective OWC decreases. For comparison, the OWC for the modified Proctor was also determined for the same mixture. The grain density was calculated in accordance with DIN 18124 [39] using a pycnometer with a capillary plug at 2.73 g/cm3, which marks the theoretical point of no porosity.
Furthermore, the young compacts from this series were divided into five disks of 2 cm thickness in order to examine the water distribution within the samples, which allows for conclusions about the homogeneity of the compaction. For this purpose, the samples were first slightly scratched on the surface and then split with a thin metal sheet to prevent possible evaporation during sawing. The samples could be split evenly. The water content was determined as the quotient of the mass of the wet sample and the dry sample.
2.4. Determining the Compressive Strength
Prior to testing, the compacts were conditioned in a series of six at 23 °C and 50% RH until they reached a constant mass. To ensure failure of the test specimens within 30 to 90 s, as required by DIN 18945 for earth blocks [36], a test speed of 0.03 mm/s was selected for the 12.5 MPa series with the lowest density. For the specimens with the highest density from the 100 MPa series however, a test speed of 0.05 mm/s was chosen.
2.5. Determining the Water Durability
As a representative method to assess the water durability of the compressed earth material, an immersion test was conducted. The test specimens are submerged in water for 10 min, while their mass loss is recorded.
Greater compaction effort increases the density and strength of compressed earth but does not necessarily improve their water resistance as shown by [13,40]. While replicating the field conditions to which CEBs are exposed is challenging, DIN 18945 provides three standardized tests to determine the water resistance of earth blocks [36]. They are primarily used to evaluate the suitability of CEBs for construction sites and to ascertain their resistance to water from mortar or plaster. The Norm presupposes cuboid samples. However, it does not specify how different sample dimensions should be taken into account in the measured mass loss during an immersion test. This results in a systematic distortion: with identical material properties, larger specimens show a smaller absolute mass loss because they have a lower surface-to-volume ratio and thus relatively less surface area is exposed to water during a stress test. The test specimens of this study are cylindrical and significantly smaller than typical earth bricks. Consequently, the results of the immersion test cannot be directly associated with the DIN standard. Nevertheless, the samples of this study were tested under identical conditions and are therefore able to be compared. Secondly, the water resistance of the samples in this study was evaluated based on the methodology of [13], which also used the same specimen dimensions. Specifically, cylindrical samples with a diameter of 50 mm and a height of 50 mm were tested. To ensure consistency with the other test series in this research and to avoid reducing friction during compaction due to smaller sample heights, the compacts of this series were also produced with a height of 100 mm and subsequently cut in half.
In accordance with DIN 18945 [36] they were then conditioned to a stable mass at 23 °C and 50% RH. Afterwards, the specimens were weighed to determine their initial mass (mi) and then immediately submerged in a bucket filled with water. A wide steel mesh served as sample platform (see Figure 7), thereby enabling water exposure from all directions. The compacts were submerged for 10 min, during which their erosion was documented photographically. Then, the specimens were dried at 40 °C and subsequently reconditioned at 23 °C and 50% RH until constant mass. Now their final mass (mf) was measured, which can be used to calculate the percentage loss of mass using the following formula:
%Δm = ((mi − mf)/mi) × 100.
Figure 7.
The immersion test setup, with the specimen surrounded by water.
3. Results
The analysis of the water distribution of the OWC determination series immediately after demolding revealed an inhomogeneous distribution, caused by boundary friction between the mold and the earth. This finding suggests that the compaction may not have been uniform within the sample, leading to a higher porosity in the center.
In general, the water content was found to increase from the end faces A, B toward the center C (see Figure 8). This effect increased with rising molding water content (MWC) and decreased slightly with increasing compaction pressure. At the OWC of the 12.5 MPa-30 min-samples, the difference in water content between the outermost and middle disks was 1.2%. In contrast, for 100 MPa-30 min-samples, this difference shrank to 0.2%. The results suggest that this reduction is primarily due to the decreasing OWC associated with increasing compaction pressure.
Figure 8.
Water distribution of specimen compacted with 12.5 MPa for 60 min at its OWC (11.1%).
Furthermore, Figure 9 shows the vertical displacement during compaction at 100 MPa in relation to the consolidation time. After just a few minutes, the displacement rate slows down significantly, along with a slower density growth of the compact. Between 30 and 60 min, the change in displacement is only 0.1 mm, which is no longer aligned with the invested time and energy for compaction (compare Figure 9 and Figure 10 with the energy consumption presented in Section 3.4). Based on the minor displacement beyond 30 min and the disproportionate energy demand, a consolidation time of 30 min was defined as the feasible upper limit for the objectives of this study. Moreover, it is reasonable to assume that very long consolidation times are not practical in the industrial production of compressed earth.
Figure 9.
Typical curve of the vertical displacement of the press supports during consolidation for 60 min at 100 MPa. The dashed lines represent the markers for 50% of the vertical displacement relative to the 30-min reference point, as mentioned in the text.
Figure 10.
Typical curve of the displacement rate during consolidation for 60 min. The average (Ø) values correspond to the displacement rate over the prior minute.
3.1. Effect of Pressure on Compressive Strength
The findings indicate a substantial influence of compaction pressure on the compressive strength of compressed earth. As the compaction pressure increased, the compressive strength was found to be significantly enhanced. The increase in compressive strength between 12.5 MPa and 25 MPa was more pronounced, followed by a slight flattening at higher pressures (see Figure 11). Nevertheless, the overall growth in compressive strength with rising compaction pressure remained at a relatively high level. The samples that were compacted at 100 MPa for 30 min achieved the highest compressive strength among all test series, reaching 19.2 MPa, a value that is already in the scope of standard concrete. In comparison, the samples that were compacted at 12.5 MPa for 30 min achieved a compressive strength of 8.8 MPa. Moreover, the standard deviation increases with rising compression pressure.
Figure 11.
Compressive strength of specimens at different compaction pressures with a consolidation time of 30 min (series n = 6). Error bars represent the standard deviation.
It is worth noting that an inclined fracture surface was observed across the test specimen in approximately two-thirds of the cases (see Figure 12). Fracture patterns are influenced by numerous factors and are insufficiently investigated for compressed earth, making them a promising topic for future research.
Figure 12.
Failure pattern after compressive strength test in approximately two-thirds of the cases.
3.2. Effect of Consolidation Time on Compressive Strength
Additionally, this study found that the influence of a longer consolidation time on the increase in density and compressive strength of compressed earth becomes more pronounced, with increasing compaction pressure. At the lowest compaction pressure of 12.5 MPa, the effect was moderate: between a consolidation time of 1 s and 30 min, the compressive strength increased by 0.48 MPa. However, at an extended compaction pressure of 100 MPa, the observed increase was more pronounced: in this case, extending the consolidation time from 1 s to 30 min resulted in an increase in compressive strength of 4.22 MPa. Nevertheless, these improvements are coupled with a significantly higher energy demand (compare Figure 13 with the energy consumption presented in Section 3.4).
Figure 13.
Compressive strength of compacts compressed at different pressure levels in relation to consolidation time (series n = 6).
Furthermore, a comparison of the density of test specimens produced under varying parameters with their respective compressive strength revealed a constant, linear increase in compressive strength with increasing density (see Figure 14).
Figure 14.
Compressive strength of compacts in relation to their dry bulk density. The symbols ‘×’ represent the individual data points of the tested specimens.
3.3. Effect of Compaction Pressure on Water Durability
An analysis of the data from the immersion test showed that the water durability of all tested compacts was, in general, low. Moreover, the results indicated a trend: as compaction pressure increased, water resistance continued to decrease for specimens compacted at their OWC (see Figure 15). A second relationship was revealed between the molding water content (MWC) and water resistance. Even a small increase in MWC, by a few percent, with all other parameters unchanged, led to a substantial reduction in mass loss (see Figure 16). The MWC is defined as the water content at which the specimens are compacted. Figure 17 illustrates the test specimen prior to and following the 10-min immersion test.
Figure 15.
Mass loss of specimens during an immersion test (series n = min 3). The different colors represent the four compaction pressure levels (12.5, 25, 50, and 100 MPa), while the ‘×’ symbols are used to represent the mean values.
Figure 16.
Influence of molding water content (MWC) on water durability in an immersion test at different pressure levels (series n = min 3).
Figure 17.
A test specimen before and after the 10 min immersion test. The specimen shown experienced a mass loss of 51%.
3.4. Influence of Consolidation Time and Compaction Pressure on Energy Consumption
The used press (testing machine) functions based on the principle of a spindle press. Power demand increases proportionally with the compaction pressure. Once the desired compaction pressure is reached, the energy demand remains relatively constant (see Figure 18). At higher levels of compaction pressure, energy increases. Consequently, overall energy consumption increases substantially with longer consolidation times (see Figure 19). Therefore, applying higher compaction pressure appears to be more efficient than extending consolidation time.
Figure 18.
Power demand of the press and its control system in relation to the compaction pressure during specimen production for this research. The orange line represents the compaction pressure (in MPa), while the olive-green line denotes the power demand (in W).
Figure 19.
Total energy consumption of the press without its control system during compaction at different pressure levels.
4. Discussion
Double-ended compaction is commonly used in the industry for producing CEBs. It creates a more homogeneous density by reducing the friction between the mold walls and the earth [40]. However, the analysis of water distribution within the young specimens of this study, suggests that boundary friction between mold and moist earth during compaction causes a pressure gradation from the end faces toward the center (see Figure 8). As a consequence, water migrates into regions of lower pressure. It is hypothesized that the redistribution of water toward the center may result in increased porosity in these regions. This observation is particularly relevant in light of the better performance exhibited by the compacts with higher MWC in terms of water durability. The hypothesis is based on insights from studies of ceramic powder compaction, such as [41], which provides a detailed analysis of the influence of boundary friction during double-ended uniaxial compaction on the homogeneity of dry ceramic powder.
For the compressive strength tests of this study, compacts were produced at their respective OWC, which decreases with increasing compaction pressure. Consequently, it could be expected that the homogeneity within a compact should increase with higher compaction pressures, as the overall moisture is reduced. Nevertheless, in view of the present results, additional studies on this topic are necessary to precisely determine the influence of the MWC on the distribution of porosity within a CEB produced by double-ended compaction.
The evaluation of the consolidation behavior provides further insights. It indicated that at least 50% of the total displacement occurred within the first 3 min relative to the displacement after 30 min at all utilized compaction pressures. This is consistent with the observations reported by [11], who found that primary consolidation was completed after a few minutes. Moreover [11] demonstrated that both young modulus and compressive strength after hypercompaction increase with consolidation of up to 20 min, whereupon the growth rate significantly levels off. This indicates that the material’s stiffness and strength are mainly developed during primary consolidation within the first minutes, revealing the significance of sufficient, but not excessive consolidation time. However, from an industrial perspective, the necessity of even a few minutes of consolidation remains a significant limitation when compared to the fast cycle times of conventional CEB production.
Furthermore, the relationship between compaction pressure, dry density, and compressive strength was an important outcome. A clear positive correlation between increasing compaction pressure, dry density and compressive strength was seen (see Figure 14), which is consistent with the results reported in the literature [10,11,27,42]. A comparative analysis with previous studies indicates that the compressive strength of 19.2 MPa reached in this study surpasses both the 14.6 MPa reported by [11] for unstabilized hypercompacted earth under similar pressure levels and the typical compressive strength of cement stabilized CEB, which is usually below 10 MPa [6,10]. This performance is particularly noteworthy given that the raw material was initially considered unsuitable for CEB due to its extreme silt and high smectite content. It is reasonable to suggest that the modification of the raw earth with processed demolition waste contributed to the development of a more robust grain skeleton. However, the results implicate that this mechanical stability is likely attributable to a combination of grain structure and high compaction energy (pressure and consolidation time).
Ref. [43] also studied the influence of high compaction pressure on compressive strength, but reached in general much lower values than the present study. In their experimental series, the unstabilized specimens achieved a compressive strength of only 6.08 MPa, despite a much longer consolidation time of 3 h. They used a very different raw earth composition with a maximum grain size of 20 mm. Furthermore, they do not mention the exact physical properties or the clay mineral percentage of their mixture, which complicates the direct comparison.
Although longer consolidation provides significant gains in compressive strength, it limits feasibility on an industrial scale where consolidation times of only a few seconds are standard. However, specimens with a compressive strength of 14.99 MPa were produced in just 1 s of consolidation at 100 MPa. Given the substantial strength gains achieved by increasing pressure, it appears more feasible to increase the compaction pressure than to prolong consolidation time for industrial productivity. Nevertheless, it is reasonable to assume that there is an upper limit to the compaction pressure beyond which no further strength enhancement occurs. For example, previous research by [43] found that earth mixtures compacted at 200 MPa performed better than those at 400 MPa, because excessive pressures eventually lead to grain crushing, which compromises the material’s performance.
While improvements in strength are evident, the water durability of the material is more complex. The presence of smectite as the predominant clay mineral in CEBs might be directly related to poor water resistance, as its swelling potential in contact with water leads to expansion and degradation. Findings from this and previous studies [13,40] support the conclusion that hypercompaction does not enhance water resistance of a smectite-rich mix. On the contrary, the results of this research even identified a negative impact of increasing compaction pressure on water durability. This could also be attributed to the internal stress induced by the swelling behavior of smectite. While higher compaction effort increases dry bulk density, a denser bedding may offer less space for internal expansion during exposure to water, leading to structural failure. The findings indicate that hypercompaction and the modification of the raw earth with demolition waste may not directly lead to enhanced water durability for grain mixtures with elevated smectite content.
The authors of this study hypothesize that the observed improvement of the water durability with increasing MWC may be explained by a change in microstructure, as described by Wagner [38]. In [38] it is noted that clay platelets disperse more effectively at higher water contents, thus facilitating their alignment perpendicular to the maximum pressure, and consequently parallel to each other. This more efficient bedding results in a shift in the pore size distribution toward smaller pores [44]. This raises the hypothesis that smaller pores are less likely to intersect. In turn, this could make it more difficult for water to penetrate the material and thereby slow down erosion. Other studies, in a different context, have also found a clear correlation between MWC and water conductivity [44,45,46]. The higher the MWC, the lower the permeability. Despite the potential of this microstructural reorganization, the practical implementation remains a challenge. Testing higher MWCs at each pressure level was not feasible with the current setup. At higher MWCs fine material entered the space between piston and mold wall and resulted in high friction and blockage while demolding. This technical issue shows that while increasing MWC during hypercompaction might be a promising approach for increasing water durability, it requires further research into more efficient drainage and mold design.
In particular, future experimental setups could consider incorporating a vertical drainage system within the mold. A drainage layer composed of sintered metal, with protection from a thin perforated metal sheet, could facilitate pore water drainage along the entire specimen height during compaction. This modification would also facilitate an easy demolding of the young compact.
5. Conclusions
The present experimental study demonstrates that the hypercompaction of fully reused, binder-free earth material can produce a building material that can reach the compressive strength of standard concrete. These results could enable earth-based materials with a significantly smaller ecological footprint to compete with conventional, more climate-damaging building materials that consume large amounts of resources. Nevertheless, the water durability of the smectite-rich mixture remains low and even decreases with higher compaction pressure. Although compaction at a MWC on the wet side of optimum showed potential for improving water durability, possibly through a more favorable microstructural arrangement of the clay platelets, this study also highlights technical constraints that currently limit the production of specimens at higher MWCs.
- The results of this study suggest that the compressive strength of a recycled material could be greatly enhanced by compaction at elevated pressures of up to 100 MPa.
- The experiments showed that specimens compacted at 100 MPa for 30 min achieved a compressive strength of 19.2 MPa, which is significantly more than conventional CEB.
- Furthermore, longer consolidation times are beneficial for reaching greater strength, particularly at higher compaction pressures. However, long consolidation times may hinder industrial production, making the increase in the pressure more feasible.
- Moreover, the observed increase in density resulting from longer consolidation was accompanied by a significantly higher energy input. Energy consumption during long consolidation times is no longer proportional to the gained strength. Consequently, it seems more practical to enhance compaction pressure rather than extending consolidation time.
- Within the scope of this study, a consolidation time of 3 min was found to be most effective in terms of compressive strength, as a substantial part of the consolidation had already occurred by then. The specimens that were compacted for 3 min at 100 MPa achieved a compressive strength of 17.6 MPa.
- Despite the significant improvements in compressive strength, the water durability of the material with a smectite rich clay fraction remained limited. In fact, the water durability in an immersion test decreased with increasing compaction pressure.
- Nevertheless, a molding water content on the wet side of the optimum led to an improvement in water durability, which might be ascribed to the microstructure of the material and the organization of the clay platelets. These observations should be further investigated in future studies to better understand the mechanisms and optimize the properties of hypercompacted earth materials in relation to water.
- However, improved water durability has been associated with higher water content during compaction. At the same time, the higher MWC resulted in an uneven water distribution, potentially leading to a heterogeneous porosity within the compact. Future research should explore these relationships in greater depth, with emphasis on more efficient drainage during compaction.
- According to a classification based on DIN 18945 [36], the compacted earth material examined in this study is only suitable for interior walls or applications with rigorous structural weather protection due to its limited water resistance.
- All attempts to test mixtures with higher MWC than was used in this study were unsuccessful, mainly due to material entering between the pistons and mold, which resulted in numerous complications.
- From a sustainability perspective, the study highlights the great environmental and technical potential of this approach. Additionally, the exclusive use of recycled materials, excavation debris and processed demolition waste, supports the principles of a circular economy in construction.
Author Contributions
Conceptualization, S.A. and A.K.; methodology, S.A. and A.K.; validation, S.A., A.K. and E.S.; formal analysis, A.K.; investigation, S.A.; resources, E.S.; data curation, S.A.; writing—original draft preparation, S.A.; writing—review and editing, A.K. and E.S.; visualization, S.A.; supervision, A.K.; project administration, A.K. and E.S.; All authors have read and agreed to the published version of the manuscript.
Funding
This research received no external funding.
Institutional Review Board Statement
Not applicable.
Informed Consent Statement
Not applicable.
Data Availability Statement
The data presented in this study are available on request from the corresponding author.
Acknowledgments
The authors acknowledge TU Wien Bibliothek for financial support through its Open Access Funding Program.
Conflicts of Interest
The authors declare no conflicts of interest.
References
- United Nations Environment Programme. Global Status Report for Buildings and Construction 2024/2025: Not Just Another Brick in the Wall–The Solutions Exist; United Nations Environment Programme: Nairobi, Kenya; Paris, France, 2025. [Google Scholar] [CrossRef]
- Roswag, E. Lehm und Naturbaustoffe. In Building the Future: Maßstäbe des Nachhaltigen Bauens; Drexler, H., Ed.; Jovis: Berlin, Germany, 2012; pp. 221–235. [Google Scholar]
- Schroeder, H. Sustainable Building with Earth, 1st ed.; Springer International Publishing Imprint: Cham, Switzerland, 2016. [Google Scholar] [CrossRef]
- Bahar, R.; Benazzoug, M.; Kenai, S. Performance of compacted cement-stabilised soil. Cem. Concr. Compos. 2004, 26, 811–820. [Google Scholar] [CrossRef]
- Losini, A.; Grillet, A.; Bellotto, M.; Woloszyn, M.; Dotelli, G. Natural additives and biopolymers for raw earth construction stabilization—A review. Constr. Build. Mater. 2021, 304, 124507. [Google Scholar] [CrossRef]
- Reddy, B.; Latha, M.S. Influence of soil grading on the characteristics of cement stabilised soil compacts. Mater. Struct. 2014, 47, 1633–1645. [Google Scholar] [CrossRef]
- Rauch, M.; Kapfinger, O.; Sauer, M. Refined Earth: Construction & Design with Rammed Earth, 3rd ed.; DETAIL: München, Germany, 2022. [Google Scholar]
- Streit, E.; Liberto, T.; Kirchengast, I.; Korjenic, A. Mechanische Aktivierung von Lehm. Bauphysik 2023, 45, 35–43. [Google Scholar] [CrossRef]
- Rashidi, A.R.; Azelee, N.I.W.; Zaidel, D.N.A.; Chuah, L.F.; Bokhari, A.; El Enshasy, H.A.; Dailin, D.J. Unleashing the potential of xanthan: A comprehensive exploration of biosynthesis, production, and diverse applications. Bioprocess Biosyst. Eng. 2023, 46, 771–787. [Google Scholar] [CrossRef] [PubMed]
- Reddy, B.V.V. Compressed Earth Block and Rammed Earth Structures. In Springer Transactions in Civil and Environmental Engineering, 1st ed.; Springer Singapore Pte. Limited: Singapore, 2022. [Google Scholar] [CrossRef]
- Bruno, A.W.; Gallipoli, D.; Perlot, C.; Mendes, J. Mechanical behaviour of hypercompacted earth for building construction. Mater. Struct. 2017, 50, 1–15. [Google Scholar] [CrossRef]
- Muguda, S.; Lucas, G.; Hughes, P.; Augarde, C.; Cuccurullo, A.; Bruno, A.W.; Perlot, C. Advances in the Use of Biological Stabilisers and Hyper-compaction for Sustainable Earthen Construction Materials, in Earthen Dwellings and Structures. In Springer Transactions in Civil and Environmental Engineering; Walker, P., Reddy, B.V.V., Mani, M., Eds.; Springer: Singapore, 2019; pp. 191–201. [Google Scholar] [CrossRef]
- Cuccurullo, A.; Gallipoli, D.; Bruno, A.W.; Augarde, C.; Hughes, P.; La Borderie, C. Influence of particle grading on the hygromechanical properties of hypercompacted earth. J. Build. Pathol. Rehabil. 2019, 5, 1–9. [Google Scholar] [CrossRef]
- Cabalar, A.F.; Abdulnafaa, M.D.; Karabash, Z. Influences of various construction and demolition materials on the behavior of a clay. Environ. Earth Sci. 2016, 75, 1–841. [Google Scholar] [CrossRef]
- Hesse, R.; Gaupp, R. Diagenese Klastischer Sedimente, 1st ed.; Springer: Berlin/Heidelberg, Germany, 2021. [Google Scholar] [CrossRef]
- Minke, G. Building with Earth: Design and Technology of a Sustainable Architecture Fourth and Revised Edition, 4th ed.; Birkhäuser: Basel, Switzerland, 2021. [Google Scholar] [CrossRef]
- Weigert, M.; Melnyk, O.; Winkler, L.; Raab, J. Carbon Emissions of Construction Processes on Urban Construction Sites. Sustainability 2022, 14, 12947. [Google Scholar] [CrossRef]
- Feiglstorfer, H. Earth Construction & Tradition: Vol 2; IVA-Verlag: Vienna, Austria, 2018. [Google Scholar]
- Barbier, S.; Paris, J.-C. Dossier de Presse Cycle Terre. Sevran. September 2018. Available online: https://www.cycle-terre.eu/files/wp-content/uploads/2018/10/dossier-presse-ct-2018_oklight.pdf (accessed on 26 November 2025).
- Weleda Ges.m.b.H. Europas größte Lehmbaustelle: Der Weleda Logistik-Campus. Schwäbisch Gmünd. 5 March 2024. Available online: https://www.weleda.at/footer/dialog/presseartikel/europas-groesste-lehmbaustelle (accessed on 26 November 2025).
- Harzhauser, M.; Hofmann, T. Wien am Sand: Von Prinz Eugen und der Seekuh in Ottakring: Eine Zeitreise Durch die Geologische Vergangenheit Wiens; Naturhistorisches Museum Wien: Wien, Austria, 2024. [Google Scholar]
- Maniatidis, V.; Walker, P. A review of rammed earth construction. In Innovation Project “Developing Rammed Earth for UK Housing”; Natural Building Technology Group, Department of Architecture & Civil Engineering, University of Bath: Bath, UK, 2003; Volume 12. [Google Scholar]
- AFNOR XP P13-901; Compressed Earth Blocks for Walls and Partitions: Definitions—Specifications—Test Methods—Delivery Acceptance Conditions. AFNOR Association française de normalisation: Saint-Denis La Plaine Cedex, France, 2001.
- CRATerre-EAG; CDI. Compressed Earth Blocks: Standards–Technology Series No.11; Centre for the Development of Industry (CDI): Brussels, Belgium, 1998. [Google Scholar]
- MOPT. Bases Para el Diseño y Construcción con Tapial; MOPT: Madrid, Spain, 1992. [Google Scholar]
- Houben, H.; Guillaud, H. Earth Construction: A Comprehensive Guide. In Earth Construction Series; ITDG, Intermediate Technology Development Group Publishing: London, UK, 1994. [Google Scholar]
- Norton, J. Building with Earth: A Handbook; ITDG Limited: Rugby, UK, 1986. [Google Scholar]
- DIN EN ISO 17892-4:2016; Geotechnical Investigation and Testing-Laboratory Testing of Soil-Part 4: Determination of Particle Size Distribution. DIN German Institute for Standardization: Berlin, Germany, 2017.
- Bui, Q.-B.; Morel, J.-C.; Hans, S.; Walker, P. Effect of moisture content on the mechanical characteristics of rammed earth. Constr. Build. Mater. 2014, 54, 163–169. [Google Scholar] [CrossRef]
- Schermer, D.C.; Brehm, E. Mauerwerk-Kalender 2025: Aspekte der Nachhaltigkeit. In Mauerwerk-Kalender 50; Ernst & Sohn, a Wiley Brand: Berlin, Germany, 2025. [Google Scholar] [CrossRef]
- DIN EN ISO 17892-12:2022-08; Geotechnical Investigation and Testing-Laboratory Testing of Soil-Part 12: Determination of Liquid and Plastic Limits. DIN German Institute for Standardization: Berlin, Germany, 2022.
- DIN EN ISO 14688-2:2020-11; Geotechnical Investigation and Testing—Identification and Classification of Soil—Part 2: Principles for a Classification. DIN German Institute for Standardization: Berlin, Germany, 2020.
- Filho, W.L.; Hunt, J.; Lingos, A.; Platje, J.; Vieira, L.W.; Will, M.; Gavriletea, M.D. The Unsustainable Use of Sand: Reporting on a Global Problem. Sustainability 2021, 13, 3356. [Google Scholar] [CrossRef]
- Rozzi, V.; Bruno, A.W.; Fabbri, A.; Barbucci, A.; Finocchio, E.; Lagazzo, A.; Brencich, A.; Gallipoli, D. Stabilising compressed earth materials with untreated and thermally treated recycled concrete: A multi-scale investigation. J. Clean. Prod. 2023, 423, 138614. [Google Scholar] [CrossRef]
- Kasinikota, P.; Tripura, D.D. Evaluation of compressed stabilized earth block properties using crushed brick waste. Constr. Build. Mater. 2021, 280, 122520. [Google Scholar] [CrossRef]
- DIN 18945:2024-03; Earth Blocks-Requirements, Test and Labelling. DIN German Institute for Standardization: Berlin, Germany, 2024.
- Bruno, A.W.; Perlot, C.; Mendes, J.; Gallipoli, D. A microstructural insight into the hygro-mechanical behaviour of a stabilised hypercompacted earth. Mater. Struct. 2018, 51, 32. [Google Scholar] [CrossRef]
- Wagner, J.-F. Mechanical Properties of Clays and Clay Minerals. In Developments in Clay Science; Elsevier Ltd.: Amsterdam, The Netherlands, 2013; Volume 5, pp. 347–381. [Google Scholar] [CrossRef]
- DIN 18124:2019-02; Soil, Investigation and Testing-Determination of Density of Solid Particles-Wide Mouth Pycnometer. DIN German Institute for Standardization: Berlin, Germany, 2019.
- Bruno, A.W. Hygro-Mechanical Characterisation of Hypercompacted Earth for Building Construction. Ph.D. Thesis, Université de Pau et des Pays de l’Adour, Pau, France, 2016. Available online: https://univ-pau.hal.science/tel-02366888v1 (accessed on 26 November 2025).
- Melo, C.; Moraes, A.; Rocco, F.; Montilha, F.; Canto, R. A validation procedure for numerical models of ceramic powder pressing. J. Eur. Ceram. Soc. 2018, 38, 2928–2936. [Google Scholar] [CrossRef]
- Reddy, B.V.V.; Jagadish, K.S. The static compaction of soils. Geotechnique 1993, 43, 337–341. [Google Scholar] [CrossRef]
- Ma, J.; Abdelaal, A.; Zhang, H.; Zhou, A.; Fu, Y.; Xie, Y.M. Ultra-compressed earth block stabilized by bio-binder for sustainable building construction. Case Stud. Constr. Mater. 2024, 21, e03523. [Google Scholar] [CrossRef]
- Li, P.; Pan, Z.; Xiao, T.; Wang, J. Effects of molding water content and compaction degree on the microstructure and permeability of compacted loess. Acta Geotech. 2022, 18, 921–936. [Google Scholar] [CrossRef]
- Benson, C.H.; Trast, J.M. Hydraulic conductivity of thirteen compacted clays. Clays Clay Miner. 1995, 43, 669–681. [Google Scholar] [CrossRef]
- Acar, Y.B.; Olivieri, I. Pore fluid effects on the fabric and hydraulic conductivity of laboratory-compacted clay. Transp. Res. Rec. 1989, 1219, 144–159. Available online: https://onlinepubs.trb.org/Onlinepubs/trr/1989/1219/1219-014.pdf (accessed on 9 January 2026).
Disclaimer/Publisher’s Note: The statements, opinions and data contained in all publications are solely those of the individual author(s) and contributor(s) and not of MDPI and/or the editor(s). MDPI and/or the editor(s) disclaim responsibility for any injury to people or property resulting from any ideas, methods, instructions or products referred to in the content. |
© 2026 by the authors. Licensee MDPI, Basel, Switzerland. This article is an open access article distributed under the terms and conditions of the Creative Commons Attribution (CC BY) license.


















