Pareto Analysis of Machining Factors Significance When Turning of Nickel-Based Superalloy Inconel 718
Abstract
1. Introduction
2. Materials and Methods
2.1. Material
2.2. Methods
3. Machinability of the Inconel 718 Alloy
- most of their strength is preserved during machining due to their high-temperature properties,
- they are susceptible to the rate of deformation and quickly harden, causing further wear of the tool,
- highly abrasive carbide particles contained in the microstructure cause abrasive wear,
- poor thermal conductivity leads to high cutting temperatures of up to 1200 °C on the rake face,
- nickel-based superalloys have a high chemical affinity with many tool materials, which leads to diffusion wear,
- welding and sticking of nickel alloys to the cutting tool often occurs during machining, causing severe cuts and changing the rake face of the tool due to subsequent pulling out of the tool materials,
- due to high strength, the cutting forces reach high values, excite the machine tool system, and can create vibrations that deteriorate the quality of the surface.
3.1. The Influence of the Cutting Tool Material on the Parameters of the Machining Process
- good wear resistance,
- high hot hardness,
- high strength and durability,
- good thermal shock properties,
- adequate chemical stability at elevated temperature.
3.1.1. Carbide
3.1.2. Cubic Boron Nitride
3.1.3. Polycrystalline Cubic Boron Nitride
3.1.4. Ceramic
3.2. Effect of Coating of Cutting Inserts on Cutting Parameters and Stability
- 30% of the inserts had no coating.
- 25% of the inserts had a TiAlN coating.
- 10% had AlTiN coating.
- 8% had (Ti,Al)N + TiN coating.
- 7% had TIAlN + AlCr2O3 coating.
- 5% had TiN coating.
3.3. Influence of Technological Environments on Cutting Conditions
3.4. Analysis of the Main Trends When Choosing Cutting Parameters
- 40% of cases—60 m/min;
- 17% of cases—80 m/min;
- 14% of cases—100 m/min;
- 7% of cases—120 m/min;
- 6% of cases—300 m/min.
- 21% of cases—1 mm;
- 18% of cases—0.2 mm;
- 13% of cases—0.5 mm;
- 6% of cases—0.15 mm and 0.1 mm;
- 5% of cases—0.25 mm, 0.4 mm, and 2 mm;
- 4% of cases—0.6 mm.
- 29% of cases—0.1 mm/rev;
- 18% of cases—0.22 mm/rev;
- 16% of cases—0.16 mm/rev;
- 15% of cases—0.08 mm/rev;
- 7% of cases—0.3 mm/rev.
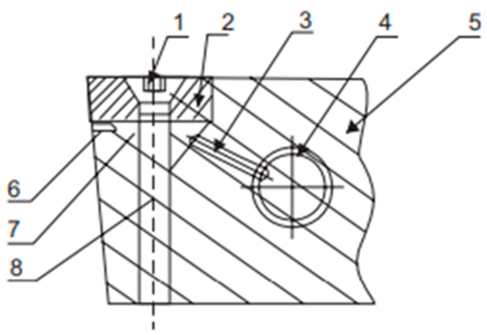
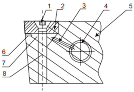
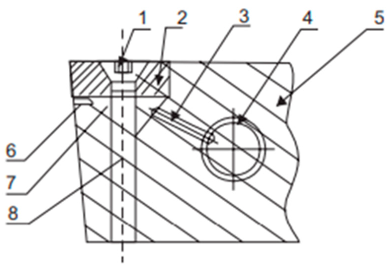
3.5. Geometry of the Cutting Tool
- 46% of cases—angle 0°;
- 23% of cases—angle −6°;
- 7% of cases—angles of −5° and 5°.
3.6. Cutting Edge Microgeometry
- The interesting results are that the lower values of Ra when the honed edges were used, compared to the sharp one, except under conditions where tool wear was relatively high, which adversely affected surface roughness.
- Surface roughness parameter values Ra below 1.5 µm were typically reached by the round inserts, which are the lowest values when compared to the square and triangular shapes. These results were expected because of the point radius effect.
- The round inserts (R), made of alumina-based ceramic C50, were the best regarding tool wear and surface roughness. All edges presented notch wear and flank wear. Wear was less severe on round inserts with honed cutting edge microgeometry.
- The modified (M) cutting edges produced even higher compressive stress.
4. Finite Element Modeling of Inconel 718 Alloy Machining
| Reference | Tool Material/ Coating | Factors | Response | Key Conclusions |
|---|---|---|---|---|
| Moili et al. [55] | Carbide/TiN | Coolant Cutting parameters * | Cutting force Tool temperature | The influence of processing environments (cryogenic and dry) and cutting parameters on tool temperature and cutting force is studied. It has been established that cutting speed plays a critical role in heat generation. |
| Vijayaraghavan [56] | Carbide | Cutting parameters Cutting fluid concentration Inclination angle | Cutting force Energy consumption | Optimizing the inclination angle can lead to a reduction in cutting force and a reduction in power consumption. |
| Parida and Maity [57] | Carbide | Nose radius Temperature conditions (room/heated) | Cutting force Thrust force Cutting temperature Chip thickness Chip tool contact length | Heating of the machining surface of the workpiece can significantly reduce the cutting and thrust force. Increasing temperature in the workpiece–tool interface zone reduces heat generation, which decreases stress and cutting force. As the workpiece temperature and nose radius increase, the thickness of the chip decreases while tool–chip increases. |
| Shen et al. [58] | Carbide | Cutting edge microgeometry | Residual stress | An increase in the average edge radius leads to an increase in residual stress of the machined surface. |
| Veeranaath et al. [59] | SiN CBN | Cutting parameters Nose radius Insert material | Cutting force Temperature Surface roughness Tool wear Chip thickness Stress | A corner radius of 0.4 mm led to better temperature, wear, and stress performance than the 0.8 mm radius. |
| Lotfi and Amini [60] | Carbide | Ultrasonic vibration Cutting speed Feed rate | Cutting force Shear angle Chip thickness Tool temperature Tool chip engagement time | The shear angle increases when ultrasonic vibration is added to the cutting tool. Increase in cutting speed results in the increase of tool–chip engagement time when ultrasonic vibration is used. |
| Mitrofanov et al. [61] | Carbide | Ultrasonic vibration | Residual stress Temperature | Tool temperature and residual stress were lower for machining with ultrasonic vibration compared to conventional turning. |
| Uhlmann and Zettier [62] | Ceramic | Cutting speed | Cutting force Chip formation | A continuous chip is formed at cutting speeds from 100 to 200 m/min. A segmented chip is formed at speeds from 200 to 1000 m/min. Deform 2D had simulations of cutting forces closer to experimental data compared to Abaqus 2D and 3D models. |
| Paturi et al. [48] | Carbide/CVD coated | Cutting parameters | Cutting force Cutting temperature Tool wear Chip formation | Cutting force reduces with increased cutting speed because the tool–chip contact interface decreases. Cutting temperature is proportional to cutting speed, feed rate, and depth of cut. An increase in cutting temperature implies increasing strain rate, deformation effect, and high tool wear. Increasing the feed leads to an increase in the cutting temperature. Tool wear increases with increase of cutting speed and depth of cut. |
| Diaz-Alvarez et al. [63] | Carbide | Cutting speed Cutting edge angle | Cutting force Chip temperature Effective plastic strain Tool wear | The chip temperature increases with cutting speed. The increased temperature on the chip affects the wear mechanisms. Equivalent plastic strain along the cutting edge decreases slightly with cutting speed from 50 to 70 m/min and remains constant for further increments of cutting speed. |
| Nouzil et al. [64] | SIALON | Cryogenic condition Jet radius Jet location Cutting speed | Cutting force Energy consumption Cutting temperature | An increase in the radius of the jet leads to a decrease in the shear angle, which leads to an increase in the cutting force. The average cutting temperature decreases with the increasing flow of LN2 at the cutting edge. An increase in cutting speed leads to an increase in energy consumption. As the jet moves away from the cutting zone, the temperature increases with a decrease in the cutting force and vice versa. |
| Reddy et al. [65] | Carbide/TiAlN | Cutting parameters | Cutting temperature | The temperature in the cutting zone increases with an increase in the depth of cut because more material needs to be removed. Temperature increases with an increase in cutting speed, which increases friction; it is the same case with a feed rate. |
| Jangali et al. [66] | Carbide | Cutting parameters | Cutting force Tool temperature Equivalent stress | Cutting forces are primarily influenced by the depth of cut and speed, whereas cutting speed and feed have a more significant effect on tool temperature than the depth of cut. |
| Ren and Liu [67] | Feed rate Cutting speed | Residual stress Average grain size Microhardness | The combination of larger cutting speed and lower feed rate is a recommended optimized selection to obtain a better surface quality, whereas cutting speed and feed have a more significant effect on tool temperature than the depth of cut. | |
| D’Addona and Raykar [68] | Carbide/TiAlN | Cutting conditions (dry/wet) Coolant pressure | Tool temperature | The cooling pressure has a significant effect on the temperature. Greater fluid pressure allows for a reduction of the temperature. |
| Liu et al. [69] | CBN | Cutting parameters Coolant pressure | Surface roughness Cutting force | Depth of cut had the greatest effect on cutting force, while feed rate and coolant pressure had a smaller effect. The least influential factor was cutting speed. The most important factors affecting the machined surface roughness were the feed rate, followed by the coolant pressure, cutting speed, and cutting depth. |
5. Conclusions
- The most common material for machining the Inconel 718 alloy is carbide, which was used uncoated in 30% of cases or with TiAlN coating (25%) for experimental studies in 75% of experimental runs. The second place with a share of 12% took PCBN. However, the effect of CNB and ceramic is still studied poorly. In the future, more attention should be paid to utilizing these tool materials in experimental studies.
- In 70% of conducted studies, machining was carried out with coated cutting inserts, though the effect of multilayer coating (Ti,Al)N + TiN coating (8%), TiAlN + AlCr2O3 coating (7%) on tool life and the machined surface is versed to be studied in feature research.
- As a cooling method when machining Inconel 718, it is advisable to use the method of minimum quantity lubrication (MQL). The variability and low lubricant consumption for this cooling method and less energy consumption make this method quite versatile.
- The analysis of cutting parameters emphasized that the most-studied range of cutting speed is 60–100 m/min (71%), which corresponds to roughing turning with coated or uncoated carbide cutting inserts, while turning in the range 140–460 m/min with using og CBN or ceramic cutting inserts in semi-finishing or finishing passes was not in the focus of most experimental studies. The same trend was noticed for feed rate and depth of cut. Feed rate in the range from 0.1 to 0.3 mm/rev was analyzed in 68% of experimental runs, however more rough (up to 0.4 mm/rev) or less rough (less than 0.08 mm/rev) were studied rarely. The mostly studied range of depth of cut is 0.2–1.1 mm (89%), while depth of cut less than 0.05 mm was studied rarely.
- During the analysis of the angles of the cutting tool, it was established that the following geometry of the cutting tool is universal when machining Inconel 718: tool cutting angle—95° (53%), clearance angle–0° (75%), rake angle—0°(55%), corner radius—0.8 mm (47%) of experimental runs. Future studies can pay more attention to chip formation mechanisms when turning by cutting insert with tool cutting angle—75°, 91°, 93°, clearance angle—6°–11°, rake angle—6°, 17°, 10°, and corner radius more than 1.2 mm.
- Finite element modelling is an efficient research tool for studying machinability of Inconel 718, which was carried out mostly in Abaques and Deform software. Though the are many studies of cutting parameters, tool geometry, and tool material on machinability of Inconel 718 the effect of coolant conditions is studied purely.
Author Contributions
Funding
Data Availability Statement
Conflicts of Interest
References
- De Bartolomeis, A.; Newman, S.T.; Jawahir, I.S.; Biermann, D.; Shokrani, A. Future research directions in the machining of Inconel 718. J. Mater. Process. Technol. 2021, 297, 117260. [Google Scholar] [CrossRef]
- Fu, S.H.; Dong, J.X.; Zhang, M.C.; Xie, X.S. Alloy design and development of INCONEL718 type alloy. Mater. Sci. Eng. A 2009, 499, 215–220. [Google Scholar] [CrossRef]
- Frifita, W.; Ben Salem, S.; Haddad, A.; Yallese, M.A. Optimization of machining parameters in turning of Inconel 718 Nickel-base super alloy. Mech. Ind. 2020, 21, 203. [Google Scholar] [CrossRef]
- Yin, Q.; Liu, Z.; Wang, B.; Song, Q.; Cai, Y. Recent progress of machinability and surface integrity for mechanical machining Inconel 718: A review. Int. J. Adv. Manuf. Technol. 2020, 109, 215–245. [Google Scholar] [CrossRef]
- D’Addona, D.M.; Raykar, S.J.; Narke, M.M. High Speed Machining of Inconel 718: Tool Wear and Surface Roughness Analysis. Procedia Cirp 2017, 62, 269–274. [Google Scholar] [CrossRef]
- Jeyapandiarajan, P.; Xavior, M.A.; Sasidharan, N.C.; Duchosal, A. Surface hardening and wear correlations studies when turning inconel 718. MM Sci. J. 2019, 2019, 3041–3047. [Google Scholar] [CrossRef]
- Marques, A.; Paipa Suarez, M.; Falco Sales, W.; Rocha Machado, Á. Turning of Inconel 718 with whisker-reinforced ceramic tools applying vegetable-based cutting fluid mixed with solid lubricants by MQL. J. Mater. Process. Technol. 2019, 266, 530–543. [Google Scholar] [CrossRef]
- Khanna, N.; Agrawal, C.; Dogra, M.; Pruncu, C.I. Evaluation of tool wear, energy consumption, and surface roughness during turning of inconel 718 using sustainable machining technique. J. Mater. Res. Technol. 2020, 9, 5794–5804. [Google Scholar] [CrossRef]
- Tamil Alagan, N.; Hoier, P.; Zeman, P.; Klement, U.; Beno, T.; Wretland, A. Effects of high-pressure cooling in the flank and rake faces of WC tool on the tool wear mechanism and process conditions in turning of alloy 718. Wear 2019, 434–435, 102922. [Google Scholar] [CrossRef]
- Khochtali, H.; Ayed, Y.; Zemzemi, F.; Bensalem, W. Tool wear characteristics in rough turning of Inconel 718 with coated carbide tool under conventional and high-pressure coolant supplies. Int. J. Adv. Manuf. Technol. 2021, 114, 2371–2386. [Google Scholar] [CrossRef]
- Ali, M.A.M.; Khalil, A.N.M.; Azmi, A.I.; Salleh, H.M. Optimization of Cutting Parameters for Surface Roughness under MQL, using Al2O3 Nanolubricant, during Turning of Inconel 718. In Proceedings of the International Research and Innovation Summit (IRIS), Melaka, Malaysia, 6–7 May 2017. [Google Scholar]
- Xavior, M.A.; Manohar, M.; Jeyapandiarajan, P.; Madhukar, P.M. Tool Wear Assessment during Machining of Inconel 718. Procedia Eng. 2017, 174, 1000–1008. [Google Scholar] [CrossRef]
- Capasso, S.; Paiva, J.M.; Locks Junior, E.; Settineri, L.; Yamamoto, K.; Amorim, F.L.; Torres, R.D.; Covelli, D.; Fox-Rabinovich, G.; Velduis, S.C. A novel method of assessing and predicting coated cutting tools wear during Inconel DA 718 turning. Wear 2019, 432–433, 202949. [Google Scholar] [CrossRef]
- Cantero, J.L.; Díaz-Álvarez, J.; Infante-García, D.; Rodríguez, M.; Criado, V. High speed finish turning of inconel 718 using PCBN tools under dry conditions. Metals 2018, 8, 192. [Google Scholar] [CrossRef]
- Criado, V.; Díaz-Álvarez, J.; Cantero, J.L.; Miguélez, M.H. Study of the performance of PCBN and carbide tools in finishing machining of Inconel 718 with cutting fluid at conventional pressures. Procedia Cirp 2018, 77, 634–637. [Google Scholar] [CrossRef]
- Zhao, J.; Liu, Z.; Shen, Q.; Wang, B.; Wang, Q. Investigation of cutting temperature during turning Inconel 718 with (Ti, Al)N PVD coated cemented carbide tools. Materials 2018, 11, 1281. [Google Scholar] [CrossRef]
- Jeyapandiarajan, P.; Xavior, M.A.; Anbalagan, A. Performance evaluation of (Alcrn) pvd coated cbn inserts on machining of inconel 718. MM Sci. J. 2021, 2021-November, 5219–5227. [Google Scholar] [CrossRef]
- Peterka, J.; Pokorny, P.; Vaclav, S.; Patoprsty, B.; Voyar, M. Modification of cutting tools bz deag finishing. MM Sci. J. 2020, 1, 3822–3825. [Google Scholar] [CrossRef]
- Ghiban, B.; Elefterie, C.F.; Guragata, C.; Bran, D. Requirements of Inconel 718 Alloy or Aeronautical Applications. In Proceedings of the 7th International Conference on Structural Analysis of Advanced Materials (ICSAAM), Bucharest, Romania, 19–22 September 2017. [Google Scholar]
- Jeyadurga, P.; Balamurali, S.; Aslam, M. Design of an attribute np control chart for process monitoring based on repetitive group sampling under truncated life tests. Commun. Stat. Theory Methods 2018, 47, 5934–5955. [Google Scholar] [CrossRef]
- Chu, J.; Dickin, O.; Nadarajah, S. A review of goodness of fit tests for Pareto distributions. J. Comput. Appl. Math. 2019, 361, 13–41. [Google Scholar] [CrossRef]
- Dudzinski, D.; Devillez, A.; Moufki, A.; Larrouquere, D.; Zerrouki, V.; Vigneau, J. A review of developments towards dry and high speed machining of Inconel 718 alloy. Int. J. Mach. Tools Manuf. 2004, 44, 439–456. [Google Scholar] [CrossRef]
- Díaz-álvarez, J.; Criado, V.; Miguélez, H.; Luis Cantero, J. PCBN performance in high speed finishing turning of inconel 718. Metals 2018, 8, 582. [Google Scholar] [CrossRef]
- Hongjun, Z.; Jianguang, L.; Zhaopeng, H. Wear Mechanism of Cemented Carbide Tool and Modeling Tool Wear in Machining Inconel 718. IOP Conf. Ser. Mater. Sci. Eng. 2020, 780, 052024. [Google Scholar] [CrossRef]
- Dong, D.; Li, T.; Wang, X.; Qiao, Y.; Guo, P. Tool wear mechanism of turning Inconel 718 and EEMD-based feature analysis. J. Phys. Conf. Ser. 2021, 012085. [Google Scholar] [CrossRef]
- Jadam, T.; Datta, S.; Masanta, M. Wear morphology of microwave post-treated WC-Co tool during machining of Inconel 718 superalloy. Mater. Today Proc. 2020, 38, 2133–2139. [Google Scholar] [CrossRef]
- Zou, Z.; He, L.; Jiang, H.; Yuan, S.; Ren, Z. Influence of microgroove structure on cutting performance and chip morphology during the turning of superalloy Inconel 718. Materials 2021, 14, 4142. [Google Scholar] [CrossRef]
- Sugihara, T.; Tanaka, H.; Enomoto, T. Development of Novel CBN Cutting Tool for High Speed Machining of Inconel 718 Focusing on Coolant Behaviors. Procedia Manuf. 2017, 10, 436–442. [Google Scholar] [CrossRef]
- Sugihara, T.; Nishimoto, Y.; Enomoto, T. Development of a novel cubic boron nitride cutting tool with a textured flank face for high-speed machining of Inconel 718. Precis. Eng.-J. Int. Soc. Precis. Eng. Nanotechnol. 2017, 48, 75–82. [Google Scholar] [CrossRef]
- Costes, J.P.; Guillet, Y.; Poulachon, G.; Dessoly, M. Tool-life and wear mechanisms of CBN tools in machining of Inconel 718. Int. J. Mach. Tools Manuf. 2007, 47, 1081–1087. [Google Scholar] [CrossRef]
- Jadam, T.; Datta, S.; Masanta, M. Influence of cutting tool material on machinability of Inconel 718 superalloy. Mach. Sci. Technol. 2021, 25, 349–397. [Google Scholar] [CrossRef]
- Shalaby, M.A.; Veldhuis, S.C. Tool wear and chip formation during dry high speed turning of direct aged Inconel 718 aerospace superalloy using different ceramic tools. Proc. Inst. Mech. Eng. Part J J. Eng. Tribol. 2019, 233, 1127–1136. [Google Scholar] [CrossRef]
- Bushlya, V.; Zhou, J.; Stahl, J.E. Effect of Cutting Conditions on Machinability of Superalloy Inconel 718 During High Speed Turning with Coated and Uncoated PCBN Tools. Procedia Cirp 2012, 3, 370–375. [Google Scholar] [CrossRef]
- Khan, S.A.; Soo, S.L.; Aspinwall, D.K.; Sage, C.; Harden, P.; Fleming, M.; White, A.; M’Saoubi, R. Tool wear/life evaluation when finish turning Inconel 718 using PCBN tooling. Procedia Cirp 2012, 1, 283–288. [Google Scholar] [CrossRef]
- Zeilmann, R.P.; Fontanive, F.; Soares, R.M. Wear mechanisms during dry and wet turning of Inconel 718 with ceramic tools. Int. J. Adv. Manuf. Technol. 2017, 92, 2705–2714. [Google Scholar] [CrossRef]
- Gürgen, S.; Tali, D.; Kushan, M.C. An investigation on surface roughness and tool wear in turning operation of inconel 718. J. Aerosp. Technol. Manag. 2019, 11, e1319. [Google Scholar] [CrossRef]
- Bouzakis, K.D.; Michailidis, N.; Skordaris, G.; Bouzakis, E.; Biermann, D.; M’Saoubi, R. Cutting with coated tools: Coating technologies, characterization methods and performance optimization. Cirp Ann.-Manuf. Technol. 2012, 61, 703–723. [Google Scholar] [CrossRef]
- Deng, Y.; Chen, W.L.; Li, B.X.; Wang, C.Y.; Kuang, T.C.; Li, Y.Q. Physical vapor deposition technology for coated cutting tools: A review. Ceram. Int. 2020, 46, 18373–18390. [Google Scholar] [CrossRef]
- Zhao, J.; Liu, Z. Influences of coating thickness on cutting temperature for dry hard turning Inconel 718 with PVD TiAlN coated carbide tools in initial tool wear stage. J. Manuf. Process. 2020, 56, 1155–1165. [Google Scholar] [CrossRef]
- Sharma, V.S.; Dogra, M.; Suri, N.M. Cooling techniques for improved productivity in turning. Int. J. Mach. Tools Manuf. 2009, 49, 435–453. [Google Scholar] [CrossRef]
- Çakıroğlu, R. Machinability Analysis of Inconel 718 Superalloy with AlTiN-Coated Carbide Tool Under Different Cutting Environments. Arab. J. Sci. Eng. 2021, 46, 8055–8073. [Google Scholar] [CrossRef]
- Chaabani, S.; Arrazola, P.J.; Ayed, Y.; Madariaga, A.; Tidu, A.; Germain, G. Comparison between cryogenic coolants effect on tool wear and surface integrity in finishing turning of Inconel 718. J. Mater. Process. Technol. 2020, 285, 116780. [Google Scholar] [CrossRef]
- Mou, W.; Zhu, S. Vibration, tool wear and surface roughness characteristics in turning of Inconel 718 alloy with ceramic insert under LN2 machining. J. Braz. Soc. Mech. Sci. Eng. 2020, 42, 369. [Google Scholar] [CrossRef]
- Hoier, P.; Klement, U.; Tamil Alagan, N.; Beno, T.; Wretland, A. Characterization of tool wear when machining alloy 718 with high-pressure cooling using conventional and surface-modified WC–Co tools. J. Superhard Mater. 2017, 39, 178–185. [Google Scholar] [CrossRef]
- Mane, P.A.; Kallol, A.N.; Doiphode, R.L.; Manjunath, G.A.; Saleh, B.; Abbas, M.; Saleel, C.A.; Alarifi, I.M. Inconel 718 Turning Process Parameters Optimization with MQL Nanofluid Based on CuO Nanoparticles. J. Nanomater. 2022, 2022, 1408529. [Google Scholar] [CrossRef]
- Pinheiro, C.; Kondo, M.Y.; Amaral, S.S.; Callisaya, E.S.; De Souza, J.V.C.; Alves, M.C.D.; Ribeiro, M.V. Effect of machining parameters on turning process of Inconel 718. Mater. Manuf. Process. 2021, 36, 1421–1437. [Google Scholar] [CrossRef]
- Rakesh, M.; Datta, S. Machining of Inconel 718 Using Coated WC Tool: Effects of Cutting Speed on Chip Morphology and Mechanisms of Tool Wear. Arab. J. Sci. Eng. 2020, 45, 797–816. [Google Scholar] [CrossRef]
- Paturi, U.M.R.; Methuku, S.; Siripragada, S.S.; Sangishetty, Y.; Gunda, R.K. Finite element simulations of machinability parameters in turning of Inconel 718. Mater. Today Proc. 2020, 38, 2658–2663. [Google Scholar] [CrossRef]
- Xu, D.; Ding, L.; Liu, Y.; Zhou, J.; Liao, Z. Investigation of the influence of tool rake angles on machining of inconel 718. J. Manuf. Mater. Process. 2021, 5, 100. [Google Scholar] [CrossRef]
- Arunachalam, R.M.; Mannan, M.A.; Spowage, A.C. Surface integrity when machining age hardened Inconel 718 with coated carbide cutting tools. Int. J. Mach. Tools Manuf. 2004, 44, 1481–1491. [Google Scholar] [CrossRef]
- Coelho, R.T.; Silva, L.R.; Braghini, A.; Bezerra, A.A. Some effects of cutting edge preparation and geometric modifications when turning INCONEL 718 (TM) at high cutting speeds. J. Mater. Process. Technol. 2004, 148, 147–153. [Google Scholar] [CrossRef]
- Zhuang, K.; Hu, C.; Zhou, J.; Lin Peng, R. Investigation on work hardening phenomenon in turning Inconel 718 with chamfered inserts considering thermal-mechanical loads. Procedia Cirp 2020, 87, 47–52. [Google Scholar] [CrossRef]
- Vopat, T.; Straka, R.; Kuruc, M.; Peterka, J. The Effect of Cutting Edge Radius Sizes on Tool Life in Machining Nickel Alloy Inconel 718. Ann. DAAAM Proc. Int. DAAAM Symp. 2022, 33, 180–187. [Google Scholar] [CrossRef]
- Korkmaz, M.E.; Gupta, M.K. A State of the Art on Simulation and Modelling Methods in Machining: Future Prospects and Challenges. Arch. Comput. Methods Eng. 2023, 30, 161–189. [Google Scholar] [CrossRef]
- Mouli, G.C.; Marimuthu, K.P.; Jagadeesha, T. 2d finite element analysis of inconel 718 under turning processes. In Proceedings of the 3rd International Conference on Advances in Mechanical Engineering (ICAME)/1st International Conference on Recent Advances in Composite Materials (ICRACM), SRM Inst Sci & Technol, Chennai, India, 24–29 February 2020. [Google Scholar]
- Vijayaraghavan, V.; Garg, A.; Gao, L.; Vijayaraghavan, R.; Lu, G.X. A finite element based data analytics approach for modeling turning process of Inconel 718 alloys. J. Clean. Prod. 2016, 137, 1619–1627. [Google Scholar] [CrossRef]
- Parida, A.K.; Maity, K. Effect of nose radius on forces, and process parameters in hot machining of Inconel 718 using finite element analysis. Eng. Sci. Technol.-Int. J.-Jestech 2017, 20, 687–693. [Google Scholar] [CrossRef]
- Shen, Q.; Liu, Z.Q.; Hua, Y.; Zhao, J.F.; Lv, W.Y.; Mohsan, A.U.H. Effects of Cutting Edge Microgeometry on Residual Stress in Orthogonal Cutting of Inconel 718 by FEM. Materials 2018, 11, 1015. [Google Scholar] [CrossRef] [PubMed]
- Veeranaath, V.; Anshuman, A.; Sethia, S. Experimental Study and Finite Element Analysis of the Impact of Tool Edge Geometry in Orthogonal Machining of Super Alloy Inconel 718. In Proceedings of the 3rd International Conference on Advances in Mechanical Engineering (ICAME)/1st International Conference on Recent Advances in Composite Materials (ICRACM), SRM Inst Sci & Technol, Chennai, India, 24–29 February 2020; Volume 912, p. 032032. [Google Scholar]
- Lotfi, M.; Amini, S. FE simulation of linear and elliptical ultrasonic vibrations in turning of Inconel 718. Inst. Mech. Eng. Part E-J. Process Mech. Eng. 2018, 232, 438–448. [Google Scholar] [CrossRef]
- Mitrofanov, A.V.; Babitsky, V.I.; Silberschmidt, V.V. Finite element analysis of ultrasonically assisted turning of Inconel 718. J. Mater. Process. Technol. 2004, 153, 233–239. [Google Scholar] [CrossRef]
- Uhlmann, E.; von der Schulenburg, M.G.; Zettier, R. Finite element modeling and cutting simulation of Inconel 718. Cirp Ann.-Manuf. Technol. 2007, 56, 61–64. [Google Scholar] [CrossRef]
- Diaz-Alvarez, J.; Cantero, J.L.; Miguelez, H.; Soldani, X. Numerical analysis of thermomechanical phenomena influencing tool wear in finishing turning of Inconel 718. Int. J. Mech. Sci. 2014, 82, 161–169. [Google Scholar] [CrossRef]
- Nouzil, I.; Pervaiz, S.; Kannan, S. Role of jet radius and jet location in cryogenic machining of Inconel 718: A finite element method based approach. Int. J. Interact. Des. Manuf.-Ijidem 2021, 15, 1–19. [Google Scholar] [CrossRef]
- Reddy, S.R.; Kumar, M.S.; Vasu, V. Temperature study in Turning Inconel-718: 3D Simulation and Experimentation. Mater. Today-Proc. 2017, 4, 9946–9950. [Google Scholar] [CrossRef]
- Jangali, S.G.; Gaitonde, V.N.; Kulkarni, V.N.; Madhusudhana, H.K. Analyzing the effect of cutting parameters on forces and tool-tip temperature in turning of nickel-based superalloy using FE simulation. Mater. Today-Proc. 2022, 49, 1833–1843. [Google Scholar] [CrossRef]
- Ren, X.P.; Liu, Z.Q. A simulation model for predicting surface integrity coupled thermal-mechanical effect in turning of Inconel 718 super alloy. Int. J. Adv. Manuf. Technol. 2019, 100, 1825–1837. [Google Scholar] [CrossRef]
- D’Addona, D.M.; Raykar, S.J. Thermal Modeling of Tool Temperature Distribution during High Pressure Coolant Assisted Turning of Inconel 718. Materials 2019, 12, 408. [Google Scholar] [CrossRef] [PubMed]
- Liu, L.; Wu, M.Y.; Li, L.B.; Cheng, Y.N. FEM Simulation and Experiment of High-Pressure Cooling Effect on Cutting Force and Machined Surface Quality during Turning Inconel 718. Integr. Ferroelectr. 2020, 206, 160–172. [Google Scholar] [CrossRef]

















| Ni | Cr | Cu | Nb | Mo | Ti | Al | Co | Mn | C | Si | P | B | S | Fe |
|---|---|---|---|---|---|---|---|---|---|---|---|---|---|---|
| 50–55 | 17–21 | <0.30 | 4.75–5.50 | 2.80–3.30 | 0.65–1.15 | 0.20–0.80 | <1 | <0.35 | 0.08 | <0.35 | <0.015 | 0.006 | <0.015 | Other |
| Hardness | Thermal Conductivity | Specific Heat | Yield Strength | Elongation | Creep Test | |||
|---|---|---|---|---|---|---|---|---|
| Test Temperature | Constraint | Time | Elongation | |||||
| 35 HRC | 11.4 W/mk | 435 J/kg K | 855 MPa | 7% | 650 C | 620 MPa | 2 h | 0% |
| Industry | Example of Use |
|---|---|
| Aerospace | Gas chamber, guide, turbine blade and turbine disc |
| Atomic energy | Fuel jacket material, structural material and fuel rod arrangement grid, heat exchanger of high-temperature gas furnace |
| Gas turbines | Turbine blade |
| Automotive industry | Turbocharger impeller, combustion chamber, insert, internal combustion engine vent valve |
| Other | Glass production, metallurgy, medical equipment and other industries |
| Material | Cutting Speed | Versatility | Stability | Cost |
|---|---|---|---|---|
| Carbide | ● | ●●● | ●● | ● |
| Ceramic | ●● | ●● | ●●● | ●● |
| Cubic Boron Nitride | ●●● | ●● | ● | ●●● |
| Polycrystalline Cubic Boron Nitride | ●●● | ●● | ● | ●●● |
| Characteristic | PVD | CVD |
|---|---|---|
| Coating material | Solid | Gaseous |
| Deposition temperature | 250~600 °C | 450~1100 °C |
| Gas pressure | 10–2~10 Pa | 10–2~10 Pa |
| Coating thickness | Usually, a thin coating | Usually, a thick coating |
| Residual stress | Compressive stress | Tensile stress |
| Application | High-speed steel tools, carbide tools, PCBN tools, etc. | Carbide tool |
Disclaimer/Publisher’s Note: The statements, opinions and data contained in all publications are solely those of the individual author(s) and contributor(s) and not of MDPI and/or the editor(s). MDPI and/or the editor(s) disclaim responsibility for any injury to people or property resulting from any ideas, methods, instructions or products referred to in the content. |
© 2023 by the authors. Licensee MDPI, Basel, Switzerland. This article is an open access article distributed under the terms and conditions of the Creative Commons Attribution (CC BY) license (https://creativecommons.org/licenses/by/4.0/).
Share and Cite
Yevdokymov, O.; Kolesnyk, V.; Peterka, J.; Vopat, T.; Gupta, M.K.; Lisovenko, D.; Dovhopolov, A. Pareto Analysis of Machining Factors Significance When Turning of Nickel-Based Superalloy Inconel 718. Metals 2023, 13, 1354. https://doi.org/10.3390/met13081354
Yevdokymov O, Kolesnyk V, Peterka J, Vopat T, Gupta MK, Lisovenko D, Dovhopolov A. Pareto Analysis of Machining Factors Significance When Turning of Nickel-Based Superalloy Inconel 718. Metals. 2023; 13(8):1354. https://doi.org/10.3390/met13081354
Chicago/Turabian StyleYevdokymov, Oleksandr, Vitalii Kolesnyk, Jozef Peterka, Tomas Vopat, Munish Kumar Gupta, Dmytro Lisovenko, and Andrii Dovhopolov. 2023. "Pareto Analysis of Machining Factors Significance When Turning of Nickel-Based Superalloy Inconel 718" Metals 13, no. 8: 1354. https://doi.org/10.3390/met13081354
APA StyleYevdokymov, O., Kolesnyk, V., Peterka, J., Vopat, T., Gupta, M. K., Lisovenko, D., & Dovhopolov, A. (2023). Pareto Analysis of Machining Factors Significance When Turning of Nickel-Based Superalloy Inconel 718. Metals, 13(8), 1354. https://doi.org/10.3390/met13081354

