Laser Welding of ASTM A553-1 (9% Nickel Steel) (PART II: Comparison of Mechanical Properties with FCAW)
Abstract
1. Introduction
2. Experiment Conditions of FCAW and LBW
3. Mechanical Properties Comparison between FCAW and LBW
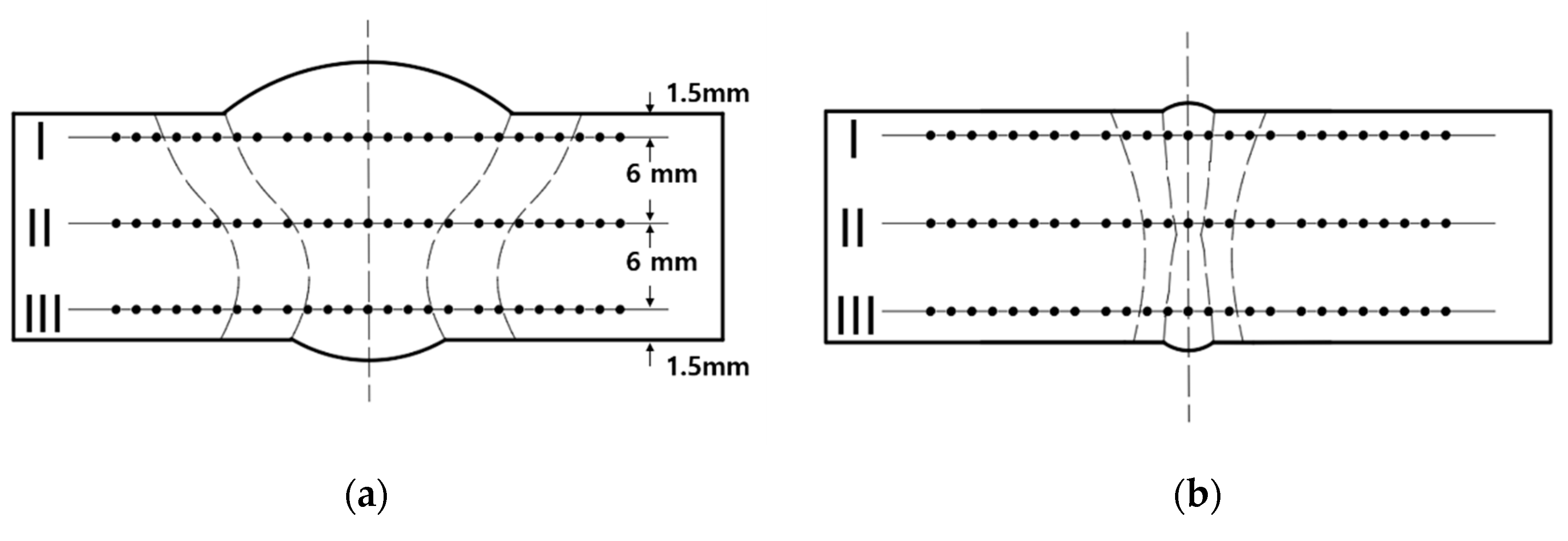
3.1. Yield and Tensile Strength
3.2. Hardness Test
3.3. Bending Test
3.4. Impact Test at −196 °C
4. Conclusions
Author Contributions
Funding
Conflicts of Interest
References
- Kim, J.W.; Kim, J.S.; Kang, S.W.; Chun, K.S. Laser welding of ASTM A553-1 (9% Nickel Steel) (PART I: Penetration shape by bead on plate). Metals 2020, 10, 484. [Google Scholar] [CrossRef]
- Schinas, O.; Butler, M. Feasibility and commercial considerations of LNG-fueled ships. Ocean Eng. 2016, 122, 84–96. [Google Scholar] [CrossRef]
- Yoo, B.Y. Economic assessment of liquefied natural gas (LNG) as a marine fuel for CO2 carriers compared to marine gas oil (MGO). Energy 2017, 121, 772–780. [Google Scholar] [CrossRef]
- Thomson, H.; Corbett, J.J.; Winebrake, J.J. Natural gas as a marine fuel. Energy Policy 2015, 87, 153–167. [Google Scholar] [CrossRef]
- Kim, B.E.; Park, J.Y.; Lee, J.S.; Kim, M.H. Study on the initial design of an LNG fuel tank using 9 wt.% nickel steel for ships and performance evaluation of the welded joint. J. Weld. Join. 2019, 37, 555–563. [Google Scholar] [CrossRef]
- Lee, J.S.; You, W.H.; Yoo, C.H.; Kim, K.S.; Kim, Y.I. An experimental study on fatigue performance of cryogenic metallic materials for IMO type B tank. Int. J. Nav. Archit. Ocean 2013, 5, 580–597. [Google Scholar] [CrossRef]
- Na, K.B.; Lee, C.I.; Park, J.H.; Cho, S.M. A comparison of hot cracking in GTAW and FCAW by applying alloy 625 filler materials of 9% Ni steel. J. Weld. Join. 2019, 37, 357–362. [Google Scholar] [CrossRef]
- Kim, J.W.; Jang, B.S.; Kim, Y.T.; Chun, K.S. A study on an efficient prediction of welding deformation for T-joint laser welding of sandwich panel PART I: Proposal of a heat source model. Int. J. Nav. Archit. Ocean 2013, 5, 348–363. [Google Scholar] [CrossRef]
- Zhu, Y.; Li, C.; Zhang, L. Effects of cryo-treatment on corrosion behavior and mechanical properties of laser-welded commercial pure titanium. Mater. Trans. 2014, 55, 511–516. [Google Scholar] [CrossRef]
- Tsumura, T.; Murakami, T.; Nakajima, H.; Nakata, K. Numerical simulation of laser fusion zone profile of lotus-type porous metals. Mater. Trans. 2006, 47, 2248–2253. [Google Scholar] [CrossRef]
- Park, J.U.; Lee, J.B.; An, G.B.; Kim, S.M.; Seo, H.W. Characteristic of welding rotational deformation in laser welding of thin steel sheet. J. Weld. Join. 2018, 36, 1–7. [Google Scholar] [CrossRef]
- Swierczynska, A. Effect of storage conditions of rutile flux cored welding wires on properties of welds. Adv. Mater. Sci. 2019, 19, 46–56. [Google Scholar] [CrossRef]
- Mu, W.; Li, Y.; Cai, Y.; Wang, M.; Hua, X. The cryogenic low-cycle fatigue performance 9%Ni steel joint made by flux cored arc welding. Mater. Charact. 2019, 151, 27–37. [Google Scholar] [CrossRef]
- Rodrigues, L.A.S.; Loayza, L.C.R.; Borges, D.J.A.; Baia, P.E.C.; Freitas, E.N.; Braga, E.M. Welding procedures influence analysis on the residual stress distribution and distortion of stiffened panels welded via robotized FCAW. Thin-Walled Struct. 2019, 141, 175–183. [Google Scholar] [CrossRef]
- DNVGL Maritime. Rules for Classification—Part 5 Chapter 7 Liquefied Gas Tankers; DNV-GL: Oslo, Norway, 2019. [Google Scholar]
- Maritime, B.V. Rules for the Classification of Steel Ships—Pressure Equipment; Bureau Veritas (BV): Paris, France, 2019. [Google Scholar]
- Maritime Safety Committee. International Code of Safety for Ships Using Gases or Other Low-Flashpoint Fuels (IGF Code); International Maritime Organization (IMO): London, UK, 2016. [Google Scholar]
- ASTM International. ASTM E23: Standard Test Methods for Notched Bar, Impact Testing of Metallic Materials; American Society for Testing and Materials (ASTM): West Conshohocken, PA, USA, 2013. [Google Scholar]
- Kim, E.; Park, J.Y.; Lee, J.S.; Lee, J.I.; Kim, M.H. Effects of the welding process and consumables on the fracture behavior of 9 wt.% nickel steel. Exp. Tech. Sept. 2019, 44, 1–12. [Google Scholar] [CrossRef]













| Component | Percentage (%) |
|---|---|
| Carbon, C | 0.02 |
| Manganese, Mn | <0.01 |
| Phosphorous, P | <0.001 |
| Silicon, Si | <0.01 |
| Sulfur, S | <0.001 max |
| Nickel, Ni | 70.1 |
| Copper, Cu | <0.01 |
| Chromium, Cr | 1.9 |
| Molybdenum, Mo | 19.1 |
| Iron, Fe | 5.6 |
| Tungsten, W | 3.0 |
© 2020 by the authors. Licensee MDPI, Basel, Switzerland. This article is an open access article distributed under the terms and conditions of the Creative Commons Attribution (CC BY) license (http://creativecommons.org/licenses/by/4.0/).
Share and Cite
Kim, J.; Kim, J. Laser Welding of ASTM A553-1 (9% Nickel Steel) (PART II: Comparison of Mechanical Properties with FCAW). Metals 2020, 10, 999. https://doi.org/10.3390/met10080999
Kim J, Kim J. Laser Welding of ASTM A553-1 (9% Nickel Steel) (PART II: Comparison of Mechanical Properties with FCAW). Metals. 2020; 10(8):999. https://doi.org/10.3390/met10080999
Chicago/Turabian StyleKim, Jaewoong, and Jisun Kim. 2020. "Laser Welding of ASTM A553-1 (9% Nickel Steel) (PART II: Comparison of Mechanical Properties with FCAW)" Metals 10, no. 8: 999. https://doi.org/10.3390/met10080999
APA StyleKim, J., & Kim, J. (2020). Laser Welding of ASTM A553-1 (9% Nickel Steel) (PART II: Comparison of Mechanical Properties with FCAW). Metals, 10(8), 999. https://doi.org/10.3390/met10080999
