Abstract
Multi-island cavities are common and complex features in structural parts of the aerospace, energy, and power fields. The processing is hindered by low programming efficiency and a strong dependence on the experience of process engineers. In response to these challenges, this paper proposes a highly efficient and robust contour-parallel tool path planning method aimed at improving the rough machining efficiency and quality of multi-island cavities. The method decomposes the complex cavity into multiple sub-regions based on angular geometric features. Subsequently, a closed boundary is formed by connecting the islands with the outer contour using the bridge algorithm. On this base, the method applies rule-based criteria to assess the validity of offset intersections and extracts valid closed loops through point tracing, effectively mitigating both local and global interferences. This approach guarantees the generation of smooth and stable contour-parallel tool paths. The tool path experiments on multiple multi-island cavities demonstrate that the proposed method is capable of automatically generating continuous, interference-free, and residue-free machining paths, thus significantly enhancing machining efficiency and surface quality.
1. Introduction
Structural components with multi-island cavities are critical parts of the aerospace, energy and power fields. These cavities are typically machined using computer numerical control (CNC) technology [1,2], where substantial material is removed during the rough machining stage. The tool path generation strategy has a direct effect on both machining quality and production efficiency [3]. The research of tool path generation strategies tailored to the characteristics of multi-island cavities is key to achieving high-quality and efficient machining.
Three commonly used machining strategies for multi-island cavities are the directional-parallel strategy, spiral strategy, and contour-parallel strategies [4,5]. The direction-parallel strategy refers to machining with the milling cutter along a line segment parallel to a specified inclination angle, which can be categorized into one-way and zig-zag [6,7]. Compared to the other two strategies, the tool paths generated by the direction-parallel strategy are simpler. Mahir Uzun et al. [8] used tool wear as a standard and applied strategies including one-way, zig-zag, and contour-parallel to machine the same part. Their comparison revealed that the one-way strategy resulted in the longest machining time, while the zig-zag strategy produced the worst surface quality. The one-way strategy requires frequent tool lifting motions, resulting in longer machining times. In contrast, the zig-zag strategy uses an “S” shape for milling, which reduces the number of tool lifting motions. However, the rapid changes in tool direction cause uneven forces, which not only affects tool life but also reduces the surface quality of the machined part. Compared to the directional parallel strategy, the spiral strategy offers advantages such as smoother tool paths, constant cutting direction, and fewer tool lifting motions [9]. Currently, most spiral strategies are primarily used for 2.5D cavity machining [10]. The computational methods commonly used include projection-based methods [11], contour offset-based methods [12], partial differential equation-based methods [13], and mapping-based methods [14]. Although the spiral tool paths generated by these methods are suitable for high-speed machining, they still have limitations when applied to complex multi-island cavities, as they are computationally intensive and more suited for regular cavities. Xu et al. [10] constructed radial lines within circular areas and then mapped them back to the mesh surface to generate multi-line spiral toolpaths, effectively avoiding mesh-related issues. However, this approach is only applicable to non-island cavities. The double-spiral tool path generation strategy proposed by Zhou et al. [15] can be used for high-speed machining of multi-island cavities. However, this tool path requires high-performance machinery and may leave residual material near the islands.
Compared to the spiral and directional parallel strategies, the contour-parallel strategy is widely applied in the machining of multi-island cavities with high cutting efficiency and tool path integrity [16]. The principle of this method is to extract the cavity contour and progressively offset it until the tool path fully fills the cavity [17]. The commonly used calculation methods for the contour-parallel strategy include the Voronoi diagram method [18], the pixel-based method [19], and the pairwise offset method [20,21]. The Voronoi diagram is an algorithm that divides the plane into regions, generating a tool path based on the distance of each point on the plane from a specific set of points [16]. Lambregts et al. [22] used the Voronoi diagram to offset sampling points outward in the vertical direction. However, this algorithm struggles with handling complex curved boundaries due to its limitations in processing intricate geometries. Held et al. [23] divided the cavity into multiple monotonic regions based on the Voronoi diagram and independently generated tool paths for each region, but they encountered the same issue. To address this, Held et al. [24] proposed a strategy for constructing generalized weighted Voronoi diagrams based on wavefronts, which has been shown to generate tool paths for complex boundaries. While this method theoretically supports the machining of three-dimensional cavities, it still requires further refinement for practical use and is only applicable to cavities without islands. The Voronoi diagram algorithm is computationally intensive and complex, with certain limitations when applied to multi-island curved cavities. Xu et al. [25] generated smooth tool paths by calculating the shortest Euclidean distance (SED) map and applying image processing techniques, such as Gaussian blur and unsharp masking, to process the SED images. However, it is important to note that balancing the accuracy and efficiency of the pixel-based method is challenging.
In contrast to the two aforementioned methods, the pairwise offset method generates tool paths by equidistantly offsetting the cavity boundary. This approach is computationally simple and well-suited for multi-island cavities. Currently, numerous scholars have proposed various algorithms from different perspectives to address the challenges of machining multi-island cavities. The current research on machining multi-island cavities primarily focuses on three directions: (1) dividing the shape into multiple simple sub-regions, (2) forming a unified contour using “bridges”, and (3) improving the valid loop algorithm [26]. Zhou et al. [15] divided the machining surface into multiple closed sub-regions for individual processing. However, the sub-regions are numerous, and the tool paths between the sub-regions cannot be connected. Traditional methods process islands and outer contours independently during offsetting, which involves solving multiple loop intersections, resulting in complex calculations due to the need for precise geometric computations. To address this issue, some scholars introduced the concept of “bridges” to connect islands with the outer contour, transforming the surface with islands into a zero-genus surface with a unified boundary, thereby simplifying the problem. When dealing with islands, Chio et al. [27] required manual bridging operations to generate closed contours and avoid intersections between islands and the contour. They employed the PWID method to quickly remove local invalid loops and combined it with the scan-line algorithm to calculate global invalid loops. Sun et al. [14] proposed a non-zero lattice surface bridging algorithm that generates bridging curves by constructing a tree structure to connect the boundaries in sequence, thereby transforming a multi-island cavity surface into a single connected surface. Although this approach has certain advantages in handling complex boundaries, it is highly dependent on topology, and mesh surfaces tend to produce unstable results. This is especially true for complex island shapes due to their intricate geometries, where the connection sequence rules can affect the bridging effect and may lead to intersections between bridges and islands. Lin et al. [28] used Delaunay triangulation to find the shortest distance between islands. However, this method tends to create narrow regions between islands, leading to machining residuals. Equidistant offset lines inevitably face issues of local and global interference, resulting in the generation of invalid loops. This is the most critical issue in pairwise offset methods. To address this problem, Kim et al. [29] proposed a method for generating interference-free equidistant lines based on bisector offset and an algorithm for handling invalid offset edges. This method addresses global interference through adjusting the direction of loops. However, when dealing with multi-island cavities, a large number of invalid offset edges still need to be processed, significantly increasing computational complexity. Building on this, Lee et al. [30] proposed an algorithm for handling invalid offset points. This algorithm determines the validity of offset edges by judging their direction and connects valid offset edges to reduce the generation of invalid loops. It eliminates global interference by comparing the shortest distance between each offset line and the original boundary with the preset offset distance. However, this method substantially increases the computational volume and limits the computational efficiency when the number of boundary discrete points is extensive.
In summary, the main challenges in machining multi-island cavities include (1) partitioning complex cavities, (2) handling islands, and (3) eliminating interferences. This paper proposes a contour-parallel machining algorithm for multi-island cavities in structural components, designed to efficiently remove interferences and produce smooth, robust tool paths. The algorithm takes the input contour and island boundaries, partitions the area into multiple sub-regions based on island positions for individual processing, and bridges the islands within each sub-region. Unlike other algorithms, this method avoids the issue of narrow regions caused by multiple islands connecting to the same island. Additionally, an effective loop extraction algorithm is proposed, which quickly tracks effective loops based on valid points, avoiding the need to compute a large number of invalid points. To further explain the proposed method, Section 2 introduces the extraction of regional contours. Section 3 focuses on extracting effective loops after determining the validity of intersections and generating tool paths. Section 4 addresses uncut regions at corners. Finally, Section 5 validates the proposed approach by testing, simulating, and conducting experiments on multiple parts to validate the feasibility of the algorithm.
2. Contour Extraction
2.1. Cavity Partitioning
Identifying the machinable area, dividing it, and generating the tool path inside the separated areas are crucial steps in planning the contour-parallel tool path for the cavity. The cavities in the structural parts are usually annular, and the bosses within its multi-island cavity are unevenly distributed along the circumferential direction, with potential overlap. Tool path planning directly will lead to intricate calculations. If the sub-regions are excessively large, significant machining deformation may occur. Conversely, if the sub-regions are excessively small, machining efficiency will be considerably reduced. Therefore, partitioning the machining area in the circumferential direction and defining an optimal angular threshold for the sub-regions can effectively improve both machining accuracy and efficiency. When processing large-area regions, excessive edge distortion may occur during boundary projection onto the machining plane. To optimize the balance between processing area dimensions and machining accuracy, it is generally recommended to set the angular threshold at for distortion reduction.
The cavity surface can be represented by a parametric equation in terms of u and v. When unfolded into the U/V coordinate system, it exhibits a structure similar to that of a rectangular surface. Typically, the longer side of the cavity is designated as the V-direction. The cavity is then divided into equal parametric segments on the parametric surface, and the division results are stored in a set . The angular span of the cavity is . The detailed steps are as follows:
- Initialize the angular threshold of the sub-region as , , , ;
- Obtain the V—value corresponding to the maximum boundary of the boss, and store in the boundary container;
- , If , store the value of into and then the process ends. Otherwise, obtain the parameter value corresponding to ;
- Traverse the boundary of the boss. If , store in and set ; otherwise, just store in ;
- Update the value of , then go to Step 3.
Through the above calculations, the multi-island cavity shown in Figure 1 is divided into multiple sub-regions, , , , and , suitable for machining. Next, each sub-region will be processed separately.
Figure 1.
Area division.
2.2. Contour Discretization
Linear segment intersection algorithms are commonly employed in computer graphics to simplify intersection calculations and enhance algorithm robustness by discretizing boundaries into points from which linear segments are generated [31]. Initially, the boundary curve is discretized based on the specified processing accuracy, and the resulting discrete points are then projected onto the plane. In this paper, a uniform discretization method is utilized to ensure both the computational efficiency and the geometric accuracy of the discrete points. For the cavity boundary curves , a discrete point set is generated by equidistant sampling within the parameter t range. First, obtain the arc length of the boundary curve. For a parameterized three-dimensional curve, the arc length L is expressed as Equation (1):
Next, equidistant sampling is performed on the boundary. Based on the preset discretization accuracy , which corresponds to the fixed spacing between adjacent discrete points, the number of discrete points n is calculated as Equation (2):
Noting that the boundary contour is counter-clockwise and the island contour is clockwise, the discrete points are obtained by sampling at equal intervals along the parameter range of the curve, where i is the index of the discrete points, and discretizing it into polylines approximating the contour. Obtain the center point O of the subregion surface, make the tangent plane over the point O and the normal vector , and transform the discrete point to point on the two-dimensional plane by coordinate transformation.
2.3. Constructing Bridge
When generating a contour-parallel tool path, the offset processing method and island bridging method are commonly employed for island processing [32]. The offset processing method independently offsets the outer and inner contours. The island bridging method connects all islands within the machining area to the outer contour by bridging them, thereby creating a continuous curve. This method simplifies complex geometric processing, significantly enhances computational efficiency, and is particularly well-suited for tool path planning in multi-island cavities.
To construct the shortest bridge, it is essential to sequentially complete the bridging between islands and the boundary, as well as between the islands themselves. First, calculate the distances from the centroids of each island to the boundary contour, and select the island with the centroid located at the minimum distance to establish a connection with the boundary. Since the shortest connection point cannot be accurately determined based solely on the centroid distance, a KD-tree is utilized for the nearest-point search to construct the bridge [33]. Compared to the brute-force search method, this approach significantly reduces the number of invalid point pair comparisons, thereby enhancing computational efficiency.
After bridging the islands to the boundary, the islands are sequentially bridged to each other. By processing the set of bridges, a continuous curve connecting all the islands and the outer contour can be generated. To ensure the continuity of the bridging curve, two types of bridges need to be added: exit bridges and entry bridges. To this end, a batch of bridges with the opposite directions to the original ones is added to the bridge set. As shown in Figure 2, , , and are the centroids of each island. , , and are the entry bridges, and , , and are the added exit bridges. The method in Section 2.2 is used to discretize the bridges. Finally, the exit bridges and entry bridges divide the outer contour and the islands into multiple curve segments , , … .
Figure 2.
Island bridging.
3. Offset Method for Closed-Loop Contour Curves
3.1. Generation of the Initial Offset Curve
The n discrete points in the two-dimensional domain obtained in Section 2.3 are sequentially connected to form a closed-loop contour consisting of N line segments. With the offset distance , the line segments after offsetting are calculated along the vertical direction of the line segments as Equation (3):
where and are the first and last points of the segment before the offset, and are the first and last points of the segment after the offset, and and represent the unit direction vector of the current line segment. As shown in Figure 3, the offset of adjacent line segments may result in either the intersection or separation of offset line segments.
Figure 3.
Line offset. (a) Intersecting offset line segments; (b) separate offset line segments.
The intersection of offset line segments shown in Figure 3a can be resolved by replacing the endpoint of the ith bias line segment and the start point of the ()th offset line segment with the intersection point Q. The separation of offset line segments shown in Figure 3b can be resolved by connecting the endpoint of the ith line segment and the start point of the ()th line segment. After resolving the issue shown in Figure 3, the offset curve may still contain intersections between non-adjacent segments, as shown in Figure 4. The loops that can continue to generate offset curves are referred to as valid loops, while those that cannot continue to be offset are termed invalid loops. Extracting the valid loops is the key challenge in generating closed-loop offset contours. To address this issue, a valid loop tracking method based on valid intersections is proposed in this paper.
Figure 4.
Valid and invalid loop.
3.2. Rules for Determining Valid Point
Valid points are crucial nodes that provide the tracking direction of the valid loop. In general, a subset of intersections between non-adjacent line segments is valid. In order to determine the valid intersection points, is the initial contour, and the line segments in are arranged in a counterclockwise sequence. The storage mode of the i segment of the contour is , and is the starting point of the line segment, and is the end point of the line segment. After applying the offset to the line segments in by L and solving the intersection and separation problems of adjacent line segments, the obtained loop is denoted as . Similarly, the line segments in are denoted as , where j represents the ordinal number of the current line segment in . If is offset from , then . In this case, is called the preimage of ; otherwise, . In this case, is a transition line segment. Based on the conditions for generating transition line segments, and must have preimages, which are denoted as and . and have a common endpoint, . A parallel line segment is drawn along the normal direction of until the line segment passes through A. At this point, this parallel line segment is denoted as , and is called the preimage of , as shown in Figure 5.
Figure 5.
Preimage.
The Bentley–Ottmann algorithm has a nearly linear time complexity in relation to the number of intersection points, which makes it highly efficient for detecting self-intersections [34]. In this paper, the Bentley–Ottmann algorithm is directly used to calculate the self-intersection points in . Store the self-intersection points in the matrix Mintec. Mintec is an matrix, where n is the total number of intersection points. The four elements in each row of Mintec are , i and j are the ordinal numbers of the line segments in and , is the corresponding intersection point, and V is the validity identifier of the self-intersection point. The validity of can be judged by combining the following two rules:
- is considered invalid if it lies within the region formed by point and its preimage;
- Determine the preimages and of the intersecting line segment where is located. Make projections of and , respectively, through , and denote the projection points as and . If the line segment or has an intersection point with the line segment in , then is an invalid point.
As shown in Figure 6a,b, where the preimage of point is point , orthogonal projections of and are made through point . When the resulting projection points are located within and , the projection distances are and , point is located within the region formed by , and if , , . As shown in Figure 6c,d, the orthogonal projection point of onto is . intersects the line segment to , and is an invalid point.

Figure 6.
Effective point determination. (a) Valid points determined by Rule 1; (b) invalid points determined by Rule 1; (c) invalid points determined by Rule 2; (d) invalid points on transition line segments determined by Rule 2.
The above rules filter the valid points in Mintec to create a new intersection matrix, which remains labeled as Mintec. By utilizing the valid points as search nodes, the valid loop in can be efficiently traced.
3.3. Tracing the Valid Loop
is the intersection point () of the line segment of the ith and the line segment of the jth in , as shown in Figure 7. Construct the angle bisector of the included angle , and is a point on the angle bisector. The tracing direction of the valid loop of the current intersection P can be determined by calculating the projected distances from the points on the preimages of and to the ray .

Figure 7.
Tracking direction of the valid loop. (a) Projection of the endpoint onto the angle bisector; (b) projection of the endpoint of the transition segment onto the angle bisector; (c) projection of the starting point onto the angle bisector; (d) projection of the starting point of the transition segment onto the angle bisector.
To ensure that the projection of a point from the preimage onto the angle bisector lies on the ray , the projection point should be the terminal point of for the preimage of of the intersecting line segment in , as shown in Figure 7a,b. The projection point should be the starting endpoint of for the preimage of the other intersecting line segment of as shown in Figure 7c,d. Calculate the projection distances from the endpoints of the preimages of and to the ray , and obtain , . Denote d as the smaller one of and , . If , the effective direction at the current intersection point P is along , otherwise the effective direction is along .
Based on the definition of the effective direction, selecting the starting line segment with search indices i or j ensures that the loop tracing will proceed in a counterclockwise direction, corresponding to the increasing ordinal of the line segments. The effective points in Mintec are arranged in ascending order based on the first column of elements in Mintec. Figure 8 illustrates the above search process. Starting from the first valid point in Mintec, if the search start order is j, the endpoint of and the starting point of are updated to the intersection point , while j is stored in the set of valid loop orders . Similarly, if the search start order is i, the starting point of and the endpoint of are updated to the intersection point , while i is stored in the set of valid loop orders .
Figure 8.
Update of the intersection point. (a) Initial search sequence number j; (b) initial search sequence number i.
Continuously search from i in the increasing direction until the new line segment order matches the order of a valid point in Mintec, denoted as s. The intersection point corresponding to the order s is referred to as . Determine the search starting order from and continue updating the line segments with a valid ring search. This process is repeated until s equals i or j, indicating that the search profile has formed a closed loop. If there are intersections in Mintec that have not yet been traversed, it means that contains more than one valid closed loop. Select any intersection in Mintec that has not been traversed as the new starting search point, and continue the valid loop search until all intersections in Mintec have been traversed.
Extract the corresponding line segments from according to the elements in , and sort them in counterclockwise order. The new valid loop obtained is denoted as , , and r represents the number of valid loops.
Using the method described in this section, it is possible to start with a closed-loop contour and continue generating new offset loops based on the offset distances until no valid loops can be formed.
4. Generation of Cleaning Tool Path
4.1. Detection of Uncut Areas
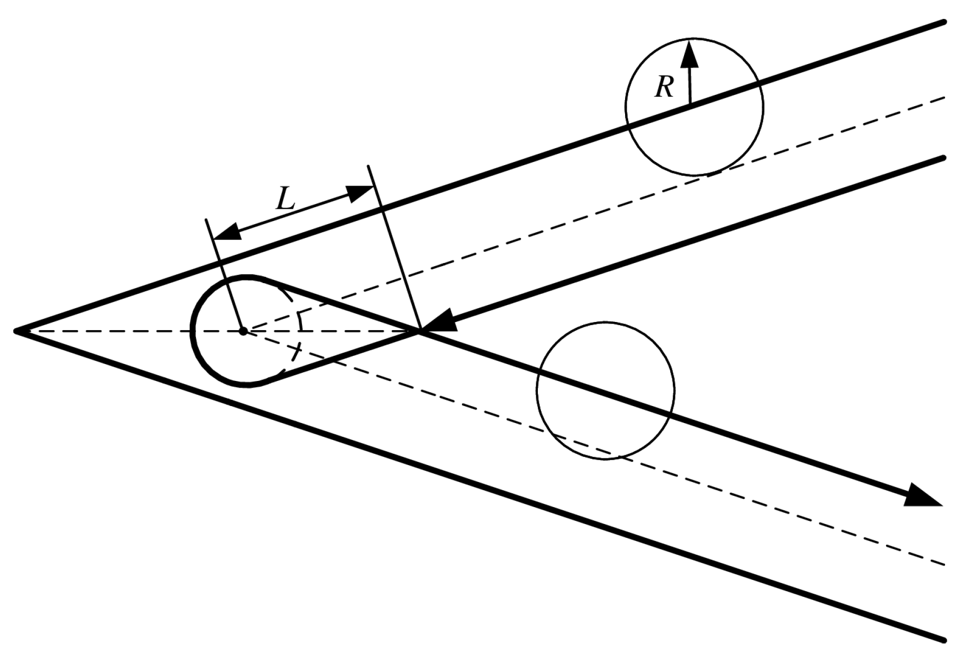
There may be a residual area after tool travel along a contour-parallel tool path if the distance between adjacent paths exceeds the tool radius R. The tool path at the corners needs to be smooth, otherwise the machined surface quality and accuracy will be affected. After identifying the residual areas, transition arcs are added to the corners to eliminate sharp angles and adjust the cutting forces.
The corner uncut region is detected using a basic geometric analysis method as shown in Figure 9. There may be a residual area when the length of line segment is greater than zero. Clearly, the width of the uncut region is less than the tool diameter. The length of [28] can be expressed by Equation (4):
Figure 9.
Cutting residual area.
The line segments with uncut areas are placed into the set, and the next step is to optimize the corners of the sections where uncut areas are detected in order to remove the residual areas.
4.2. Corner Optimization
After identifying the residual zone between the two rows of tool paths, this paper adds a transition arc at the sharp corners to remove the material at the corners and achieve a smooth connection for the tool.
As shown in Figure 10, the center of the circle is located on the angle bisector at distance L from the inflection point. A smooth transition arc at the inflection point is created by connecting the tool path to the arc of the circle, effectively removing the residual material.
Figure 10.
Corner optimization.
5. Results
To validate the effectiveness of the contour-parallel tool path planning method proposed in this paper, the algorithm is implemented in Visual Studio 2015 platform using the C++. Tests were conducted on both the planar multi-island cavity and the curved surface cavity of a structural part. The planar cavity contains multiple islands and the cavity requires region partitioning so that the effectiveness of this method can be well reflected. Figure 11 illustrates the tool paths for a cavity containing islands shaped like the letters “DUT”, with a contour size range of mm. The black lines represent the cavity and island boundaries, while the green lines depict the generated contour-parallel tool paths. To ensure smooth transitions between tool paths and maintain a continuous machining process without tool retraction, connecting tool paths based on spline curves were added.
Figure 11.
Tool path of cavity containing “DUT” islands.
The simulation selects a three-edged flat-bottom cutter with a diameter of = 10 mm and edge length 25 mm. The machining experiment cutting parameters feed rate is 1000 mmpm and spindle speed is 3000 rpm. Table 1 presents the relevant parameters for generating the “DUT” island cavity tool path, and Figure 12 shows the simulation results of the contour-parallel tool path in the NX 11.0 environment. The simulation results demonstrate that no undercutting or overcutting occurred during the machining process.
Table 1.
Tool path parameters of cavity containing “DUT” islands.
Figure 12.
Machining simulation of cavity containing “DUT” islands.
In order to verify the validity of the algorithm, a machining experiment was conducted on a rectangular block of aluminum alloy using the tool path shown in Figure 11. The machining is carried out using the A-C double-turntable open five-axis machine tool (made in China) shown in Figure 13, and the resulting cavity is shown on the right side of Figure 13, which is the same as the simulation results, with no cutting residue and a continuous trajectory. The experiment shows that the tool path generated by the algorithm can be used in the machining of multi-island cavities with smooth and continuous tool paths.
Figure 13.
Machining experiment of cavity containing “DUT” islands.
For the simplified cavity in Figure 1, the size range is mm and the angle threshold , which is divided into four sub-regions. The tool trajectories generated for each of the four regions in the projection onto the plane are shown in Figure 14. The tool is a three-edged bullnose cutter with diameter 8 mm, R angle 2 mm, and edge length 24 mm. The machining simulation cutting parameters feed rate is 1000 mmpm and the spindle speed is 3000 rpm. The parameters of each region are shown in Table 2.
Figure 14.
Tool path for sub-regions of the cavity. (a) ; (b) ; (c) ; (d) .
Table 2.
Tool path parameters of the sub-region of the cavity.
By projecting the planar tool path in Figure 14 back onto the cavity, the cavity tool path is shown in Figure 15a,c. The sub-regions are machined sequentially and the complete cavity is processed in four stages to avoid issues such as excessive deformation and poor accuracy that may arise from single-pass machining. Using the variable axis contour milling module of NX 11.0 to plan the trajectory of this cavity, as shown in Figure 15b,d, it can be seen that there are multiple lifting knives in the tool path, and the edge region tool path is not completely covered. The boundary driving method in NX 11.0 projects the boundary onto the plane. However, the large angular span causes significant edge distortion. This underscores the crucial importance of region delineation in the proposed algorithm.
Figure 15.
The tool paths generated by the proposed algorithm and NX 11.0. (a) The tool path generated by the proposed algorithm; (b) the tool path generated by NX 11.0; (c) the side tool path of the cavity generated by the proposed algorithm; (d) the side tool path of the cavity generated by NX 11.0.
Based on the simulation tests and experiment, the cavity contour-parallel tool path generation algorithm proposed in this paper is capable of generating continuous tool trajectories without lifting the tool, ensuring that the tool path for the multi-island cavity meets the machining shape requirements. It enhances machining quality and achieves a highly efficient tool path generation algorithm with robust performance. It should be noted that the computational efficiency of the algorithm proposed in this paper is influenced by various factors, such as the complexity of the boundaries and discretization accuracy. Concave islands lead to an increase in the offset loops, and similarly, the convexity or concavity of the boundaries also affects the computational efficiency. It can be seen from the tested parts that the size of the cavity is one of the factors influencing the tool path generation time and length.
6. Conclusions
This paper proposes a tool path generation algorithm for multi-island cavities in structural components, based on curve offset and intersection validity checking. The main contributions of this work are as follows:
- (1)
- The cavity region is divided into sub-regions, with each subregion being processed independently, effectively simplifying the machining of complex curved cavities.
- (2)
- The centroid arrangement and shortest distance method are employed to bridge the islands and form a closed boundary profile, avoiding the need to handle island and cavity offsets separately.
- (3)
- The Bentley–Ottmann algorithm is utilized to efficiently extract the intersection points of the offset lines, and intersection validity rules are applied to track effective loops, ensuring the formation of a non-interfering tool path. This method efficiently extracts valid tool paths and prevents overcutting.
- (4)
- A comparison with the tool paths generated by the NX 11.0 variable-axis contour milling module shows that the proposed algorithm significantly reduces tool lift occurrences and can generate tool paths for regions with large-angle cavity boundaries.
- (5)
- Experimental machining of the multi-island cavity using the generated tool paths shows that the algorithm can produce continuous tool paths. These paths leave no cutting residue and fully satisfy the high-precision machining requirements for multi-island cavities.
Author Contributions
Conceptualization, S.S.; methodology, B.J., Y.S. and S.S.; software, B.J.; validation, B.J., Y.S. and S.S.; formal analysis, B.J., Y.S. and S.S.; investigation, B.J.; resources, Y.S.; data curation, B.J., Y.S. and S.S.; writing—original draft preparation, B.J.; writing—review and editing, Y.S. and S.S.; visualization, B.J.; supervision, S.S.; project administration, S.S.; funding acquisition, S.S. All authors have read and agreed to the published version of the manuscript.
Funding
This research is funded by the National Natural Science Foundation of China (Grant No. 52205516) and the Fundamental Research Funds for the Central Universities (Grant Nos. 2023-BSBA-043 and DUT24RC(3)002).
Data Availability Statement
The original contributions presented in this study are included in the article. Further inquiries can be directed to the corresponding author.
Conflicts of Interest
The authors declare no conflicts of interest.
References
- Wang, S.; Wang, C.; Wang, P.; Liu, H.; Wang, Y. PDE-Based Spiral Machining Trajectory Planning Method without Tool Feed Marks on 2D Arrayed Multi-Island Regions. Int. J. Adv. Manuf. Technol. 2023, 125, 2021–2034. [Google Scholar]
- Held, M. A Geometry-Based Investigation of the Tool Path Generation for Zigzag Pocket Machining. Visual Comput. 1991, 7, 296–308. [Google Scholar]
- Dong, T.J.; Chen, J.; Ding, H.P. High-Speed Cutting Machining Simulation of Aero Engine Casing Hole. Adv. Mater. Res. 2014, 915–916, 142–149. [Google Scholar]
- Ge, Z.; Hu, Q.; Wang, Z.; Zhu, Y. Spiral tool path generation method for complex pocket machining based on electrostatic field theory. J. Braz. Soc. Mech. Sci. Eng. 2024, 46, 614. [Google Scholar]
- Sun, Y.; Jia, J.; Xu, J.; Chen, M.; Niu, J. Path, feedrate and trajectory planning for free-form surface machining: A state-of-the-art review. Chin. J. Aeronaut. 2022, 35, 12–29. [Google Scholar]
- Kim, B.H.; Choi, B.K. Machining efficiency comparison direction-parallel tool path with contour-parallel tool path. Comput. Aided Des. 2002, 34, 89–95. [Google Scholar]
- Park, S.C.; Choi, B.K. Tool-Path Planning for Direction-Parallel Area Milling. Comput. Aided Des. 2000, 32, 17–25. [Google Scholar]
- Uzun, M.; Usca, Ü.A.; Kuntoğlu, M.; Gupta, M.K. Influence of tool path strategies on machining time, tool wear, and surface roughness during milling of AISI X210Cr12 steel. Int. J. Adv. Manuf. Technol. 2022, 119, 2709–2720. [Google Scholar]
- Huang, N.; Jin, Y.; Lu, Y.; Yi, B.; Li, X.; Wu, S. Spiral toolpath generation method for pocket machining. Comput. Ind. Eng. 2020, 139, 106142. [Google Scholar]
- Xu, J.; Ji, Y.; Sun, Y.; Lee, Y.S. Spiral Tool Path Generation Method on Mesh Surfaces Guided by Radial Curves. J. Manuf. Sci. Eng. 2018, 140, 071016. [Google Scholar]
- Gong, H.; Wang, Y.; Song, L.; Fang, F.Z. Spiral tool path generation for diamond turning optical freeform surfaces of quasi-revolution. Comput. Aided Des. 2015, 59, 15–22. [Google Scholar]
- Hauth, S.; Linsen, L. Double-spiral tool path in configuration space. Int. J. Adv. Manuf. Technol. 2011, 54, 1011–1022. [Google Scholar]
- Zhou, B.; Zhao, J.; Li, L. CNC double spiral tool-path generation based on parametric surface mapping. Comput. Aided Des. 2015, 67, 87–106. [Google Scholar]
- Sun, Y.; Xu, J.; Jin, C.; Guo, D. Smooth tool path generation for 5-axis machining of triangular mesh surface with nonzero genus. Comput. Aided Des. 2016, 79, 60–74. [Google Scholar]
- Zhou, B.; Zhao, J.; Li, L.; Xia, R. A smooth double spiral tool path generation and linking method for high-speed machining of multiply-connected pockets. Precision Eng. 2016, 46, 48–64. [Google Scholar]
- Shi, P.; Tong, X.; Qu, H.; Cai, M. Rapid generation of contour parallel toolpaths for 2.5D closed cavity based on accurate discrete medial axis transform. Precision Eng. 2025, 92, 231–252. [Google Scholar]
- Bahloul, E.; Guerraiche, K. Automatic Call of CPO Toolpaths without Uncut Regions for 2.5D Pocket Milling. Eng. Technol. Appl. Sci. Res. 2024, 14, 15686–15694. [Google Scholar]
- Bo, Q. Recursive polygon offset computing for rapid prototyping applications based on Voronoi diagrams. Int. J. Adv. Manuf. Technol. 2010, 49, 1019–1028. [Google Scholar]
- Kim, H.C. Tool path modification for optimized pocket milling. Int. J. Prod. Res. 2007, 45, 5715–5729. [Google Scholar]
- Dhanik, S.; Xirouchakis, P. Contour parallel milling tool path generation for arbitrary pocket shape using a fast marching method. Int. J. Adv. Manuf. Technol. 2010, 50, 1101–1111. [Google Scholar]
- Park, S.C.; Choi, B.K. Uncut free pocketing tool-paths generation using pair-wise offset algorithm. Comput. Aided Des. 2001, 33, 739–746. [Google Scholar]
- Lambregts, C.A.H.; Delbressine, F.L.; De Vries, W.A.; Van der Wolf, A.C.H. An efficient automatic tool path generator for 2.5D free-form pockets. Comput. Ind. 1996, 29, 151–157. [Google Scholar]
- Held, M.; Lukács, G.; Andor, L. Pocket machining based on contour-parallel tool paths generated by means of proximity maps. Comput. Aided Design. 1994, 26, 189–203. [Google Scholar]
- Held, M.; De Lorenzo, S. Weighted Skeletal Structures For Computing Variable-Radius Offsets. Comput. Aided Des. Appl. 2021, 18, 875–889. [Google Scholar]
- Xu, K.; Li, Y.; Xiang, B. Image processing-based contour parallel tool path optimization for arbitrary pocket shape. Int. J. Adv. Manuf. Technol. 2019, 102, 1091–1105. [Google Scholar]
- Held, M.; de Lorenzo, S. On the generation of spiral-like paths within planar shapes. Int. J. Adv. Manuf. Technol. 2018, 5, 348–357. [Google Scholar]
- Choi, B.K.; Park, S.C. A pair-wise offset algorithm for 2D point-sequence curve. Comput. Aided Design. 1999, 31, 735–745. [Google Scholar]
- Lin, Z.; Fu, J.; He, Y.; Gan, W. A robust 2D point-sequence curve offset algorithm with multiple islands for contour-parallel tool path. Comput. Aided Des. 2013, 45, 657–6705. [Google Scholar]
- Kim, K.; Jeong, J. Tool path generation for machining free-form pockets with islands. Comput. Ind. Eng. 1995, 28, 399–407. [Google Scholar]
- Lee, C.S.; Phan, T.T.; Kim, D.S. 2D curve offset algorithm for pockets with islands using a vertex offset. Int. J. Precis. Eng. Manuf. 2009, 10, 127–135. [Google Scholar]
- An, Y.; Shao, C.; Wang, X.; Li, Z. Geometric properties estimation from discrete curves using discrete derivatives. Comput. Graphics. 2011, 35, 916–930. [Google Scholar]
- Wong, T.N.; Wong, K.W. NC toolpath generation for arbitrary pockets with Islands. Int. J. Adv. Manuf. Technol. 1996, 12, 174–179. [Google Scholar]
- Bentley, J.L. Multidimensional binary search trees used for associative searching. Commun. ACM 1975, 18, 509–517. [Google Scholar]
- Bentley, J.L.; Ottmann, T.A. Algorithms for Reporting and Counting Geometric Intersections. IEEE Trans. Comput. 1979, 100, 643–647. [Google Scholar]
Disclaimer/Publisher’s Note: The statements, opinions and data contained in all publications are solely those of the individual author(s) and contributor(s) and not of MDPI and/or the editor(s). MDPI and/or the editor(s) disclaim responsibility for any injury to people or property resulting from any ideas, methods, instructions or products referred to in the content. |
© 2025 by the authors. Licensee MDPI, Basel, Switzerland. This article is an open access article distributed under the terms and conditions of the Creative Commons Attribution (CC BY) license (https://creativecommons.org/licenses/by/4.0/).
















